
De la manera más respetuosa este trabajo está dedicado a Su Alteza Real El Príncipe Alberto, presidente de la sociedad de artes con especial autorización por su muy humilde y obediente servidor de su alteza real,
Bennet Woodcroft.
Mientras el Editor del presente trabajo se ocupaba de la redacción de una Historia Analítica de la Máquina de Vapor, se le hizo necesario consultar los antiguos expertos en máquinas para determinar quiénes inventaron las diferentes partes que componen dicha máquina: los primeros escritos en los que se trataba el tema correspondían a Herón de Alejandría; a lo largo de estos trabajos se mencionaban muchas partes elementales de las Máquinas de Vapor, además de citar la mayoría de las máquinas, esto le hizo pensar que la traducción de la obra Neumática, de Herón, resultaría de especial interés no solo para los Ingenieros sino también para el mundo científico en general.
Dado que Herón señala al comienzo de su trabajo que anexó a sus propios descubrimientos aquellos que había recibido de “antiguos autores”, incluso en campos en los que él no había hecho ningún aporte; ni presentado ningún texto explicativo, excepto las notas entre comillas, puede concluir el lector que se trata de una compilación de todos los trabajos de quienes en esa época eran “antiguos filósofos y mecánicos”.
En los cuatro manuscritos y en las tres copias impresas de los trabajos de Herón que han sido consultados por el Editor, no varían las partes de cada recipiente o instrumento que realizan mecánicamente operaciones asignadas de forma similar, o aproximada; sino la gran diversidad de formas dadas al recipiente en el que se colocaron. Para el presente trabajo se han hecho expresamente los dibujos a partir de los mejores ejemplos. El único caso en el que se ha omitido el dibujo ilustrativo es el setenta y ocho, esto sucede en todas las copias; los dos dibujos que no se suministran para este punto se han realizado con base en las explicaciones dadas en el texto.
Para la traducción de Herón, del Griego, se ha contado con la valiosa asistencia del Sr. J. G. Greenwood, Miembro del University College, de Londres, recientemente nombrado Profesor de Lenguaje y Literatura de Grecia y Roma en Owen's College, Manchester. Se espera con absoluta seguridad que esta traducción será superior a sus predecesoras en cualquier lenguaje; y esto probará que no solo resulta de interés general sino también de utilidad práctica.
Prólogo del traductor
En lo concerniente a Herón de Alejandría, el autor del tratado aquí traducido, poco se conoce con certeza. Cuando se da su nombre y lugar de residencia, todo lo que se puede afirmar con absoluta seguridad es que está muerto. Avanzando más allá de lo dicho por Herón el joven, quien se supone que escribió en el siglo VII D.C., que Herón, el autor de Neumática, “fue un pupilo de Ctesibio"; una afirmación bastante razonable por la naturaleza de sus trabajos, y reforzada por la inscripción Ἣρωυος Κτησιβίου (en griego)[1] puesta a otro trabajo de Herón en la construcción de misiles.Incluso es tema de debate el período en el cual vivió Herón. Lo único que se puede deducir de sus propios escritos es que conocía los trabajos de Arquímedes, y de Filón de Bizancio, quien, a su vez, se conoce por haber sido contemporáneo de Ctesibio; y, todo lo que se sabe de él, de acuerdo con las primeras menciones que se le hacen, es que vivió en el s. IV D.C., prueba externa, que aún si fuera distinta, resulta poco confiable. Tal evidencia no tiene importancia, es vaga y exigua. Lo único cierto referente a la época en que vivió Herón es que fue pupilo de Ctesibio. La época en que vivió Herón depende de la época en que vivió Ctesibio, y esta varía de acuerdo con lo que indican diferentes cronólogos.
Clinton, (F. H. Vol. iii. Pp. 535, 538,) afirma que Herón vivió al final del siglo segundo D.C., basado en la siguiente evidencia: Ateneo (vol. iv. P. 174, edit. Schweighaeuser) cita a Aristocles (Platón) cuando habla en un trabajo περὶ χορῶυ, del órgano de agua, φαρὶ τοῦτο εὑρῆσθαι ὑπὁ Κτησιβίου ϗουρέως ἐυταῦθα οἰκοῦυτος ἐυ τῇ᾽ Ασπευδίᾳἐπὶ τοῦ δευτέρου Εὐεργέτου﮲ διαπρέψαι τέ φασι μεγάλως. Luego Evergetes II (Ptolomeo VII.) reinó del 170 A.C. al 117 A.C., y de ahí que Clinton asigne a Herón, el pupilo de Ctesibio, al reinado de Ptolomeo VIII. Este es, del 117 A. C. 117 al 81 A. C.
Fabricio, por otro lado, (Bibl. Graec. Vol. iv. Pp. 222, 234, edit. Harl.) presenta una fecha completamente diferente, lo ubica más de cien años atrás, en la época de Ptolomeo Filadelfo (Evergetes I.): Ateneo el Mecánico, (uno de los escritores mecánicos cuyos trabajos están impresos en el Veterum Mathematicorum Opera), en su tratado περὶ μηχαυημάτωυ, p.8, habla de Ctesibio como un contemporáneo; sus palabras son: Κτησίβιος ὁ᾽Ασκληυο`ς, ὁἐυ᾽Αλεξαυδείᾳ μηχαυικός. Este tratado está dedicado a Marcelo, y Fabricio, asume que, después de Herón hijo, este Marcelo debe ser el conquistador de Siracusa, por lo tanto asignó a Ctesibio y a Herón los reinos del segundo y el tercer mandato de Ptolomeo (285 A.C.-222 A.C.).
Entre estas fechas dispares, generalmente se ha adoptado la asignada por Clinton. Schweighaeuser discute el asunto en detalle, en una nota del texto de Ateneo referido anteriormente: el considera que la identificación del patrón de Ateneo el Mecánico con el conquistador de Siracusa resulta inexplicable, y, además, piensa que es improbable ya que en una época tan antigua, debería dedicar un trabajo a máquinas militares para cualquier Romano.
Pero se puede inferir de la expresión dada por Ateneo, (ὧ σεμυότατε Μάςκελλε,)que su patrocinador era un hombre de muy alto rango; y la segunda objeción es la supuesta improbabilidad de que un Griego dedicara tal trabajo a un Romano de esa época que difícilmente pensara aplicarla al período referido, mientras que la destreza desplegada por Marcelo en el sitio de Siracusa, y el arrepentimiento que mostró por la muerte de Arquímedes, (sea sincero o no,) bien puede sugerir su dedicación al trabajo en ingeniería militar. Entonces la suposición de Fabricio, no es tan desmesurada como para ser rechazada de inmediato; y se verá que no es tan irreconciliable con la afirmación de Aristocles (Platón) como se ha supuesto. Fabricio ha traído la fecha más lejana a la que aplica su argumento e incluso las justificaciones. Marcelo fue asesinado en 208 A.C.: Ateneo debe haber escrito su trabajo entre el 212 A.C. y el 210 A.C.; se supone que en este período, se conoce Ctesibio como un Filósofo[2], pero él vivió en los siglos siguientes, -posiblemente durante el reinado de Evergetes II. (del 170 A.C. al 117 A.C.); así que se sitúa Herón alrededor del 150 A.C., resultado consistente con lo dicho por Aristocles (Platón), puesto que no es necesario, según Clinton, asignarle todo el reinado de Evergetes II, para Ctesibio, y luego poner a Herón con absoluta seguridad en el reinado de Ptolomeo VIII.
El tratado de Neumática se publicó por primera vez traducido al italiano por Aleotti (Bologna, 1547). En 1575 apareció una versión en Latín de F. Commandine (Urbino, 1575): esta traducción, a través de la cual se ha hecho más ampliamente conocido el trabajo, fue reimpresa en Amsterdam y en Paris. Se han hecho muchas traducciones al Italiano, y una al Alemán (véase Fabricio, IV. P.235). No fue sino hasta el año 1693 y siguientes, que aparecieron las 41 versiones antes mencionadas, el texto fue publicado en Paris en el Veterum Mathematicorum Opera.
El diseño de esta colección fue impreso por Thevenot, bibliotecario director de la biblioteca Real en el reinado de Luis XIV, y después de su muerte fue completado por De la Hire. La idea de Thevenot era publicar una transcripción exacta del manuscrito de varios autores. La inevitable obscuridad que surge de las numerosas corrupciones que han arrastrado los manuscritos es remediada por un apéndice de notas y una traducción al Latin. Pero para la Neumática de Herón fue suficiente adoptar la bien conocida traducción de Commandine; y, en consecuencia, de los ocho manuscritos.
De los tratados existentes en la Biblioteca Real, fue escogido éste que más se aproxima a la versión Latina. Este manuscrito fue seguido a fondo, y, como era de esperarse, el texto impreso está extremadamente alterado: con mucha frecuencia las oraciones deficientes que terminan con la misma palabra de la oración precedente, parecen haber sido pasadas por alto por el copista, cuya vista, pasa de su copia al original, colocando dos palabras similares, la segunda en lugar de la primera. Estos pasajes defectuosos, que parecen haber sido restaurados por Commandine, han proporcionado la presente traducción de los manuscritos de Herón preservados en el Museo Británico. Estos manuscritos se describen en el apéndice, en el que se han recogido y complementado los casos más importantes del texto impreso, o modificados otros. Cuando se incluye una palabra en la traducción entre corchetes, es para indicar que esta no aparece en el texto ni en ninguno de los manuscritos. Ordenados, pero se han insertado para darles el sentido que requieren.
Los otros tratados de Herón son:
- Sobre la construcción de lanzaderas.
- Sobre la construcción de misiles.
- Sobre autómatas. Estos fueron publicados en Griego y Latín en el Veterum Mathematicorum Opera.
- Sobre el método para levantar cuerpos pesados. Este tratado aún no ha sido editado: solo existe una traducción al Árabe.
- Sobre la “dioptra” o tubo de espionaje: también es inédito.
Un asunto de gran interés es el que Herón se considere sí mismo inventor de varias máquinas y métodos. En la introducción a la “Neumática” declara que su propósito es el de adaptar los descubrimientos de sus predecesores, y agregarlos a los suyos. El tratado de la construcción de misiles se atribuye a Ctesibio en algunos manuscritos, (como en uno de Leyden, Fabric. iv. P.229,) aunque al final de un manuscrito del mismo trabajo en la Biblioteca de Viena anota estas palabras, τέλος τῶυ ᾽Αρχιμήδους Βελοποιϊκῶυ, τῶυ ἐξηγηθέυτωυ παρα`Ἣρωυος Κτησιβίου. De nuevo, es sorprendente que ni Plinio ni Vitruvio hagan ninguna referencia a Herón, aunque Ctesibio y sus inventos se mencionan una y otra vez. Vitruvio (x. 7) describe minuciosamente una máquina para elevar el agua a gran altura, la cual se atribuye expresamente a Ctesibio; y en los capítulos siguientes trata, con gran amplitud, la construcción de órganos hidráulicos, sin hacer ninguna mención Herón. Tanto Plinio como Vitruvio citan expresamente a Ctesibio famoso por su talento en las invenciones de instrumentos hidráulicos y neumáticos. Las palabras de Plinio son (vii. 38) “Laudatus est Ctesibio Neumática ratione et hydraulicis organis repertis.” Vitruvio, (x. 7, cotejar también ix. 8,) después de su descripción de la máquina para elevar el agua, dice “Nec tamen haec sola ratio Ctesibii fertur exquisita, sed etiam plures et varus generibus ab eo liquore pressionibus coacto spiritus efferre ab natura mutuatos effectus ostenduntur, uti merularum aquae motu voces, atque engibata, quae bibentia tandem movent sigilla, caeteraque quae delectationibus oculorum et annum usu sensus eblandiuntur.” El se refiere a los curiosos comentarios del mismo Ctesibio. Como la descripción de los inventos de Ctesibio se adapta en general a los que preservó Herón, se manifestarán al mismo tiempo. Tanto Vitruvio como Schneider señalan[3], parece que ellos no conocían la Neumática de Herón, tanto la bomba de presión como el órgano de agua difieren en varias características importantes de los de Herón: él no se dio cuenta de la aplicación de la bomba de presión para apagar incendios. Este silencio de parte de Vitruvio y Plinio, bastante notable en el supuesto de que Herón era un inventor original, resulta para nosotros una explicación más simple si así se considera en lugar de interpretar a Ctesibio.[4]
Para profundizar más en la vida y escritos de Herón, el lector puede consultar a Fabricio, iv. pp. 22-239, Diccionario de Biografías de Smith, y Baldidi de Vita Heronis, en su edición de la Belopœica.
J. G. G.
Enero 31, 1851
Pero, antes de entrar en materia, se debe tratar el vacío. Algunos afirman que no existe el vacío absoluto; otros sostienen que, aunque no se presenta un vacío continuo en la naturaleza, se encuentra distribuido en fracciones diminutas en el aire, el agua, el fuego y otras sustancias, a continuación se demuestra que esta última opinión es válida para los fenómenos que se perciben, posición que se adopta. Los recipientes que parecen vacíos a la mayoría de los hombres no están vacíos, como suponen, sino completamente llenos de aire.
Ahora bien, el aire, de acuerdo con los físicos, se compone de partículas diminutas y de luz, invisibles la mayoría de ellas. Si se vierte agua en el recipiente aparentemente vacío, sale aire del recipiente en proporción a la cantidad de agua que entra en él. Esto puede verse en el siguiente experimento. Ponga boca abajo el recipiente que parece estar vacío, y, manteniéndolo en posición vertical, sumérjalo en el agua; el agua no entrará en él aunque se sumerja completamente: eso indica que el aire es material, y llena todo el espacio del recipiente, no dejando entrar el agua. Si perfora ahora el fondo del recipiente, el agua entrará por la boca de éste, pero el aire escapará a través del orificio.
Si antes de perforar el fondo, se levanta el recipiente verticalmente, y se le da vuelta, se encuentra que el interior del recipiente está completamente seco, tal como estaba antes de la inmersión. De aquí se deduce que el aire tiene materia. Cuando el aire está en movimiento se convierte en viento, (el viento no es más que aire en movimiento), y si, cuando se perfora el fondo del recipiente y el agua está entrando, se coloca la mano sobre el orificio, se siente el viento escapando del recipiente; y eso no es más que el aire expulsado por el agua.
Entonces no se debe suponer que en la naturaleza exista un vacío continuo y uno fragmentado, sino que éste se distribuye en pequeñas dosis a través del aire, el líquido y todos los demás cuerpos. Pero además de poseer esta propiedad, de igual manera no admite fusión o ruptura, y, cuando se le golpea con yunques o martillos, se entierra completamente.
Esta particularidad sin embargo se debe a la excesiva densidad de las partículas de fuego, que al ser más gruesas que los espacios vacíos en las rocas, no pasan a través de ellas, sino que solo tocan la superficie externa; en consecuencia, al no penetrar en éstas, entran en otras sustancias, no se genera calor. Las partículas de aire que entran en contacto entre sí, no entran en cada parte, sino en los espacios vacíos que quedan entre ellas, como la arena en la playa: los granos de arena corresponden a las partículas de aire, y el aire entre los granos de arena a los espacios vacíos entre las partículas de aire.
Por lo tanto, cuando se aplica alguna fuerza, se comprime el aire, y, contrario a su naturaleza, cae en los espacios vacíos de la presión ejercida por estas partículas: pero cuando se suspende la fuerza, el aire regresa a su posición inicial debido a la elasticidad de sus partículas, tan fácil como limpiar las limaduras del cuerno con una esponja, la cual, cuando se comprime y se libera de nuevo, regresa a la misma posición y toma el mismo volumen.
De igual manera, si se separan las partículas de aire al aplicar la fuerza y se genera un vacío mayor que el vacío corriente, las partículas se vuelven a unir luego; a los cuerpos que se mueven rápidamente a través del vacío, nada los bloquea ni los repele, hasta que entren en contacto. Por consiguiente, si se toma una vasija liviana de boca angosta, se lleva a los labios, y se succiona, el recipiente permanecerá suspendido de los labios, el vacío los halará hasta que se vacíe el espacio a llenar. Esto muestra que había un vacío continuo en el recipiente.
Se puede mostrar lo mismo mediante un matraz, recipiente de vidrio, ovalado, de boca angosta, usados por los médicos[5]. Cuando quieren llenar este recipiente con líquido, después de succionar el aire contenido en él, colocan un dedo en la boca del recipiente y lo invierten introduciéndolo en el líquido; entonces, después de quitar el dedo, el agua es absorbida hacia el espacio vacío, aunque el movimiento ascendente va contra su naturaleza. Bastante similar es la operación de las ventosas de vidrio, las cuales, cuando se aplican al cuerpo, no solo no caen aunque tienen un peso considerable sino que también absorben hacia ellas el material contiguo a través de las aberturas del cuerpo. Esto se explica porque se consume el fuego que hay en ellas y enrarece el aire que contienen, y se consumen otras sustancias, agua, aire o tierra y se transforman en sustancias más sutiles.
Las cosas que se consumen por acción del fuego se convierten en cilindros de carbón, los cuales, conservan el tamaño, o casi el mismo, que tenían antes de la combustión, pero difieren mucho en peso. Las partes que se van con el humo se transforman en partículas sutiles de fuego, o aire, o tierra y pasan a la región más elevada, en la que se encuentra el fuego; las partículas ligeramente gruesas están en el aire, y aquellas que todavía son gruesas, son llevadas por la corriente junto a otras más, a cierto espacio, descendiendo de nuevo a las regiones más bajas y mezclándose con sustancias terrosas.
El agua, al ser consumida por la acción del fuego, se transforma en aire; el vapor que se levanta de los calderos colocados sobre las llamas no es más que la evaporación del líquido pasando al aire. Este fuego, por lo tanto, se disuelve y transforma todos los cuerpos más gruesos que se evidencian en los hechos anteriores. Nuevamente, los vapores que se elevan desde la tierra, transforman las partes más gruesas de la materia en sustancias más sutiles; se elevan mediante el vapor del agua contenida en la tierra por evaporación; y esta evaporación es producida por alguna sustancia ígnea, cuando el sol está por debajo de la tierra y calienta el suelo por debajo, especialmente si el suelo es sulfuroso o bituminoso y la tierra calentada de esta forma incrementa la evaporación.
Los cambios de temperatura que se presentan en la tierra obedecen a la misma causa. Las partes más ligeras de la condensación pasan al aire; las más gruesas, después de ser llevadas hacia arriba a cierto sitio por la fuerza de la evaporación, se enfrían al regresar del sol, y descienden nuevamente a la superficie.
El viento que se produce por la evaporación excesiva, agita y expande el aire, poniéndolo en movimiento tan pronto como entra en contacto con él. Este movimiento del aire, sin embargo, no tiene velocidad uniforme en todos los puntos: es más violento cerca del punto de evaporación, donde empezó el movimiento; y es más suave a una mayor distancia de él: como ocurre con los cuerpos pesados, cuando se levantan, se mueven con mayor rapidez en la parte más baja donde está la fuerza que los impulsa, y con mayor lentitud en la parte más alta; y cuando deja de actuar sobre ellos la fuerza inicial que los impulsó, regresan a su posición natural, es decir, a la superficie de la tierra. Si la fuerza propulsora sigue actuando, siguen adelante con igual velocidad, sin detenerse nunca, pero si la fuerza cesa gradualmente, parece que se fuera vaciando, y la velocidad del movimiento cesa con ella.
El agua se transforma nuevamente en una sustancia térrea: si se vacía agua en un hueco en la tierra, después de un corto tiempo el agua drenada desaparece, siendo absorbida por la sustancia térrea, mezclándose con ella, y se transforma realmente en tierra. Y si alguien afirma que no se transforma ni es absorbida por la tierra, sino que es extraída por el calor, bien sea del sol o bien de otra fuente, se le dirá que está equivocado: porque si se pone la misma agua en un recipiente de vidrio o bronce, o cualquier otro material sólido, y se pone al sol, no disminuye durante mucho tiempo excepto en un pequeño grado. El agua, por lo tanto, se transforma en una sustancia térrea: de hecho, el barro y el lodo son transformaciones del agua en tierra.
Además, la mayor parte de las sustancias sutiles se transforma en las más gruesas como el caso de la llama de una lámpara que se extingue por falta de aceite,-se le ve subir durante un tiempo y, de alguna manera, se esfuerza por alcanzar su propia región, es decir, la más alta de todas sobre la atmósfera, hasta que la domina la masa que interviene al aire, y no tiende más hacia su lugar afín, pero, no obstante se mezcla y entrelaza con las partículas de aire, llegando a ser el aire mismo. Lo mismo se observa con el aire. A mi modo de ver, si un pequeño recipiente que contiene aire, se cierra con sumo cuidado y se coloca en agua con la boca hacia arriba, y luego se destapa el recipiente, el agua podrá entrar como una tromba, y el aire escapa del recipiente; pero, si es dominado por la masa del agua, se mezclará nuevamente con ella para convertirse en agua.
Por lo tanto, cuando el fuego consume y enrarece el aire en las copas de vidrio, éste sale a través de los poros de las caras del vidrio, el espacio se vacía y lanza hacia afuera la materia cercana, de cualquier tipo que se tenga. Pero si se levanta ligeramente la copa de vidrio, el aire entrará al espacio vacío y no expulsará más materia.
Por lo tanto, quienes aseguran que no hay vacío absoluto pueden inventar muchos argumentos en torno a este punto, y aunque parezcan disertar de la forma más plausible, no ofrecen pruebas tangibles. Sin embargo, se sienten atraídos por los fenómenos sensibles que hay en un objeto, a modo de vacío continuo, producidos artificialmente; es un vacío que existe además naturalmente, pero diseminado en porciones diminutas; y que por compresión de los cuerpos llenará estos vacíos dispersos, quienes presenten tales argumentos aceptables en torno a este asunto, no podrán establecer bien sus propios fundamentos.
Prepare un recipiente esférico, del grosor de una placa metálica que no se pueda perforar fácilmente, que contenga unas 8 cotilas[6] (2 cuartos). Cuando se haya cerrado herméticamente por todos los lados, perfore un orificio en él, e insértele un sifón, o un tubo delgado de bronce, de tal manera que no toque la parte diametralmente opuesta al punto de perforación, para dejar un canal de desagüe. El otro extremo del sifón se debe proyectar unos 3 dedos (2 pulgadas) por encima del globo, y la circunferencia de la apertura a través de la cual se inserta el sifón de hojalata debe quedar bien ajustada tanto al sifón como a la superficie externa del globo, de modo tal que cuando se aspire a través del sifón el aire no pueda escapar del recipiente. Se observan los resultados. Normalmente se suele afirmar que el globo, al igual que otros recipientes, está vacío, pero contiene aire, y como este aire llena todo el espacio y hace presión uniforme contra toda la superficie interior del recipiente, si no hay vacío, como suponen algunos, no se le puede introducir más agua ni más aire, a menos que el aire encerrado antes le abra camino; y si se intenta aplicando una fuerza, el recipiente se llenará completamente, pero se reventará tan pronto como se llene.
Para que las partículas de aire no se puedan condensar, debe haber intersticios entre ellas, que al comprimirlos disminuyan su volumen; pero esto no es admisible si no hay vacío: de igual manera, cuando se presionen las partículas unas contra otras a través de toda la superficie y contra las paredes del recipiente, no pueden ser empujadas para abrir espacio si no hay vacío. Así que no se puede introducir nada en el globo a menos que escape un poco de aire; si así ocurre, se dice que todo el espacio está lleno estrecha y uniformemente, como suponen los antagonistas. Y aún más, si alguien que inserte un sifón en su boca, sopla dentro del globo, introduce en él tanto viento como el que contenía antes. Y, al ser este un resultado uniforme, muestra claramente que se lleva a cabo una condensación de las partículas contenidas en el globo dentro del vacío entremezclado. Sin embargo, la condensación se efectúa artificialmente por la introducción forzada de aire.
Ahora si, después de soplar en el recipiente, se tiene la mano cerca a la boca, y se tapa rápidamente el sifón con el dedo, el aire quedará confinado en el globo todo el tiempo; y así al quitar el dedo el aire introducido saldrá velozmente de nuevo produciendo un fuerte ruido, se impele, como se estableció antes, por la expansión del aire original que toma lugar por su elasticidad. Una vez más, si se mantiene en el globo el aire succionando a través del sifón, seguirá repleto, aunque ninguna otra sustancia ocupará espacio en el recipiente, como ocurre con el huevo. Mediante este experimento se ha probado totalmente que hay una acumulación de vacío en el globo; debido a que las partículas de aire que quedan en el globo no pueden aumentar de tamaño en ese intervalo para ocupar el espacio que dejan las partículas que se expulsan.
En caso de que aumenten su tamaño cuando no se pueda agregar una sustancia extraña, es de suponer que este aumento resulta de la expansión, lo cual equivale a reorganizar las partículas a través de la producción de un vacío. Pero si se sostiene que no hay vacío; las partículas no se expandirán, por eso no es posible imaginar ninguna otra forma de crecimiento. Por lo tanto, queda claro que, desde que se dijo que ciertos espacios vacíos se pueden entremezclar con las partículas de aire, dentro de los cuales bajan al aplicar una fuerza, contrario a su acción natural.
El aire contenido en el recipiente invertido en el agua, no experimenta mucha presión, porque la fuerza de compresión no es muy grande, observando el agua, en su estado natural, no tiene peso ni una presión muy potente. Por esta razón es que, aunque los buzos soportan en el fondo del mar un peso inmenso del agua sobre sus espaldas, la respiración no es forzada por el agua, aunque tiene muy poco aire en sus fosas nasales. Vale la pena examinar aquí la razón por la que quienes hacen inmersiones profundas, soportan un peso inmenso del agua sobre sus espaldas, no son aplastados. Algunos dicen que esto se debe a que el agua tiene peso uniforme: pero no explican por qué razón los buzos no son aplastados por el agua que hay sobre ellos. A continuación se muestra la verdadera razón.
Se puede imaginar que la columna de líquido está directamente sobre la superficie del objeto bajo presión, (en contacto inmediato con el agua en la que está,) al ser un cuerpo del mismo peso y forma del líquido que está por encima, y que se ubica en el agua que está bajo la superficie del cuerpo presionado, apoyado en la misma forma que el líquido que hay sobre él, con el cual se ajusta exactamente. Entonces queda claro que, este cuerpo no sobresale por encima del líquido en el que está sumergido, y no se hunde bajo su superficie.
Como muestra Arquímedes, en su trabajo sobre 'Cuerpos Flotantes,' que al sumergir en un líquido, cuerpos con igual peso que el líquido, no sobresaldrán por encima de él ni se hundirán bajo su superficie: por lo tanto no ejercerá presión por debajo de los objetos. Si se retiran todos los objetos que ejerzan presión por encima, el cuerpo permanece en el mismo lugar; entonces ¿cómo puede ejercer presión un cuerpo que no tiene tendencia a bajar? De igual manera, el líquido desplazado por el cuerpo no ejerce presión sobre los objetos por debajo de él; si se considera en reposo y movimiento, el cuerpo en cuestión [no] difiere del líquido que ocupa el mismo espacio.
Algo más, esto evita que existan espacios que puedan verse bajo las siguientes consideraciones: porque si no hubieran tales espacios, ni la luz, ni el calor, ni ninguna otra fuerza material podría pasar a través del agua, del aire, o de otro cuerpo cualquiera. Así, por ejemplo, ¿cómo podrían penetrar los rayos del sol a través del agua hasta el fondo del recipiente? Si no hubieran poros en el fluido, y los rayos empujarían el agua a un lado a la fuerza, como consecuencia de esto se derramarían los recipientes, lo cual no ocurre.
Por otra parte, si los rayos empujaran el agua a un lado a la fuerza, no se reflejaría ningún rayo mientras que otros penetrarían por debajo; entonces los rayos que impactaran sobre las partículas de agua rebotarían, por así decirlo, y se reflejarían, mientras que los que entraran en contacto con los espacios vacíos, se encontrarían con unas pocas partículas, y penetrarían por debajo del recipiente. También queda claro que, existen los espacios vacíos en el agua, porque cuando se vierte el vino en el agua, se ve que se extiende sobre toda ella, lo que no se produciría si no existieran vacíos en el agua. Es más, una luz atraviesa a las demás, por ejemplo, cuando se encienden varias lámparas, todos los objetos se iluminan con mucho brillo, los rayos pasan en todas las direcciones atravesando unos a otros. Y en verdad es posible penetrar el bronce, el hierro, y todos los demás cuerpos, como se ve, por ejemplo, en el torpedo marino.
Es por eso que se ha demuestra que se puede producir artificialmente un vacío continuo mediante la aplicación de una luz por debajo de la vasija hasta la boca de ésta, y el óvulo para los médicos. Observando entonces la naturaleza del vacío, aunque existen otras pruebas, se ha considerado que son suficientes las que se han dado, las cuales se basan en fenómenos razonables. Por lo tanto, se puede afirmar que en este caso todos los cuerpos se componen de partículas diminutas, entre las cuales hay espacios vacíos más pequeños que las partículas del cuerpo, (por eso se dice erróneamente que no hay vacío sino cuando se aplica la fuerza, y que cualquier lugar está lleno de aire, de agua, o de cualquier otra sustancia), y, en la misma proporción en que retroceden algunas partículas, otras llenan el espacio vacante: de aquí se concluye que no hay vacío continuo excepto al aplicar alguna fuerza: y además, que nunca se encuentra el vacío absoluto pero se puede producir artificialmente.
Ahora que estos asuntos han sido claramente explicados, se tratan los teoremas resultantes de la combinación de estos principios; para que, a partir de su interpretación, se puedan descubrir muchos tipos de movimientos curiosos y extraordinarios. Luego de estas consideraciones preliminares se empieza a tratar el sifón curvado, el cual resulta de mucha utilidad en la Neumática. Contenido:
- El sifón curvado
- El sifón concéntrico o encerrado
- El sifón de descarga uniforma
- El sifón que puede cargar o descargar mayor o menor cantidad de líquido uniformemente
- Un recipiente para extraer aire con un sifón
- Un recipiente para retener o descargar un líquido a voluntad.
- Un recipiente para descargar líquidos a diferente temperatura a voluntad
- Un recipiente para descargar líquidos en proporciones variables
- Un chorro de agua producido mecánicamente por aire comprimido
- Una válvula para una bomba

Ahora bien, algunos inventores explican la acción del sifón, diciendo que el tramo más largo, que sostiene más, atrae al más corto. Pero tal explicación es incorrecta, y los que creen eso cometen un grave error si intentan subir el agua desde un nivel más bajo, lo que se prueba como se indica a continuación. Se tiene un sifón con el tramo interior más largo y angosto, y el exterior mucho más corto y más ancho de tal modo que contiene más agua que el tramo más largo. Después de llenar primero el sifón con agua, se sumerge el tramo más largo dentro del agua del recipiente o en un pozo.
Si se deja fluir el agua ahora, el tramo exterior, que tiene más capacidad que el interior, extrae el agua del tramo más largo, el cual sube el agua del pozo al mismo tiempo; y empieza la descarga cuando se vacía toda el agua o sigue corriendo continuamente, puesto que el tramo sin líquido es mayor que el que tiene líquido. Pero esto no es todo lo que se tiene para analizar este caso; y por lo tanto la causa supuesta no es verdadera. Seguidamente se examina la causa natural. La superficie de todo cuerpo líquido, cuando está en reposo, es esférica y concéntrica con la superficie de la tierra; y, si el líquido no está en reposo, se mueve hasta alcanzar tal superficie. Si se toman dos recipientes y se vierte agua en cada uno de ellos, y, después de llenar el sifón y cerrar sus extremidades con los dedos, se inserta un tramo en un recipiente por debajo del nivel del agua, y el otro tramo dentro del otro recipiente, el agua no tendrá interrupciones, entre los líquidos de los recipientes que se comunican a través del sifón. Entonces, si las superficies de los líquidos de los recipientes tienen el mismo nivel, permanecen en reposo al introducir el sifón de manera forzada. Pero si no lo tienen, tan pronto como se comuniquen, necesariamente debe fluir el agua de forma continua hacia el recipiente más bajo a través del canal de comunicación, hasta que toda el agua de ambos recipientes alcance la misma altura, o se vacíe uno de los recipientes. Si se supone que los líquidos permanecen a la misma altura; siguen su curso hasta alcanzar el reposo, de modo que el líquido del sifón también está en reposo. Por lo tanto, si se asume que el sifón es atravesado por un plano en la superficie de los líquidos de los recipientes, el líquido del sifón permanece en reposo, y, si sube sin estar inclinada a uno de los lados, queda nuevamente en reposo, y ocurre lo mismo, si el sifón tiene el mismo ancho en toda su longitud o si un tramo es muchos más grande que otro. Esta no es la razón por la que el líquido permanece en reposo, sino por el hecho de que las aberturas del sifón están al mismo nivel. Ahora surge la pregunta, ¿por qué cuando se eleva el sifón no cae el agua por su propio peso, teniendo detrás el aire que es más liviano que ella? La respuesta es que no existe el vacío continuo; porque si el agua desciende, se debe llenar primero la parte superior del sifón, en la cual posiblemente el aire no puede forzar este canal. Pero si se perfora un agujero en la parte superior del sifón, el agua es expulsada inmediatamente al aire debiendo encontrar un canal.

§2. El sifón concéntrico o encerrado

Resulta evidente, como se ha probado antes, que si el sifón se mantiene inmóvil el chorro que lo atraviesa tiene velocidad variable, pero tiene igual resultado que la descarga a través del agujero perforado debajo del recipiente, donde el chorro es irregular por la presión que ejerce un mayor peso al comenzar la descarga, y, disminuye a medida que se reduce el contenido del recipiente. En otras palabras, a medida que aumenta la longitud de la parte saliente del sifón, aumenta la velocidad del chorro; cuando se ejerce una gran presión en la descarga es mayor la velocidad que cuando la parte saliente del sifón por debajo del fondo del recipiente, por debajo de la superficie del agua, contenida en el recipiente es menor. Por lo tanto se dice que siempre varía la velocidad de la descarga a través del sifón. Pero se debe idear un sifón en el que se tenga la velocidad de descarga uniforme.
§3. El sifón de descarga uniforme
Se tiene un recipiente, A B, que contiene agua, en el cual flota un pequeño tazón, C D, con la tapa C D en su boca.

§4. El sifón que puede cargar o descargar mayor o menor cantidad de líquido uniformemente
Mediante el siguiente arreglo se puede producir una descarga uniforme y variable a la vez; es decir, que se trata de una descarga durante un tiempo a voluntad, el chorro sale de manera uniforme desde el comienzo, y luego, durante otro período cualquiera, el chorro es más lento o más rápido que antes, pero sigue siendo uniforme. Como en el caso anterior, se tiene un recipiente de agua,

§5. Un recipiente para extraer aire con un sifón
Para no tener que succionar el agua a través de la boca, lo que solo es posible en sifones pequeños, se puede emplear el siguiente artilugio. Se toman dos tubos, uno de los cuales entra en el otro, y se fija el más pequeño al tramo externo del sifón, de modo que la descarga pase a través de él.

Para que el sifón funcione adecuadamente debe estar perpendicular; y esto se puede garantizar fijando dos barras al borde del recipiente A B, y colocando el tramo interior del sifón entre ellas de modo que entre en contacto con ambas barras: luego se asegura trasversalmente una barra a cada lado del tramo del sifón, de modo que hagan contacto con las anteriores. Por esta razón, si las barras más pequeñas tocan a las barras más grandes, el sifón nunca se inclinará hacia los lados ni hacia adelante, sino que quedará suspendido perpendicularmente.
§6. Un recipiente para retener o descargar un líquido a voluntad.
Ahora se procede a construir instrumentos básicos, empezando con el de menor importancia, de acuerdo a las partes que lo componen. El siguiente artilugio se usa para servir el vino. Se tiene un balón hueco, de bronce, A B, perforado por debajo con pequeños orificios a modo de colador.

§7. Un recipiente para descargar líquidos a diferente temperatura a voluntad
De la misma forma es posible descargar del mismo balón cualquier cantidad de agua caliente o fría. Se construye el balón A B similar al anterior, pero se le agrega una división perpendicular, C D, que lo divide en dos partes iguales. La parte superior del tubo, H F, se suelda al interior del globo, y se comunica con el interior; a este tubo se le agrega una división, C G, a continuación del tabique C D, y sus aberturas, H K, deben curvarse en las direcciones C y F.

Se hacen a cada lado del tabique C D, en el fondo del balón hacia D, orificios similares a los de un cucharón de cocina. Cuando se quiera extraer agua caliente, se tapan los orificios H y K con dos dedos y se sumerge el balón en agua caliente, y luego se destapa uno de los conductos, H, de este modo se puede sacar el aire caliente del hemisferio B C D a través de H: el agua caliente entra a través de los orificios llenando el hemisferio B C D; tapando de nuevo el conducto H, se retiene su contenido, y el aire no entra. Luego, de igual manera, se sumerge el balón en agua fría, destapando el conducto K, y cuando esté lleno el hemisferio A C D, se cierra K y se succiona el globo. Ahora el globo está lleno de agua caliente y agua fría, y cuando se quiera descargar una de ellas, se destapa el respectivo canal: de igual manera se vuelva a cerrar cuando se descargue la cantidad que se quiera; y se puede repetir esto una y otra vez hasta que se vacíe el contenido. De igual manera se puede verter y sacar vino del mismo recipiente, y agua fría o caliente, o cualquier otro líquido, en cualquier momento, en cualquier cantidad, haciendo las divisiones necesarias y los orificios a través de los cuales pueda entrar el aire en cada cámara y dejarla de nuevo. En lugar de salidas curvadas, se pueden hacer orificios en la parte superior de los lados del tubo en varias direcciones; y, por supuesto, se pueden cerrar estos agujeros cuando se quiera sacar el aire. Pueden ocultarse estos agujeros perforados en el fondo del recipiente, se pueden incluir ambos grupos de orificios en un solo canal, de modo que ambos chorros parecen fluir de la misma fuente.
§8. Un recipiente para descargar líquidos en proporciones variables
Una jarra puede recibir y descargar gran cantidad de líquido al mismo tiempo que otra, de tal forma que, cuando se vacíen dentro de ella vino y agua, de tal manera que sale agua pura una vez, luego vino sin mezcla, y después, una mezcla de ambos. Este artilugio funciona como sigue.

§9. Un chorro de agua producido mecánicamente por aire comprimido
Se puede fabricar un globo hueco, u otro recipiente, en el cual se pueda forzar a salir un líquido espontáneamente y con mucha violencia, mientras se vacía el recipiente, aunque el movimiento ascendente vaya contra la naturaleza. Se confecciona como sigue.

§10. Una válvula para una bomba

Capítulo 2
Libaciones en un altar producidas por fuego
- Libaciones en un altar producidas por fuego
- Un recipiente del cual fluye el contenido cuando se llena a cierta altura
- Dos recipientes de los cuales fluye el contenido, cuando se vierte líquido en uno de ellos
- Un pájaro que trina con un flujo de agua
- Pájaros que cantan y se callan de forma alternada con un flujo de agua
- Trompetas que suenan con un flujo de agua
- Sonidos producidos al abrir la puerta de un templo
- Cuerno para beber del cual sale vino o agua
- Un recipiente que contiene un líquido de altura uniforme, aunque salga un chorro de él
- Un recipiente que permanece lleno, aunque se extraiga agua de él

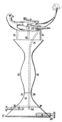
Se tiene un pedestal, A B C D, en el cual hay figuras de pie, y además un altar, E F G, que contiene aire encerrado herméticamente.
El pedestal también debe tener aire encerrado herméticamente, y se comunica con el altar, en G.
Se inserta el tubo H K L, que llega cerca del fondo en L, y se comunica en H con un tazón sostenido por una de las figuras.
Se vierte líquido dentro del pedestal a través de un orificio, M, que luego se cierra.
Si se enciende ahora un fuego en el altar, E F G, se expande el aire contenido en su interior, desciende dentro del pedestal, y ejerce presión sobre el líquido que lo contiene, el cual no tiene forma de retirarse, pasando a través del tubo H K L dentro de la tazón.
De esta forma las figuras vierten una libación, y no cesa mientras permanezca el fuego en el altar.
Cuando se extingue el fuego, cesa la libación; y se repite con la misma frecuencia con la que se encienda el fuego.
El conducto a través del cual pasa el calor debe ser más ancho en el medio, este requisito es necesario para que el calor, en lugar del vapor, pase a un espacio mayor, expandiéndose y actuando con mayor fuerza.
§12. Un recipiente del cual fluye el contenido cuando se llena a cierta altura

Ellos se hacen como se explica a continuación: Se tiene un recipiente, A B C D, abierto en su parte superior, y se pasa un tubo a través del fondo, se tiene un sifón bien sea encerrado como el E F G, o curvado como el G H K.
Cuando se llena el recipiente A B C D, y el agua corre, empieza una descarga a través del sifón encerrado, y sigue hasta que se vacía el recipiente, si la abertura interna del sifón encerrado está muy cerca al fondo del recipiente solo queda un paso para el agua.
§13. Dos recipientes de los cuales fluye el contenido, cuando se vierte líquido en uno de ellos
Si dos recipientes, que tienen las mismas salidas, se encuentran de pie sobre un pedestal, y uno de ellos se llena con vino, y el otro permanece vacío, el vino no sale hasta que el recipiente vacío se llene con agua; y luego empieza la descarga de vino desde un recipiente y de agua desde el otro, hasta que ambos se vacíen.

A estos recipientes se les llama copas armónicas.
Se tiene el pedestal, A B C D, sobre el cual se colocan de pie los recipientes, E y F.
En cada uno de ellos se coloca un sifón curvado, G H K en E, y L M N en F, y se dejan los tramos exteriores de los sifones como desagües.
Las curvas de los sifones deben estar muy cerca de las bocas de los recipientes.
Otro tubo doblado, X O P R, atraviesa el pedestal, y conecta los dos recipientes, cuyos extremos, X y R, alcanzan una altura igual a la de la curva de los sifones.
Ahora se vierte vino en un recipiente, teniendo cuidado de no subir por encima del doblez del sifón en H.
El vino no sale si sobrepasa este punto, y no se origina una descarga a través del sifón.
Pero si se vierte agua en el recipiente F, hasta que la superficie de ésta sobrepase la curva del sifón en M, el agua desciende y pasa a través del tubo X O P R, hasta el otro recipiente.
De este modo se inicia una descarga de vino, y sale vino de un recipiente y agua del otro, hasta que se vacíen ambos.
§14. Un pájaro que trina con un flujo de agua
Se pueden hacer recipientes tales que, cuando se vierte agua en ellos, se produce la nota de la cucurra capirotada[7], o un silbido.
A continuación se describe su construcción.
Se tiene un pedestal hueco, A B C D, que contiene aire encerrado herméticamente: a través de la parte superior, A D, se introduce un embudo, E F, y se suelda a la superficie, este tubo llega tan cerca del fondo que solo deja paso para el agua.
Se tiene un pequeño tubo, G H K, que emite sonido, comunicándose con el pedestal e igualmente soldado al interior de A D.

Si se vierte agua a través del embudo E F, resulta que el aire, al ser expulsado, pasa a través del tubo G H K, y emite un sonido.
Cuando el extremo del tubo se sumerge en el agua se escucha un sonido burbujeante, y se produce la nota de la cucurra capirotada: si no hay agua cerca solo se escucha un silbido.
Estos sonidos se producen a través de los tubos; pero la calidad de los sonidos varía según se tengan los tubos más gruesos o más delgados, y si el tramo del tubo sumergido en el agua es más largo o más corto: de esta forma se pueden producir distintas notas de muchos pájaros.
Se disponen cerca de una fuente diversas figuras de pájaros, o en una caverna, o en cualquier lugar de donde corra el agua: se coloca una lechuza cerca de ellos, la cual, aparentemente, de común acuerdo con los pájaros, vuelve su mirada hacia ellos, y luego les quita la mirada; cuando la lechuza mira a otro lado, los pájaros cantan, y cuando les mira, ellos se callan: y esto se repite una y otra vez.
§15. Pájaros que cantan y se callan de forma alternada con un flujo de agua
Así es la estructura.
Se tiene un chorro, A, que fluye continuamente.
Se coloca por debajo de él un recipiente con aire comprimido, B C D E, provisto de un sifón encerrado o un sifón curvado F G, y tiene insertado un embudo, H K, entre el extremo del tubo del cual se deja en su parte inferior un pequeño espacio para que deje pasar el agua.

Se observa que, mientras se llena de agua B C D E, el aire que se expulsa produce notas de pájaros; y a medida que sale el agua a través del sifón, F G, después de que se llena el recipiente, los pájaros se quedan en silencio.
Ahora se explica el artilugio mediante el cual la lechuza gira hacia adelante, o se aleja de los pájaros, como se ha dicho.
Se tiene una varilla roscada, X, que descansa sobre un soporte M: se rosca esta varilla en un tubo O P, de modo que se mueve libremente alrededor de él, y que en la parte superior está pegada a la base, R S, en el cual se asegura la lechuza.
Se pasa una cadena alrededor del tubo O P, cuyos extremos, T U, Q W, se enrollan en direcciones opuestas, y se fijan, mediante dos poleas, T U, a una pesa suspendida Y, y Q W a un recipiente vacío Z, el cual cuelga por debajo del sifón o un sifón concéntrico F G.
Se puede observar que cuando el recipiente B C D E está vacío, el líquido que pasa al recipiente Z hace que gire el tubo O P, y de vuelta la lechuza junto con él, mirando a los pájaros: pero cuando se vacía B C D E, el recipiente Z se vacía también a través de un sifón curvado o un sifón concéntrico; y nuevamente predomina el peso Y, haciendo que la lechuza se de vuelta, alejando la vista de los pájaros al mismo tiempo que se empieza a llenar de nuevo el recipiente B C D E y los pájaros empiezan a cantar otra vez.
§16. Trompetas que suenan con un flujo de agua
De manera similar al artilugio que se acaba de describir, se puede producir el sonido de las trompetas.
Se inserta en un recipiente hermético el tubo de un embudo de modo que llegue cerca del fondo y se suelda a la pared interna del recipiente; y, en este lado, se suelda una trompeta, provista de una embocadura y una campana, que comunica su extremo superior con el recipiente.
Si se vierte agua por el embudo, se ve que el aire que contiene el recipiente, al pasar a través de la embocadura, produce el sonido de una trompeta.
§17. Sonidos producidos al abrir la puerta de un templo

A continuación se explica su construcción.
Detrás de la puerta hay un recipiente, A B C D, que contiene agua.
En este va un recipiente de cuello angosto, como el de un apagavelas, F, que en su extremo inferior se comunica con una trompeta, H K, la cual tiene una embocadura y una campana.
Paralela al tubo de la trompeta y unida a él, corre la varilla L M, asegurada al extremo inferior del recipiente, F, y el otro extremo de ésta anudada en, M: este nudo atraviesa el travesaño N X, sosteniendo así al recipiente F, a suficiente altura sobre el agua.
El travesaño N X debe girar sobre el pivote O, y una cuerda o una cadena, sujeta al extremo X, se amarra mediante la polea, P, al pasador de la puerta.
Cuando se abre la puerta, se tensa la cuerda, y tira hacia arriba el extremo X del travesaño, de este modo el travesaño N X no sostiene más el nudo M; en consecuencia, cuando cambia de posición el nudo, el recipiente F desciende dentro del agua, y produce a continuación el sonido de una trompeta por la salida del aire almacenado a través de la embocadura y la campana.
§18. Cuerno para beber del cual sale vino o agua

A continuación se muestra su construcción.
Se tiene un cuerno para beber A B C, que contiene dos divisiones, D E y F G: pasa un tubo, H K, a través de estas, soldado dentro de las dos divisiones, y con un orificio perforado, L situado ligeramente por encima del tabique F G; y debajo del tabique D E, hay otro agujero, M, al lado del recipiente.
Si se cierra el paso en C al completar el arreglo, y se vierte vino en el cuerno, éste pasa a través de la abertura M; y, si se tapa M con el dedo, se retiene el vino almacenado en D E F G.
Si se vierte ahora agua en la sección A B D E, y se mantiene cerrado el orificio M, sale agua pura; pero si se destapa M, mientras queda todavía agua en el recipiente superior, sale una mezcla; y cuando sale toda el agua, sale un chorro de vino.
Destapando M, una y otra vez, se puede variar el líquido que sale: pero el mejor método es el de verter agua en la cámara D E G F, y luego, cerrar el orificio para verter vino dentro del cuerno.
Como resultado de esto, algunas veces saldrá agua pura, y, otra vez, cuando se libera el sifón, sale una mezcla; e inmediatamente, al tapar el orificio, sale vino puro.
Y así se repite el proceso cuantas veces se desee.
§19. Un recipiente que contiene un líquido de altura uniforme, aunque salga un chorro de él
Si se coloca una copa sobre un pedestal, cualquiera que sea la cantidad que extraiga de ella, siempre sigue llena.
A continuación se muestra cómo funciona.
Se tiene un recipiente, A B, cuya boca está cerca del cuello, gracias al tabique C D.

El recipiente A B debe permanecer de pie sobre un pedestal, M N O X, a través del cual pasa un saliente del tubo G H, y otro tubo S T se comunica con el pedestal y la copa, P R.
Ahora se vierte el vino en A B, a través de E F (el aire pasa a través de G H), y si se deja abierto el tubo K L, pasa a través del pedestal y la copa P R: pero si se cierra K L, se llena el recipiente A B.
Luego se deja correr el vino dentro del pedestal M N O X y la copa P R, de tal forma que se pueda llenar M N O X hasta la altura de la boca del tubo G H.
Cuando esto concluye, se cierra E, y el vino almacenado en A B deja de fluir a través de K L, y no entra más aire a través de E para suplir el vacío creado.
Por lo tanto, cuando se toma cualquier cantidad de vino de la copa, se debe destapar el orificio E y, al encontrar una entrada el aire, el vino fluye de nuevo al interior del pedestal y la copa, hasta que esta se llene.
Y esto se repite en la medida que se saca vino de la copa.
Es requisito necesario que se perfore un pequeño agujero en el lado del pedestal, en U, para que pase un volumen equivalente de aire del recipiente A B, a través del orificio G y el agujero U.
§20. Un recipiente que permanece lleno, aunque se extraiga agua de él
Si se tiene adaptar este artilugio para su uso, de tal forma que de una copa llena se puede vaciar cualquier cantidad de agua y la copa permanece llena, se procede como se indica a continuación.
Se tiene un recipiente, A B, que contiene tanta agua como se requiera, y C D un conducto que la lleva desde abajo a G H.
Cerca del tubo se fija el brazo de la palanca, E F, y desde el extremo E se suspende un trozo de corcho, K, de modo que puede flotar; en el otro extremo F se asegura una cadena que sujeta un peso, X.
Se dispone el sistema de modo que el corcho flote en el agua en G H, y se cierra la boca del tubo; de tal forma que, cuando

Se tiene la copa, L M, colocada en una posición adecuada, su borde queda a nivel con la superficie del agua del recipiente, cuando no haya descarga del recipiente del corcho flotante; y se tiene el tubo, H N, que va del recipiente a la parte inferior de la copa.
Ahora bien, si se saca agua de la copa cuando esté llena, se reduce al mismo tiempo el agua del recipiente; y el corcho se hunde abriendo el tubo, por lo tanto, el agua pasa hacia el interior del recipiente y de la copa, el corcho sube de nuevo, y cesa la descarga.
Y esto sucede cada vez que se saca agua de la copa.
Capítulo 3
Un recipiente de sacrificios que fluye solo cuando se le introduce una moneda
- Un recipiente de sacrificios que fluye solo cuando se le introduce una moneda
- Un recipiente del cual se hace fluir a través de un tubo una variedad de líquidos
- Un flujo de vino desde un recipiente, producido al verter agua en otro
- Un tubo por el que fluyen vino y agua en proporciones variables
- Un recipiente del que fluye vino en proporción al agua que se le extrae agua
- Un recipiente del cual fluye vino en proporción al agua vertida en otro
- La máquina de bomberos
- Un autómata que solo bebe a ciertas horas, un líquido que se le ofrece
- Un autómata que puede beber a toda hora, un líquido que se le ofrezca
- Un autómata que beberá cualquier cantidad que se le ofrezca

Si se tira una moneda de cinco dracmas dentro de cierto recipiente de sacrificios, fluirá el agua y los rociará a todos.
Se tiene un recipiente de sacrificios o un cofre con un tesoro, ABCD, que tiene una abertura en su boca, A; y en el cofre hay un recipiente, F G H K, que contiene agua, y una pequeña cápsula, L, de la que sale un tubo, L M, que llega fuera del cofre.
Cerca del recipiente se encuentra una varilla vertical, N X, sobre la que gira una palanca, O P, que se expande en el extremo O en una placa R paralela al fondo del recipiente, mientras que se suspende un tapón del extremo P, S, entra en la cápsula L, de tal manera que no deja pasar el agua a través del tubo L M; este tapón, sin embargo, es más pesado que la placa H, pero más liviano que la placa y la moneda juntas.
Cuando se tira la moneda a través de la boca A, cae sobre la placa R y predomina, gira la barra O P, y levanta el tapón de la cápsula de modo que sale el agua: pero si la moneda cae por fuera de la placa; el tapón desciende y cierra la cápsula de modo que cesa la descarga.
§22. Un recipiente del cual se hace fluir a través de un tubo una variedad de líquidos
Se han vaciado varios tipos de líquidos en un recipiente a través de una boca.

Suponga que, para el presente caso, son dos líquidos, y se tiene el tabique E F.
En el tabique C D se hacen varios agujeros pequeños, como los de un colador, se abren en cada cámara, y se abren agujeros para el aire, G, H, cerca del tabique, además, se abren en las cámaras: también hay dos pequeños tubos en el fondo, K, L, que comunican las cámaras y la abertura del tubo común M.
Si se cierra primero los respiraderos G, H, y el tubo M, se vierte uno de los líquidos por la boca del recipiente, no entra en ninguna cámara, porque el aire no puede escapar: pero si se abre uno de los respiraderos, el líquido pasa a la cámara a la que pertenece el orificio; y si vuelve a cerrarse luego esta abertura, Se vacía otro líquido dentro y se abre el otro respiradero, el líquido entra a la otra cámara.
Si se cierran ahora todos los respiraderos y los agujeros del colador, y se abre el tubo M, no hay ninguna descarga hasta tanto se abra uno de los respiraderos; cuando el aire encuentra una entrada, sale el líquido almacenado en dicha cámara.
Si se cierra este respiradero y se abre el otro, se tiene el mismo resultado.
§23. Un flujo de vino desde un recipiente, producido al verter agua en otro
Si colocan dos recipientes sobre un pedestal, uno lleno de vino y el otro vacío; en la misma cantidad de agua que se vierta en el recipiente vacío, saldrá vino del otro.
A continuación se explica su construcción.
Sobre un pedestal, A B, hay dos recipientes, C D, E F, que tienen sus bocas cerradas por las divisiones G H, K L.

En E F coloque un sifón curvado, P R S, de modo que el doblez quede cerca de la boca del recipiente, y una rama, a modo de desagüe, pasando al exterior.
A través del tabique G H va un embudo, T U, que desciende casi hasta el fondo del recipiente, este tubo va soldado dentro de este tabique.
Se vierte vino en el recipiente E F a través del orificio, Q, y se cierra inmediatamente.
Si se vierte agua en el recipiente C D a través del embudo, sale el aire almacenado en él, y pasa través del tubo M N X O, al interior de E F, y esta vez, fuerza la salida del vino almacenado en E F: y esto sucede después de que se vierte el agua.
Es evidente que el aire forzado que sale, es igual al volumen del agua vertida dentro del recipiente, y esto fuerza la salida de igual volumen de vino.
Si no se usa un sifón curvado, sino simplemente un tubo en s, se produce el mismo efecto, a menos que el agua tenga demasiada fuerza para el tubo.
§24. Un tubo por el que fluyen vino y agua en proporciones variables
Se tiene un recipiente vacío, hay otro que contiene vino: para cualquier cantidad de agua que se vierta en el recipiente vacío, sale a través de un tubo, una mezcla de agua y vino en la proporción que se quiera; así, por ejemplo, si se tienen dos partes de agua por una de vino.
Se tiene un recipiente vacío, A B, bien sea un cilindro o un paralepípedo rectangular; al lado de éste, y sobre la misma base, se coloca otro recipiente, C D, lleno de aire, cerrado herméticamente, e igual que A B, puede ser un cilindro o un paralelepípedo rectangular; pero la base de A B debe ser el doble de la base de C D, por tener un volumen de agua igual al doble del volumen de vino.
Junto a C D se coloca otro recipiente lleno de aire, cerrado herméticamente, E F, en los cuales se va a verter el vino; y entre los recipientes C D, E F, se coloca un tubo, G H K, perforando las cubiertas de los recipientes y soldando el tubo dentro de ellas.

De este recipiente sale un tubo P R que atraviesa todos los recipientes, o se lleva por debajo del pedestal en el cual se encuentran ellos, es decir, que puede pasar fácilmente por debajo del recipiente A B.
Se tiene otro tubo, T S, que conecta los recipientes A B, C D, y cerca del fondo de A B se coloca un pequeño tubo, U, que junto con P R se debe pasar a través de un tubo más grande, Q W, provisto de un grifo por medio del cual se puede abrir a voluntad.
Cuando se han hecho estos preparativos, se cierra el tubo Q W, y se vierte agua en el recipiente A B; una parte, en concreto, la mitad pasa a C D, a través del tubo S T, y el agua que cae dentro de C D fuerza a salir un volumen de aire igual al que pasa a través de G H K al interior del recipiente E F; de manera similar este aire fuerza a pasar igual cantidad de vino al recipiente O X a través de L M N.
Si se abre el tubo Q W, el agua que se vierte en el recipiente A B y el vino que sale de O X a través del tubo P R siguen fluyendo juntos y así hasta que se cumpla el objetivo.
Los recipientes se vacían de nuevo cuando se descarga todo el líquido mezclado, y el aire entra a través del tubo P R.
§25. Un recipiente del que fluye vino en proporción al agua que se le extrae agua
Se tiene un recipiente que contiene agua, y un tubo que tiene una llave o grifo, y se tiene una figura que flota en la superficie del agua; cuando se saca el agua, en cualquier cantidad, a través del tubo, el vino fluye desde la figura en cualquier cantidad dada, en proporción al agua que sale.
Se tiene un recipiente de agua, A B, provisto de un tubo, C, que se puede cerrar; y sobre la superficie del agua se tiene un tazón que flota, D, en el cual se tiene un tubo perpendicular, E F, con la figura esculpida de algún animal.

Si se vacía el vino a través de la boca M, fluye dentro del tubo E F hasta que la superficie del vino del recipiente G H y del tubo E F estén al mismo nivel.
Se tiene el nivel en la línea N X O P; y en el punto P se fija un tubo abierto, R.
Hasta ahora no hay descarga de vino, pero, si se vacía cualquier cantidad de agua a través de C, se hunde el tazón D, y con él, el tubo E F, y la superficie del vino [en el tubo] queda por debajo de la superficie de N X; de modo que, al presionar el tramo externo del sifón, el vino pasa de nuevo dentro del tubo E F y sale a través del tubo R.
Esto se da con la misma frecuencia con la que se saca agua a través del tubo C, el vino fluye en relación directa al agua que sale.
La base del recipiente A B debe guardar proporción con la base de G H; y así hasta que se cumpla el objetivo.
§26. Un recipiente del cual fluye vino en proporción al agua vertida en otro
Si se requiere que fluya vino en proporción al agua que se vierte en un recipiente, se debe proceder como sigue.

En A B se tiene un balón que flota, D, del cual sale una cuerda que pasa sobre una polea, S, atada al tubo, E F, de modo tal que este queda colgando; y todo lo demás corresponde con lo establecido en el último párrafo.
Resulta que cuando se vierte el agua en el recipiente A B, el balón D se eleva por debajo del tubo E F, y el vino vuelve a subir.
Esto se puede efectuar de diferentes maneras atando la cuerda del balón D, a través de una tercera polea, C, a través de otra polea, S, hacia otra polea, T, y cruzando desde ésta, nuevamente al sifón K L.
Ahora se tiene que, cuando sube el balón, el sifón K L M, que está suspendido por la cuerda, baja de modo que el tramo externo de éste vuelve a ser el más largo, y el vino fluye a través de la boca M.
§27. La máquina de bomberos
Los sifones usados en las conflagraciones se hacen como se indica a continuación.
Se toman dos recipientes de bronce, A B C D, E F G H, con una abertura en la superficie interna para pasar un pistón, (como los barriles o los órganos de agua), siendo K L, M N los pistones que entran en los recipientes.
Los cilindros se comunican entre sí por medio del tubo X O D F, y están provistos de las válvulas, P, R, tal como se explicó anteriormente, y abriendo el tubo X O D F desde los cilindros.
En las bases de los cilindros se perforan los orificios circulares, S, T, cubiertos con copas pulidas, semiesféricas, V Q, W, Y, a través de las cuales se insertan pasadores soldados a los recipientes, o unidos de alguna forma, a las bases de los cilindros, y provistos de tirantes en los extremos para que las copas no se puedan soltar de los pasadores.

Se tiene el tubo S' E' que se comunica con el tubo X O D F, que se ramifica en dos brazos en S', y provisto de dos tubitos a través de los cuales se sube el agua, Tal como se explicó antes en la máquina para producir un chorro de agua mediante aire comprimido.
Ahora bien, si se dotan los cilindros con estos accesorios, para sumergirlos en un recipiente que contiene agua, I J U Z, y el travesaño A' A' se hace trabajar en sus extremos A', A', que se mueven de forma alternada alrededor del pasador D, cuando los pistones descienden, sale el agua a través del tubo E' S' y la boca rotatoria M'.
Para cuando asciende el pistón M N se abre el orificio T, al tiempo que se levanta la copa W Y, y dispara la válvula R; pero cuando desciende dispara T y abre R, a través de las cuales circula el agua y se fuerza a subir.
La acción del otro pistón, K L, es similar.
Ahora el tubito M', el cual se mueve hacia atrás y hacia adelante, lanza el agua a la altura requerida pero no en la dirección requerida, a menos que toda la máquina de la vuelta; lo cual en ocasiones de urgencia resulta tedioso y dificulta el proceso.
Es por eso que, para lanzar el agua hacia el foco se requiere que el tubo E' S' conste de dos tubos, que se ajusten en toda su longitud, de los cuales uno se debe fijar al tubo X O D F, y el otro a la parte a la cual se bifurca en los brazos, en S'; y de este modo, si se gira el tubo superior, debido a la inclinación de la embocadura M', se puede forzar el chorro de agua en la dirección que se quiera.
Se debe asegurar la junta superior del doble tubo a la inferior, para evitar que se fuerce en la máquina por la violencia del agua.
Esto se puede lograr con un seguro en forma de L, soldado al tubo superior, que se desliza sobre un anillo que rodea al más bajo.
§28. Un autómata que solo bebe a ciertas horas, un líquido que se le ofrece

A continuación se describe la construcción.
A B es un recipiente dentro del cual cae un chorro de agua, C.
Dentro de A B se coloca un sifón curvado o un sifón concéntrico, D E F, uno de sus extremos debe salir por debajo del fondo del recipiente.
Por debajo de este hay un pedestal hermético, con aire, G H K L, que también contiene un sifón curvado, M N X.
Debajo del orificio F se coloca un embudo, O P, cuyo tallo debe descender dentro del pedestal dejando paso al agua entre su boquilla de salida y el fondo del pedestal.
Sea R el pico del animal, desde la cual se oculta un tubo, R S T, que debe pasar por una de sus patas o por cualquier otra parte, y entrar al pedestal.
Cuando se llena el recipiente A B, el agua se derrama y cae dentro del embudo, llenando el pedestal G H K L y vaciando el recipiente A B; de igual manera, cuando se llena el pedestal, el agua corre a través del sifón M N X y vacía el pedestal; y, mientras se vacía, el aire entra a través del pico R para llenar el vacío que queda.
Si se coloca una copa en R, el líquido es succionado con fuerza y es absorbido en lugar del aire, hasta que el pedestal queda vacío.
Entonces se vuelve a llenar el recipiente A B y se vacía de nuevo, y vuelve a quedar como estaba antes.
Para que se pueda poner la copa en el momento justo, es decir, cuando sale el agua del pedestal, hay que dejar algo que se mueva cuando lo golpee la descarga de agua a través del sifón M N X.
Se debe acercar la copa, cuando se vea mover.
§29. Un autómata que puede beber a toda hora, un líquido que se le ofrezca
Hay otra forma en la que, con la ayuda del agua que corre, se puede hacer beber al animal cuando da vuelta una figura tallada de Pan.
Sea A B C D un pedestal hermético, cerrado por todos lados, y dividido en dos cámaras mediante un tabique.

En la base de la cámara inferior, hay un sifón curvado, H K L, saliendo del fondo su tramo más bajo: y se tiene un embudo, M N, que pasa a través del tabique de la mitad, llegando su tallo cerca del fondo.
Sobre el pedestal A B C D se coloca otro pedestal, O X, sobre el cual se pone de pie la figura de Pan, P R, unida a la varilla S que sale por debajo del pedestal.
Se asegura a S el tubo T U, al final del cual se fija la copa U Q, que se comunica con el tubo.
El tubo debe tener una longitud tal que, cuando de vuelta la figura P R, la copa U Q quede encima del embudo M N.
Sobre el pedestal, comunicándose con él, encima del embudo M N, se coloca la copa W Y.
El chorro Z, (el cual debe ser mayor que la descarga a través del sifón H K L), fluye dentro de W Y: el líquido pasa a través de M N a la parte inferior del pedestal, el contenido de aire sale a través de E F G: y ahora sigue lleno el pedestal mientras que el flujo de entrada sea mayor que la descarga.
Pero cuando la figura P R se da vuelta, la copa U Q intercepta el chorro Z, el cual pasa a otra parte a través del tubo T U, y mientras que el agua no fluya al interior de la cámara inferior del pedestal, se vacía el sifón H K L, y entra el aire a través de E F G.
De este modo, cuando se pone la copa, el animal bebe como antes.
§30. Un autómata que beberá cualquier cantidad que se le ofrezca

Sea A B C D un pedestal, y E el pico del animal, a través del pecho y la parte trasera de las patas o la cola se inserta un tubo, E F G, que se dirige desde el pico hasta el interior del pedestal.
Habiendo fijado firmemente el animal al pedestal, se perfora un agujero, E, tan fino que sea escasamente perceptible, se casa la perforación con el tubo E F G que atraviesa el animal, en línea con la extremidad G.
Si ahora se llena con agua el sifón E F G a través de un tubo por encima de él, cuya boca se aplica a E, el sifón continúa lleno puesto que los dos extremos del mismo están al mismo nivel.
Si se coloca un vaso para beber en el pico E, y se sumerge una parte del pico en él, el extremo del sifón hacia el lado G resulta más largo, de tal forma que absorbe el agua, y lleva el agua que absorbe al interior del pedestal A B C D.
En esta construcción no es necesario que A B C D sea hermético.
Capítulo 4
Una rueda en un templo, la cual, libera agua pura al girar
- Una rueda en un templo, la cual, libera agua pura al girar
- Un recipiente que contiene diferentes vinos, del que puede liberarse cualquiera de ellos colocando cierto peso en un plato
- Una lámpara que se ajusta automáticamente
- Un recipiente del cual se puede hacer fluir un líquido, en cualquier proporción al agua vertida dentro de él
- Un recipiente que recibe cierta cantidad de líquido cuando se alimenta continuamente, pero solo recibirá cierta cantidad de líquido cuando el suministro se tiene intermitente
- Un sátiro vaciando agua de una bota de vino a un lavamanos, sin que se derrame el contenido
- Las puertas del templo abiertas por fuego en el altar
- Otra forma para abrir las puertas del templo con el fuego del altar
- Puede detenerse el flujo de vino de un recipiente introduciendo agua, pero, cuando cesa el suministro de agua, el vino fluye de nuevo
- Al levantar una manzana, Hércules le dispara a un dragón y este silba

También hay recipientes con agua bendita, con la que los fieles se pueden asperjar.
Entonces se requiere la construcción de una rueda que, al girarla, fluya el agua para asperjar a los fieles tal como se ha dicho antes.
Detrás del pilar de la entrada se tiene un recipiente de agua, A B C D, oculto, con un orificio, E, perforado en su base.
Por debajo de la base fija un pequeño tubo, F G H K, que tiene también un orificio perforado opuesto al orificio de la base y ubicado sobre otro tubo, L M, soldado al tubo F G H K en L, y de igual manera se tiene un agujero S, al lado opuesto del orificio: entre estos dos tubos hay otro tubo, N X O R, que debe quedar bien ajustado, con el agujero P opuesto al agujero E.
Ahora bien, si los huecos están alineados, cuando se vierte agua en el recipiente A B C D fluye a través del tubo L M; pero si el tubo N X O R se hace girar de modo que cambia la posición del agujero P, cesa la descarga.
Se fija la rueda al tubo N X O R, y al hacerla girar repetidamente, fluye el agua.
§32. Un recipiente que contiene diferentes vinos, del que puede liberarse cualquiera de ellos colocando cierto peso en un plato
Se vierten varios tipos de vino por la boca de un recipiente, por el mismo tubo se puede extraer cualquiera de ellos: de modo que, si varias personas vierten en él diferentes vinos, cada uno puede tomar el suyo,

Sea A B C D, un recipiente hermético, cuyo cuello está cerrado por un tabique, E F; el cuerpo del recipiente se divide en tantos compartimientos como tipos de vinos se piense tener.
Se supone, por ejemplo, que se tienen las divisiones G H, K L, formando tres compartimientos, M, N, y X, dentro de los cuales se vierte el vino.
En el tabique E F se perforan pequeños orificios, uno en cada compartimiento, O, P, R; y se pasan por estos orificios tres pequeños tubos, P S, O T, R U, que se comunican con el recipiente, se extienden dentro del cuello.
Se perfora la división E F, cerca de cada tubo, con orificios finos, a través de los cuales pasa el líquido a los compartimientos.
Cuando se vierte cada tipo de vino, se colocan los dedos sobre S, T, y U, y se vierte el vino a través del cuello Q; este no pasa a ninguno de los compartimientos mientras que no salga el aire contenido en ellos.
Pero si se destapa uno de los agujeros S, T, o U, sale el aire almacenado en dicho compartimiento mientras que el vino cae dentro de dicha división.
Se tapa de nuevo este orificio con el dedo, se destapa otro de igual manera, y se vierte otro tipo de vino: y así sucesivamente con el resto, tanto con los compartimientos como los tipos de vino.
Se puede procurar que cada vino esté en su debida cantidad, a través del mismo tubo de la siguiente forma.
En la base del recipiente A B C D hay tubos que salen de cada compartimiento, W Y de M, Z A' de N, de B' C' de X: los extremos de estos tubos Y, A' y C', se deben comunicar con otro tubo Y A' C', dentro del cual se ha ajustado firmemente otro tubo, E' F', cerrado en el extremo F', y tiene orificios opuestos a Y, A, y C' de tal manera que mientras gira el tubo E' F', cuando los orificios perforados coinciden de forma consecutiva con los agujeros Y, A', y C', dejan pasar el vino a cada cámara y lo envían a la boca a través del tubo E' F'.
El tubo E' F' va unido a una varilla de hierro, G' H'; en el extremo H', que tiene soldada una masa de plomo, K', y en G' un pasador de hierro, L' M', al centro del cual se ha fijado una copa, L, con la concavidad hacia arriba: El interior de esta es un cono truncado hueco del cual M' es el círculo mayor y N' el círculo menor, y a través de éstos cruza el pasador L' M'.
Se toman varias bolas de plomo, de diferente peso, iguales al número de compartimientos M, N, X; y si se coloca la bola de menor peso en la copa M' N', desciende por su propio peso hasta tocar la superficie hueca del cono truncado, haciendo girar al tubo E' F' hasta que el orificio coincida con Y, y deja pasar el vino del compartimiento M, el cual fluye mientras permanezca la bola en la copa, a menos que se acabe: cuando se retira la bola K' retrocede y cierra el orificio Y, y cesa la descarga.
Una vez más, se retira otra bola, y la copa desciende y gira el tubo E' F' un poco más, hasta que alcance el orificio A', y fluye el vino almacenado en N: igual que el caso anterior, cuando se retira el peso, K' gira hacia atrás y cierra el orificio A', y el vino deja de fluir.
Si se coloca en la copa otra bola todavía más pesada, el tubo E' F' gira mucho más, de modo que fluye el vino del compartimiento X.
Sin embargo, es necesario que cuando se coloque en la copa la bola de menor peso, esta supere al K', o, en otras palabras, sea capaz de hacer girar a E' F'; por lo que las otras bolas también lo superan y hacen mover a E' F'.
§33. Una lámpara que se ajusta automáticamente
Se idea una lámpara que se ajuste automáticamente.
Sea A B C una lámpara a través de la cual se inserta una barra de hierro, D E, capaz de deslizarse libremente alrededor del punto E,

Se coloca cerca una rueda dentada F, que se mueve libremente sobre un eje, con sus dientes en contacto con la barra de hierro, de modo que cuando gira la rueda empuja la mecha por medio de los dientes.
La abertura para el aceite es de un ancho considerable, y cuando se vierte el aceite en ella, flota sobre él un pequeño tazón, G, el cual está unido a la barra dentada perpendicular, H, cuyos dientas encajan en los de la rueda dentada.
Se observa que, a medida que se consume el aceite, se hunde el tazón y hace que gire la rueda F por medio de la barra dentada, y empuja la mecha.
§34. Un recipiente del cual se puede hacer fluir un líquido, en cualquier proporción al agua vertida dentro de él
Si se vierte líquido en un recipiente, provisto en el fondo de una boquilla, sale un chorro algunas veces desde el principio, otras veces cuando está medio lleno, y otras veces cuando esté completamente lleno: en suma,

Sea el recipiente A B, con el cuello cerrado por un tabique: se inserta el tubo C D, hermético, a través del tabique, que llega cerca al fondo del recipiente dejando solo el paso para el agua.
Sea E F G un sifón curvado cuyo tramo interior se extiende casi hasta el fondo del recipiente mientras que el otro sale al exterior, de forma tal que sale por él un chorro de agua: la curvatura del sifón debe estar cerca del cuello del recipiente.
En A B se hace un orificio para el aire, H, cerca del tabique y va dentro del cuerpo del recipiente.
Si se quiere que el chorro de agua salga inmediatamente al entrar el líquido, se coloca un dedo en el agujero H, y sale el surtidor, para que no se devuelva el aire del recipiente, el líquido sale con fuerza a través del sifón curvado.
Si no se cierra H, el líquido pasa al interior del recipiente, y el chorro no puede correr hasta tanto no se cierre de nuevo el orificio: y si se destapa de nuevo el orificio, el sifón vacía todo el líquido.
§35. Un recipiente que recibe cierta cantidad de líquido cuando se alimenta continuamente, pero solo recibirá cierta cantidad de líquido cuando el suministro se tiene intermitente
Se puede construir un recipiente tal que, mientras se vierta en él cualquier cantidad de líquido, él lo deja pasar, pero si se deja de verter, no recibe más: Se construye de esta manera.

A través del tabique se inserta el tubo E F, que llega casi hasta el fondo, y sale del recipiente casi hasta alcanzar el borde de éste; y se encierra este tubo dentro de otro G H, que está cubierto por encima por una tapa, dejando entre el tabique y el tubo E F, espacio suficiente para admitir el paso del agua: Se hace un orificio, K, para el paso del aire, en A B, K, que llega hasta el interior del recipiente.
Si se vierte líquido, en el cuello del recipiente, se observa que pasa a través de los tubos G H y E F, y sale el aire a través del orificio K.
Pero si deja de fluir, y se vacía el cuello del recipiente, el aire pierde la continuidad, de modo que fluye cualquier líquido en G H y cae sobre el tabique; el tubo G H debe tener un ancho considerable, para que el agua caiga por su propio peso.
Si se vierte más líquido dentro, el aire confinado en los tubos E F y G H no le permite el paso, así que se derrama por el borde del recipiente.
§36. Un sátiro vaciando agua de una bota de vino a un lavamanos, sin que se derrame el contenido
Se construye un pedestal con la figura de un sátiro que sostiene una bota: se sitúa éste cerca de una tina, y este mismo líquido se vierte dentro de él, hasta que se llene; el agua fluye en la tina sin dejar de correr, hasta que se agote el agua de la bota.
Se construye así.
Sea A B un pedestal completamente hermético, bien sea de forma cilíndrica u octagonal, como se vea más elegante, y se divide en dos cámaras mediante el pedestal C D, a través de la cual pasa bien ajustado el tubo E F, que se extiende casi hasta la cubierta del pedestal.
Se inserta el tubo G H, a través de la cubierta, asomando ligeramente por encima del recipiente, y bajando exactamente por debajo de la tina, mientras que llega hasta el fondo por debajo, dejando solo espacio para la salida del agua: este tubo se debe soldar en la cubierta del pedestal y en el tabique.

Ahora se llena con agua el recipiente A D con agua, a través del orificio N, el cual se debe cerrar después.
Si se vierte el agua en la tina, ésta pasa a través del tubo G H al interior del recipiente B C; y el aire almacenado en B C, pasa a través del tubo E F y el recipiente A D, forzando el vaciado del líquido almacenado en A D, a través de K L M, dentro de la tina; y lo lleva de nuevo al interior de B C lo que fuerza la salida del aire almacenado como antes, el cual fuerza nuevamente al agua del recipiente A D, a pasar a la tina: y esto dice hasta que se agote el agua de A D.
El tubo K L M debe pasar a través de la boca de la bota y ser bastante pequeño, para que el proceso dure un tiempo considerable.
§37. Las puertas del templo abiertas por fuego en el altar
Se construye un pequeño templo de tal forma que, al encender un fuego, se abren las puertas espontáneamente, y se cierran de nuevo cuando se apaga el fuego.
Dicho templo se apoya sobre un pedestal, A B C D, sobre el cual reposa un pequeño altar, E D.
A través del altar se inserta un tubo, F G, quedando la boca F dentro del altar y la boca G queda encerrada en un globo, H, llegando casi hasta el centro de éste: el tubo debe estar soldado al globo, en el cual se coloca un sifón curvado, K L M.
Los goznes de las puertas se extienden hacia abajo y giran libremente sobre pivotes ubicados en la base A B C D; de los goznes salen dos cadenas, unidas entre sí, atadas a una polea, que sostiene un recipiente hueco, N X, que está suspendido; mientras que otras dos cadenas, unidas entre sí, se enrollan sobre los goznes en dirección opuesta a las anteriores, se atan mediante una polea, a una pesa de plomo, que cierra las puertas cuando desciende.
El tramo externo del sifón K L M se dirige al recipiente suspendido; y a través de un agujero, P, que debe quedar bien cerrado después, se vierte agua en el globo para llenarlo hasta la mitad.

Cuando se vuelve a apagar el fuego, el aire expandido escapa a través de los orificios del lado del globo, y el sifón curvado, (cuyo extremo se sumerge en el agua, en el recipiente suspendido) saca el agua del recipiente para llenar el vacío que dejan las partículas removidas.
Cuando el recipiente se aligera, el peso suspendido lo supera y cierra las puertas.
Algunos emplean mercurio en lugar de agua, porque es más pesado que el agua y se disocia fácilmente con el fuego.
§38. Otra forma para abrir las puertas del templo con el fuego del altar
Se pueden abrir las puertas de otra forma, al encender un fuego.
Tal como en el caso anterior, hay un pequeño templo parado sobre una base, A B C D, sobre la cual hay un altar, E.

Igual que el caso anterior, se calienta el aire del altar, y se expande, pasando a través del tubo F G H al interior de la bolsa, y esta supera al peso L; y se abren las puertas.
Ambas puertas se abren, mientras que las puertas de los baños se cierren espontáneamente, o pueden tener un contrapeso para abrirlas.
Cuando se termina el sacrificio, y sale el aire que hay en la bolsa, desciende el peso, desciende la bolsa con él, tensa las cadenas y cierra las puertas.
§39. Puede detenerse el flujo de vino de un recipiente introduciendo agua, pero, cuando cesa el suministro de agua, el vino fluye de nuevo
Si se tiene un recipiente con vino, y está provisto de tres surtidores, fluye el vino a través del que se encuentra en medio de los otros dos; y, cuando se vierte agua en él, cesa el chorro de vino, y el agua fluye a través de los otros dos; luego, cuando cesa el chorro de agua, el vino fluye a través del surtidor de la mitad: y esto se da con la misma frecuencia con la que se vierte agua.

Se tienen dos tubos, F G H, K L M, que terminan en surtidores, que pasan a través del tabique y sobresalen de éste; y las partes salientes están rodeadas por otros tubos, N, X, cubiertos con tapas en su parte superior, se extienden hasta el tabique dejando apenas paso para el agua.
Otro tubo, P, que llega arriba cerca del tabique, se comunica con F G H.
Teniendo cerrado el surtidor E, se llena el recipiente A B con vino a través de un orificio, Q, que luego debe quedar bien cerrado.
Cuando se destapa E, fluye el vino debido a que entra el aire desde afuera para llenar el vacío que se crea, a través del orificio H y el tubo P.
Si se vierte ahora agua en la división C D, sale por los tubos F G H, K L H; pero como el aire no tiene forma de entrar al recipiente, A B, el vino deja de fluir hasta que salga el agua, y el aire encuentre nuevamente una entrada y el vino fluya.
En lugar del tubo P, se puede usar otro tubo, R S, perforando a través del tabique, y ubicándolo dentro de otro tubo, T U, igual a los tubos N y X, pero más alto que ellos, de modo que R S pueda salir por encima del borde del recipiente.
Se obtiene así el mismo resultado.
§40. Al levantar una manzana, Hércules le dispara a un dragón y este silba
Sobre un pedestal se sitúa un pequeño árbol en el cual se encuentra enroscada una serpiente o un dragón; cerca se encuentra parado Hércules, para dispararle con un arco, y cae una manzana sobre el pedestal:

Sea A B el pedestal propuesto, hermético y dividido por un tabique, C D.
Se fija en el tabique un cono truncado, hueco, E F, del cual el círculo inferior, F, es abierto, y se aproxima al fondo del pedestal, dejando el espacio suficiente para el paso del agua.
Este cono se debe ajustar firmemente a otro cono H, unido mediante una cadena que atraviesa un orificio en la superficie, y va hasta la manzana K, que descansa sobre el pedestal.
Hércules sostiene un pequeño arco hecho de cuerno[8], y tensa la cuerda, que se encuentra a la distancia adecuada de su mano.
En la mano derecha, y dirigida hacia la serpiente, se tiene una mano idéntica a la mano visible, pero más pequeña, y sostiene la flecha.
En el extremo de la flecha se tiene una cadena, o cuerda, que pasa a través del pedestal y está unida a una polea que se encuentra por encima del tabique, y regresa a la cadena que se conecta con el cono y la manzana.
Ahora debe alzar el arco, y colocar la flecha detrás de la mano, apretarlo para que se tense la cuerda y tirarle directamente a la manzana: la cuerda debe correr a través del cuerpo y la mano de Hércules.
Desde el tabique se coloca un pequeño tubo, de los que se usan para pitar, se extiende por encima del pedestal y se pasa por debajo del árbol, o bien, a lo largo de su tronco.
Se llena luego el recipiente A D con agua.
Sea L M el árbol, N X el arco, S P la cuerda, RS la mano que sujeta el arco, T U la mano que tira la flecha, Q W la cuerda, W la polea a través de la cual se mueve la cuerda, y Y Z el pito.
Si alguien levanta la manzana K, levanta al mismo tiempo el cono H, tensa la cuerda Q W, y lleva la mano atrás, de tal forma que suelta la flecha: y el agua de A D, que pasa a B C, expulsa el aire almacenado en B C a través del pito, y produce el silbido.
Cuando se vuelve a poner la manzana en su posición normal, el cono H se ajusta de nuevo dentro del otro, se detiene el chorro de agua de modo que no se produce sonido.
Ahora se debe reorganizar la flecha y dejarla ahí.
Si el recipiente B C está lleno, se puede volver a vaciar por medio de una boquilla con una llave: A D debe volverse a llenar como antes.
Capítulo 5
Un recipiente del cual solo se pueden verter cantidades uniformes de líquido
- Un recipiente del cual solo se pueden verter cantidades uniformes de líquido
- Un chorro de agua activado por la compresión del aire en los pulmones
- Las notas de un pájaro producidas a intervalos por un chorro intermitente de agua
- Las notas producidas por varios pájaros en secuencia, por un chorro de agua
- Un chorro de vapor sostiene una bola
- El mundo representado en el centro del universo
- Una fuente que fluye por acción de los rayos solares
- Un tirso que silba al ser sumergido en agua
- Una trompeta, en las manos de un autómata, que se hace sonar con aire comprimido
- La máquina de vapor (eolipila)
§41. Un recipiente del cual solo se pueden verter cantidades uniformes de líquido
A continuación se describe la construcción de un recipiente llamado dicœometro, el cual, cuando se llena de líquido, descarga igual cantidad cada vez que se invierte.
Se tiene un recipiente A B, el cual tiene cerrado el cuello con un tabique A B: cerca del fondo hay un pequeño globo, C, que contiene la medida del agua que se quiere que fluya.
Se inserta a través del tabique un tubo pequeño y muy fino, D E, que se comunica con el globo.
En la parte más baja del globo se perfora un pequeño agujero, F, del cual se extiende hacia arriba un tubo, F G, que sale por debajo de él, y se comunica con el asa del recipiente, la cual es hueca.
Cerca del agujero mencionado se hace otro agujero, hacia el cuerpo del recipiente: el asa también debe tener un orificio en H.
Manteniendo tapado el agujero H, se llena el recipiente con líquido, a través de un agujero que luego se cierra herméticamente, o si se quiere, se llena el recipiente a través del tubo D E.
Si se invierte el recipiente y se destapa el orificio H, sale el líquido del globo C y del tubo D E.

§42. Un chorro de agua activado por la compresión del aire en los pulmones
Hay unos recipientes de los cuales se hace brotar agua soplando dentro de ellos.
A través del cuello del recipiente, se inserta un tubo que llega casi hasta el fondo de éste, y se suelda a su boca.

Se tapa su boca con el dedo, y se vierte un poco de líquido a través del orificio: Luego se sopla dentro del recipiente a través del mismo orificio, se cierra con una llave, y se retira la boca del tubo; el líquido sale en surtidor a través del orificio, debido al aire comprimido que se sopla dentro del recipiente.
§43. Las notas de un pájaro producidas a intervalos por un chorro intermitente de agua
Se pueden producir notas de pájaros a intervalos, como sigue.

Sobre el embudo se coloca un recipiente hueco, que gira sobre pivotes y tiene un peso por debajo, al cual le llega el agua continuamente.
Mientras está vacío el recipiente montado sobre los pivotes, permanece hacia arriba, porque tiene un peso en el fondo; pero, cuando el recipiente se llena con agua, se da vuelta sobre el recipiente hermético, y el aire contenido en él, se expulsa a través de un pequeño tubo, produciendo el sonido.
Se vacía el recipiente por medio de un sifón curvado, y, mientras se vacía, se llena nuevamente el recipiente montado en los pivotes y se da vuelta.
Es necesario que el chorro de agua no caiga en el centro del recipiente montado en los pivotes, para que, cuando se llene, de vuelta rápidamente.
§44. Las notas producidas por varios pájaros en secuencia, por un chorro de agua

Se toma recipiente, provisto de varias divisiones transversales.
En las cámaras se ubican sifones que conducen a otras cámaras debajo de ellos, estando a desnivel los chorros que pasan a través de ellos.
En el compartimiento más bajo se ubica el tubo que produce el sonido, y el chorro de agua cae dentro del compartimiento superior.
Se observa que cuando se llena la cámara superior, el agua pasa a través del sifón a la cámara situada debajo de ella, y el proceso continúa hasta llegar al compartimiento inferior, y como el recipiente es hermético, sale el aire de la cámara a través del tubo y se produce el sonido.
§45. Un chorro de vapor sostiene una bola

En la parte de abajo va un caldero cerrado, que contiene agua, y en la parte superior hay un fuego encendido.
De la cubierta sale un tubo hacia arriba, en cuyo extremo superior hay un hemisferio hueco, comunicado con él.
Si se pone una bola fosforescente dentro del hemisferio, se observa que el vapor del caldero, que sube a través del tubo, levanta la bola, de modo que dicha bola queda suspendida.

Se trata de construir de un globo transparente que contiene aire y líquido, y además un pequeño globo, en el centro, imitando al mundo.
Se construyen dos hemisferios de vidrio: uno de ellos cubierto de plata o bronce, con un hueco redondo en la mitad.
En este hueco se coloca una bola pequeña, fosforescente, dentro del agua almacenada en el otro hemisferio: A continuación se coloca encima el hemisferio cubierto, y, se quita cierta cantidad de agua, el espacio intermedio contiene la bola; así que, al aplicar el segundo hemisferio se logra el objetivo propuesto.
§47. Una fuente que fluye por acción de los rayos solares
La “fuente”, como se le llama a este artilugio, funciona mientras cae el sol sobre ella.

Se tiene un globo, E F, desde el cual sale un tubo que entra al pedestal, (llegando casi hasta el fondo del pedestal y a la superficie interior del globo,) mientras que un sifón curvado insertado en el globo, llega hasta un embudo.
Se vierte agua en el globo; y cuando el sol cae sobre el globo, calienta el aire de su interior, sale líquido, que es llevado a través del sifón G, y pasa a través del embudo al interior del pedestal.
Pero cuando el globo está en la sombra, se escapa aire del globo, el tubo succiona el líquido de nuevo, y llena el vacío que se produce; y esto se repite cada vez que el sol cae sobre el globo.
§48. Un tirso que silba al ser sumergido en agua

Se tiene un tirso A B C D, de cabeza hueca y en forma de piña, con un orificio D.
Se cierra el bastón por debajo de la boca mediante el tabique A E, y se coloca un pequeño tubo, F, cerca de ella, justo debajo de la boca del tubo, pasando a través del orificio del tabique.
Si se inserta el tirso en el agua y se empuja hacia abajo, el agua expulsa el aire almacenado dentro de él, produciendo un sonido.
Si solo hay agua en el tubo, se escucha una flauta; pero si hay un poco de agua debajo del tabique, se escucha un gorjeo.
§49. Una trompeta, en las manos de un autómata, que se hace sonar con aire comprimido

Se tiene un pedestal hermético, A B C D, sobre el cual se para la figura, y dentro del pedestal se tiene un hemisferio hueco, E F G, cubierto por encima, y con pequeños agujeros en el fondo.
Desde el hemisferio se extiende hacia arriba un tubo, H F, por dentro de la figura en dirección de la trompeta, la cual está provista de una embocadura.
Se vierte líquido en el pedestal a través de un agujero que se tapa luego mediante una válvula o un tapón llamado smerisma.
Si se sopla en la campana de la trompeta, el aire que se introduce fuerza al agua a salir atravesando los agujeros del hemisferio, y se acumula dentro del pedestal: pero cuando se detiene la respiración, el agua entra de nuevo al hemisferio y hace salir el aire, el cual, pasa a través de la embocadura, y produce el sonido de una trompeta.
§50. La máquina de vapor (eolipila)

El fuego que se enciende debajo del caldero, A B, que contiene agua, y tiene cubierta su boca con la tapa C D; esta se comunica con el tubo doblado E F G, cuyo extremo se ajusta en un balón hueco, H K.
Opuesto al extremo, G, se coloca un pivote, L M, que descansa sobre la tapa C D; y el balón tiene dos tubos, que se comunican con los extremos diametralmente opuestos, y se doblan en direcciones opuestas, los dobleces se hacen en ángulos rectos y cruzan las líneas F G, L M.
A medida que se calienta el caldero se produce vapor, que entra al balón a través de E F G, pasa a través de los tubos doblados hacia la tapa, y hace que el balón de vuelta, como ocurre con las figuras danzantes.
Capítulo 6
Un recipiente del cual fluye agua que se puede detener a voluntad
- Un recipiente del cual fluye agua que se puede detener a voluntad
- Un cuerno para beber al cual se le fija un sifón de forma peculiar
- Un recipiente en el que el agua y el aire suben y bajan de forma alternada
- Se lleva el agua de la boca de una bota de vino a las manos de un sátiro, mediante aire comprimido
- De un recipiente fluye el agua que se vierte dentro de él, pero si se interrumpe el vaciado, el agua no sigue fluyendo, hasta que el recipiente se llene hasta la mitad, y si se vuelve a interrumpir el suministro, no fluirá más hasta que el recipiente no se llene completamente
- Una copa de vidrio, a la cual se pega un tubo de escape de aire
- Descripción de una jeringa
- Un recipiente del cual puede detenerse el flujo de vino, vertiendo una pequeña cantidad de agua
- Un recipiente del cual se puede hacer fluir vino o agua, mezcladas o de forma separada
- Las libaciones vertidas sobre el altar, y la serpiente que silba, por la acción del fuego

Se tiene un tazón, A B, sobre un pedestal, C; a través del fondo del tazón y el pedestal se inserta un tubo, D E F, que termina en una boquilla; y en el asa del recipiente se coloca una barra fija, G H, contra la cual se coloca otra barra, K L, que se puede mover sobre el pasador H; en el extremo K se coloca una barra vertical, K M, que se mueve alrededor del pasador, K; a esta barra se le coloca una caja, N X, unida en el punto M, que tiene peso y largo suficiente para encerrar el tubo D E F.
Cuando el tazón está lleno, se presiona el extremo L de la barra, y sube la caja N X, y cuando esta se eleva, sale el agua del tazón a través del tubo D E F: pero si se suelta el extremo L, baja la caja y cubre al tubo D E F, y el aire encerrado en él, no puede escapar, interrumpe el paso del líquido a lo largo del tubo D E F, y evita que siga saliendo a través de la boca D.
Cuando se vuelve a presionar el extremo L, el chorro sale de nuevo.
§52. Un cuerno para beber al cual se le fija un sifón de forma peculiar

A B C, es un cuerno para beber, cerrado por la cubierta D E; y desde D E se extienden dos tubos, F G, H K, uno de ellos, H K, conduce al interior del recipiente, el otro, F G, conduce al exterior del mismo.
Una cubierta de vidrio, M N, los encierra; y en la parte superior, D E, al exterior del recipiente, hay una abertura, x, a través de la cual se puede verter el agua.
Cuando se llena el cuerno a través de esta abertura, se llena el tubo H K al mismo tiempo, y a medida que se vierte el agua en él, asciende dentro del recipiente de vidrio y sale a través del tubo F G.
De este modo se tiene el arreglo de un sifón curvado, del cual H K es el brazo más pequeño y F G el mayor, de este modo sube el líquido del cuerno a la cubierta; y también atrae el aire contenido en la cubierta, el cual es más liviano que el líquido, y el agua da la impresión de retroceder en el espacio vacío dejado por el aire y desciende por su propio peso; este movimiento ascendente es contrario a la naturaleza.
§53. Un recipiente en el que el agua y el aire suben y bajan de forma alternada

Sean un pedestal completamente hermético, A B, la división, C D, y una cubierta cilíndrica de vidrio, E F, también completamente hermética.
En la cubierta E F hay un tubo, G H, que llega cerca de la parte superior, y pasa a través de un orificio en la división C D, y otro tubo, K L, que pasa a través del pedestal pero solo desciende hasta la división.
En el pedestal, por fuera de la cubierta de vidrio, hay una apertura, M, a través de la cual se llena el recipiente A D, y cerca del fondo del pedestal sale una boquilla, N; también pasa otro tubo, x O, a través de la división y llega cerca del fondo del pedestal, a través del cual se llena el recipiente C B.
Si se cierra la boquilla, N, el aire que hay en C B pasa a través de los tubos G H, K L, y el agujero M; y cuando se llena C B, se llena A D, a través del agujero M, por el mismo agujero pasa el aire almacenado en él.
Ahora, si se abre la boquilla N, el aire almacenado dentro de la cubierta de vidrio pasa a través del tubo G H al espacio vacío que queda en C B, y sube el agua desde A D a través del tubo K L hasta el espacio vacío que queda en la cubierta, mientras que el aire entra al recipiente vacío A D a través de la abertura M, y esto sigue hasta que se llena la cubierta de vidrio: pero los espacios A D, C B, E F, deben tener igual capacidad para que el aire y el agua puedan pasar de uno a otro.
Cuando se agota C B y se interrumpe la continuidad del aire, el agua desciende nuevamente de la cubierta de vidrio A D, y el aire pasa a través de la boquilla N y el tubo G H.
El aire de A D pasa a través de la abertura M.
§54. Se lleva el agua de la boca de una bota de vino a las manos de un sátiro, mediante aire comprimido
Si se sopla a través de la boca de ciertas figuras, ellas expulsarán agua por otro lado.
Así, por ejemplo, si un sátiro sostiene una bota saldrá agua a través de la bota.
A B C D, es un pedestal hermético en el cual se coloca una figura y en la boca de la figura se inserta un tubo, E F, que comunica con el pedestal, y tiene debajo una pequeña placa, G H, que cierra la abertura F del tubo, y está soportada por pasadores fijados con broches, de modo que la placa no se cae.
Se pasa otro tubo, K L, a través del pedestal, del cual, el extremo,

En el extremo K hay una válvula o llave por lo cual se puede cerrar la abertura K, que es muy pequeña.
Si se vierte cualquier cantidad de agua en el pedestal a través de un orificio, que se debe cerrar después de parar, manteniendo cerrada la abertura K, se sopla a través del tubo, E F, el aire empuja la placa y desciende dentro del pedestal: y, si se repite esto varias veces, se comprime el aire del pedestal y cierra la placa.
Se deja abierta la válvula o llave, y después de un corto período de tiempo, el aire comprimido empuja con fuerza el líquido del pedestal a través de la abertura K, hasta que se expulsa todo el líquido, y el aire regresa a su estado natural, es decir, que no queda sujeto a compresión.
§55. De un recipiente fluye el agua que se vierte dentro de él, pero si se interrumpe el vaciado, el agua no sigue fluyendo, hasta que el recipiente se llene hasta la mitad, y si se vuelve a interrumpir el suministro, no fluirá más hasta que el recipiente no se llene completamente.
Hay algunos recipientes en los que, al verter agua en ellos, ésta fluye inmediatamente, pero, si se interrumpe el vaciado por un corto espacio de tiempo, no sigue fluyendo, aunque se vierta agua de nuevo, hasta que ellos estén llenos hasta la mitad, después de lo cual empieza a fluir el agua una vez más; y si se vuelve a interrumpir, no fluye más hasta que no se llene completamente.

En los extremos exteriores de los sifones, se colocan los recipientes, F, O, H, cuyos fondos están lo suficientemente alejados de los orificios de los sifones, como para dejar pasar el agua entre ellos; y se encierran en otro recipiente, a modo de pedestal, K L M N, que tiene una boquilla X.
Se dobla el sifón C cerca al fondo del recipiente A B; se dobla D, hasta la mitad de su altura, y E, cerca del cuello.
Si se vierte agua en el recipiente A B, fluye inmediatamente a través del sifón C puesto que está doblado cerca del fondo: pero, si se deja de verter agua, el líquido se vacía a través del tubo F, y el recipiente F se llena de agua, mientras que la otra parte del sifón C se llena de aire.
En consecuencia, cuando se vierte líquido en el recipiente, este no pasa a través del sifón C, debido al aire que hay en el sifón entra el agua que se vierte y el recipiente F.
Por lo tanto, el líquido sube hasta el doblez del sifón D, el cual se encuentra en la mitad del recipiente, y entonces empieza a fluir: pero, si se deja de verter agua de nuevo, sucede lo mismo que se explicó en el caso del sifón C.
Se puede esperar idéntico resultado con el sifón E.
Es necesario verter cuidadosamente el agua en el tubo, para que el aire del sifón no salga con fuerza.
§56. Una copa de vidrio, a la cual se pega un tubo de escape de aire
La construcción de una copa de vidrio que succiona sin ayuda del fuego.

Los extremos internos de ambos tubos son abiertos, pero el extremo exterior de H K, cerrado y provisto de una manija.
Bajo la división D E se coloca otro par de tubos deslizantes, N X, como los que se han descrito; pero con los correspondientes agujeros dentro de la copa de vidrio, y se deben adaptar con precisión al orificio de la división.
Cuando se completan estas particiones, se deben girar las manijas de los tubos deslizantes, de tal modo que los agujeros de los tubos inferiores queden en línea, mientras que aquellos que están debajo de la división no coincidan, quedando cerrados.
Ahora la cámara D C está llena de aire, aplicando la boca al orificio L M se puede absorber una porción de ese aire; y luego se gira de nuevo la manija, sin quitar los tubos de la boca, se puede mantener el aire del recipiente C D expandido; y esto se debe repetir hasta que se haya drenado una gran cantidad de aire.
Después, se pone el vidrio en contacto con la piel con normalidad, se abren los orificios de los tubos deslizantes N X mediante la manija; y un poco de aire del recipiente A D E pasa a ocupar el espacio del aire succionado en C D, mientras que dentro del vacío creado tanto la piel, como la materia que le rodee, es succionada a través de los intersticios de la piel que se llaman espacios invisibles o poros.
§57. Descripción de una jeringa
El instrumento llamado pyulcus actúa bajo el mismo principio.
Se fabrica un tubo hueco, de determinada longitud, A B; dentro de éste va otro tubo, CD, bien ajustado, en cuyo extremo C se asegura una placa o pistón, y en D hay una manija, E F.

Cuando se quiere succionar el pus se debe aplicar el extremo del orificio del tubo pequeño, H, a la parte en la que se encuentra la materia, y tirar hacia afuera el tubo C D mediante la manija.
Así se produce un vacío en A B que algo debe entrar para llenarlo, y como no hay otro paso a través de la boca del tubo pequeño, se necesita atravesarla con cualquier fluido que esté cerca.
De igual manera, cuando se desea inyectar cualquier líquido, se le coloca en el tubo A B, y, se sostiene E F, se presiona el tubo C D, y se fuerza a salir el líquido hasta que se considera que se ha efectuado la inyección.
§58. Un recipiente del cual puede detenerse el flujo de vino, vertiendo una pequeña cantidad de agua
Si se tiene un recipiente lleno de vino, provisto de una boquilla, cuando se vierte un cyathus, o pequeña porción de agua, por el cuello del recipiente, cesa la descarga de vino, pero, si se vierte una segunda porción de agua, esta última fluye con la anterior a través de dos boquillas diferentes; y, después de que se extrae el agua, sale el vino de la boquilla del centro: además, esto ocurre con la misma frecuencia con la que ente y salga un líquido.
A B, es un recipiente con una boquilla, C, en el fondo, y cerrado en el cuello por la división, D E, desde la cual se extiende un tubo, F G, rodeado por otro tubo, separado de la división de tal modo que permite el paso del agua, como en el caso del sifón encerrado que atraviesa otro sifón.

Ahora bien, si después de cerrar las boquillas, se vierte vino, éste pasa al cuerpo del recipiente a través del tubo F G, porque el aire escapa a través del orificio N: pero cuando se cierra el orificio y se destapan las boquillas, el líquido contenido en el tubo H K fluye a través de L y M, y el contenido en el recipiente, a través de C.
Sin embargo, si se vierte una pequeña cantidad de agua sobre la división, mientras que C sigue corriendo, el aire no puede entrar más a través de F G, y cesa la descarga a través de C: pero si se vierte una segunda porción de agua, toda el agua sube a través del tubo H K, y es llevada a través de las boquillas L y M; y luego al abrir al aire el tubo F G, el flujo a través de C seguirá como antes.
Este resultado se repite con la misma frecuencia con la que se viertan las porciones de agua.
§59. Un recipiente del cual se puede hacer fluir vino o agua, mezcladas o de forma separada
De un recipiente lleno de vino puro algunas veces sale vino; si se vierte agua en él, sale agua pura; luego, nuevamente sale vino puro; y, si se desea, cuando se vierta agua saldrá una mezcla.

En el tubo E F, dentro del recipiente y cerca del fondo en G, hay un pequeño agujero, y un orificio en H, debajo del cuello.
Si se cierra ahora la boquilla F, y se vierte vino, éste pasa al cuerpo del recipiente, escapando el aire a través de orificio H, pero si se tapa el orificio y se destapa la boquilla, no fluye nada, excepto lo que hay dentro del tubo E F.
Si se vierte agua en él, sale agua pura, y, cuando se destapa el orificio, sale una mezcla: si no se vierte más líquido, sale vino puro.
§60. Las libaciones vertidas sobre el altar, y la serpiente que silba, por la acción del fuego

Sea un pedestal hueco, A B, sobre el cual hay un altar, C, que contiene un tubo, D E, el cual desciende desde el horno del altar hasta el pedestal, y se ramifica en tres tubos, E F, que va hasta la boca de la serpiente; E G H, que va a un recipiente de vino K L, (el fondo del cual debe estar por encima de la figura M,) y asegurado a la tapa de K L, a modo de soporte; mientras que el otro tubo E N X, de igual manera, se extiende dentro de otro recipiente de vino O P, que también termina en otro soporte.
Ambos tubos deben ser soldados dentro del fondo de los recipientes, y cada recipiente de vino debe tener un sifón curvado, R S, y T U, un extremo de cada uno debe sumergirse en el vino, y las otras, (de las cuales se extienden las manos de las figuras que vierten las libaciones,) pasan, herméticamente, a través de los lados de los recipientes de vino.
Cuando está a punto de encender el fuego, se vierte un poco de agua en los tubos, para que no se enciendan por el calor seco, y se cierra todo para que no le pase aire.
El aire caliente que se mezcla con el agua, pasa a lo largo de los tubos del cruce horizontal, y los atraviesa y ejerce presión sobre el vino, y lo lleva a través de los sifones curvados R S y T U.
El vino sale a través de las manos de las figuras produciendo una libación mientras dure el fuego en el altar.
El otro tubo, lleva el aire caliente a la boca de la serpiente, haciendo que ésta silbe.
Capítulo 7
El agua que fluye de un sifón cesa al rodear el extremo de su brazo más largo con agua
- El agua que fluye de un sifón cesa al rodear el extremo de su brazo más largo con agua
- Un recipiente que emite un sonido cuando se vierte un licor en él
- Un reloj de agua (clepsidra), hecho para controlar la cantidad de líquido que fluye desde un recipiente
- Un cuerno para beber del cual se hacen fluir, a voluntad, una mezcla de vino y agua, o agua pura de forma alternada o simultáneamente
- Un recipiente del cual se pueden hacer fluir juntos o en forma separada vino y agua
- Vino vertido en una copa en cualquier cantidad requerida
- Un cáliz en el que entra tanto vino como el que sale
- Un santuario en el cual se puede hacer que un pájaro de vueltas y cante cuando los fieles hacen girar una rueda
- Un sifón fijado a un recipiente del cual cesará la descarga a voluntad
- Figuras que danzan mediante el fuego en un altar
§61. El agua que fluye de un sifón cesa al rodear el extremo de brazo más largo con agua
Hay un recipiente hermético provisto de una boquilla abierta, en cuyo extremo hay un tirso debajo del cual se encuentra un tazón lleno de agua: si se quita el tazón, mientras se mantenga retirado, fluye un pequeño chorro desde la boca; pero cuando se vuelve a poner el tazón, se interrumpe el chorro.
Sea A B, el recipiente descrito, teniendo cerrado su cuello por la división, CD; desde CD, y herméticamente sellado, se extiende un tubo, E F, alrededor del cual hay otro tubo, K L, formando un sifón encerrado.
Con K L se comunica otro tubo, M N, el cual tiene abierta la boca M, mientras que el brazo exterior se coloca en un tazón O X, en el que se vierte agua hasta llenarlo completamente; es evidente que el brazo del sifón se llena al mismo tiempo que se llena el tazón.
Se debe verter un poco de agua dentro del cuello del recipiente A B, la cantidad suficiente para evitar la entrada del aire; y cuando se llena A B, aunque esté abierta la boquilla P, no opera, puesto que el aire no puede entrar, debido al agua vertida en el cuello.

Esto sucede con la misma frecuencia con la que se quite el tazón y se vuelva a poner: sin embargo, es necesario que el tazón no se quede sin agua, porque el brazo del sifón no se podrá vaciar completamente.
Se construye el tubo M N a modo de tirso, siendo R N el bastón: así se tiene un espectáculo bien presentado.
§62. Un recipiente que emite un sonido cuando se vierte un licor en él
Esta es la construcción de un jarrón que emite un sonido cuando se vierte líquido en él.
Se toma un jarrón, tal como el que describe, cuyo cuello está cerrado por la lámina A B, y la boca por la lámina C D; y a través de estas dos divisiones, se inserta un tubo herméticamente cerrado, E F.

Se puede llenar el jarrón a través del tubo E F, el aire sale a través del tubo K L y el tubo M; y si se toma el asa del jarrón y se inclina como para verter el contenido, el agua sale del recipiente a través del tubo E F, y del cuello B C a través de K L: el aire almacenado en el cuello es forzado a salir a través de M dando un sonido continuo.
Debe haber otro orificio en A B, a través del cual pase el aire de nuevo cuando se enderece el recipiente.
§63. Un reloj de agua (clepsidra), hecho para controlar la cantidad de líquido que fluye desde un recipiente

A B, es el recipiente dentro del cual se vierte el vino: cerca del fondo hay una boquilla, D: el cuello está cerrado por una división E F, y se inserta un tubo, G H, a través de E F, que llega cerca al fondo del recipiente, dejando solamente paso al agua.
K L M N es el pedestal sobre el cual se encuentra el recipiente, y hay otro tubo, O X, que llega cerca de la división y se extiende al interior del pedestal en el cual se encuentra el agua que cubre el orificio O, del tubo.
Se fija una barra, P R, que tiene una mitad dentro del pedestal y la otra mitad por fuera de éste, moviéndose como los brazos de una palanca alrededor del punto S; y desde el extremo P de la varilla se suspende un reloj de agua, T, que tiene un agujero en el fondo.
Al cerrar en comienzo la boquilla D, se debe llenar el recipiente a través del tubo G H antes de que se vierta el agua dentro del pedestal, para que pueda escapar el aire a través del tubo X O: se vierte agua dentro del pedestal, a través de un orificio, hasta que se cierre el orificio O, y se destape la boquilla D.
Resulta evidente que no fluye el vino, puesto que no hay ninguna abertura a través de la cual se pueda introducir el aire: pero si se presiona el extremo R de la varilla, una parte del reloj de agua sale del agua, y, se destapa el orificio O, se mantiene el flujo por la boquilla D, hasta que el agua almacenada en el reloj de agua retroceda y cierre el orificio O.
Si se presiona el extremo N más a fondo, cuando el reloj de agua se llena de nuevo, el líquido almacenado en el reloj de agua tarda más tiempo en salir, y hay una descarga más larga desde D: y si el reloj de agua se levanta completamente por encima del agua, esta última descarga tarda demasiado tiempo.
Para no tener que presionar el extremo R de la varilla con la mano, se toma un peso Q, se desliza a lo largo del brazo externo de la varilla, R W, y si se coloca en R, puede levantar todo el reloj de agua; si se coloca a cierta distancia de R, sale una parte del reloj de agua.
Luego de determinar mediante ensayos las cantidades que se quiere que fluyan desde D, se deben hacer ranuras en la varilla R W y registrar las cantidades; de tal forma que, cuando se quiere que fluya cierta cantidad de líquido, solo se debe llevar el peso hasta la ranura correspondiente y se deja que se lleve a cabo la descarga.
§64. Un cuerno para beber del cual se hacen fluir, a voluntad, una mezcla de vino y agua, o agua pura de forma alternada o simultáneamente
La construcción de un cuerno para beber del cual fluye al principio una mezcla; cuando se quiera, se vierte agua, primero agua sola, y luego una mezcla.

Ahora, si se cierra el orificio F y se vierte la mezcla, pasa al cuerpo del recipiente a través del agujero G; y si se destapa F, la mezcla entra a través de él, el aire escapa por el orificio H.
Si ahora se cierra H y se vierte agua pura, la mezcla no sigue fluyendo porque el aire no tiene forma de entrar sino el agua pura; y, cuando se destapa H, fluye el agua y la mezcla, o más bien una mezcla de las dos.
§65. Un recipiente del cual se pueden hacer fluir juntos o en forma separada vino y agua

Sea el recipiente, A B, puesto de pie sobre un pedestal y provisto de una boquilla, C D, en la cual está el orificio C por encima del fondo del recipiente.
Se cierra el cuello del recipiente con la división E F, y se inserta el tubo G H, en E F, que sobresale ligeramente por encima de la división y se extiende hasta el fondo del recipiente dejando espacio suficiente para el paso del agua.
En el cuerpo del recipiente, y saliendo, hay otro tubo K L, debajo del cual se coloca un recipiente de vino sin mezcla, K M: en la división E F se perfora un pequeño agujero N.
Cuando se completen estos arreglos, se vierte agua en el recipiente a través del cuello, el líquido que cae dentro del tubo que sobresale permanece en el cuello; pero todo el que quede por encima de éste va al cuerpo del recipiente, y cuando alcanza el orificio C de la boquilla, hay una descarga de agua pura.
Cuando empieza a fluir un chorro de la boquilla, sale al mismo tiempo el vino sin mezcla del recipiente K M, sobre el principio del sifón, y se descarga una mezcla; y cuando se acaba el agua, fluye vino puro, excepto, de hecho, que el agua de la división, E F, sea absorbida al mismo tiempo.
Cuando la pequeña cantidad de agua de E F corre hasta N, el aire entra, rompe la continuidad y no sigue la descarga.
§66. Vino vertido en una copa en cualquier cantidad requerida

Sea A B el recipiente que contiene vino y C D la boquilla, en la cual la superficie superior C es tan pulida que cuando se coloca sobre ella una válvula E F, en forma de timbal, no deja pasar el agua.
Sobre el asa del recipiente se fija la barra vertical G H, sobre la cual, como un fulcro, oscila otra varilla K L: se coloca una varilla M N, por debajo del pedestal, moviéndose alrededor del punto X, y se fijan dos varillas más K O, L P, que se muevan sobre pivotes de modo que, si se presiona el extremo M de la barra, se levanta la válvula E F, y se abre la boquilla soltando un chorro, pero se cierra de nuevo cuando se suelta M y esta regresa a su punto inicial.
La barra M N soporta la copa para beber R, en la cual se quiere recibir una cantidad de líquido dada: se debe colocar la taza debajo de la boquilla.
Se cuelga un peso de un anillo, S, que se pueda desplazar a lo largo del saliente de la varilla, M O: y cuando se mueve S hacia M, se abre la boquilla y la copa envía el chorro, pero a medida que la copa se hace más pesada el peso se eleva de nuevo y se cierra la boquilla.
Así puede salir el vino en la cantidad que se requiera.
Se coloca en la copa cualquier medida de líquido, por ejemplo, una cotila, y, se recibe la que caiga de la boquilla en otro recipiente, se desplaza el peso a lo largo de la barra hasta el punto en el que cese la descarga por la boquilla: se hace una marca en la barra en este punto y anote una cotila.
Se debe proceder de igual manera para media cotila, y dos cotilas, y así sucesivamente para otras tantas medidas como se desee; y así se tienen marcas para diferentes cantidades, indicando los puntos en los que debe colocarse el peso para que se pueda descargar dicha cantidad.
En lugar de la válvula E F, se puede colocar un recipiente hermético alrededor de la boquilla, tal que, mientras se mantenga el líquido aislado por el aire dentro de él, no habrá descarga a través de la boquilla.
§67. Un cáliz en el que entra tanto vino como el que sale

Sea el recipiente de vino A B, y C D la boquilla a la cual se fija la válvula E F, y las varillas GH, KL, KO, LM como en el caso anterior; y debajo de la boquilla se coloca la copa P.
a la varilla K O se le fija un pequeño tazón R que va dentro del recipiente S T, y sea el tubo, U Q, conectado a los recipientes ST y P.
Si al completar estos arreglos, están vacíos los recipientes S T y P, el tazón cae al fondo de S T, y abre la boquilla C D.
Sale un chorro desde C D a los recipientes S T y P, por lo tanto, sube el tazón y dispara de nuevo el chorro, hasta que se retire más líquido de la copa.
Este resultado se repite con la misma frecuencia con la que se remueve el líquido de P.
§68. Un santuario en el cual se puede hacer que un pájaro de vueltas y cante cuando los fieles hacen girar una rueda
La construcción de un santuario provisto de una rueda giratoria de bronce, llamado purificador, en el cual se les enseña a los fieles a darle vueltas mientras entran.
Se requiere que al girar la rueda, una curruca capirotada produzca una nota, y el pájaro, parado sobre el santuario también de vueltas; mientras que, si se gira la rueda [en la dirección opuesta], la curruca capirotada cante sin dar vueltas.

Se fijan al eje otras dos ruedas, L y M, en el interior del santuario, de las cuales L tiene una polea, y M es una rueda con radios.
Alrededor de la polea se envuelve una cuerda de la cual se suspende un recipiente N, con forma de cacerola cónica, y provisto de un tubo X O, que termina en un pequeño tubo que produce la nota de una curruca capirotada: debajo del recipiente cónico N se debe colocar un recipiente de agua.
De la parte superior del santuario cae un pequeño eje S T capaz de girar libremente: en el extremo S se coloca una curruca capirotada, y en T, una rueda con radios, cuyos radios están engranados con los radios de la rueda M.
Se encuentra que, al hacer girar la rueda H K, la cuerda se enrolla alrededor de la polea y levanta el recipiente cónico N; pero si se suelta la rueda, N desciende en el agua por su propio peso y produce e sonido mediante la expulsión del aire.
La curruca capirotada gira al mismo tiempo debido al giro de las ruedas.
§69. Un sifón fijado a un recipiente del cual cesará la descarga a voluntad

Se requiere que cese repentinamente la descarga cuando se quiera.
A B, es un recipiente que contiene un sifón, C D E, cuyo brazo interior, C F G, está doblado hacia arriba.
Se fija una varilla vertical H K, sobre la cual trabaja otra como palanca, L M: desde L M se extiende otra varilla, M N, moviéndose sobre un pivote, y en el brazo N, está provisto de un recipiente lo suficientemente grande como para rodear la parte doblada del sifón F G.
Sobre la varilla L M se suspende un peso en L, de tal forma que el recipiente envolvente se levante por encima del brazo el sifón doblado hacia arriba, y fluya el sifón.
Cuando se quiera cesar la descarga, solo se tiene que quitar el peso en L, y baja el recipiente en N y rodea el brazo doblado G C, por lo cual deja de fluir el sifón.
Si se desea que continúe el chorro, se debe colgar el peso de nuevo.
§70. Figuras que danzan mediante el fuego en un altar
Cuando se enciende fuego en el altar, se ven danzar las figuras: los altares deben ser transparentes, bien sea de vidrio o bien sea de carey.
En el centro del altar, hay un tubo hacia abajo que gira sobre un pivote hacia la base del altar, y, por encima, un pequeño tubo que va unido al centro.

También se fija al tubo una plataforma sobre la que bailan las figuras que se paran en ellas.
Cuando se enciende el sacrificio, el aire caliente pasa a través del tubo, y es forzado a salir por los tubitos; ejerciendo la fuerza a los lados del altar, haciendo girar el tubo y las figuras danzantes.
Capítulo 8
Una lámpara en la que se puede subir el aceite mediante el agua almacenada en el pie de la lámpara
- Una lámpara en la que se puede subir el aceite mediante el agua almacenada en el pie de la lámpara
- Una lámpara en la que se puede subir el aceite soplando aire sobre ella
- Una lámpara en la que se puede subir el aceite con el agua tanto como se requiera
- Una máquina a vapor de la cual sale una ráfaga de aire caliente, o aire caliente mezclado con vapor dirigido al fuego, y de la cual fluye agua caliente al introducir agua fría
- Una máquina a vapor de la cual se puede dirigir hacia el fuego una ráfaga de calor que hace cantar a un mirlo, o a un tritón soplar un cuerno
- Un órgano hidráulico (hydraulis, hydraulus, hydraulos o hidraula) operado manualmente
- Un órgano hidráulico (hydraulis, hydraulus, hydraulos o hidraula) operado por la acción de un molino
- Un autómata, del cual la cabeza sigue unida al cuerpo, después de que un cuchillo entra por un lado del cuello, lo atraviesa completamente, y sale por el otro lado; el animal beberá después de la operación
La construcción de una lámpara de pie, tal que, si se coloca la lámpara sobre dicho pie, cada vez que se acaba el aceite, se vacía dentro de la manija la cantidad requerida, aunque no se coloque ningún recipiente sobre la lámpara del cual pueda verter aceite dentro de ella.
La lámpara de pie se construye con un pedestal triangular, en forma de pirámide hueca, A B C D, y provista de una división E F.
Sea G H la columna de la lámpara, que también debe ser hueca, y sobre esta columna se coloca un tazón hueco, K L, capaz de almacenar una cantidad considerable de aceite.
Se debe pasar bien ajustado un tubo, M N, por la división, E F, y extenderlo hacia arriba, dejando paso para el aire entre su extremo y la cubierta de la tapa, K L, sobre la que se coloca la lámpara.

Se suelda a P otro tubo, extremadamente fino, que se comunica con él, y llega hasta el extremo del asa, de modo que pase dentro del cuerpo de la lámpara; este tubo debe tener un orificio como los otros.
Bajo la división E F se suelda una llave que conduce a la cámara C D E F, de modo que cuando se abre dicha llave, el agua de la cámara A B E F pasa a C D E F.
En la placa A B se perfora un agujero a través del cual se puede llenar con agua A B E F; el [aire] almacenado en ella sale por el mismo agujero.
Ahora se retira la lámpara y se llena el tazón con aceite, a través del tubo X Q, el aire escapa a través de M N, y a través de un grifo abierto en el fondo C D, cuando haya salido un poco de agua C D E F.
La lámpara se coloca en la parte superior mediante el tubo deslizante P, cuando se necesita verter aceite dentro de ella, se debe abrir la llave de la placa E F, y el agua pasa de la cámara A B E F a la cámara C D E F, el aire almacenado dentro de C D E F llega al tazón a través del tubo M N, y fuerza a salir al aceite almacenado en ella: el aceite pasa al interior de la lámpara a través del tubo X Q y el tubo unido a él.
Cuando se quiere que el aceite deje de correr, se debe cerrar la llave y cesa la descarga.
Se puede repetir este proceso cada vez que sea necesario.
§72. Una lámpara en la que se puede subir el aceite soplando aire sobre ella

Sea el resto del montaje igual que el anterior, a excepción del pedestal y el agua dentro de él; el extremo M del tubo M N, se ajusta herméticamente dentro de un agujero en la superficie de la columna, de modo que se puede ver desde afuera.
Si se acerca la boca y se sopla dentro del orificio exterior; el soplo pasa al interior del tazón y fuerza a salir el aceite a través del tubo X O.
Así que sucede lo mismo que en el caso anterior; con la misma frecuencia que se sopla el tubo, sube el aceite a la lámpara.
Es necesario que el extremo del asa esté doblado en ángulos rectos hacia el orificio de la lámpara, para que el aceite no sea lanzado hacia afuera.
§73. Una lámpara en la que se puede subir el aceite con el agua tanto como se requiera
La construcción de una lámpara
Por debajo de la lámpara se coloca un recipiente herméticamente cerrado, A B, bien sea unido a la lámpara de otra forma diferente.
Desde éste se extienden dos tubos, C D, E F, que se comunican con el recipiente; el extremo C debe llegar hasta el fondo dejando un espacio para dar paso al agua y el tubo C D hasta la superficie de la lámpara, teniendo el extremo D una pequeña copa a través de la cual se vierte el agua dentro: el tubo E F debe pasar herméticamente, a través del fondo de la lámpara.

A medida que arde la lámpara se va vaciando, y si se vierte agua a través de la copa, pasa al recipiente A B, y el aceite asciende y llena el aceite faltante en la lámpara, hasta que alcance la boquilla de ésta.
Cuando el aceite haya vuelto a bajar, se debe hacer lo mismo, repitiendo el procedimiento hasta que se acabe la reserva.
Si hay que quitar el recipiente A B, el aceite se conserva en la lámpara, debe haber una válvula o llave en los tubos C D, E F, cerca del recipiente A B, con llaves cerca de la lámpara, de modo que cuando se giren las llaves, el aceite quede almacenado en la lámpara y en los tubos.
Así que se puede remover el recipiente de la lámpara, y, cada vez que se desee, pueden unirse de nuevo y abrir las llaves.
Es mejor que el tubo E F se lleve al asa de la lámpara, y C D ligeramente detrás de él, comunicando la tasa con él, y a través de éste se puede verter el agua dentro, colocado por encima; así fluye el aceite desde el asa al mismo tiempo que se vierte el agua en el tazón.
§74. Una máquina a vapor de la cual sale una ráfaga de aire caliente, o aire caliente mezclado con vapor dirigido al fuego, y de la cual fluye agua caliente al introducir agua fría
La construcción de un hervidor, en el cual se coloca una figura, en actitud de soplar, la figura sopla sobre las brasas y así se calienta el hervidor: además, si sobresale ligeramente una boquilla abierta cerca de la boca del hervidor, no fluye nada desde ésta hasta que se vierta agua fría en una copa; y el agua fría solo se mezcla con la caliente cuando pasa al fondo del recipiente, mientras que sale agua extremadamente caliente de la boquilla.
La forma del hervidor se determina a voluntad, en esa parte se prevé almacenar el agua en una pequeña cámara hermética, se retiene entre dos divisiones perpendiculares.

Así cuando se encienden los carbones ellos generan vapor a través del tubo que conduce al interior de la cámara.
Este vapor se lleva a lo largo del tubo que está perforado en la superficie del hervidor, y atraviesa la boca de la figura sobre las brasas, (la figura debe estar doblada dando la impresión de estar soplando hacia abajo;) y como siempre se genera vapor, la figura siempre está soplando.
El vapor se genera en el fuego, y si se vierte un poco de agua dentro de la pequeña cámara, se produce más vapor, y la figura sopla con más violencia, y el hervidor se calienta mucho más: tal como en el caso de los pebeteros expuestos al fuego, se ve ascender el humo desde el agua.
La figura se debe mover mediante un doble tubo deslizante, para permitir verter un poco de agua: y al mismo tiempo, por medio de este tubo, cuando no se necesite que la figura sople las brasas, se puede girar en dirección opuesta.
Sobre la superficie se coloca una pequeña copa de la cual sale un tubo hasta el fondo del hervidor, que cuando se vierte agua fría en ella, pasa a través de él hasta el fondo.
Para que se pueda llenar el hervidor cuando se vierta agua en él, sin que el agua hierva y salga, se coloca otro tubo que se comunica con la copa en su interior, para que no quede a la vista.
A continuación se explica la construcción del hervidor.
Sea un cilindro hueco, del cual A B es la superficie inferior, y C D es la superior; y se construye otro cilindro hueco, con el mismo eje del primero, del cual E F es la superficie inferior, y G H la superior.
Se aseguran unas placas externas sobre el borde de los cilindros, para mantener los cilindros en posición y cubrir los bordes.
En el cilindro E F G H se colocan los tubos, O K, L X, M N, de los cuales L X perfora el cilindro en un solo lado en X, mientras que los otros dos se perforan completamente en ambos extremos, y cualquiera de sus orificios son un camino abierto entre los cilindros.
Dentro del espacio encerrado entre los dos cilindros bajan las particiones B G, H F, encerrando la cámara G H E F, dentro de la cual, penetra el tubo descrito antes, perforado en un solo lado.
Se coloca sobre la superficie, es decir sobre G H, un pequeño tubo que se une a la figura, y se comunica con ella; la figura se perfora a lo largo, y se inclina hacia abajo para que parezca mirar hacia las brasas.
Esta figura puede dejar de soplar cuando se quiera, el tubo sobre el cual se posa está bien ajustado dentro del otro, de modo que cuando se le da vuelta en dirección opuesta, la figura no sopla más sobre las brasas sino que se aleja del hervidor.
También resulta útil este tubo deslizante para verter agua en la cámara G F B H, para que luego de levantar la figura del tubo sobre el que se coloca, se pueda verter agua a través de éste, así pasa más vapor a través de la figura.
Sobre la superficie H C se coloca una copa R S; que comunica con el interior, y tiene un tubo cuyo extremo llega hasta el fondo de la copa exceptuando un paso para el agua.
Cuando se quiera que salga agua caliente, se debe verter agua fría a través de R S; esta pasa a través del tubo que comunica con la copa al interior de la cámara del agua tibia, la cual sube y fluye a través de la boquilla cerca del cuello, porque el agua fría que se ha introducido todavía no se ha mezclado con el agua tibia de abajo.
Con la misma frecuencia que repita se obtiene agua tibia debido al agua tibia que se lanza dentro.
Para saber cuándo empieza a burbujear el hervidor, se usa el chasmatium, perforado a lo largo de él, y puesto sobre el cuello, tiene un orificio hecho sobre la cubierta: se adorna con un pequeño tubo que parece mirar hacia la copa R S, de modo que, cuando sube el agua tibia, esta se puede llevar al interior de la copa.
Así se construye el hervidor.
Si no se quiere cortar la cámara F G E H a lo largo de ella, sino solo una parte de la misma, se hacen las divisiones para que alcancen la mitad del trayecto, y se coloca otra división sobre ellas, dejando entrar un tubo que se extienda hasta la figura.
Cuando se enciende el fuego sale una ráfaga de vapor de la pequeña cámara, dentro de la cual se vierte el agua como se hizo antes.
§75. Una máquina a vapor de la cual se puede dirigir hacia el fuego una ráfaga de calor que hace cantar a un mirlo, o a un tritón soplar un cuerno

Se hace un hervidor, de la misma forma que el anterior, en el cual se encuentran perforados todos los tubos de la base, a través de cada extremo, y cerca de la superficie hay un tubo Q E, dentro del cual se coloca otro tubo bien ajustado, K L, que se extiende hasta el interior de la cámara de aire tibio, y se mueve alrededor de un pasador en la superficie K L.
Este tubo tiene tres perforaciones, M, N, X, y de igual forma se perforan tres orificios en Q E opuestos a los agujeros M, N, X.
Cerca de X, se hace una abertura en un soporte que recibe un tubo que se ajusta firmemente a X y se le sobrepone una figura, como se describió en el último párrafo: y desde M y N se extienden dos tubos, M O, N P, doblados en su extremo superior; estos tubos penetran a través de la superficie del hervidor, dentro del cual se sueldan cuidadosamente.
Pasan a través de las aberturas de otros tubos, bien ajustados dentro de los tubos P y O.
Sobre uno de estos tubos se coloca la figura de un gorrión hueco, que por lo tanto puede recibir el agua: el tubo sobre el que se posa el ave está doblado, y provisto de un afinador, tal como el que se hace para producir notas, y la parte curvada pasa tan lejos del agua almacenada en el gorrión, de modo que, cuando el sonido del afinador alcanza el agua, se produce la nota de un gorrión.
De igual manera el tubo N P tiene otro tubo bien ajustado a él, sobre el cual se coloca una figura que tiene forma de tritón con una trompeta en su boca: el tubo sobre el que se coloca el tritón está dotado de una boquilla y una campana normal, y cuando el vapor los alcanza y entra en ellos produce el sonido de una trompeta.
Se debe encontrar mediante ensayos cuando están los agujeros de K L opuestos a los tubos M O y N P, y cuando lo están para X sobre el que se ha colocado la figura.
Habiendo memorizado esto, se debe realizar las respectivas marcas en el pasador K L, para que pueda sonar la trompeta, o sople la figura, o se produzca la nota del gorrión, a nuestro gusto.
Los arreglos de la taza y la subida del agua tibia se realizan de acuerdo a la descripción previa.
§76. Un órgano hidráulico (hydraulis, hydraulus,hydraulosohidraula) operado manualmente
La construcción de un órgano hidráulico.
Sea A B C D, un pequeño altar de bronce que contiene agua.
En el agua hay un hemisferio hueco invertido, llamado pnigeus, E F G H, el cual permite el paso del agua hacia el fondo.
Desde la parte superior de éste suben dos tubos hasta el altar; uno de ellos, G K L M, doblado por fuera del altar y comunicándose con una caja invertida, N X O P, cuya superficie se nivela completamente para permitir la entrada de un pistón.
Dentro de esta caja entra con tal precisión el pistón R S, que no puede entrar aire por ningún lado; y se fija una varilla muy fuerte, T U, al pistón.

Ahora, se pega a la varilla del pistón otra varilla, U Q, que se mueve alrededor del pasador U, y también trabaja como la barra de una palanca sobre la varilla vertical W Y, que debe estar bien asegurada.
Sobre el fondo de la caja invertida N X O P descansa otra caja pequeña, Z, que se comunica con N X O P y está cerrada por encima por una tapa: en la tapa hay un agujero a través del cual entra el aire a la caja.
Se coloca una placa delgada debajo del agujero de la tapa para cerrarla, se sostiene mediante cuatro pasadores a través de los orificios de la placa, y se dota de cabezas de modo que la placa no se desprenda: a esta placa se le llama válvula.
Ahora, se tiene otro tubo, F I, que asciende desde F G, comunica con un tubo transversal, A' B', sobre el cual descansan los tubos A, A, A, que se comunican con el tubo, y tienen en sus extremos inferiores pequeñas cajas, como las que se emplean para guardar el dinero; estas cajas se comunican con los tubos, y sus orificios B, B, B, deben estar abiertos.
A través de estos orificios se perforan tapas deslizantes, tales que, cuando se empujan las tapas a su posición normal, los agujeros coinciden con los orificios de los tubos, pero cuando se levantan las tapas, se rompe la conexión y se cierran los tubos.
Ahora, si se presiona la barra transversal U Q en Q, se levanta el pistón R S y fuerza a salir el aire de la caja N X O P; el aire cierra la abertura en la pequeña caja Z por medio de la válvula descrita anteriormente, y pasa al interior del hemisferio por el tubo M L K G: sale de nuevo del hemisferio hacia el tubo transversal A' B', por el tubo F I, y sale del tubo transversal hacia los tubos del órgano, si las aberturas de los tubos coinciden con los orificios de las tapas, es decir, todas o algunas de ellas, regresan a su posición normal.
Cuando se quiera que suene cualquiera de los tubos, se deben abrir los orificios correspondientes, y se deben cerrar de nuevo cuando se desee que cese el sonido, para ello se debe emplear el siguiente artilugio.
Imagine que se aísla una de las cajas en los extremos de los tubos, C D, siendo D su orificio, E el tubo comunicante, R S la tapa bien ajustada, y G el agujero de la tapa que no coincide con el tubo E.
Se tienen tres barras articuladas F H, H M, M M2, de las cuales se conecta la barra F H a la tapa S F, mientras que el conjunto se mueve alrededor del pasador M3.
Ahora, si se presiona con la mano el extremo M2 hacia D el orificio de la caja, se empuja la tapa hacia adentro, y cuando esté dentro, su abertura coincide con la del tubo.
Es decir, que cuando se quite la mano, para que la tapa salga naturalmente y cierre la comunicación, se pueden emplear los siguientes medios.
Por debajo de las cajas hay una varilla, M4 M5, que se mantiene igual y paralela al tubo A' B', y se fija a estas bocinas deslizantes, elásticas y curvadas, de la cual cae M6 en sentido opuesto a C D.
Se envuelve al extremo H, un cordel atado al extremo de la bocina deslizante, de modo que, cuando se levanta la tapa, la cuerda se tensa; si se presiona ahora el extremo M2 y se lleva la tapa hacia adelante, el cordel tira con fuerza la pieza de la bocina y la pone en su lugar, pero, cuando se quita la mano, la bocina regresa a la posición original y aleja la tapa del orificio, de modo que anula la correspondencia entre los agujeros.
Este mecanismo se aplica a la caja de cada bocina, cuando se quiere que suene cualquiera de las bocinas se debe presionar la tecla correspondiente con los dedos y cuando se quiere que cese el sonido, se retiran los dedos, con lo cual se mueven las tapas y cesa el sonido.
El agua se vierte en el altar en el que abunda el aire, (es decir, por supuesto, el que se empuja fuera de la caja y obliga a salir el agua hacia arriba,) se puede confinar en el hemisferio, de modo que siempre se puede suministrar a los tubos que no estén sonando.
Cuando se levanta el pistón R S, lleva el aire de la caja al interior del hemisferio, como se ha explicado; y cuando se presiona, abre la válvula de la caja pequeña Z.
De esta forma se llena la caja de aire desde afuera, con lo cual al forzar al pistón a subir de nuevo lo lleva nuevamente al hemisferio.
Además, es mejor que la varilla T U se mueva sobre un pivote en T, mediante un solo [bucle,], que se puede ajustar al fondo del pistón, y a través del cual debe pasar el pivote, es decir, que el pistón no se puede mover a los lados, sino que sube y baja verticalmente.
§77. Un órgano hidráulico (hydraulis, hydraulus,hydraulosohidraula) operado por la acción de un molino
La construcción de un órgano desde el cual, cuando sopla el viento, se produce el sonido de una flauta.

Dentro de esta caja se ajusta el pistón K L, el cual puede descender libremente dentro de ella.
Se conecta al pistón la varilla, M N, y esta se conecta a otra varilla, N X, que actúa sobre la varilla P R.
En N hay un pasador que se mueve sin esfuerzo, y se asegura al extremo X una pequeña placa, X O, cerca de la cual se coloca una varilla, S, que se mueve sobre pivotes de hierro colocados en un marco que se puede desplazar.
La varilla S está unida a dos pequeñas ruedas, U y Q, de las cuales U está dotada con varillas colocadas cerca de la placa X O, y Q con brazos anchos como las aspas de un molino de viento.
Cuando estos brazos son movidos por el viento, hacen girar la rueda Q, girando la varilla S, por lo tanto la rueda U y las varillas pegadas a ella golpean la placa X O a intervalos y suben el pistón; cuando la varilla retrocede, el pistón desciende, forzando la salida del aire de la caja G H dentro de los tubos y las bocinas, y produce el sonido.
Siempre se puede mover el marco que contiene la varilla S hacia donde predomine el viento, para que el giro sea más rápido y uniforme.
§78. Un autómata, del cual la cabeza sigue unida al cuerpo, después de que un cuchillo entra por un lado del cuello, lo atraviesa completamente, y sale por el otro lado; el animal beberá después de la operación
Se hace beber a un animal mientras es partido en dos.

Entre los tubos pasa un cilindro un martinete cilíndrico, E F, al cual se pegan dos barras dentadas, G y H.
Sobre G hay un sector de rueda dentada, K, y, de igual manera, debajo de H un sector de rueda dentada, L.
Sobre este montaje hay una rueda, M, cuyo borde interior es más grueso que el borde exterior; se cortan tres círculos M, N y X en secciones esta rueda, de modo que el intervalo entre dos tabiques consecutivos puede ser igual al radio de la rueca.
De igual manera el borde o corte está dividido por los círculos, de modo que la circunferencia de la rueda no es un círculo.
Haciendo una incisión, O P, en la parte superior del cuello, y corta la cabeza por la incisión, una cavidad circular más ancha abajo que arriba, como si fuera un tubo hembra en forma de eje, que contiene dos lados del hexágono inscrito en el círculo.
Sea la cavidad R S, en la cual gira todo el aro M N X, de tal forma que antes que desaparezca un tabique, le suceda el siguiente, y de forma similar ocurra con el tercero: de modo que, si se inserta un pasador a través de la rueda, ésta gira, y la cabeza del animal se adhiere al cuello.
Si se pasa ahora un cuchillo a través de la incisión O P, pasa a través de una de las fisuras de la rueda M, y se encierra en la cavidad circular; y, al descender a la parte más baja, toca el diente saliente de la parte K de la rueda, el cual es forzado a bajar, casando sus dientes dentro de los de la barra G, y al retroceder ésta saca el cilindro del tubo A B.

Al pasar el cuchillo a través del espacio intermedio, desciende y cae sobre el diente que sobresale de la parte L de la rueda; y este es forzado a bajar, y encaja sus dientes en la barra dentada H, saca el cilindro C D y lo entra en A B.
Este cilindro es un tubo interior que entra en dos tubos, es decir, específicamente, dentro de la boca del animal, y que llega a la incisión en el casco.
Cuando el cuchillo pase completamente a través del cuello, y el tubo E F toque tanto a A B como a C D, se le ofrece agua al animal, y gira un par de tubos deslizantes, ubicados por debajo del cuidador de caballos.
Cuando el cuidador da la vuelta, el agua baja a lo largo del tubo C D E F A B, y la corriente de aire que produce por el chorro de agua lleva el agua ofrecida a la boca del animal.
Por supuesto, los tubos deslizantes se colocan de modo que, cuando el cuidador de caballos da la vuelta, los huecos coinciden.
Se puede lograr el mismo resultado sin la ayuda de un chorro de agua de la siguiente forma.
Se toma una vez más un pedestal herméticamente cerrado, A B C D, que tenga una división en el medio, E F.
Sea el tubo, G H K, que va desde la boca del animal al interior del pedestal, y otro tubo, L M N, que pasa a través de la superficie A D y la división de E F.
En el tubo, L M N, se perfora un orificio, X, por encima de la división E F, y otro tubo, O P, que encaje bien, que tenga un agujero, R, correspondiente con el agujero X.
Se pega a un tubo O P la figura de Pan, o cualquier otra figura de apariencia cruel, y, cuando la figura se voltea hacia el animal, no bebe, mientras el animal esté asustado; cuando la figura se voltee, beberá.
Si se vierte agua en el compartimiento A D E F a través del orificio, G', el cual se cierra luego con cera o alguna otra sustancia, se encuentra que, cuando coinciden los agujeros R y X, el agua que se vierta dentro pasa al compartimiento E B C F.
Mientras que A D E F se vacía, succiona el aire a través de la boca de la figura, la cual beberá cuando se le presente un tazón.
F I N
Notas:

“La mayoría de los vasos cinerarios en el Museo Británico, se encontró en puestos de ventas callejeras en Roma, y contenían huesos y huesos en ceniza, esta es, probablemente, la producción de extensos trabajos Egipcios o Romanos: son grandes, de excelente forma y calidad: pero en cierto modo el Vidrio es impuro, de tinte verdoso, tiene numerosas burbujas y estrías, y no tiene ninguna diferencia en calidad con la corona moderna común y corriente o las láminas de vidrio.
“Hemos mencionado a propósito el descubrimiento del Vidrio en Pompeya. Se han encontrado recipientes de vidrio entre las ruinas de Herculano: y parece que el Vidrio se usó para iluminar las viviendas de Pompeya.
“Mr. Auldjo, de la casa Noel, Kensington, quien vivió muchos años en Nápoles, manifiesta que ha visto vidrio en los marcos de las ventanas de algunas casas de Pompeya.
“Mr. Roach Smith tiene una muestra de Vidrio plano tal como cree que fue usado por los Romanos, o sus predecesores para las ventanas.- Curiosidades de la fabricación del Vidrio editado por Apsley Pallat, Londres, 1849.
Mr. Layard en su interesante trabajo Nínive, 1849, Londres, en el Vol.1, página 342, dice: “tomé el instrumento, y, trabajé cuidadosamente, fui recompensado por el descubrimiento de dos vasos pequeños, uno en alabastro (mármol), el otro en vidrio (ambos bien conservados) de forma elegante, y trabajo admirable. Cada uno tiene grabado el nombre y el título del Rey de Khorsabad, escrito de formas diferentes, como en las inscripciones de Khorsabad.”