La Revolución Inglesa
George M. Trevelyan
¿Por qué los historiadores consideran importante la Revolución de 1688? ¿Merece, en realidad, el titulo de «gloriosa», que fue durante mucho tiempo su epíteto distintivo? Quizá hubiera sido más apropiado llamarla «la Revolución Sensata», lo cual la distinguiría más claramente de otras revoluciones.Pero, en la medida en que fue verdaderamente gloriosa, ¿en qué consiste su «gloria»? No es, desde luego, una gloria de tipo napoleónico, ni hay que buscarla en el brillo de sus acontecimientos, lo dramático de sus escenas o el heroísmo de sus actores, aunque estas cosas también exciten la imaginación y calienten la sangre. Los siete obispos dirigiéndose a la Torre de Londres a través de la muchedumbre arrodillada; la escuadra de Guillermo entrando en Torbay a impulsos del viento protestante; la huída de Jacobo II, siguiendo a Francia a su mujer y a su hijo, para no retornar jamás ninguno de ellos, todas éstas son, indudablemente, escenas románticas que perduran en el recuerdo, como lo son también los sucesos más sangrientos que tuvieron lugar en Escocia e Irlanda: el paso estruendoso de Killiecrankie, la vigilancia insomne ante las murallas de Londonderry, las aguas del Boyne erizadas de mosquetes y picas… Pero todo eso no significa, como la toma de la Bastilla o el Imperio de Napoleón, el nacimiento de tiempos nuevos o el advenimiento de una nueva era de terror. Son sólo variaciones briosas sobre temas inventados cuarenta años antes por una generación más heroica, más creadora y más imprudente.
Los siete obispos a quienes persiguió Jacobo II eran hombres más dóciles y más conservadores que los cinco miembros del Parlamento a quienes intentó detener Carlos I; pero el segundo de estos sucesos parece una repetición del primero: en ambos casos el rey atacó temerariamente a jefes populares que estaban protegidos por la ley y por la opinión pública de la capital, y en ambos casos se siguió rápidamente la caída del rey. Los dos sucesos difieren, indudablemente, en otras muchas cosas; en el segundo no hubo guerra civil, porque en 1688 hasta los «caballeros» (llamados entonces tories) estuvieron contra el rey. Pero los hombres de la Revolución, Jacobo y Guillermo, Danby, Halifax, Sancroft, Dundee, manipulaban fuerzas, partidos e ideas que por primera vez habían sido conjurados en los días de Laud, Strafford, Pym, Hampden, Hyde, Cromwell, Ruperto, Milton y Monrose. En la segunda Revolución no hubo ideas nuevas, pues aún la idea misma de tolerancia ya había sido vivamente discutida en torno a los vivaques de los campamentos de Cromwell. Sin embargo, en 1688 la agrupación de los viejos partidos era muy diferente y se ofrecieron nuevas y más felices posibilidades a las soluciones antiguas en Inglaterra, aunque no en Irlanda, a base de compromisos, acuerdos y mutuas tolerancias. Una época heroica suscita problemas, pero le toca resolverlos a una época sensata. Los «cabezas redondas»[1] y los «caballeros»,[2] llenos de esperanza, habían roturado el suelo; pero la cosecha la recogieron muy juiciosamente los whigs y los tories.
Cierto grado de desilusión ayuda a los hombres a ser prudentes, y en 1688 los hombres estaban doblemente desilusionados, primero por el gobierno de los «Santos» bajo Cromwell, y después por el gobierno del «Ungido por el Señor», bajo Jacobo. Pero, sobre todo, aleccionados por la experiencia, los hombres huían de otra guerra civil. El niño que se ha quemado una vez, huye del fuego. El mérito de esta Revolución no consiste en la gritería y los tumultos, sino en la tranquila y suave voz de la prudencia que prevaleció en medio del estrépito.
La verdadera «gloria» de la Revolución estriba no en el mínimo de violencia que necesitó para triunfar, sino en el medio para evitar toda violencia que el Ordenamiento de la Revolución[3] descubrió para las futuras generaciones inglesas. No hay nada de especialmente glorioso en la victoria que nuestros antepasados obtuvieron, con ayuda de armas extranjeras, sobre un rey mal aconsejado que quiso imponer a la fuerza, contra la opinión de las nueve décimas partes de sus súbditos ingleses, su particular voluntad en el terreno del derecho, de la política y de la religión. Haber sido vencidos contando con tantas ventajas, constituiría en verdad una ignominia nacional. La «gloria» de aquella breve e incruenta campaña corresponde a Guillermo, que concibió sagaces y complicados planes y corrió grandes riesgos para llevarlos a efecto hasta el fin, más bien que a los ingleses, que sólo tuvieron que aclamarlo con suficiente unanimidad cuando él y sus tropas hubieron desembarcado en la isla. Pero es una verdadera gloria de Inglaterra el hecho de que el destronamiento de Jacobo no fuera acompañado de derramamiento de sangre inglesa en el campo de batalla ni en el cadalso. Los instintos políticos de nuestro pueblo se acusan al evitar una segunda guerra civil, no obstante que concurrían todas las circunstancias para que se produjese. Nuestro enemigo Luis XIV de Francia esperaba confiadamente que otro largo período de confusión y luchas sobrevendría en nuestra revoltosa isla si Guillermo llegaba a desembarcar en ella; si hubiera pensado de otro modo, habría amenazado las fronteras de Holanda para impedir que su rival pudiera hacerse a la vela.
Pero el Parlamento de Convención[4] de febrero de 1689, al unir a toda Inglaterra frustró los planes de Francia. Mediante un sabio compromiso, evitó para siempre las contiendas sangrientas entre «cabezas redondas» y «caballeros», entre anglicanos y puritanos, que por primera vez habían estallado en Edgehill y Naseby y que sólo cuatro años antes se habían repetido en Sedgemoor. Whigs y tories, habiéndose levantado juntos en rebelión contra Jacobo, aprovecharon el fugaz momento de su unión para establecer una forma a la vez antigua y nueva de gobierno, que en la historia se conoce con el nombre de Ordenamiento de la Revolución. Bajo este Ordenamiento, Inglaterra ha vivido en paz consigo misma hasta el presente. Tanto en los asuntos de la iglesia como en los del estado, el Ordenamiento de la Revolución ha demostrado poseer la calidad de la permanencia. Se mantuvo casi inalterado hasta la época de la Ley de Reforma de 1832, y a través de las sucesivas etapas de rápidos cambios que se sucedieron, sus cimientos siguieron soportando el peso de la vasta superestructura democrática que los siglos XIX y XX levantaron sobre ellos. En esto, visto en amplia perspectiva, consiste la «gloria», capaz de brillar ininterrumpidamente durante doscientos cincuenta años. No es, ciertamente, la voraz, rápida y destructora llamarada de la gloire.
La expulsión de Jacobo fue un acto revolucionario; y, sin embargo, el espíritu de esta extraña Revolución era opuesto a todo intento revolucionario. No quiso destruir las leyes, sino confirmarlas contra un rey que las vulneraba. No quiso obligar al pueblo a someterse a un patrón en lo político y lo religioso, sino darle la libertad bajo la ley y por la ley. Fue al mismo tiempo liberal y conservadora; la mayor parte de las revoluciones no son una cosa ni otra, sino que primero destruyen la ley y después imponen un modo único de pensar. En nuestra Revolución los dos grandes partidos, así en la iglesia como en el estado, se unieron para defender las leyes y la tierra misma de la destrucción con que las amenazaba Jacobo; habiendo procedido así, y habiendo de ese modo llegado a ser solidariamente dueños de la situación en febrero de 1689, ni el partido whig ni el partido tory estaban dispuestos a permitir que sus afiliados estuviesen por más tiempo sujetos a persecuciones, ya procedieran del poder real o del otro partido. En tales condiciones, la nota dominante del Ordenamiento de la Revolución fue la libertad personal bajo la ley, lo mismo en religión que en política. La más conservadora de las revoluciones que ofrece la historia fue también la más liberal. Si Jacobo hubiera sido destronado por los whigs solos o por los tories solos, el arreglo que siguió a su caída no hubiera sido ni tan liberal ni tan duradero. [5]
En los dominios del pensamiento y de las creencias religiosas, la libertad individual quedó asegurada al abandonar la idea hasta entonces acariciada de que todos los súbditos del estado debían ser también miembros de la iglesia del estado. La Ley de Tolerancia de 1689 concedió la libertad religiosa, aunque no la completa igualdad política, a los disidentes protestantes; y era tan fuerte el amplio y tolerante espíritu de la época recogido por la Revolución, que esos privilegios se extendieron en seguida en la práctica, aunque no en la ley, a los católicos romanos, contra quienes la Revolución, en uno de sus aspectos, se había dirigido.
Con igual espíritu, la libertad política individual quedó asegurada por la abolición de la censura (1695), por la más benigna y menos parcial administración de justicia política y por el equilibrio de poder entre los partidos whig y tory, bajo cuyas banderas rivales casi todos los individuos encontraban en cierto modo protección. Por estos caminos, la idea característicamente inglesa de la libertad de opinión y la garantía de los derechos individuales fueron enormemente reforzadas por el carácter peculiar de esta Revolución.
Jacobo había tratado de poner al rey por encima del Parlamento y de la ley. La Revolución, aunque consideraba al rey como fuente de la autoridad ejecutiva, lo sometió a la ley, que en adelante iba a ser interpretada por jueces independientes e inamovibles y sólo podría ser cambiada por decisión del Parlamento. Al mismo tiempo, por la Ley de Sedición, renovada anualmente, que hizo al ejército dependiente del Parlamento, y por la negativa a conceder a Guillermo subsidios vitalicios, como habían sido concedidos a Carlos y Jacobo II, la Cámara de los Comunes obtenía el poder de discutir y negociar con el gobierno, que la hizo aún más importante que la Cámara de los Lores. Verdaderamente, a partir de la Revolución, los Comunes fueron adquiriendo gradualmente el control aun sobre el poder ejecutivo del rey mediante el sistema de Gabinete que se desarrolló paso a paso bajo Guillermo, Ana y los dos primeros Jorges. Todo esto no fue previsto por los hombres de 1689, cuya intención era sólo someter el poder real a los límites de la ley según la interpretaban los juristas del Parlamento. Pero la Constitución hanoveriana de Walpole y los Pitts procedió directamente del Ordenamiento de la Revolución por la lógica de la experiencia.
La Revolución ha sido tildada de aristocrática. En realidad, fue llevada a cabo por toda la nación, por la unión de todas las clases; pero en una sociedad todavía principalmente agrícola, cuya estructura económica y social hacía de los grandes terratenientes los jefes naturales y aceptados de la población campesina, nobles e hidalgos (squires), como los tories Danby y Seymour y los whigs Devonshire y Shrewsbury tomaron la dirección cuando hubo que improvisar la resistencia contra el gobierno. Verdaderamente, la nación no conocía otros jefes que pudieran guiarla en semejantes circunstancias. Una dirección similar de la población campesina, con el mismo carácter aristocrático y señorial había organizado los ejércitos de «los cabezas redondas» y los «caballeros» al comienzo de la guerra civil, y aunque eclipsada parcialmente durante el gobierno de los «santos militares» de Cromwell, volvió a ser restablecida en la Restauración de 1660. Continuó después de 1689 y en cualquier caso hubiera persistido hasta que la Revolución Industrial estableció gradualmente un nuevo orden social. El mismo absolutismo, si Jacobo hubiera logrado establecerlo, habría tenido en aquel tiempo que gobernar valiéndose de los nobles y los hidalgos campesinos. Jacobo intentó emplear a los lores y caballeros, que eran lugartenientes y jueces de paz de sus condados, como instrumentos de su política catolizante, pero éstos, como todo el mundo, se volvieron contra él. No disponiendo de otra burocracia con la cual gobernar, cayó del trono.
Hasta ese punto fue la Revolución una demostración del poder de las clases terratenientes, lo mismo whigs que tories. Políticamente poderosas, porque en la estructura de la sociedad inglesa de aquel tiempo eran indispensables. En aquellos días, cualquier forma de gobierno en Inglaterra hubiera tenido que contar con ellos. La Revolución hizo tanto por los elementos legales, mercantiles y populares de nuestra vida nacional, como por los aristocráticos. El peor resultado permanente de la Revolución no fue el aumento de poder de la aristocracia, sino el excesivo conservadurismo que se prolongó a través de todo el siglo XVIII. El resultado de la reacción contra las innovaciones de Jacobo II fue acentuar el deseo, en los años que siguieron, de perpetuar las instituciones en la misma forma que entonces tenían. Jacobo, en interés del catolicismo romano y del despotismo, había reformado las corporaciones municipales, invadido la libertad de las universidades y de la iglesia e intentado anular la Cámara de los Comunes. En consecuencia, los ministerios y parlamentos del siglo XVIII temieron reformar las corporaciones municipales, las universidades, el régimen de beneficios eclesiásticos y el sistema parlamentario, aunque fuera para conseguir una forma de gobierno más pura y más eficaz. Jacobo había tratado las cartas de derechos como desperdicios de papel, y los hombres del siglo XVIII miraban los pergaminos con supersticiosa reverencia y pensaban que todo lo que existe es legítimo… si puede presentar una carta. Los ciento cincuenta años que siguieron a la Revolución fueron los más conservadores de nuestra historia, pero no los menos libres, felices o prósperos.
Los gobiernos whigs anteriores a Burke y los gobiernos tories posteriores a él, tuvieron el mayor respeto a la letra del Ordenamiento de la Revolución, que se convirtió en bandera del ultra conservadurismo, primero en manos de los whigs y después en las de los tories. A Walpole, Blakstone, Burke, Eldon, y a los tories anti jacobinos de principios del siglo XIX, el año 1689 les parecía el año último de la creación, en que Dios miró a Inglaterra y estimó que estaba bien.
Pero cuando este espíritu ultraconservador ya había pasado largamente, los fundamentos del Ordenamiento de la Revolución aún persistieron como cimientos de la nueva era de rápidas reformas en que estamos viviendo desde hace más de cien años. Las relaciones de la Corona con el Parlamento y con la ley; la independencia de los jueces; la reunión anual del Parlamento; la supremacía de los Comunes en los asuntos financieros; la posición de la iglesia de Inglaterra; la tolerancia para la disidencia religiosa, la libertad de expresión política, hablada y escrita, sin sujeción a ninguna autoridad que no sea la de un jurado; en suma, una monarquía constitucional para un pueblo libre, tales son las bases de nuestra política, y ellas fueron bien y sólidamente echadas por los whigs y los tories, los nobles, los hidalgos, los juristas, los comerciantes y el populacho que se levantaron contra Jacobo II.
Pero la libertad no puede subsistir si no la apoya la fuerza, y el Ordenamiento de la Revolución nos proporcionó fuerza a la vez que libertad. No tardaron en demostrarlo las guerras de Marlborough, e Inglaterra nunca se sintió tan segura ni fue tan poderosa como en el siglo XVIII, en especial después que la unión parlamentaria con Escocia, verificada en 1707, hubo unido a toda la isla de Bretaña «sobre la base de la Revolución».
Entre la muerte de Isabel y la Revolución de 1688, las luchas constantes entre el Parlamento y el rey habían debilitado a Inglaterra a los ojos del mundo, salvo en los pocos años en que Cromwell volvió a darle fuerza, aunque a precio muy alto. Nuestras luchas civiles habían ocupado nuestras energías y nuestra atención; algunas veces, tanto el rey como los hombres de Estado de la oposición vivieron a expensas de Francia; el Parlamento estuvo siempre receloso de subsidiar a gobiernos cuya política no podía controlar constantemente. Durante los reinados de los Carlos y los Jacobos, las naciones extranjeras consideraron a nuestro Parlamento como una fuente de debilidad que obstaculizaba los movimientos del poder ejecutivo: la constitución de Inglaterra era despectivamente comparada con la de Polonia.
Pero después de la Revolución, el mundo empezó a ver que nuestro gobierno parlamentario, una vez plenamente establecido, era capaz de convertirse en una fuente de energía nacional. Subsidios que habían sido negados a los reyes en quienes no tenían confianza los Comunes, fueron prodigados a ministerios que contaban con la confianza de la Cámara. Los subsidios deben ser votados de nuevo todos los años, no concedidos de una vez por toda la vida del rey, y los Comunes deben vigilar su inversión. Bajo estas estrictas condiciones, los gobiernos de Guillermo, Ana y los Jorges pudieron hacer uso de la bolsa nacional como no habían podido hacerlo sus antecesores. Además, los «Gobiernos de la Revolución» contaron con la confianza de la City tanto como con la del Parlamento. El sistema de empréstitos a base de impuestos dio a Inglaterra la clave del poder. Fueron las «finanzas de la Revolución» y la política de la Revolución las que permitieron a Marlborough derrotar al Rey Sol, cuando un gobierno libre y la tolerancia religiosa triunfaron sobre el revocador del Edicto de Nantes. Como resultado de aquella victoria, los filósofos europeos del siglo XVIII se volvieron contra el despotismo político y la intolerancia religiosa como causas de debilidad nacional y proclamaron ante el mundo los méritos peculiares de la «feliz constitución inglesa, tanto en lo que afecta a la iglesia como al estado».
Tratando de las guerras de Guillermo y Ana, y en términos más generales del siglo XVIII, el profesor G. N. Clark ha escrito:
En Francia y en Prusia, y en casi todas partes, el militarismo y la aristocracia iban de la mano, pero lo que permitió a Inglaterra desplegar sus fuerzas fue el Ordenamiento de la Revolución. Las principales líneas de la política se trazaron por un pequeño grupo de ministros que tenían a su disposición informes muy completos acerca de los asuntos extranjeros, las finanzas, las fuerzas militares y navales, y el comercio, Por medio del Parlamento los ministros pusieron al servicio de aquella política la riqueza y el poder de la nación… El Parlamento era un lugar de reunión donde los intereses económicos divergentes se ponían de acuerdo y se combinaban para proporcionar un apoyo adecuado al Gobierno del momento. [6]De esta suerte, Gran Bretaña logró no sólo la libertad política y religiosa, sino un poderío nacional mayor que el de la monarquía absoluta de Francia. Éstas son las razones por las que los historiadores modernos consideran a la Revolución de 1688 como un momento decisivo en la historia de nuestro país y del mundo todo.
Capítulo II
El reinado de Carlos II
El reinado de Carlos II, desde 1660 hasta 1685, puede ser considerado, en uno de sus aspectos, como el fracaso del Ordenamiento de la Restauración para estabilizar la Constitución inglesa. No es que el Ordenamiento de la Restauración fuera un fracaso en todos sus aspectos: su mérito supremo consiste en haber liquidado el período revolucionario de Cromwell con un mínimo de efusión de sangre y de represalias y en haber restaurado al rey, al Parlamento y establecido el gobierno de la ley en lugar del gobierno de las fuerzas armadas. Pero el provisional apaciguamiento de los partidos y el restablecimiento del gobierno de la ley fueron conseguidos por los únicos medios posibles en 1660, o sea estableciendo un equilibrio entre la Corona y el Parlamento que aplazó la decisión definitiva por el recurso a la fuerza entre el principio monárquico y el principio representativo. Tal equilibrio fue considerado por Clarendon como el summun de la sabiduría política, como el verdadero y definitivo equilibrio de nuestra Constitución. ¡No más Strafford, no más Pym! Era una idea política de abogado, con todos los méritos y todos los defectos de una idea de abogado. No había que poner toda la confianza ni en la Corona ni en el Parlamento. La ley y la costumbre deben prescribir los límites del poder de cada uno de ellos, límites que ninguno de los dos debe rebasar. ¡Excelente! Pero ¿y si la Corona y el Parlamento llegan a desavenirse? ¿Quién, en este caso, podría decidir? ¿Y cómo podrían una nación en crecimiento y su imperio también en crecimiento ser conducidos y gobernados por dos poderes semi soberanos perpetuamente cambiantes? El equilibrio entre la Corona y el Parlamento, inapreciable para algunos años de labor restauradora, no podía ser un arreglo permanente. Pronto desembocó, en efecto, en querellas entre los dos poderes coordinados, la primera vez entre Carlos II y su propio Parlamento «Caballero», elegido durante la fiebre de entusiasmo monárquico que siguió a su regreso del destierro. Esa querella selló el fin de Clarendon y de su sistema político (1667).
El señor Arturo Bryant ha escrito recientemente un brillante y atractivo libro sobre Carlos II. Dispone admirablemente las cosas en favor del rey y corrige algunas apreciaciones injustas. El señor Bryant es un excelente biógrafo; pero creo que no llega a comprender del todo la gravedad del peligro francés para la Europa de aquel tiempo, peligro que la política del Tratado de Dover (1670), suscrito por Carlos II, aumentó considerablemente. Por otra parte, al señor Bryant no le interesa la historia constitucional y no comprende el punto de vista que necesariamente había de adoptar cualquier Cámara de los Comunes en frente del poder real. El Parlamento «Caballero» tuvo siempre a Carlos escaso de dinero no por mera malicia, sino porque no podía controlar su inversión y no se fiaba de la política del rey. El secreto Tratado de Dover demostró a la posteridad que tal falta de confianza estaba ampliamente justificada. Aun cuando la Cámara de los Comunes hubiera podido controlar el uso de los subsidios que votaba —como lo hizo después de la Revolución—, no podía esperarse que ni siquiera un Parlamento «Caballero» concediese dinero bastante para cubrir todas las necesidades de la nación. Porque si el Parlamento hubiera votado generosamente subsidios antes de tener el control de los gastos, nunca hubiera llegado a ser el poder supremo del estado y habría retrocedido a la posición que tenía en tiempo de los Tudor. Ningún Parlamento, aunque fuera «caballero» o tory, podía entregar a Carlos o a Jacobo II dinero bastante para realizar una política vigorosa, nacional y extranjera, porque ningún Parlamento podía ejercer una vigilancia y control permanentes sobre la orientación y resultados de tal política.
El Ordenamiento de la Restauración fue un compromiso provisional entre los poderes real y parlamentario, y ofrecía todas las ventajas y todas las desventajas de un compromiso. Bajo semejante sistema de autoridad dividida, Inglaterra no podía ser enérgicamente gobernada en el interior, ni sostener su poder marítimo ni su comercio mundial en frente del creciente poderío francés. Antes de que pudiera lanzarse a realizar su destino, tenía primero que convertirse en una monarquía absoluta en que la Corona tuviera el poder de imponer tributos, como sus rivales de allende el mar; o adoptar un sistema político nuevo, tal como el mundo no había visto aún ninguno, un estado en que la Cámara de los Comunes dictase la política del rey y de sus ministros. Después de que la Revolución de 1688 decidió que era el segundo de esos caminos el que iba a seguirse, la bolsa nacional se abrió liberalmente año tras año para todos los gobiernos en quienes los Comunes podían confiar y cuya política podían dirigir.
Es significativo que esta solución haya surgido en los tiempos del Parlamento «Caballero» (1660-1678). Durante esos años, el partido «caballero» o tory[7], teniendo la Cámara de los Comunes como instrumento suyo, defendió los derechos y poderes parlamentarios contra el poder real con no menor efectividad que Pym, Hampden y los antiguos jefes de los «cabezas redondas». Aunque ásperamente hostiles al puritanismo y a la política religiosa del Parlamento Largo, los squires «caballeros- tories» adoptaron el testamento político de aquella famosa asamblea y se organizaron en el partido parlamentario, en oposición a la Corte.
* * * *
En los asuntos interiores, la principal diferencia entre el Parlamento «Caballero» y Carlos II surgió en materia de tolerancia religiosa. Para comprender los reinados de Carlos y de su hermano y sucesor, es necesario tener presente la naturaleza del arreglo religioso de la Restauración, que la Revolución modificó, pero no destruyó. En realidad, durante los 200 años siguientes la política inglesa giró ampliamente en torno de las luchas para la derogación, el mantenimiento o la modificación del arreglo eclesiástico de 1660. Hasta los últimos años de la reina Victoria, tory y whig significan, más que cualquier otra cosa, los intereses rivales de la iglesia y de los disidentes.El Ordenamiento de la Restauración fue causa de que la iglesia establecida fuera una vez más anglicana en lugar de puritana; restableció sus dotaciones y privilegios y aseguró a sus miembros el monopolio de los cargos estatales y municipales y de las dos universidades, así como el derecho a enseñar en sus escuelas. Además, cualquier servicio religioso que no fuera el de la iglesia anglicana era castigado como un delito. Las puertas de la cárcel se abrieron para ministros disidentes como Baxter y Juan Bunyan, autor de Pilgrim’sProgress. Las congregaciones sólo podían reunirse con mucho riesgo y a hurtadillas. Estas duras leyes, aprobadas entre 1662 y 1665, son generalmente conocidas con el nombre de Código Clarendon; pero, de hecho, el Parlamento «Caballero», formado por squires anglicanos, fue más responsable de ellas que el mismo Clarendon y mucho más que el despreocupado amo de Clarendon.
Carlos II no tenía nada de aquel ardiente celo religioso que llevó a muchos de sus contemporáneos a cometer crueldades por amor de Cristo. Su catolicismo, como el protestantismo de la reina Isabel y de Enrique de Navarra, era resultado de las circunstancias y de la experiencia política, no una pasión del alma, y se veía limitado por un escepticismo que bordeaba la infidelidad. Su política para fortalecer el poder de la Corona frente del arrollador poder del partido eclesiástico en el Parlamento «Caballero», consistió en prestar ayuda a los disidentes, tanto católicos como protestantes, mediante la prerrogativa real de eximir de las leyes, que él reivindicó siempre. De esta suerte esperaba hacer de los disidentes humildes clientes y vasallos suyos, de modo parecido a como los reyes medievales usaron para sus propios fines la defensa de los judíos contra la malquerencia popular. Por otra parte, Carlos deseaba proteger a los católicos romanos, puesto que debió su vida a la lealtad católica después de la batalla de Worcester; de manera que, si efectivamente tenía alguna religión, era un cripto-católico. Pero se daba cuenta de que no podía proteger a los católicos a menos que no protegiese también a los disidentes protestantes. Así, publicó Declaraciones de Indulgencia que suspendían parcialmente la aplicación de las leyes persecutorias, haciendo uso de su real prerrogativa. El Parlamento «Caballero» recusó estas leyes por anticonstitucionales, declarando que estaba fuera del poder real impedir la aplicación de las disposiciones votadas por el Parlamento. Carlos, necesitado de dinero y de tranquilidad, cedió ante los Comunes y retiró la Declaración de Indulgencia por ilegal (1672-1673). La libertad constitucional había ganado una gran batalla a expensas de la tolerancia religiosa. Este derecho a suspender las leyes, que Carlos se vio obligado a abandonar, fue después, como veremos, restablecido por Jacobo II más en grande y con resultados más memorables.
El Código Clarendon y su imposición al pueblo deben, pues, ser adscritos no a la Casa de Estuardo, sino a la Cámara de los Comunes. Su motivo primordial no era la persecución religiosa. Los squires de Inglaterra en el tiempo de la Restauración estaban ávidos de venganza política, no de propaganda religiosa. Es verdad que persiguieron la herejía, mas no para salvar las almas de los puritanos —no se habrían molestado en atravesar una calle para hacerlo—, sino para evitar que otra vez se levantasen con el designio de derribar a la iglesia, decapitar al rey y confiscar las propiedades de los squires. «Nunca más» fue la consigna del Parlamento «Caballero» frente a los puritanos, y por esta razón aprobó una larga serie de medidas contra el inconformismo religioso. Esto les parecían los únicos medios eficaces para mantener definitivamente reprimido al partido de los «cabezas redondas» y evitar otra oscilación del péndulo que pudiera de nuevo derribar el trono y el altar. Desde un punto de vista anglicano, algunas partes de aquella legislación pueden ser defendidas, teniendo en cuenta las circunstancias de la época; otras partes tienen que ser condenadas por cualquier hombre razonable; pero todo ello fue muy natural. No fue un movimiento inmotivado de crueldad, como la revocación del Edicto de Nantes por Luis XIV. Fue dictado, no por el fanatismo religioso, sino por el miedo basado en una experiencia reciente y cruel.
Después del peligro puritano surgió el peligro católico romano. Hacia el fin del Parlamento «Caballero», en los años del Tratado de Dover y de la última guerra con Holanda, se dejaba sentir el peligro del catolicismo romano situado en altas posiciones. Las personas más influyentes en la Corte, los ministros de más confianza del rey, el hermano y heredero de éste, la reina y la mayoría de sus damas, todos eran católicos, y su política extranjera la dictaban sus simpatías católicas. Por eso fue aprobada en 1673 la Ley de Pruebas, destinada a defender a la iglesia de Inglaterra también por ese flanco. No fue revocada hasta 1828-1829. La Ley de Pruebas convirtió en ilegal el hecho de que alguien desempeñase un cargo militar o civil si previamente no había tomado el sacramento de acuerdo con los ritos de la iglesia de Inglaterra. Este método de emplear un rito religioso como prueba política, justamente inadmisible para nuestras ideas, fue adoptado porque se le consideró el único medio totalmente efectivo para mantener a los católicos romanos alejados de los cargos. No bastaban juramentos y declaraciones. En aquella época eran muy usados estos medios, y los hombres de todos los partidos y de todas las creencias los hacían y los rompían con notable ligereza. Pero un católico romano no podía participar de un sacramento herético, y en consecuencia, la Prueba Sacramental sirvió a sus fines durante ciento cincuenta años manteniendo a los católicos romanos alejados de los cargos. Incidentalmente alejó también a muchos no conformistas protestantes, aunque algunos de éstos posteriormente no tuvieron nada que objetar al sacramento anglicano, y se les llamó «conformistas ocasionales».
Uno de los primeros resultados de la Ley de Pruebas de 1673 fue apartar de los cargos públicos a Jacobo, duque de York y heredero del trono. Pero aunque un católico romano no podía desempeñar ningún puesto sometido a la Corona, el acceso a la Corona misma no estaba sujeto a esta limitación. Jacobo, aunque no podía seguir presidiendo el Almirantazgo, podía subir al trono cualquier día, y cuando ese día llegase, era seguro que la observancia o la violación de la Ley de Pruebas se convertiría en el principal motivo de discordia entre él y sus súbditos protestantes.
* * * *
Mas aunque el Parlamento «Caballero-Tory» se había opuesto a Carlos en su política de tolerancia para los disidentes protestantes y católicos en lo interior, y en su política pro-francesa en lo internacional, sus disensiones con aquel partido nunca fueron tan agudas como las que lo enfrentaron con los tres Parlamentos whigs que le sucedieron (1679-1681). Porque, después de todo, los tories eran hijos de los «caballeros» que habían luchado a favor de la Corona, mientras los whigs eran hijos de los «cabezas redondas». Por lo tanto, cuando la violenta conducta de los Parlamentos whigs, bajo Shaftesbury, en la segunda mitad del reinado de Carlos II, pareció revivir las viejas luchas y pasiones de la guerra civil, todos los instintos de los squires y clérigos tories los impulsaron a agruparse en torno del trono de todo corazón y con toda el alma.Verdaderamente, los dos partidos estaban divididos no meramente por el grado de su oposición al poder real, sino de una manera aún más fundamental, por las cuestiones religiosas. Los tories eran anglicanos de la alta iglesia y querían someter a los disidentes protestantes con la aplicación del Código Clarendon, extirpando así el puritanismo y el catolicismo de una isla que debía ser totalmente anglicana. Los whigs eran una combinación de latitudinarios de la baja iglesia con disidentes puritanos y defendían a las sectas no conformistas contra la persecución, esperando quizá algún día volverse contra la iglesia anglicana. Tanto los whigs como los tories estaban contra los católicos romanos; pero siempre que se gritaba «nada de papismo», los whigs salían ganando más porque, por lo general, la gente de iglesia olvidaba entonces su miedo a los puritanos disidentes.
La querella entre whigs y tories en los últimos años del reinado de Carlos II tenía, pues, causas de fondo que salieron a la superficie con motivo de la Ley de Exclusión, mediante la cual los whigs se proponían excluir de la sucesión en el trono a Jacobo, hermano del rey y entonces duque de York. El Tratado de Dover, conocido a medias, y la guerra de 1672 con Holanda, en alianza con Luis XIV, habían alarmado a los protestantes de todos los partidos por lo que respecta al crecimiento de las influencias católico romana y francesa en la Corte. En 1678 Coleman, secretario de Jacobo, había sido sorprendido en correspondencia con el confesor de Luis XIV para concertar un plan que permitiera extirpar el protestantismo en Inglaterra con la ayuda de Francia. Estas «cartas de Coleman», apéndice genuino del fingido complot papista de Titus Oates, fueron publicadas con tremendos efectos sobre la opinión pública y en parte relacionadas por ésta con las infames invenciones de Oates. Allí había un verdadero complot papista; estaba latente en el pecho del heredero del trono y se manifestó abiertamente seis años después, cuando Jacobo ya era rey.
Nunca hubiera llegado a serlo si el partido tory o anglicano no se hubiera inclinado del lado de la estricta sucesión hereditaria. En la lucha promovida por la Ley de Exclusión, durante tres Parlamentos sucesivos (1679-1681), los partidos whig y tory tomaron su forma definitiva y recibieron los nombres que habían de hacerse famosos. En el apremio por excluir a Jacobo, los whigs se manifestaban más en lo justo que sus opositores en cuanto a la conveniencia de que llegara a ocupar el trono, y más previsores en cuanto a la imposibilidad de que un celoso católico romano pudiere ejercer, como rey, los deberes y prerrogativas de jefe del estado inglés y principal patrono y director de la iglesia de Inglaterra. Diez años más tarde, los tories se mostraron dispuestos a echar del trono al mismo hombre que ellos habían entronizado y a aprobar una ley según la cual nunca volvería a ser rey de Inglaterra un católico romano. Pero en otros respectos, los whigs se extraviaron grandemente. Bajo la jefatura de lord Shaftesbury, la cínica liviandad de los hombres de estado de la Restauración pareció sumarse al violento fanatismo de los antiguos «cabezas redondas». El partido estaba todo lo lejos que era posible de la moderación que tiempo después, con Somers y Walpole, fue su rasgo característico.
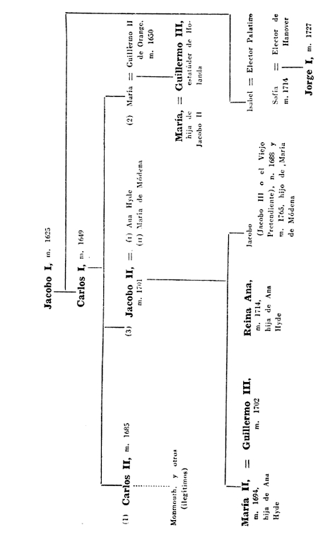
No contentos con excluir a Jacobo, los jefes whigs acariciaban la idea de que Monmouth, hijo bastardo de Carlos, fuera declarado heredero de la Corona. Les parecía cosa excelente que un jefe del partido whig ocupara el trono. Para llevar esto a cabo, algunos whigs estaban dispuestos a prescindir de los derechos de María y de Ana, hijas de Jacobo y ambas protestantes, y de los del marido de María, Guillermo de Orange, que también tenía por su parte algún derecho personal al trono, aunque más lejano.
Los intereses de Guillermo y María estaban, por aquellos días, confiados a Danby, campeón de los tories. Los whig parecían no haber comprendido aún, salvo ocasionalmente para fines de propaganda, el peligro que representaba el creciente poderío de Francia y la consiguiente necesidad para Inglaterra de contar con la amistad de Guillermo y de Holanda. Algunos jefes whigs estaban pensionados por Francia, igual que el rey contra quien luchaban. En tiempo del complot papista y de la Ley de Exclusión, los dos estadistas ingleses que manejaban plenamente las verdaderas relaciones de nuestra política nacional en relación con la extranjera, fueron sir Guillermo Temple, diplomático, y lord Danby, jefe tory. Ambos pensaban que Inglaterra y Holanda debían unirse frente a Francia, o que ambas naciones quedarían sometidas a la hegemonía francesa. Por esta razón había Danby, en una hora afortunada, gestionado el matrimonio de Guillermo de Orange, estatúder de Holanda, con María, la hija protestante de Jacobo y presunta heredera de su padre (1677). Este matrimonio, obra maestra de un verdadero hombre de estado, produjo al fin el fracaso de los planes de domino universal de Luis XIV, porque fue el fundamento dinástico del Ordenamiento de la Revolución.
Pero al año siguiente (1678) Danby se nubló, y Temple no tenía valentía política. Durante algún tiempo, todos los partidos ingleses descuidaron los intereses de Guillermo. Los whigs desconfiaban de la tradición autocrática de la familia de Orange, que siempre había sido opuesta al partido republicano holandés; muchos de ellos preferían la perspectiva de que subiera al trono Monmouth. Los tories consideraban con igual placer la posibilidad de que reinase Jacobo. La moderación y la prudencia estaban olvidadas en la fiera lucha de partidos con que terminó el reinado de Carlos II. Tories y whigs descuidaban los más altos intereses del país, en el interior y en el extranjero, movidos por una loca rivalidad que auguraba muy mal para el porvenir del sistema de los dos partidos turnantes. En verdad, el prestigio del gobierno parlamentario como posible forma política fue gravemente quebrantado, a los ojos de Europa y de Inglaterra, por los procedimientos de los tres Parlamentos whigs de Shaftesbury que se sucedieron de 1679 a 1681. Sus crueldades contra los católicos romanos en los días del complot papista, contribuyeron a estimular la persecución, más sistemática y más continuada, de los hugonotes en Francia. El apoyo que muchos de ellos dieron a las pretensiones del inútil bastardo Monmouth al trono de Inglaterra, y el carácter audaz de las incursiones que la Cámara de los Comunes hacía en las esferas de los poderes ejecutivo y judicial, procedimientos de los whigs, alarmaron a los hombres moderados. Parecía que «volvía el año 1641» y que se aproximaba otra guerra civil. Las gentes estaban entonces tan ansiosas de evitarla como nosotros lo estamos hoy de evitar otra guerra mundial. Para huir de semejante abismo de calamidades, los hombres se agruparon alrededor del trono. En 1681 quedó destruido el poderío whig, y con él cayó el poder del Parlamento, hasta que siete años después los sucesos de la Revolución lo rehabilitaron de nuevo, pero en forma más estable y satisfactoria.
Carlos, que con su carácter cínico y complaciente era un político muy hábil, aunque no un estadista constructivo, soltó bastante cuerda a loswhigs, que en 1681 se ahorcaron lindamente a sí mismos. Después los tories prosiguieron el cuento de los errores. Prepararon un mal día a la iglesia de su devoción, porque prodigaron a la Corona poderes que estuvieron a punto de ser heredados, como consecuencia de su propia acción, por uno de los católicos romanos más fanáticos de Europa. Ayudaron a la Corona a destruir la independencia de las corporaciones municipales, muchas de las cuales habían sido whigs, pensando que en manos de la Corona las municipalidades serían siempre tories de allí en adelante. Ayudaron a establecer el terror realista en el país. En tiempos del Parlamento «Caballero», en la década anterior, los tories, como hemos visto, habían sido un partido parlamentario, y estaban prestos a volver a serlo. Pero durante algunos años, desde 1680 hasta 1685, en su odio contra Shaftesbury y sus Parlamentos whigs, se convirtieron en un partido cortesano. La verdadera tradición, el genio y la fuerza del partido tory estriban en su acción como partido parlamentario. En el fondo no eran partidarios del absolutismo, pero hablaban y actuaban como si lo fueran. Esta fue su gran aberración, cuyas malas consecuencias para el partido mismo no se extinguieron del todo hasta mediados del siglo XVIII.[8]
Para su propia ruina posible, los tories proclamaron, como parte esencial de las enseñanzas de la iglesia anglicana, la doctrina del derecho divino hereditario de los reyes unida a la doctrina de la no resistencia a la Corona en su forma más extremosa. Sus teólogos declararon, y sus políticos lo repitieron, que ninguna tiranía, por ilegal o cruel que fuese, justificaba el hecho de que un súbdito hiciera resistencia con las armas a un monarca hereditario, pues la monarquía hereditaria era de origen divino. En 1683 la Universidad de Oxford publicó un manifiesto en que proclamaba oficialmente la doctrina de la no resistencia incondicional, «como divisa o doctrina, en cierta manera, de la iglesia de Inglaterra». Tales ideas hallaron viva resonancia en todos los púlpitos parroquiales. Los acontecimientos iban a demostrar en seguida si esa doctrina era fatal para la libertad de Inglaterra, o si sólo lo era para la lógica tory.
La conducta de los whigs y de los tories entre 1678 y 1685 fue tan insensata y tan mala, que constituye un verdadero rompecabezas psicológico reconocer en ella alguno de los mejores elementos que usualmente se encuentran en el carácter político inglés: humanidad, decencia o buen sentido. Whigs y tories obraban como las facciones, inquietas y de sangre ardiente, de un pueblo del sur de Europa. Gritaban, vociferaban, lanzaban bravatas, asesinaban gente por fórmulas legales, sin tener en cuenta más interés que el suyo, y al fin traicionándolo también por pura insensatez y apasionamiento. Mas, algunos años después, aquellos mismos hombres tomaron parte en la estructuración y observancia del Ordenamiento de la Revolución, la cosa más inglesa que nunca haya sido hecha, si en verdad es inglés el gobernarse por el buen sentido, la transacción y la tolerancia. Parte de la explicación se encuentra en el ejemplar castigo que a buen tiempo cayó sobre ambos partidos, como consecuencia directa y evidente de las faltas que habían cometido. Los jefes políticos de aquel período eran al menos hombres inteligentes y aprendieron en la escuela de la adversidad. La reforma de los dos partidos y su reintegración a la cordura política fue la más grande de las cosas que consiguió Jacobo II sin proponérselo.
En realidad, los jefes más violentos y faltos de escrúpulos de ambos partidos, Shaftesbury, Sunderland y Jeffreys, desaparecieron de la escena antes de la Revolución de 1688 o durante ella. Los hombres que tomaron la parte principal en establecer el Ordenamiento de la Revolución, tories como Danby y Notlingham, whigs como Shrewsbury y Devonshire, contemporizadores como Halifax, ninguno de ellos era culpable de los peores excesos del espíritu partidista en los años anteriores. Siempre puede encontrarse en alguna parte un último residuo de buen sentido político, hasta en los postreros años del reinado de Carlos; y se encontró, en efecto, y en grado máximo, en el talento y la prudencia de Jorge Savile, marqués de Halifax, el «Contemporizador», el estadista filósofo, cuya repugnancia por las actitudes extremas le llevaba siempre a «contemporizar» con cualquier partido que en el momento estuviera gozando y abusando del poder.

Carlos podía tener una Cámara de los Comunes a la medida de sus deseos; pero durante los cuatro últimos años de su reinado prefirió no reunir las Cámaras. Desde la Restauración no se había visto nunca una laguna tan grande en las convocatorias del Parlamento, cosa que de hecho era ilegal según los términos de la Ley Trienal de 1664. Ello demuestra cuánto se había inclinado del lado monárquico el equilibrio de la Constitución.
Al suspender las funciones del Parlamento, Carlos no podía obtener los subsidios anuales que aquél votaba. Pero no necesitó recurrir a impuestos ilegales; con una economía muy estricta, se arregló para vivir con las amplias concesiones que le había hecho el Parlamento «Caballero» en los comienzos de su reinado, suplementadas con el oro de Luis XIV. Mientras el rey gobernó sin Parlamento, Inglaterra no pudo, por razones financieras, desempeñar su papel de cabeza del concierto de pequeñas naciones, católicas y protestantes, que estaban tratando de contener el avance del rey de Francia hacia la hegemonía europea. El problema de nuestra política exterior estaba, pues, estrechamente unido al problema de nuestra política interior, a saber, si el rey gobernaría con el Parlamento o sin él.
El partido de la Corte, en estos últimos años del reinado de Carlos, que deseaba cooperar con el Parlamento y oponerse a Francia, estaba dirigido por Halifax «el Contemporizador», que se había granjeado la gratitud de lostories y de los realistas encabezando la oposición a los designios whigs en la Cámara de los Lores durante los últimos Parlamentos. Pero Halifax no había logrado persuadir a Carlos a convocar el Parlamento y oponerse a Francia, cuando el 6 de febrero de 1685 la muerte del rey cambió totalmente la situación.
Jacobo II, sin oposición y ruidosamente aclamado, sucedió a su hermano. En los cinco años anteriores había sido más popular aún que Carlos entre los tories más violentos, que tenían por costumbre beber arrodillados a la salud del príncipe y al grito de «Huzzah», que habían adoptado como distintivo de su partido. El mero hecho de que los whigs hubieran tratado de excluir a Jacobo del trono, lo convirtió en ídolo de los tories más irreflexivos. Estaban seguros de que, aun más que su hermano, Jacobo serviría a los intereses tories como un rey verdaderamente tory. Suponían optimistamente que los poderes que conferían a la Corona serían usados todavía, como en los postreros años de Carlos II, para sostener a la iglesia y a los tories y para aplastar a los disidentes y a los whigs. Que algún día pudieran ellos mismos sentir la tentación de oponerse al Ungido del Señor, no se les ocurrió pensarlo nunca, porque habían cerrado los ojos resueltamente, durante varios años, ante estos dos problemas: la situación de los católicos romanos en Inglaterra y la hegemonía de Francia en Europa. Estos dos problemas iban a ser puestos en el primer plano por el rey Jacobo, cuyos consejeros favoritos eran jesuitas del partido francés y cuya fuente de dinero de procedencia no parlamentaria era Luis XIV, revocador del Edicto de Nantes y posible conquistador de Holanda. La cuestión católica y la cuestión francesa eran una sola y misma cuestión en la Europa occidental, e Inglaterra no podía escapar a sus repercusiones ahora que ocupaba el trono Jacobo II. La unión de un católico romano fanático, como el rey de Inglaterra, con Luis de Francia, habría dañado gravemente, caso de prolongarse, no sólo a la independencia confesional de Inglaterra, Holanda y las demás iglesias protestantes de Europa, sino también a la independencia política de todos los estados europeos. Por tal motivo, España y el emperador católico romano, y basta el papa, en cuanto príncipe italiano, se alineaban con los estados protestantes de Holanda y de Alemania bajo la bandera de Guillermo, haciendo causa común contra Luis y su vasallo el rey Jacobo. El factor decisivo en la inminente crisis europea iba a ser la acción del pueblo inglés, que entendía poco o nada de la política de Europa, pero que se alarmaba muy pronto cuando alguien atacaba su religión y libertades. (La historia más completa de este reinado se encuentra en England in the Reign of Charles II, por David Ogg, del New College, Oxford Press, 1934, 2 vols.).
Capítulo III
El reinado de Jacobo II
Los cuatro años de reacción, cerrados con la muerte de Carlos II, habían ocultado la verdadera cuestión central de la vida política, a saber: que ningún proceso lógico podría reconciliar la teoría política tory [el derecho divino de los reyes y la no resistencia] con su sentido constitucional y sus convicciones religiosas. El gobierno del sucesor de Carlos estaba destinado a descorrer los velos del entusiasmo y dejar al desnudo esa contradicción chocante y retadora.Así escribe el historiador del partido tory[9].Pero durante los primeros meses del reinado la luna de miel no fue perturbada. Jacobo, el mismo día que subió al trono, hizo una declaración ante el Consejo Privado que fue impresa y lanzada a la circulación para júbilo de todos los verdaderos tories y de todos los ingleses:
Se me ha presentado como hombre inclinado al poder arbitrario, pero no es ésta la única historia que se ha hecho circular respecto de mí. Me esforzaré en conservar el gobierno de la iglesia y del estado tal como ahora está establecido por la ley. Sé que los principios de la iglesia de Inglaterra son favorables a la monarquía. Por lo tanto, pondré siempre el mayor cuidado en defenderlos y apoyarlos.¿Cómo podían dudar los felices y triunfantes realistas que Jacobo cumpliese esta solemne promesa de observar las leyes del país y apoyar a la iglesia anglicana? Por extraño que pueda parecerle a nuestra mirada retrospectiva, Jacobo, en los días en que subió al trono, era popularmente reputado como «un hombre de palabra».
El primer paso del nuevo rey fue convocar un Parlamento. A menos que una Cámara de los Comunes no le concediese las rentas vitalicias de que había disfrutado su hermano, no podría sostener su gobierno aun contando con las arcas del rey de Francia. Por otra parte, no le agradaba ser vasallo de Luis XIV, aunque deseara ser su amigo; y si lograba mantenerse en buenas relaciones con el Parlamento, podría adoptar una actitud independiente en los asuntos de Europa. Eso, sin duda alguna, agradaría a sus súbditos. Creía que podría ser amigo de una Cámara de los Comunes formada con altos tories, pues pensaba que los principios políticos del partido la obligarían a apoyarlo aún en sus proyectos a favor de los católicos romanos. Deseaba que el Parlamento revocase las leyes de Pruebas y de Habeas Corpus y otras que trababan su acción ejecutiva. Después podría, sin violar las leyes, llenar el ejército, la escuadra, el gabinete y el servicio civil, y cubrir los mejores cargos de la iglesia con altos anglicanos. Los púlpitos de la iglesia no se iban a concertar para predicar contra «la religión del rey»; y el puritanismo sería extirpado por la constante aplicación del Código Clarendon a los disidentes protestantes. De esta suerte, la evolución de la iglesia y el estado hacia los modelos romanos progresaría pacíficamente.
Ese fue el primer plan de Jacobo II. La vuelta a Roma se verificaría con el inconsciente consentimiento de la iglesia de Inglaterra y con la ayuda activa de un Parlamento tory. Fue la negativa de ambos a servirle lo que le llevó a adoptar otro camino para llegar a los mismos fines, violando las leyes, atacando a la iglesia y al partido que le habían llevado al trono y mendigando una quimérica alianza con los disidentes puritanos, que odiaban encarnizadamente al rey y a su religión.
En los últimos días de mayo de 1685 se reunió el Parlamento de Jacobo. Como las corporaciones municipales habían sido reformadas arbitrariamente a fines del reinado anterior, la nueva Cámara de los Comunes había sido más cuidadosamente constituida a favor del real interés que ninguna otra Cámara con que tuvieron que tratar los reyes Estuardos. Sir Eduardo Seymour, prototipo y jefe de los caballeros campesinos tories independientes, se quejó de la forma en que el gobierno había intervenido en las elecciones. Como quiera que sea, sólo unos cuarenta miembros de la Cámara no eran tories ni cortesanos. El rey repitió al Parlamento las promesas que había hecho al Consejo Privado de respetar las leyes y defender y apoyar a la iglesia de Inglaterra. Todavía no dijo nada de las leyes de Pruebas y de Habeas Corpus, pero exigió en términos perentorios que se le concediesen las rentas vitalicias que se le habían concedido a su hermano. Si algunos diputados han pensado en racionarme financieramente, «alimentándome de vez en cuando», «responderé de una vez por todas que sería una manera muy impropia de portarse conmigo». Debían concedérsele subsidios vitalicios.
La Cámara de los Comunes tory, engañada por sus promesas de apoyar a la iglesia de Inglaterra, era bastante realista para dejarse coger en la trampa y votar los subsidios vitalicios. Esto permitió a Jacobo, cuando llegó a romper con el Parlamento, vivir sin él durante tres años fatales. Su independencia financiera provocó, de hecho, su ruina política, induciéndole a seguir el camino de la tiranía. Después de la Revolución, esta equivocada generosidad por parte de los Comunes no volvió a repetirse. Ningún rey o reina han contado, desde 1685, con una amplia renta vitalicia, y, en consecuencia, desde 1688 no pasó ningún año sin que se reuniera el Parlamento.
En esta etapa, antes de que el rey y los Comunes llegaran a romper con motivo de la Ley de Pruebas y de los asuntos religiosos, que indudablemente iban a dividirlos, la situación fue profundamente alterada por la Rebelión del Oeste. El duque de Monmouth era el alocado, gallardo y pícaro mozalbete que había sido destacado por los whigs de Shaftesbury, cuando ejercían el poder, como candidato suyo para el trono, fundándose en la falsa historia de que Carlos II había estado casado con la madre de Monmouth. Carlos, aunque quería al bribón más que a cualquiera de sus otros hijos naturales, no quiso admitir el juego y declaró que más quería verlo muerto que en el trono. Si los partidarios de Monmouth hubieran logrado hacerlo rey, su reinado habría sido tan breve y borrascoso como el de Jacobo, y quizá hubiera tenido consecuencias fatales para las libertades constitucionales del país.
Después de la caída de sus patrocinadores whigs, Monmouth se había retirado a Holanda. Guillermo de Orange, el Estatúder, le aconsejó que se fuera al Danubio a luchar por el emperador contra los turcos y volviendo la espalda a Inglaterra. Las ambiciones de los dos hombres eran opuestas: las pretensiones de Monmouth al trono podían obstaculizar el legítimo derecho reversible de María, esposa de Guillermo, para suceder a su hermano Jacobo. Por esta razón, los republicanos holandeses, enemigos del Estatúder, adoptaron la causa de su rival. Los magistrados de Amsterdam, a pesar de Guillermo y contraviniendo sus órdenes, permitieron al aventurero fletar un barco y lo llenaron de municiones. Con algunos partidarios desembarcó en Lyme Regis (junio de 1685), en la costa del sureste, donde los campesinos puritanos y los pañeros sentían por su «rey Monmouth» una pasión romántica y fatal, semejante a la que en años posteriores sintieron los hombres de las Tierras Altas escocesas por el «buen príncipe Carlos».
Los lores y caballeros whigs permanecieron quietos en sus haciendas; pero unos 6.000 hombres de las clases más humildes de Somerset y Devon, especialmente del distrito pañero de Taunton, se congregaron bajo la bandera de Monmouth. Este movimiento puede ser considerado como la última «insurrección campesina» en Inglaterra, aunque sus motivos no fueron sociales ni religiosos. Los sufrimientos de los puritanos bajo el Código Clarendon fueron la causa principal de la rebelión. Ésta se hizo en favor del candidato whig al trono, pero su espíritu no fue tanto whig cuanto una última llamarada del viejo fervor de los «cabeza redondas», in extremis y sin la dirección y disciplina que habían hecho formidables las legiones de Cromwell. El objetivo era no sólo derribar al rey papista, sino a la iglesia anglicana. No había ni la menor probabilidad de triunfo. Los secuaces de Monmouth eran una muchedumbre casi sin oficiales y mal armada. No eran, por naturaleza y educación, hombres de guerra como los highlanders[10] de 1745; muchos de ellos se lanzaron a su destino sin más armas que una hoja de guadaña amarrada a una pértiga.
Todos los elementos militares estaban del lado de la ley y el orden. Las mismas milicias de los dos condados rebeldes eran partidarias del rey, así como las tropas regulares, mucho más poderosas. Los partidos y las personas que se unieron contra Jacobo en 1688 estaban unidas contra Monmouth en 1685. Guillermo de Orange envió a su suegro tres regimientos escoceses pagados por Holanda. La ciudad de Londres y las dos Cámaras del Parlamento, las universidades, los municipios, los magistrados y caballeros rurales, la opinión campesina, todos estaban por el rey y por la ley. Los tories estaban entusiasmados y los whigs aquiescían. Ni siquiera una victoria hubiera llevado al lado de Monmouth fuerzas considerables. Si hubiera avanzado fuera del área suroccidental, habría hallado en contra suya a todo el país. El romántico heroísmo de los campesinos y los tejedores contra fuerzas enormemente superiores, en la batalla nocturna de Sedgemoor, y las crueldades que después se cometieron con ellos, no podrían cegar a la posteridad respecto de lo equivocada e insensata que fue su rebelión.
La ejecución de Monmouth en Tower Hill fue un castigo sobradamente merecido; De sus secuaces, varios centenares fueron ejecutados ya por los soldados después de la batalla, ya mediante procesos legales ante el «Tribunal de Sangre». Alrededor de 800 fueron vendidos como esclavos para la isla de Barbados. La concesión de prisioneros a los favoritos de la corte, para venderlos como esclavos en las tierras de ultramar, fue considerada por, muchos caballeros tories cosa indecente. Ya empezaba a molestarles la nariz el hedor del tráfico que se realizaba en la Corte. La opinión pública se estremecía ante el número de ejecuciones y por la conducta del juez Jeffreys en su tribunal. Las aldeas y las ciudades del suroeste apestaban con el olor de los restos descompuestos de pobres muchachos insensatos ahorcados en gran número. Pero, más que nada, las gentes vituperaban el que Isabel Gaunt hubiera sido quemada viva y Alicia Lisie decapitada, dos mujeres de gran carácter culpables sólo de dar refugio a fugitivos, acto de piedad femenina que nunca fue castigado con la muerte por ningún otro gobierno inglés en aquel siglo ni en los siguientes. Los mejores elementos del partido tory y de la iglesia anglicana estaban disconformes con el «Tribunal de Sangre». Ken, santo obispo de Bath y Wells, cuya catedral había sido bárbaramente profanada y dañada por los rebeldes puritanos, se dedicó a defenderlos para que no fuesen en manadas a la horca. El disgusto con que muchos tories miraban a Jeffreys se redobló cuando muy poco tiempo después traicionó a las leyes y a la iglesia para tener el favor real.
Entre tanto, otro intento más insensato aún fue hecho por el conde de Argyle para provocar un levantamiento en Escocia. Su captura y ejecución libraron a Jacobo del enemigo más formidable en el norte de la isla, pues Argyle había reunido en su persona las jefaturas del partido presbiteriano escocés y del gran clan Campbell detrás de los límites de las Tierras Altas.
En el otoño de 1685 Jacobo había concentrado en sus manos todos los elementos de poder de la Gran Bretaña. Todos sus enemigos estaban muertos o prosternados a sus pies. Pero, en realidad, las sublevaciones de Monmouth y de Argyle, precisamente porque aumentaron su poder, lo indujeron a su ruina. La facilidad con que los sublevados habían sido destruidos, sin que recibiesen ninguna ayuda, salvo de unos pocos fanáticos del oeste, le dieron una idea exagerada de la lealtad del país, que él consideraba absoluta, si bien no era más que contingente. Sobre todo, la rebelión le permitió poner en pie un gran ejército regular de unos 30.000 hombres, con el cual imaginaba que podría llevar adelante la extraña política en que iba a empeñarse. Y mientras estas cosas le animaban a desafiar la opinión de sus súbditos, el camino de la unión definitiva de éstos contra el rey quedó despejado con la desaparición de Monmouth. En adelante Guillermo de Orange era el único campeón posible de la religión y la libertad inglesas, mucho más temible que Monmouth por su carácter y prudencia, sus recursos militares y navales, sus alianzas europeas, los legítimos derechos de su mujer y suyos a la sucesión en el trono, y por el hecho de que mantenía las mismas relaciones amistosas así con los tories como con los whigs.
* * * *
Noviembre de 1685 fue la fecha de la segunda y última reunión del único Parlamento que Jacobo convocó. Nunca se celebró sesión más fatal en Westminster. La rebelión de Monmouth había redoblado el entusiasmo tory por Jacobo durante el verano; pero el «Tribunal de Sangre» llenó el otoño de siniestros rumores que perturbaron profundamente la opinión tory. El protestantismo europeo estaba entre la espada y la pared. En octubre, Luis XIV revocó el Edicto de Nantes y desató entre sus súbditos una guerra cruel e inmotivada contra los hugonotes, muchos de los cuales huyeron a Inglaterra, donde narraban historias de intolerables atropellos y ultrajes. Y en el mismo mes, antes de que se reuniese el Parlamento, hubo un alarmante crecimiento de la influencia católica romana en los consejos del rey de Inglaterra. Halifax «el Contemporizador» fue despedido en octubre a causa de su firme adhesión a los principios de la Ley de Pruebas; y hasta hombres de la alta iglesia aún más cortesanos, como los lores Rochester, Guildford y Clarendon, perdieron el poder. Sus lugares en los consejos íntimos del rey fueron ocupados por Sunderland y Jeffreys, que estaban dispuestos a servir todos los designios reales para superar en el favor a sus rivales, más escrupulosos. Sunderland todavía no había apostatado, pero ya conspiraba contra los protestantes con el padre Pedro, jesuita, y con otros católicos romanos extremosos, que consideraban la moderada opinión del papa como una insensatez. Entre tanto, el gran ejército organizado para aplastar la rebelión de Monmouth seguía en pie y el rey manifestó la intención de hacerlo permanente. Lo peor de todo era que gran número de sus oficiales eran católicos romanos, y tenían sus puestos en contra de la ley. ¿Iban a desatarse en Inglaterra dragonadas como las de Francia?El miedo a un ejército permanente, aunque estuviera mandado por protestantes, era general en aquella época a todos los ingleses, y era más fuerte que en nadie en los hijos de «caballeros», cuyas residencias campestres habían sido asaltadas por el ejército Nuevo Modelo, y qué habían sufrido confiscaciones y persecuciones cuando el país fue dominado por los «costados de hierro»[11] de Cromwell. Cuarenta años atrás un ejército permanente había destruido la iglesia de Inglaterra en beneficio de Ginebra, y otro ejército permanente podía ahora hacer el mismo servicio a Roma. El primer artículo del credo tory era que un ejército regular constituía un peligro para la Constitución, y que el país estaría bien defendido por una fuerte escuadra y por las milicias de los condados, mandadas por los squires y los magnates locales.
El ejército que había aplastado la rebelión de Monmouth ya se había hecho odioso por su conducta con la población civil, independientemente de las razones políticas. Los pobres «guerreras rojas», no disponiendo de cuarteles para ellos, fueron consignados al pueblo, que debía albergarlos, y no estando legalmente sometidos a los tribunales militares, su disciplina era inevitablemente laxa. Algunos miembros del Parlamento se quejaron en Westminster de «la opresión de los soldados, ladrones en sus tres cuartas partes y algunos criminales».
Por todas estas razones, pues, cuando Jacobo pidió a la Cámara de los Comunes, en noviembre de 1685, otra fuerte suma de dinero para sostener el ejército, los Comunes no se dejaron coger en la trampa. La opinión de la Cámara, tal como se expresó en los debates, era que el rey debía licenciar al ejército y, en compensación, aumentar la eficacia de las milicias. Pero Jacobo declaró que las milicias, aunque eran leales, habían demostrado su inutilidad durante la rebelión, y que Monmouth había sido derrotado por las tropas regulares. «Nada hay —dijo en los Comunes— sino una buena fuerza de tropas bien disciplinadas y regularmente pagadas, que pueda defendernos de quienes, en el interior o en el extranjero, están dispuestos a perturbarnos». Estas palabras de Jacobo eran ciertas: en frente de los ejércitos de nuevo modelo que tenían los países del continente, Inglaterra necesitaba una fuerza propia permanente. Las tropas regulares de Francia o de Holanda podían arrollar a nuestras milicias arrancadas al arado o a la herramienta de sus talleres. Además, las milicias no podían ser enviadas a luchar en el mar. En el reinado siguiente, no sólo Guillermo, sino sus ministros whigs, tomaron el partido del ejército contra sus propias milicias. Porque en este tiempo, y debido a la Revolución, el país podía sostener un ejército permanente sometido al voto del Parlamento y que no podría, en consecuencia, ser empleado para establecer el absolutismo real.
Pero en el invierno de 1685 Jacobo pedía a los Comunes que votasen dinero bastante a fin de que él pudiese sostener un ejército para sus propios y no confesados fines. Si lo obtenía, sería amo del Parlamento. Muy naturalmente, los Comunes se negaron, y el rey rechazó airadamente su petición de que, ya que estaba vencida la rebelión, podía pasarse sin los servicios de los muchos católicos romanos a quienes había dado mandos. Aquí estriba la conexión entre el asunto de la Ley de Pruebas y el del ejército permanente. Ante este dilema, la mayoría tory del más realista de los Parlamentos, de mala gana y en los términos más corteses, se negó a obedecer al rey. Los empleados públicos no eran bastantes para ganar por votos a los tories. Lo cierto fue que algunos funcionarios votaron contra la corte y se les dejó cesantes. Si Jacobo quería revocar la Ley de Pruebas, tenía que disolver el Parlamento y reformar de nuevo los distritos electorales.
La negativa del Parlamento tory a revocar la Ley de Pruebas, que excluía de los cargos públicos a los católicos romanos, fue el verdadero comienzo de los acontecimientos que desembocaron en la Revolución. Los motivos que indujeron a los diputados que tomaron esta vital decisión deben ser estudiados y comprendidos. Se ha argüido alguna vez que, puesto que la Ley de Pruebas, en cuanto afectaba a los católicos romanos, fue revocada sin malas consecuencias en 1829, el Parlamento de 1685 procedió mal al negarse a hacerlo. Pero las circunstancias eran extremadamente diferentes. La revocación de la Ley de Pruebas en los tiempos hanoverianos, con reyes protestantes controlados por Parlamentos protestantes, significa que los católicos romanos podían ser admitidos en el servicio público en proporción a sus méritos y a su número, y sin tender a ningún fin ulterior salvo el hacer justicia a todos los hombres. Pero en 1685 el rey era un romanista fanático y sumamente imprudente, y tal como era entonces la Constitución, el Parlamento no tenía ninguna intervención directa ni indirecta en los nombramientos que aquél hacía para el Gabinete, el Consejo Privado, el Ejército, la Marina, el Servicio Civil desde el Jefe del Tesoro hasta el último servidor de la Aduana, el Tribunal de Jueces y, en fin —aunque no sea el último de estos organismos por su importancia—, el Tribunal de Obispos. En el invierno de 1685 el Parlamento tenía graves razones para sospechar la verdad: que Jacobo quería poner católicos romanos en todos los puestos claves del poder, a fin de romanizar al país. El camino para llegar al favor real en todas aquellas ramas del gobierno y del servicio público era el catolicismo romano, cosa que para los protestantes quería decir apostasía. Tal fue, de hecho, la política seguida por Jacobo de 1686 a 1688, aunque la Ley de Pruebas no había sido derogada y sus nombramientos de católicos romanos para los cargos seguían siendo, por lo tanto, ilegales. ¿Habría procedido con más moderación si el Parlamento le hubiera permitido dar legalmente los cargos a sus correligionarios? Es absurdo suponerlo, y la actitud de los diputados tories negándose a revocar la Ley de Pruebas en 1685 está no menos plenamente justificada que su revocación en 1829 bajo circunstancias totalmente diferentes.
* * * *
Si Jacobo hubiera querido sólo la tolerancia religiosa para los católicos romanos la hubiera obtenido. De hecho, las odiosas leyes penales que castigaban sus ritos religiosos y condenaba a muerte o a cárcel a sus sacerdotes, en la práctica habían sido suspendidas con frecuencia y eran inoperantes en los últimos años de Carlos II. Nadie esperaba, ni por un momento, que Jacobo renovase las persecuciones contra su propia religión. Los católicos romanos tenían el disfrute efectivo, aunque no de derecho, de la libertad de cultos. Si en 1685 hubiera pedido al Parlamento que regularizase la situación de éstos, ya modificando o ya revocando las leyes penales, indudablemente lo habría obtenido. Rochester, Halifax, los Comunes mismos habían tendido algunos cables en esa dirección. Tal era la opinión del prudente papa Inocencio XI, y tal era el deseo de las viejas familias católicas de Inglaterra, apoyo el más leal de la casa de los Estuardos y el que más había sufrido en su servicio, que por larga y dolorosa experiencia conocían la fuerza del prejuicio protestante entre sus compatriotas. Su prudente llamamiento a la tolerancia sin supremacía se dejó oír en la Corte por las voces de sus jefes, lord Powys y lord Bellasyse.Ya en noviembre de 1685 los católicos moderados, así en el interior como en el extranjero, temían las consecuencias de la imprudente política del rey, cuando pidió al Parlamento no la revocación de las leyes penales, sino la revocación de la Ley de Pruebas. Pero en vez de escuchar al papa y a las viejas familias católicas, Jacobo escuchó a los jesuitas y al embajador francés, Barillon; en vez de pedir al Parlamento tolerancia para sus correligionarios, pidió para ellos la igualdad política, con el obstinado designio de usarla para llevar a efecto su predominio político.
Al ver que los Comunes no Votarían las fuertes sumas que les pedía para sostener el ejército ni consentirían en revocar la Ley de Pruebas, Jacobo suspendió airadamente las sesiones del Parlamento más realista que nunca haya sido elegido para sostener a los Estuardos. No volvió a reunirse. La memorable sesión había durado desde el 9 hasta el 20 de noviembre. Esos once días bastaron para demostrar que la política romanizante del rey tendría siempre la oposición del Parlamento, de los tories y de la iglesia anglicana. El primer plan del rey, de lograr sus fines por la vía legal, se vio que era imposible. ¿Qué iba a hacer después? ¿Buscaría un arreglo o compromiso, como le rogaban que hiciese sus hijas, que habrían de sucederle en el trono, el papa, España y el emperador, los viejos católicos ingleses y la iglesia anglicana? ¿O seguiría su camino atropellando las leyes, despreciando a la opinión, como le instaban a hacerlo los jesuitas y el embajador francés, respaldados por algunos ingleses complacientes como Jeffreys y Sunderland? En esta coyuntura, la fatal obstinación de su carácter decidió el futuro de Inglaterra y de Europa. Se había persuadido a sí mismo de que su padre Carlos I había caído por haber hecho concesiones. Declaró que nunca repetiría aquel error. Era tal su modo de ser, que no admitía un consejo que le desagradase ni aun de sus mejores amigos. Uno de sus más leales partidarios, Roger North, escribió de él, con absoluta verdad:
Eran tan fuertes sus prejuicios y tan débil su genio, que no admitía nada que no cayera dentro de sus designios, y creía que cualquier consejo en contra se le daba por política de partido más que por amistad hacia él.Con semejante carácter, era presa propicia de los aduladores. Sunderland, hombre astuto y sin principios, que en los días del complot papista había sido whig y exclusionista extremoso, vio que podía vencer a sus rivales en la carrera por el poder y la riqueza si aconsejaba siempre a Jacobo de acuerdo con sus inclinaciones del momento. Cuál iba a ser el fin de todo aquello, este jugador listo, pero de corta vista, no se lo preguntó nunca hasta que fue demasiado tarde. Sunderland hizo causa común con el padre Pedro, fanático y ambicioso, para estimular todas las peligrosas fantasías del rey y deshacerse por ese medio de sus rivales más tímidos o de más conciencia. No tardó en dársele a Sunderland el título de «primer ministro». Jeffreys, Lord Canciller, aunque algunas veces lamentaba las peligrosas e ilegales medidas del rey, consintió en ser instrumento suyo, y así conservó su puesto. Pero Rochester y Clarendon, los hermanos Hyde, que representaban el torismo extremoso de la alta iglesia anglicana, después de hacer muchas concesiones ignominiosas para conservar sus puestos, fueron licenciados en el Año Nuevo de 1686-7, porque no aparentaban, como el librepensador Sunderland, estar dispuestos a adoptar la religión de Roma. Con su caída, la iglesia de Inglaterra perdió su última verdadera representación en la Corte. Pero mucho antes de que los hermanos Hyde salieran de sus cargos, ya había empezado en serio el ataque contra la iglesia.
Puesto que el Parlamento se negaba a modificar las leyes, Jacobo sólo podía lograr sus fines si dejaba de ver en ellas una restricción del poder real. La prerrogativa de los reyes de Inglaterra, es decir, su vieja pretensión a ejercer un poder extralegal indefinido, había algunas veces, en el curso de nuestra historia, alcanzado proporciones monstruosas, aunque otras había venido a menos, sin llegar nunca a desaparecer. Esa prerrogativa iba a ser ahora reclamada una vez más y acomodada a la realidad substancial de una nueva Constitución inglesa. Este cambio vital en el ejercicio de la real autoridad debía efectuarse con la aprobación del ramo judicial. Jacobo ya había nombrado a Jeffreys Lord Canciller; podía, pues, cesar a cualquier juez que se negase a interpretar la prerrogativa como él deseaba, y podía nombrar jueces que actuasen, no como árbitros entre el rey y los súbditos, sino, según las palabras de Bacon, como «leones bajo el trono». Con su ayuda, podía ahora manipular a su gusto las corporaciones municipales, los magistrados y los distritos electorales, y nombrar una Cámara de los Comunes con la misma libertad con que nombraba a los jueces. Lores podía crearlos en el número que quisiera así que estuviera amañada la nueva Cámara de los Comunes. Un Parlamento constituido de esta suerte modificaría las leyes y le permitiría actuar legalmente, puesto que leyes y Parlamento se habrían convertido en instrumentos de la voluntad regia.
En suma, Jacobo, en su deseo de restaurar el romanismo en Inglaterra, creyó necesario convertirse en un monarca absoluto, como lo eran los otros príncipes de Europa. Las absurdas trabas medievales al poder real, peculiares de nuestra atrasada isla, debían ser eliminadas. Esta política identificó la causa del catolicismo romano con la causa del despotismo a los ojos de un pueblo dominado por fuertes prejuicios contra ambos. Tal alianza fue ruinosa en Inglaterra tanto para el romanismo como para el poder real.
Pero Jacobo, aunque mostraba suma imprudencia al acometer ese intento, tenía al menos algunas razones para esperar buen éxito. Poseía el dominio completo del poder ejecutivo, podía cesar y nombrar a todos los funcionarios del estado, y estaba en sus manos el patronato de la alta iglesia. Sobre todo, disponía de un gran ejército, tal que ninguno de los Tudores, ni su padre, ni su hermano, habían mandado uno semejante en tiempos de paz, y además podía llenarlo de católicos sacados de sus plazas fuertes de Irlanda. En realidad, había dispuesto las cosas tan bien, que sus súbditos sólo podrían vencerlo llamando en su auxilio fuerzas extranjeras. Ni aun así habría fracasado si, como confiadamente esperaba, los tories y los eclesiásticos seguían fieles a su peculiar doctrina de que nadie podía presentar al rey resistencia activa, aun cuando violase todas las leyes y persiguiese a la iglesia como otro Nerón. Otra de las equivocaciones de Jacobo fue pensar que contaría con la ayuda activa de los no conformistas puritanos si les libraba de la acción dé las leyes persecutorias.
Por otra parte, el rey se dejó engañar por ciertas analogías de la Europa contemporánea, las cuales en realidad no podían aplicarse a Inglaterra. Advirtió que la tendencia de la época en el continente era opuesta al protestantismo y a las libertades populares. El revocador del Edicto de Nantes era el Gran Rey, el Rey Sol, temido y admirado por todos sus vecinos. El protestantismo francés estaba en la agonía, y los protestantes holandeses, renanos y suizos esperaban su hora temblando. La libertad constitucional yacía en peor situación. ¿Dónde estaban los estados medievales de Francia y España? ¿Qué resistencia popular se oponía a la voluntad de los príncipes italianos y alemanes? Hasta en la obstinada Holanda iba en aumento el poder del Estatúder. Es verdad que Polonia tenía una constitución liberal, pero su proverbial anarquía era el hazmerreír de Europa. Sin duda —pudo haber pensado Jacobo— la marea de un movimiento tan general le haría flotar sobre los restos sumergidos de la medieval constitución inglesa. Hasta los isleños se doblegarían ante la necesidad del estado moderno de concentrar el poder.
En un sentido, Jacobo tenía razón: el equilibrio de los poderes real y parlamentario en Inglaterra anulaba constantemente la eficacia del gobierno, como en la cuestión del ejército permanente. Había que decidir de una vez por todas cuál de los dos poderes debía prevalecer. Jacobo forzó la solución.
Naturalmente, habría una fase difícil antes de que el rey obtuviese la victoria, una fase de lucha dura y de agobios financieros. Mientras durase la contienda interior, había que desechar toda idea de oponerse a Luis en el continente. Ya en octubre de 1685, antes de haber roto con el Parlamento, Jacobo había invitado al embajador francés a compartir su alegría por la destitución de su común enemigo Halifax. «No creo —dijo— que al rey vuestro señor le desagrade el alejamiento de Lord Halifax de mis Consejos. Sé, por el contrario, que a los ministros de los países confederados les mortificará tal medida». La política interior adoptada entonces por Jacobo significaba la amistad con Francia y la ruptura con su yerno Guillermo. No se firmó ningún tratado de alianza con Francia: no era necesario, según declaró el mismo Luis en 1688. Jacobo no podía oponerse a Luis, porque no tenía ningún otro amigo en Europa; y en Inglaterra, las nueve décimas partes de sus súbditos se oponían a su voluntad.
Al restaurar y fortalecer el eje anglo-francés de Carlos II, hizo que las otras naciones europeas, tanto protestantes como católicas, se pusieran del lado de sus enemigos ingleses. «Ningún príncipe —ha escrito el historiador alemán Ranke— ha tenido menos idea del equilibrio de poderes en Europa, que Jacobo II». Y «el resultado consistió —comenta Firth— que Europa fue tan indiferente al destino de Jacobo como lo era Jacobo al de Europa». En la crisis final, Guillermo tenía a su lado no sólo a los príncipes protestantes de Alemania, sino a Austria, España y el mismo papa.
* * * *
Los primeros encuentros en la lucha por la prerrogativa fueron favorables al rey. Se promovió una acción colusiva contra sir Eduardo Hales, oficial católico romano, a quien el rey, por medio de cartas de patente, había dispensado de la obligación de declararse protestante, de acuerdo con la Ley de Pruebas. En junio de 1686 un tribunal de doce jueces declaró que Hales podía conservar su cargo sin incurrir en pena, porque la facultad de dispensa era parte de la prerrogativa regia y podía ser ejercida en casos particulares por razones especiales. No es posible condenar por ilegal esta decisión, aunque abría un portillo por el cual Jacobo siguió su carrera hasta la completa destrucción de todos los derechos legales. Los reyes de Inglaterra siempre habían poseído, y lo retuvieron después de la Revolución, el derecho de suspender el efecto de una ley por razones especiales y urgentes en algún caso particular. Esta libertad de la acción ejecutiva es con frecuencia conveniente y en ocasiones necesaria para el bien público, particularmente en asuntos comerciales y especialmente cuando el Parlamento no sesiona. Si Jacobo hubiera usado meramente esta facultad de dispensa, reafirmada por los jueces en el caso de Hales, para conservar en su servicio a algunos católicos romanos, poco se habría hablado del asunto; pero empezó a meter en gran número a católicos romanos en todas las ramas del servicio público, ya civil o militar, hasta que finalmente ningún protestante se sintió seguro en su puesto a menos que estuviera dispuesto a apostatar. Y cuando, por la Declaración de Indulgencia, suspendió la aplicación de todo un cuerpo de leyes, convirtió la facultad de dispensa, que dentro de sus límites estrictos era legal, en un poder absolutamente ilegal que subordinaba la aplicación de todas las leyes a la mera voluntad del rey.Los jueces más conscientes pronto empezaron a pedir que se pusiera límite a semejante amplitud de la prerrogativa regia; pero apenas manifestaron sus objeciones, fueron destituidos y reemplazados por sujetos complacientes con la miserable pretensión de autoridades legales. El amaño del ramo judicial era esencial para que triunfase la política de Jacobo. La independencia de los jueces fue uno de los mayores beneficios que produjo la Revolución.
Una vez amañado el ramo judicial, Jacobo obtuvo un acuerdo relativo a la situación legal de los soldados. Dependía del ejército, que iba entregando gradualmente a oficiales católicos romanos y en cuyas filas empezaba a meter hornadas de católicos reclutados en Irlanda. La mitad de las tropas estaban acampadas en Blackheath para intimidar a la multitud protestante de la capital. Lo más difícil era mantener la disciplina en las filas. Si un soldado raso golpeaba a un oficial sólo podía ser procesado por agresión ante un tribunal civil; si desertaba, no se le castigaba con más severidad que a un jornalero fugitivo. Destituyendo a los jueces recalcitrantes, como Holt, Jacobo obtuvo un acuerdo según el cual la deserción se consideraba como traición, y algunos desertores fueron ahorcados en presencia de sus regimientos.[12] El rey podía, por lo tanto, mantener en filas a su ejército sin convocar al Parlamento. La Revolución estableció que la recluta y mantenimiento de un ejército permanente, en tiempo de paz, sin consentimiento del Parlamento, era ilegal; y la Ley de Sedición, aprobada sólo para un año, permitió desde 1689 que se castigasen adecuadamente la deserción y la insubordinación, y que la disciplina fuera mantenida en el ejército por tribunales marciales, a condición de que el Parlamento se reuniera todos los años y consintiera en renovar la Ley de Sedición y en conservar las fuerzas militares de la Corona.
Jacobo violó una ley tras otra. La prerrogativa lo era todo, y los estatutos nada, si desagradaban al rey. En 1686 empezó a preparar el ataque contra la iglesia de Inglaterra, entregando de nuevo al Tribunal de Alta Comisión el gobierno de la iglesia, en virtud de la prerrogativa regia, con la facultad de suspender y destituir a todos los eclesiásticos recalcitrantes. Este tribunal era ilegal, pues había sido abolido por decreto en 1641, en la primera sesión del Parlamento Largo, con el voto unánime de los futuros «caballeros» y de los «cabezas redondas». Y los Parlamentos de la Restauración habían tenido buen cuidado de no restituir a los reyes la facultad de restablecer dicho tribunal, porque los tories y los whigs querían que la iglesia conservase sus propiedades y sus libertades independientes de la voluntad real. Pero retando a los decretos de 1641 y 1661, que expresamente prohibían a la Corona instituir tribunales con jurisdicción semejante (Holdsworth, VI, pp. 112-118), Jacobo restableció el Tribunal de Alta Comisión, con Jeffreys como Comisario Jefe, para intimidar y amedrentar a los obispos y los eclesiásticos.
Inmediatamente procedió ese tribunal a suspender en sus funciones a Compton, obispo de Londres, por el delito de haberse negado a suspender ilegalmente a uno de sus eclesiásticos que había defendido la doctrina y la práctica de su iglesia contra las de Roma.
La Alta Comisión fue empleada después para atacar a las universidades, lo que consumó la ruptura del rey con el viejo partido realista. Oxford y Cambridge eran los centros en que se preparaba el clero de la iglesia establecida, y Jacobo vio que si podía romanizarlos, la romanización de la iglesia sería mucho más fácil. Olvidó que las universidades, y especialmente la de Oxford, eran la fuente espiritual e intelectual de aquellas doctrinas realistas y tories a las que debía su incondicional subida al trono. Si se enajenaba a Oxford y a todos los hombres que en el país la protegían y la amaban, destruiría el principal apoyo de su propio poder.
Por una serie de actos ilegales, fundados, cuando lo juzgaba necesario, en acuerdos del ilegal Tribunal de Alta Comisión, Jacobo sometió a tres grandes colegios de Oxford —Christchurch, University y Magdalen— a los principios romanistas. El Magdalen se convirtió en un mero seminario romanista después de haber sido expulsados de sus cargos los veinticinco profesores por haberse negado a violar la ley con motivo de la elección de presidente.
Ningún acto, ni siquiera el proceso de los siete obispos, influyó más para que el rey se enajenase a la iglesia. Oxford era el corazón del torismo y del anglicanismo y hasta entonces había sido el corazón del realismo. Oxford y la iglesia habían llevado a Jocobo al trono, a pesar de los tres Parlamentos exclusionistas, y éste fue el premio que recibieron por su lealtad a la Casa de Estuardo y a la persona de Jacobo. Cambridge, a quien él y su familia debían mucho menos, fue liquidada más fácilmente. Su Vicecanciller fue sencillamente destituido por Jeffreys y privado de su cargo por negarse a conceder ilegalmente a un fraile benedictino la graduación. Pero, puesto que Christchurch y Magdalen habían caído, era sólo cuestión de tiempo que el Trinity College y el King’s College sufrieran la misma suerte.
La expulsión de los profesores del Magdalen no era sólo un ataque a las universidades, sino que implicaba un ataque a los derechos de todas las personas eclesiásticas. Si los profesores eclesiásticos de la famosa, amada y privilegiada Corporación del Magdalen no podían conservar sus puestos en frente del poder arbitrario, todavía lo podrían menos los simples rectores y vicarios cuando a su vez fueran presionados por la Alta Comisión para que cometiesen algún acto ilegal. Si se permitía que durante algunos años el poder real prevaleciese sobre las leyes, día llegaría en que todos los eclesiásticos beneficiados de la iglesia establecida tendrían que elegir entre la apostasía o la expulsión. Por eso hasta los obispos de la alta iglesia, no obstante su teoría de la no resistencia, se negaron a pronunciarse contra la rebelión cuando Guillermo desembarcó, y por eso muchos de los más adictos feligreses se afiliaron a ella. La causa del rey estaba en absoluta oposición con las causas de la ley y de la iglesia.
* * * *
Ya en 1687 había visto claro Jacobo que no podría alcanzar sus fines contando con los hombres de la iglesia anglicana. Necesitó buscar otros aliados. El puñado de dudosos católicos romanos a quienes había confiado una peligrosa supremacía no podía por sí mismo gobernar a Inglaterra. El goteo de conversiones al romanismo entre los pares, los abogados y los funcionarios era lento, y habían de pasar muchos años antes de que los romanistas fueran bastante numerosos para gobernar la isla por sí solos. Mientras tanto, procuraría ganarse el apoyo de los más viejos y acérrimos enemigos de su familia y persona, los no conformistas puritanos. Éstos y los católicos romanos serían igualmente protegidos contra las leyes persecutorias de su culto o que les excluían de los empleos, y en cambio, le proporcionarían un partido con el que vencer la resistencia anglicana. Romanistas y «cabezas redondas» se unirían para suprimir a los «caballeros».De acuerdo con su nueva política, Jacobo promulgó en abril de 1687 la famosa Declaración de Indulgencia. En el preámbulo alaba los bienes de la tolerancia religiosa, y después, en virtud de su regia prerrogativa, deja en suspenso el Código Clarendon, la Ley de Pruebas de 1673 y todas las leyes dañosas para los católicos y para los disidentes protestantes. Carlos II, antes de aprobar la Ley de Pruebas, había publicado una Declaración de Indulgencia parecida, aunque menos extensa; pero había sido obligado por el Parlamento a derogarla por ilegal.
El poder de derogar disposiciones al por mayor, alegada por Jacobo en su Declaración, era muy diferente de la facultad de dispensa del efecto de una ley en ciertos casos particulares, como el de Hales. La facultad de dispensa había sido reconocida como legal cuando se aplicaba en las circunstancias adecuadas; pero esta pretensión mucho más amplia al poder de «dispensar de las leyes en masa», como dijo un miembro del Parlamento, o el poder de «suspensión», como se le llamó claramente, subvertía todas las restricciones constitucionales al poder de los reyes. Había sido reconocido como ilegal por Carlos II y su Parlamento. Verdaderamente, si fuese legal no habría más leyes que la voluntad regia.
¿Aceptarían la oferta los disidentes protestantes y se convertirían en aliados del rey? Todos los días sufrían cruel persecución y el rey, aunque ilegalmente, los protegía de ella. Acogiéndose a la Declaración de Indulgencia, reanudaron abiertamente sus servicios religiosos, y algunas de las primeras capillas no conformistas llevan la fecha de 1687. Pero ¿llegarían, por gratitud del rey, a unirse a los jesuitas para establecer el despotismo real? De esta suerte podrían gozar las dulzuras de la venganza contra sus persecutores anglicanos. Más ¿por cuánto tiempo? Bien el rey y su religión se fortalecerían con el paso de los años, hasta que los jesuitas se sintiesen bastante poderosos para tratar a los puritanos ingleses como sus correligionarios estaban siendo tratados en Francia por el amigo y patrono de Jacobo; o bien el rey fracasaba, o quizás moría, y bajo sus sucesores protestantes, Guillermo y María, se reuniría un Parlamento protestante que tomaría fiera venganza de todo el que hubiese atacado a la iglesia y a la Constitución de Inglaterra. Y, aparte de estos prudentes y previsores cálculos, ¿serían tan viles los hijos de los «cabezas redondas» que traicionasen la causa protestante y las libertades parlamentarias?
Una minoría de jefes no conformistas consintieron en ser aliados del rey; entre ellos estaba un hombre excelente, el cuáquero Guillermo Penn; pero la gran mayoría de los puritanos, incluyendo a los jefes de más autoridad moral, como Ricardo Baxter y Juan Bunyan, se adhirieron a la causa nacional. Estas adhesiones se generalizaron y fueron más activas en el transcurso de los años 1687 y 1688, a medida que los objetivos romanizantes y despóticos del rey se hacían más ostensibles de semana en semana.
Importantes declaraciones hechas por los partidos interesados, contribuyeron a mantener a las sectas puritanas del lado de la iglesia y de la nación. En primer lugar, los obispos y los jefes del partido anglicano o tory prometieron terminantemente apoyar una ley de tolerancia para el culto puritano tan pronto como se reuniese un Parlamento libre, promesa que cumplieron en 1689. En esta «extraña subasta», el rey y la iglesia compitieron en ofrecer protección a sus viejos enemigos, y en el verano de 1688 la iglesia había claramente vencido al rey.
En segundo lugar, Guillermo de Orange, en su propio nombre y en el de su mujer como presunta heredera del trono, hizo saber desde La Haya que era opuesto a la política de su suegro, que era partidario de la libertad de culto para los disidentes protestantes y católicos, pero que condenaba la revocación de la Ley de Pruebas y la admisión de los católicos romanos en los empleos públicos. Tal era la política tradicional de la Casa de Orange en Holanda: libertad religiosa, pero no igualdad política, para los católicos romanos. Al enunciarla Guillermo como panacea para los males de Inglaterra en 1687, agradó a los anglicanos y a los puritanos, y la consideraron razonable el partido anti francés del continente, el papa, España, Austria y hasta el viejo y moderado partido católico de Inglaterra, que buscaban en Guillermo un protector contra las represalias si Jacobo moría.
Los no conformistas puritanos contaban, pues, con la firme promesa de una ley de tolerancia por parte de los tories y de la presunta heredera del trono. Se les ofrecía un porvenir seguro si esperaban y no traicionaban los intereses protestantes en su precipitación por gozar del precario favor de Jacobo. Este dilema lo expuso Halifax en su famosa Carta a un disidente. En este frío y agudo análisis de la situación, el «Contemporizador» explicó a los puritanos el peligro de una alianza con los jesuitas y la necesidad de la unión nacional contra Jacobo. La Carta circuló anónima y apareció por primera vez en agosto de 1687, impresa en una imprenta clandestina, como la mayor parte de la literatura antigubernamental de aquel reinado.[13] La censura podía impedir la libre circulación, pero no contener la marea de libelos que llegaban de Holanda o salían de imprentas clandestinas de Londres. La Carta a un disidente circuló profusamente y tuvo gran influencia en aquellas circunstancias críticas.
Considerad —decía Halifax a los disidentes— que estos nuevos amigos no os han elegido libremente, sino que buscan en vosotros un refugio… Algo extraordinario debe ocurrir cuando la iglesia de Roma lanza escritos [anuncios como los de un curandero] y ofrece emplastos para las conciencias delicadas: pero toda la habilidad quirúrgica que hasta ahora ha mostrado consiste principalmente en una mano rápida para cortar miembros… Pensad un poco en lo peligroso que es construir sobre un cimiento de paradojas. El Papado es ahora el único amigo de la libertad y el enemigo más notorio de la persecución… Las cosas tienden por sí solas hacia lo que obtendríais si lo dejáis solo y, por una actuación inoportuna, no anuláis la influencia de vuestra buena estrella, que os promete todo género de prosperidades. La iglesia de Inglaterra, convencida de su error al trataros con severidad; el Parlamento, cuando quiera que se reúna, dispuesto a vuestro favor; la próxima heredera, criada en el país que con tanta frecuencia citáis como modelo de tolerancia [Holanda]; el acuerdo general de todos los hombres reflexivos, que piensan que nadie debe separaros de los protestantes extranjeros, sino al contrario, ensanchar las bases sobre las cuales debemos construir nuestras defensas contra el enemigo común, todo conspira en realidad para daros alivio y satisfacción, si por demasiada prisa en anticipar vuestra buena fortuna no la destruís vosotros mismos.En el verano de 1687 Jacobo se vio animado a esperar la alianza con los no conformistas por cierto número de escritos de gracias procedentes de comunidades disidentes de diversas partes del país, a quienes la Declaración de Indulgencia había librado de las persecuciones. Pensando que tenía a su lado a los puritanos, procedió a reformar las magistraturas de los condados, las corporaciones municipales y los organismos que elegían a los miembros del Parlamento, eliminando a los tories que en los seis años anteriores habían disfrutado un casi monopolio de esas estratégicas posiciones en el cuerpo político. Los substituyó con caballeros católicos romanos de viejas familias, muchos de ellos adscritos de mala gana a una política que juzgaban imprudente, mano a mano con comerciantes disidentes y tenderos que procedían de las tradiciones políticas de los viejos «cabezas redondas» y de Shaftesbury. A los lores y squires whigs no se les ofreció, o si se les ofreció no la aceptaron, ninguna participación en los reales favores; pero algunos hombres de filas del desorganizado partido whig, pertenecientes a la clase media no conformista, aceptaron cargos para cuyo desempeño no estaban legalmente capacitados, y de este modo quedaron enrolados como partidarios del rey y de la Declaración de Indulgencia.
En los últimos años de Carlos II, las cartas de privilegio de Londres y de otras muchas ciudades habían sido canceladas por procedimientos de quo warranto de dudosa legalidad, o las ciudades habían renunciado a ellas mediante presión para evitar medidas punitivas. El rey, en uso de su prerrogativa, había expedido nuevas cartas que concedían el monopolio de las corporaciones al partido tory. Los tories se habían alegrado con este dudoso ejercicio del poder real por parte de Carlos II, ya que había sido empleado para llevarlos a los puestos que ocupaban sus enemigos. Pero pronto tuvieron que volver a estudiar el asunto de la prerrogativa real en relación con las libertades municipales al repetir Jacobo II el acto de su hermano eliminando de las corporaciones a tories y anglicanos, substituyéndolos por católicos romanos y puritanos.
El efecto destructor que sobre la lealtad tory tuvo la purga verificada por Jacobo II en las corporaciones municipales y en las magistraturas de los condados, puede ser ilustrado con las siguientes palabras del conde de Aylesbury, el más alto de los tories, que se hizo jacobita y sufrió después el destierro a causa de su conmovedora lealtad hacia un amo cuya política había desaprobado con energía:
Al exponer los dos lamentables e imprudentes pasos —el secuestro del St. Mary Magdalen College y el encarcelamiento y proceso de los obispos—, omití una cosa que fue grandemente perjudicial para el rey, y fue la purga de las corporaciones municipales, grandes y pequeñas, destituyendo a buenos y leales súbditos que estaban por completo del lado de los intereses de Su Majestad, tanto en los días peores, cuando era duque de York, como cuando ciñó la corona…En resumen, buen número de «fanáticos», como los tories llamaban a todos los puritanos, se habían unido al partido del rey para estimularlo en su política e irritar contra él a los más leales tories; pero esos complacientes políticos que ahora, a título de «hombres del rey», llenaban las corporaciones municipales, no eran bastante fuertes ni en número ni en carácter para ejercer una influencia considerable. Y a medida que transcurrían aquellos funestos meses, los puritanos en todo el país convertían en antirrealista a más y más gente. Al atraerse a los puritanos, Jacobo se apoyaba en un cayado que acabó por romperse en sus manos. Los esfuerzos de Jacobo durante la mayor parte de los años 1687 y 1688 se dirigieron a amañar una Cámara de los Comunes que apoyase su política y derogase la Ley de Pruebas. La reorganización de las corporaciones iba en parte dirigida a este fin: la reorganización de las magistraturas de los condados de acuerdo con la misma orientación, no era menos esencial y demostró ser aún más difícil. En las ciudades, Jacobo podía al menos encontrar cierto apoyo precario en una minoría de comerciantes puritanos. En los distritos rurales sólo podía encontrar algunos caballeros que estuvieran dispuestos a servirle, a parte de los católicos romanos, muchos de los cuales entraron en el juego como «hombres obligados» a quienes disgustaba todo el asunto. Entre los protestantes, los caballeros campesinos, así tories como whigs, eran igualmente contrarios a la política real. Para disfrutar del favor regio, se les preguntaba si estaban dispuestos a apoyar la revocación de la Ley de Pruebas en el caso de ser elegidos diputados al nuevo Parlamento, o si al menos apoyarían a candidatos dispuestos a hacerlo. Los agentes del rey recorrían las residencias campestres de los squires sonsacándoles individualmente sobre esos puntos, usando alternativamente amenazas y promesas, pero casi siempre sin resultado. [14] La semejanza de las contestaciones dadas al cuestionario real demuestra que hubo muchas consultas secretas entre los whigs y los tories en todos los condados del país. El partido unificado que hizo la Revolución empezaba a tomar cuerpo, aunque todavía sólo para ofrecer una resistencia pasiva.
La ciudad de Londres fue la principal sacrificada, y sin iluda que encontraréis en nuestros anales los nombres de aquellos incomparables magistrados destituidos… aquellos dos pilares de la iglesia y de la monarquía, sir Juan Moore y sir Guillermo Pritchard, que acabaron con los facciosos y sediciosos tumultos y causaron la huída a Holanda de aquel turbulento conde Shaftesbury que murió allí poco después. Otros siete u ocho más fueron destituidos, y otros tantos repuestos o nombrados nuevamente, y todos de la cepa fanática… [Con ocasión de la visita del rey a la ciudad]. Hice notar a un lord que me acompañaba en mi coche qué caras tan serviles tenían los hombres que cubrían la carrera. «¿De qué se extraña usted?» —me dijo el lord—. «Todos los ciudadanos joviales y bien criados han sido eliminados y puestos en su lugar serviles fanáticos».
Jacobo advirtió que no podía amañar un Parlamento a la medida de sus propósitos, aunque puso en ello más empeño que ninguno de los reyes anteriores. En consecuencia, después de haber disuelto su viejo Parlamento tory, no llegó a convocar otro, si bien nunca abandonó la idea. Pero destituyó a los lores lugartenientes, a los diputados lugartenientes y a los Jueces de Paz que gobernaban los condados, poniendo en su lugar a católicos romanos y a puritanos que no tenían ninguna influencia y algunos de los cuales eran en su fuero interno contrarios a la política del rey. El completo colapso del poder real en un condado tras otro, cuando desembarcó Guillermo, se debió al hecho de que Jacobo no tenía una magistratura local efectiva a su servicio. Si hubiera tenido una burocracia pagada por él en los condados, como el rey de Francia en sus provincias, quizá hubiera salido bien del trance; pero dependía de una burocracia no pagada, compuesta por caballeros campesinos independientes. Era un instrumento que podía usarse únicamente para una política que no repugnase del todo a la clase de donde procedía.
El cargo de Juez de Paz había sido establecido en tiempos de los Plantagenet para mediar entre los poderes que los reyes reclamaban y la influencia que ejercían los terratenientes. Los monarcas de las casas de Tudor y de Estuardo habían intentado durante doscientos años que esos magistrados no pagados sirviesen a los objetivos de una burocracia consagrada a los fines partidistas de la Corona. Los Tudores lo lograron en bastante grado, porque gran parte de los caballeros campesinos era favorable a su política reformista. Los primeros Estuardos no habían logrado tanto, y Jacobo II fracasó por completo, porque pedía a los caballeros campesinos que le ayudasen en una política que aborrecían las nueve décimas partes de ellos, y que era igualmente odiosa para las otras clases de la comunidad.
En cierto sentido, pues, la Revolución fue el alzamiento de la magistratura local contra el poder central. La rebelión era necesaria para salvar las libertades constitucionales de Inglaterra; pero fue una desdicha que la independencia de los magistrados locales fuera aumentada por los sucesos de 1688-1689 —como ciertamente lo fue—, porque lo que Inglaterra necesitaba en interés del buen gobierno y de la reforma social no era menos control central, sino más. Jacobo, sin embargo, había identificado la causa del poder central con la causa católica y el despotismo sin ley. En la reacción que siguió, el control central perdió aún más terreno. Durante el siglo XVIII las magistraturas locales, tanto en las ciudades como en los condados, hicieron las cosas demasiado a su gusto, sin ninguna restricción por parte del rey ni del Consejo Privado. El desarrollo de la democracia y la reforma benthamita durante el siglo XIX produjeron el reajuste del equilibrio entre Whitehall y los magistrados locales.
* * * *
Ya en los primeros meses de 1688 la unión de clases, partidos e iglesias contra el rey y sus consejeros jesuitas iba borrando los lindes y sobreseyendo los pleitos entre whigs y tories, iglesia y disidentes. Estos antiguos enemigos, y la gran masa de opinión media, no adscrita permanentemente a ninguno de los dos bandos, formaron entonces una sólida falange para defender la Constitución y la religión protestante de Inglaterra. fue un renacimiento moral, tanto como lo baya sido cualquier movimiento político registrado en nuestros anales. Y como renacimiento moral, ya venía con retraso. Por reacción contra las consignas y la hipocresía del régimen puritano, el reinado de Carlos II había sido un período de moralidad política muy relajada y de escepticismo respecto del valor de la virtud. Las clases políticas se burlaban de los principios. Hombres como Buckingham, Shaftesbury y Sunderland habían sido los jefes característicos de aquel período apicarado. Jacobo, habiendo observado la conducta de los hombres públicos durante el reinado de su hermano, pensaba que no había en Inglaterra suficientes convicciones religiosas ni sentido moral capaces de resistir la fuerza del real desagrado o del favor real, si se empleaban con persistencia en hacer cambiar a los hombres de religión. Este reto era un insulto a la nación, pero no completamente inmerecido. Evocaba una respuesta memorable. Davenant, el libelista tory, recordaba doce años más tarde en qué grado habían excitado las almas aquellos tiempos:Las medidas adoptadas por el rey Jacobo para cambiar la religión del país, renovaron el celo en las mentes de toda clase de hombres: se adhirieron con más ardor a lo que temían perder. Los cortesanos se aprestaban a dejar sus cargos antes que cometer acciones que pudieran traer perjuicio a la iglesia de Inglaterra. Ni la vida licenciosa en la escuadra y el ejército llegó a quebrantar los principios de nuestros marineros y soldados, que se mantuvieron firmes. Los clérigos estaban preparados para morir con sus rebaños y discutían las partes discutibles de la Teología con valor primitivo y sabiduría admirable. Las iglesias en todas partes rebosaban de fieles, y la perspectiva de la persecución, aunque por ventura un poco lejana, avivaba la devoción.Y si los principios se alistaban contra Jacobo, también lo hacían los prejuicios. Las pasiones anticlericales de las multitudes inglesas, que se excitaban fácilmente hasta quemar capillas de disidentes puritanos, aun miraban con más odio y temor a los jesuitas y al culto romano. La temperatura política de la opinión pública inglesa en el verano de 1688 sin duda hubiera bastado para contener a Carlos I o a Carlos II. Pero Jacobo, obstinado en la idea de que su padre había caído por haber hecho concesiones, y rodeado de aduladores que lo engañaban para seguir aferrados a sus cargos, no sólo siguió su carrera, sino que echó en la hoguera la leña del proceso de los siete obispos.
* * * *
Este famoso proceso se suscitó con la segunda publicación, en la primavera de 1688, de la Declaración de Indulgencia, publicada por vez primera el año anterior. Había pocos cambios en el contenido de la Declaración: otra vez eran tirados al basurero «montones de leyes» por decreto real. Pero en esta ocasión se dio un paso más. Los clérigos de la iglesia establecida eran requeridos por el rey a leer la Declaración en sus iglesias después del oficio matinal. Eran pocos los clérigos beneficiados de Inglaterra que no creyesen que la Declaración era ilegal, y se les quería obligar a todos a ser partícipes de la ilegalidad. Todo párroco que se resistiese estaba expuesto a ser llevado ante el Tribunal de la Alta Comisión y ser suspendido o destituido por desobediencia. La iglesia tenía que recapacitar acerca de la política que había de adoptar en tan duro aprieto.Si todos los eclesiásticos se negaban a leer la Declaración, sin duda sería difícil, si no imposible, proceder contra ellos. Más ¿podía esperarse esa unanimidad? Y si unos la leían y otros no, los desobedientes serían sacrificados. Era necesario seguir una política unánime. La obediencia al rey había sido durante mucho tiempo la principal doctrina enseñada por la iglesia de Inglaterra; pero ¿dónde estaban, si es que los había, los límites de aquella obediencia?
Tras angustiosos debates con los jefes eclesiásticos y laicos del partido de la iglesia, el arzobispo Sancroft y la mayoría de sus sufragáneos recomendaron la desobediencia universal a la orden del rey.
La significación del consejo del Primado a su clero[15] era grandísima, porque Sancroft, por naturaleza hombre tímido y retraído, pertenecía a la más estricta escuela del alto clero, el cual hasta entonces había enseñado que la voluntad del rey era la guía para todos sus súbditos verdaderamente cristianos. Hasta ahora Sancroft se había mostrado dubitante y frío en la resistencia de Jacobo, a pesar de lo mucho que lamentaba su política; pero en aquella crisis suprema no vaciló. Él y sus sufragáneos declararon que el Parlamento, y no el rey, era la fuente de las leyes, y que el rey sin el Parlamento no podía suspenderlas. La Declaración, pues, aun a los ojos de los altos tories, era ilegal y aconsejaban al clero que se negase a leerla. Pero al mismo tiempo reiteraban su promesa de apoyar una Ley de Tolerancia para los cultos disidentes cuando se reuniese el Parlamento. La iglesia y el partido tory habían dejado de ser ultra realistas y se habían convertido otra vez en un partido parlamentario, inclinándose a la tolerancia religiosa, que anteriormente invocaban sólo los whigs. Éste fue el germen del Ordenamiento de la Revolución.
* * * *
El domingo en que el clero de Londres recibió la orden de leer la Declaración, sólo cuatro entre ciento obedecieron.Los desobedientes habían sido animados a adoptar su actitud por los jefes disidentes de Londres, quienes declararon que no querían el alivio que les ofrecía la Declaración, ya que ésta tendía a destruir las leyes y la religión protestante. Quince días después, el clero del resto del país recibió la orden de leer la Declaración, pero siguió el ejemplo del clero de Londres. La iglesia desafiaba al rey.
Ante la oposición de tal sector de la sociedad, y en realidad de casi todos los sectores, bien podía haber desistido Jacobo. En lugar de esto, siguió adelante e hizo que se procesara a Sancroft y otros seis obispos por la publicación de un libelo sedicioso, como él llamaba a la petición que le habían presentado suplicando que el clero no fuese obligado a leer la Declaración, ya que era ilegal. Hasta Sunderland, que recibía de Francia 60,000 libras al año y acababa de mostrarse partidario de la reconciliación con Roma para conservar su puesto al frente del gobierno, se asustó de tanta audacia y empezó a temer que él y su amo habían ido demasiado lejos. Firmó de mala gana el auto de prisión de los siete obispos, pero inició una política de «seguridad» poniéndose en comunicación secreta con Guillermo de Orange.
El proceso de los siete obispos, el drama histórico más grande que se haya desarrollado nunca ante un tribunal inglés autorizado, caldeó al máximo los sentimientos populares. El espectáculo de los siete prelados, de carácter intachable y de reconocida lealtad hacia Jacobo (¡cinco de ellos fueron después jacobitas!), encerrados en la Torre como reos de un crimen, hizo ver con más claridad que nada, que hasta los más venerados y leales súbditos del país serían sacrificados si se negaban a participar activamente en los designios ilegales del rey. Si los obispos eran castigados, ¿quién podía esperar que escaparía a la real venganza?
Los acusados tuvieron la ventaja de que se les sometió a proceso público. El 29 de junio de 1688, Westminster Hall y las calles y plazas que lo rodean estaban atestados de una multitud inmensa, embargada de una intensa emoción. Casi la mitad de la Cámara de los Lores asistió al drama como espectadora; los hombres públicos más importantes del país llenaban el patio del Tribunal del Rey, para ver triunfar el limpio juego de los obispos. En este tiempo los jueces ya habían sido cuidadosamente depurados por el rey; pero en esta ocasión dos de ellos se arriesgaron a aconsejar al jurado en favor de los acusados, gesto de independencia que les valió ser destituidos a la semana siguiente. Fracasó un intento de los abogados de los prisioneros para obtener la absolución mediante sutilezas técnicas, y las únicas soluciones que se le ofrecieron al jurado fueron las únicas soluciones verdaderas del asunto. El jurado tenía que decidir si a los súbditos les asistía el derecho de petición ante el rey y si la Declaración de Indulgencia era ilegal o no. Durante toda la noche tuvo que permanecer deliberando a causa de un solo voto discrepante; pero al día siguiente pronunció por unanimidad un veredicto de no culpabilidad. Las escenas que tuvieron lugar en la sala misma del tribunal después de la absolución, la loca alegría del pueblo en las calles de la capital durante todo el día, seguido de una noche alumbrada por hogueras y con los balcones iluminados con siete velas, el regocijo aún más alarmante de las mismas tropas del rey en Hounslow Heath, todo hubiera advertido a otro que no fuera Jacobo que el terreno se hundía bajo sus pies.
Pero Jacobo no retrocedió. Lo engañó una nueva esperanza. Unas tres semanas antes del proceso de los obispos, la reina (María de Módena, su segunda esposa), le había dado un hijo. Como durante muchos años no había tenido descendencia, las gentes se consternaron ante este hecho natural que tan de cerca afectaba a sus intereses.
En el siglo XVII el pueblo creía cualquier cosa. Los católicos pensaron que aquello era un milagro, y los protestantes dijeron que era una impostura. No era ni una cosa ni otra. (G. N. Clark, p. 121).El desdichado príncipe, que años más tarde fue llamado «Jacobo III» o el «Viejo Pretendiente», era, naturalmente, hijo de Jacobo II; pero su padre había cometido la torpeza de no llamar a testigos protestantes del pueblo que, de acuerdo con la costumbre, diesen testimonio de que había nacido el heredero del trono. La historia de que el niño había sido introducido en el lecho de la reina envuelto en un calentador o de otra manera, fue explotada por los enemigos de Jacobo ante una nación que creía a los jesuitas capaces de cualquier villanía. Durante mucho tiempo Ana dudó si el pequeño Jacobo era hermano suyo o no. Y los tories en general buscaban en la duda un alivio para su conciencia. Los whigs se ocuparon menos del asunto y, después de utilizar esa historia durante el año 1688, la olvidaron, porque no creían en el derecho divino de los reyes y estaban dispuestos a excluir al príncipe aunque fuera hijo de Jacobo. Años más tarde, los tories reconvinieron a los whigs, durante el proceso de Sacheverell, el no haber admitido la historia del calentador, y en 1711 Swift escribió en el Examiner, periódico tory, que la creencia popular debía haber sido mantenida «fuera verdadera o falsa».
En junio de 1688 el nacimiento del príncipe agudizó mucho más las diferencias entre el rey y la nación. Ahora había un heredero indudable del trono, un varón que por derecho eliminaba a las presuntas herederas protestantes, sus hermanastras María y Ana. Y nadie dudaba que sus padres, católicos romanos, lo educarían en sus creencias religiosas. Hasta entonces muchos tories estaban resignados a esperar pacientemente el alivio de la situación con la muerte de Jacobo, y todos sus planes acerca de la sucesión de las hijas protestantes se vinieron al suelo. Una larga serie de reyes católicos iba a continuar la política de aquél, a menos que sus súbditos no acudiesen a la resistencia armada.
Mientras el nacimiento del príncipe impulsaba a tories y whigs a preparar la revolución, proporcionó a Jacobo un nuevo motivo para obstinarse en su conducta. Si él vivía hasta que el niño fuera mayor de edad, todo iría bien; y si, como no era improbable, moría siendo aún su hijo menor de edad, debía dejar tras sí un partido católico romano bastante poderoso para que los protestantes no lograran apoderarse de la voluntad del pequeño Jacobo y lo inclinaran a la religión de la iglesia en Inglaterra. De esta suerte, el proceso de los siete obispos y el nacimiento del príncipe de Gales coincidieron en el período revolucionario del reinado de Jacobo. El historiador tiene ahora que bucear en los anales de la conspiración y sopesar las probabilidades de una revolución. El 30 de junio de 1688, fecha de la absolución de los siete obispos, fue enviado secretamente a Guillermo de Orange un documento en que se le invitaba a desembarcar en Inglaterra con un ejército, en torno del cual se agruparía todo el país levantándose en rebelión contra el gobierno de Jacobo. No contenía ningún ofrecimiento de la Corona ni indicación acerca de cuál sería el arreglo definitivo a que se llegaría. La invitación fue firmada con clave por Devonshire, Russell y Sidney por los whigs; por Danby y el obispo de Londres por el partido tory y por la iglesia, y por Shrewsbury y Lumley, cuyas firmas atestiguaban el renovado celo de la nación por el protestantismo, al cual hacía poco que se habían convertido estos dos nobles.
Durante un año o más, los jefes whigs y tories, olvidados de sus antiguas querellas, habían celebrado conferencias secretas para la defensa de los derechos públicos, en ocasiones de acuerdo con Dykvelt, agente de confianza de Guillermo, en representación de la esposa de éste, María, presunta heredera del trono. Los planes de resistencia constitucional adoptados en todo el país habían sido madurados en esas conferencias, pero la idea de un levantamiento en armas no se tomó en consideración hasta la primavera de 1688 ni en Londres ni en La Haya. Después la marcha se aceleró, y en junio el proceso de los siete obispos, y más aún el nacimiento del príncipe de Gales, persuadieron a los hombres más audaces de los partidos ingleses que había que recurrir a la fuerza.
No era demasiado pronto, porque el sentimiento contra el rey no podía ser más fuerte ni más universal de lo que ya lo era. Y un año después ya podía ser demasiado tarde, porque la fermentación popular está sujeta a períodos de decadencia por agotamiento. Además, Jacobo había empezado a transformar su ejército introduciendo en él reclutas de la católica Irlanda. Este procedimiento disgustó profundamente a los soldados ingleses, que consideraban a los irlandeses como una raza inferior sometida, y se sintieron más alejados del rey que nunca. Los «guerreras rojas» acampados en Hounslow Heath, habían acogido con aplausos la absolución de los obispos. Si se le daba a Jacobo tiempo para meter en el ejército bastantes irlandeses, otra vez podría fiarse de la lealtad de sus regimientos; pero entre tanto, la moral de su ejército estaba espantosamente relajada. La revolución fue deliberadamente calculada a tiempo para sorprenderlo en tan difícil situación.
Ya no existía otra esperanza de alivio que la rebelión. Aunque el pueblo siguiese considerando falso al príncipe de Gales, sucedería en el trono a Jacobo, si éste llegaba a morir en posesión de él. La resistencia constitucional llegaba al límite de su eficacia. Los obispos habían sido absueltos, pero toda la autoridad ejecutiva seguía en manos del rey, que se ocupaba ahora activamente en reorganizar el ejército, la administración de justicia, la magistratura local y los distritos electorales. ¿Por cuánto tiempo podían dejársele manos libres? Pues aunque Jacobo tenía contra él la ley, tenía el poder de su parte, y si lograba amañar una Cámara de los Comunes, como estaba tratando de hacerlo a toda prisa, el Parlamento lo pondría de acuerdo con la ley, ya que las nuevas disposiciones serían disposiciones absolutistas. Estos motivos para actuar inmediatamente le fueron claramente expuestos a Guillermo en la invitación que se le dirigió el 30 de junio.
La doctrina whig relativa al contrato entre el rey y el pueblo justificaba la rebelión contra un rey que conculcaba las leyes; y la mitad de los tories, dirigidos por su antiguo jefe Danby, y por Compton, obispo de Londres, se adhirieron a la doctrina whig en ese punto. La otra mitad de los tories, dirigida por el arzobispo Sancroft y por lord Nottingham, no estaba dispuesta a la rebelión, pero se abstendría de defender al rey de palabra y de hecho hasta que su poder de hacer daño hubiera sido destruido por otros menos escrupulosos que ellos. Porque la doctrina de la no resistencia exigía sólo una obediencia pasiva, no activa, a un rey tiránico. Según los teólogos de la alta iglesia, San Pablo había enseñado que los cristianos podían someterse a Nerón, pero no acudir a las armas para defender a su perseguidor contra una conspiración de la guardia pretoriana. Los enemigos de Jacobo calculaban, pues, que el poder del rey sería vencido, ya que todos los whigs y la mitad de los tories se lanzarían a la rebelión activa, mientras la otra mitad de los tories asistiría a la lucha con las armas enfundadas.
En realidad, el único peligro verdadero para el éxito inicial de una rebelión estaba en las fuerzas armadas de la Corona. Para evitar tal peligro, una conspiración cuyo centro era lord Churchill (conocido después como el gran Marlborough) fue ampliamente extendida entre los oficiales del ejército; otros agentes trabajaban activamente entre los capitanes de la escuadra. Los hombres de filas de los regimientos y las tripulaciones de los barcos, aunque no entraban en la conspiración, estaban profundamente disgustados con el rey, aunque nadie pueda decir si el disgusto llegaba al punto de propiciar el motín. Se creía que la escuadra era más fervorosamente protestante que el ejército, sobre todo en aquellos días en que un «viento protestante» impulsaba a los navíos de Guillermo y podía proporcionar al invasor un desembarco sin contratiempos, como en efecto ocurrió. Se acordó que el posible libertador traería a Inglaterra una fuerza armada considerable, no necesariamente lo bastante grande para derrotar a los regimientos del rey en batalla campal, pues de todas veras se deseaba evitar el encuentro; pero sí suficiente para tenerlos en jaque hasta que se desintegrasen por las deserciones y hasta que el resto del país se levantase en armas. Si se levantaba la bandera de la rebelión sin contar con un serio apoyo militar, como Monmouth lo había hecho imprudentemente, pocos osarían unírsele: Sedgemoor y el Tribunal de Sangre estaban muy frescos en el recuerdo.
Algunas veces se ha preguntado: ¿Por qué los whigs y los tories llamaron en 1688 a fuerzas extranjeras? ¿Por qué no se levantaron en rebelión como ingleses que luchan entre sí, como habían hecho los «cabezas redondas» en 1642? La situación de aquéllos era mucho mejor, pues el país estaba mucho más unido contra Jacobo II que contra Carlos I. ¿Por qué, pues, invitaron a intervenir a elementos extranjeros? El hecho de que Jacobo aumentase su ejército con irlandeses, a quienes los ingleses consideraban como extranjeros más odiosos que los holandeses, puede ser una excusa, pero no es una respuesta.
La respuesta nos la da la diferencia de las situaciones. En 1642 Carlos I no tenía otro ejército que el que pudiera reclutar con voluntarios realistas; en 1688 Jacobo poseía en pie un gran ejército regular. En 1642 funcionaba un Parlamento como centro de autoridad en torno del cual era posible agrupar los hombres contra el rey; en 1688 no había Parlamento. Era necesaria, por lo tanto, una bandera para convocar y organizar la oposición contra Jacobo.
Se necesitaba, pues, un ejército de liberación, así como un caudillo bajo cuya bandera pudieran reunirse gustosamente todos los sectores de la oposición. El único ejército posible para tal objeto era el que pudiera entresacarse de las tropas profesionales de la República Holandesa, fuerza poliglota protestante, incluido un contingente inglés, cuya presencia contribuiría a mitigar el aspecto de invasión extranjera. Y la única persona en torno de la cual se agruparían con igual confianza whigs y tories era Guillermo de Orange, esposo de María, la hija mayor del rey. Por una feliz coincidencia era Guillermo, como Estatúder de Holanda, el único hombre en situación de conducir la fuerza deseada. También podía, como jefe de la alianza europea opuesta a Francia, contar con la ayuda de los príncipes protestantes de Alemania, de España, de Austria y, cosa sorprendente, del papa mismo, para su expedición contra el aliado de Luis XIV.
Por razones que se refieren principalmente a los últimos años de su reinado en Inglaterra, a Guillermo se le considera como un héroe whig más que como un héroe tory. Pero en 1688 y durante algunos años subsecuentes a la Revolución, fue un jefe igualmente agradable y desagradable a los dos partidos, y sus propias ideas no eran más whigs que tories.
En religión, gustaba más a los whigs, porque era un calvinista latitudinario dispuesto a reconocer a la iglesia de Inglaterra. Por temperamento, convicción y política, se inclinaba a la tolerancia religiosa (aun respecto de los católicos romanos) y, sobre todo, deseaba la unión cordial de todos los protestantes en frente del poder de Luis, que los había destruido en Francia y los amenazaba en Holanda y en el Rin. En suma, Guillermo era lo que nuestros antepasados llamaban un «hombre de la baja iglesia». Esto podían tolerarlo los tories, pero no aplaudirlo. A los whigs, en cambio, les agradaba.
Por otra parte, las relaciones políticas de Guillermo eran más tories que whigs. Su partidario inglés más antiguo fue Danby, jefe tory, que negoció en 1677 su matrimonio con María; los tories habían apoyado sus pretensiones al trono, cuando los whigs más extremosos trataban de suplantarlos a él y a su mujer con Monmouth, cosa que Guillermo no podía olvidar fácilmente. Además, representaba en su persona al partido antirrepublicano de Holanda. Como Estatúder de Holanda y como jefe de una casa real, tenía tendencias hacia la prerrogativa regia que más bien eran tories que whigs. Dudaba de los whigs como de republicanos encubiertos, celosos del poder real que él, en su fuero interno, esperaba obtener para usarlo en derrotar a Luis de Francia. Para tal fin, ambicionaba tener en Inglaterra toda la autoridad que le fuera posible. Si llegaba a ser rey, quería disponer efectivamente de todo el poder real. Aunque, a diferencia de Jacobo, estaba dispuesto a observar todas las leyes que limitaban el poder real, de ninguna manera quería ver aumentado el número de esa clase de leyes. Era nieto de Carlos I; la Casa de Orange y sus partidarios habían sido enemigos encarnizados de los revolucionarios que lo habían decapitado. En resumen, Guillermo no era whig, y en 1688 tenía igualmente el favor de los dos partidos ingleses, cuyas diferencias interiores comprendía, lamentaba y despreciaba. Consideraba la torpe conducta de whigs y tories como una de las causas principales del peligro francés en Europa, y de las perturbaciones interiores que precisamente entonces afligían a los ingleses mismos.
Guillermo no fue a Inglaterra por amor al país o por piedad hacia sus desgracias. Ni el país ni sus habitantes le merecían ningún cariño, que tenía centrado en Holanda. Su mujer amaba a Inglaterra, pero él no tenía la costumbre de informar su política consultando a María, ni ella le hubiera animado a atacar a su propio padre. Su dulce naturaleza percibía toda la tragedia de su situación, pero aceptó en silencio la decisión de su marido, a quien adoraba, como el único medio de salvar a Inglaterra, a Holanda y a la causa protestante en Europa.
Guillermo, pues, no estaba en la obligación personal o moral de arriesgar la fortuna del pequeño país de diques y canales en favor de otro país que con frecuencia les había tratado a él y a Holanda muy mal. Pero a su juicio desapasionado le parecía que Holanda sólo podía ser salvada de la conquista definitiva por Francia si Inglaterra era atraída, como participante activa, a la alianza anti francesa que trabajosamente había formado en Europa. Si llegaba a ser rey de Inglaterra, ese objetivo quedaba indudablemente asegurado. Si este medio fracasaba, el objetivo aún podría ser logrado si la política de Jacobo fuera sometida a la voluntad de un Parlamento libremente elegido. Por tales razones se decidió a correr los grandes riesgos de la invasión de Inglaterra, y procedió a hacer sus preparativos —militares, diplomáticos y políticos— con una mezcla de audacia y de prudencia que hace de él uno de los grandes hombres del mundo.
La Declaración de Guillermo, con la que anunció su empresa, decía que había sido invitado por ciertos lores espirituales y temporales a restaurar las destruidas libertades del pueblo inglés. La principal cláusula de la Declaración era la que prometía que todas las cuestiones pendientes serían resueltas por un Parlamento libremente elegido. «Un Parlamento libre» era la misma consigna que Monk lanzó como preludio de la restauración de Carlos II. En realidad, hubo muchas cosas parecidas en los movimientos de 1600 y de 1688. En los dos casos el objeto fue librarse de un poder arbitrario e ilegal apoyado por la fuerza militar, un Parlamento libremente elegido. Y en ambos casos se pensó que los dos objetivos se lograrían y perpetuarían mejor colocando a un nuevo rey en el trono.
Guillermo y los ingleses que lo invitaron vieron claramente que la apelación a un Parlamento libre era la única consigna posible para unir a todos los enemigos de Jacobo, whigs y tories, iglesia y disidentes. Cualquier indicación prematura acerca del ordenamiento de las cosas públicas que seguiría a la Revolución, sobre todo cualquier insinuación sobre si Jacobo sería destronado o, por el contrario, conservado en el trono, dividiría a la nación en el momento mismo en que la unión era esencial, suscitando la discusión cuando la acción debía ser rapidísima. Era bastante anunciar que un Parlamento libre resolvería todas las cuestiones pendientes. Pero un Parlamento no podía ser elegido libremente, y si era elegido no tendría poderes para resolver aquellas difíciles cuestiones, si antes no era destruido el poder militar de Jacobo. Cuál situación sería la suya después que fuera vencido, dependía en parte del Parlamento, y quizá más aún del mismo Jacobo.
* * * *
Las dificultades políticas y diplomáticas que Guillermo tenía que vencer antes de poder hacerse a la vela, eran tantas y tan grandes que no habría bastado toda su habilidad si la suerte no le hubiera ayudado.Los holandeses no eran un pueblo aventurero, y era necesario obtener su unánime consentimiento para esta aventura muy arriesgada. El partido republicano que dominaba la gran ciudad de Amsterdam deseaba limitar los poderes del Estatúder, y en circunstancias normales habría visto con disgusto que Guillermo fortaleciese su poderío en Holanda llegando a ser rey de Inglaterra. Además, el partido republicano era el partido de la paz, ansioso de mantenerse en buenos términos con Francia, y si los holandeses atacaban a Jacobo, indudablemente entrarían en guerra con Luis XIV. El partido hostil a Guillermo constituía en realidad una minoría en los Estados Generales de Holanda, pero la Constitución Federal de las Provincias Unidas autorizaba aun a la minoría más pequeña para detener la acción del ejecutivo. Cualquiera de las Siete Provincias, y cualquiera ciudad de cualquiera de esas provincias, podía vetar el empleo del ejército y de la escuadra de la Federación en la proyectada expedición. Toda la habilidad política de Guillermo no habría logrado la necesaria unanimidad si su enemigo Luis XIV no le hubiera ayudado sin saberlo.
Si en 1688 Luis hubiera hablado amistosamente a la República Holandesa, o si hubiese establecido un gran ejército cerca de su frontera, Guillermo no hubiera podido hacerse a la vela. Pero el rey de Francia atravesaba uno de aquellos raptos de violencia que en varias ocasiones de su vida destruyeron en un momento la obra política de muchos años. En 1688 insultó y amenazó a los holandeses en tales términos, que hasta el partido republicano, inclinado a la paz, se unió a Guillermo. Al mismo tiempo, retiró las tropas que amenazaban a Holanda, para emplearlas en una campaña contra los príncipes alemanes del Rin. Los holandeses llegaron a la unánime conclusión de que debían aprovechar el momento de seguridad que les daba el alejamiento de las tropas de Luis para permitir a su Estatúder que se ganase la alianza de Inglaterra, porque ningún otro recurso podía, en último extremo, protegerlos contra tan mal vecino como el rey de Francia. De este modo, autorizaron en el último momento a Guillermo para que fuese a Inglaterra llevando consigo la escuadra y algunos regimientos al servicio de Holanda.
¿Por qué cometió Luis el mayor error de su vida al retirar la presión militar sobre Holanda en el verano de 1688? Estaba disgustado con Jacobo, que imprudentemente había elegido aquel momento para renunciar a la ayuda y consejo de su patrono francés, sobre cuya amistad había basado toda su política. Pero Luis no se dejaba dominar enteramente por la pasión. Sin duda estaba irritado contra Jacobo; pero también calculó que si Guillermo llegaba a desembarcar en Inglaterra habría guerra civil y un largo período de luchas, como era frecuente en la turbulenta isla. Entre tanto, se dedicaría a la fácil conquista de Europa. «Durante veinte años —dice Lord Acton— estuvo deseando neutralizar a Inglaterra mediante perturbaciones internas, y se alegró al ver que los holandeses se le quitaban del camino yendo a Inglaterra mientras descargaba un golpe al emperador Leopoldo en Alemania». Pensó que «era imposible que el conflicto entre Jacobo y Guillermo no le proporcionase alguna buena oportunidad». Este cálculo no es tan absurdo como parece después de ocurridos los hechos. Si fracasó, fue por la inesperada rapidez, la ausencia de lucha y la solidez de un nuevo tipo de revolución. Porque lo que ocurrió era lo opuesto a todos los precedentes. El movimiento revolucionario que empezó en Inglaterra en 1640 se había arrastrado durante doce años antes de producir a Cromwell, armado de todas armas y preparado para intervenir de un modo efectivo en los asuntos de Europa. Pero la Revolución de 1688 produjo en pocos meses una nación unida, llena de desconfianza hacia Luis y, aunque todavía no experta en cosas de guerra, tenazmente decidida a reaprender aquellas artes mediante años de experiencia, hasta que Luis fuera vencido y Europa salvada.
* * * *
A fines de septiembre de 1688 se sabía en todas partes que los preparativos que se hacían en los muelles de Holanda iban dirigidos contra el gobierno inglés. Jacobo, al fin, se alarmó, y ofreció grandes concesiones a la opinión pública. Abolió el Tribunal de Alta Comisión, devolvió sus plazas a los profesores expulsados del Magdalen College, restableció las antiguas cartas de privilegio de Londres y de otras ciudades, y prometió reinstalar en las lord-lugartenencias y en las magistraturas a muchos de los nobles y caballeros tories a quienes había destituido.Estas concesiones, hechas seis meses antes hubieran tenido profundo efecto, pero en ese momento no tuvieron ninguno. Claramente se advertía que eran consecuencia de la inminente invasión holandesa. Además, aun entonces se negó a solucionar el principal asunto, o sea el relativo al poder de suspensión de las leyes. Conservó en los cargos a los católicos romanos, contrariando las leyes que aún creía que tenía el derecho de suspender por su única y sola voluntad. Por consiguiente, muchos de los tories a quienes ofreció reintegrar en la magistratura se negaron a aceptar mientras personas descalificadas por la ley siguieran siendo colegas suyos en los organismos de los condados o jefes en Whitehall. Hasta los mismos que consintieron en volver a sus antiguos puestos no se sentían moralmente obligados a apoyar a Jacobo contra Guillermo. En suma, los titubeos y cambios de la política real en octubre no hicieron más que debilitar y embrollar la situación de sus servidores cuando sobrevino la crisis en el mes siguiente.
El disgusto y la desconfianza del país habían llegado a un grado tal que ya no podían ser disipados por concesiones hechas por coacción y que podían ser anuladas cuando el peligro hubiera pasado. Se habían hecho demasiadas cosas en los tres años anteriores para que fueran olvidadas a la primera palabra. El anciano sir John Bramston expresó sin miramientos a un agente del rey que le instaba para que reasumiese el servicio de la Corona en la hora de peligro, el verdadero sentir de los squire tories: «Piensan algunos que ya es bastante para un caballero haber recibido un puntapié en el trasero».
Hacían bien los súbditos del rey en ser escépticos. Jacobo no estuvo nunca dispuesto a ser un monarca constitucional ni a cejar en sus esfuerzos para asegurar la supremacía de su religión. Si en octubre hubiera estado verdaderamente decidido a rendirse, habría convocado un Parlamento libremente elegido, como le suplicaban que hiciese todos los que deseaban la reconciliación. Dio órdenes para que se celebrasen elecciones, pero las anuló el 28 de octubre. Había dicho al embajador español: «Quiero ganarlo todo o perderlo todo»; y su huída a Francia no fue más que la prueba final de que no estaba dispuesto a seguir siendo rey al precio de abandonar sus propósitos. No era un intrigante egoísta; si lo hubiera sido, habría seguido en el trono. Su firme adhesión a sus principios quizá suscita admiración en nosotros, pero con seguridad suscita nuestra gratitud, pues hizo posible la salida de aquella situación y llevó a una solución duradera.
Los temores que indujeron al mismo Jacobo a hacer concesiones parciales y tardías, sembraron el terror entre los complacientes servidores de la Corte. El archi-hipócrita Sunderland se había hecho católico romano aquel mismo verano para asegurar su puesto contra los rivales. No había hecho más que quemar sus naves de ese modo, cuando empezó a sentir en el aire el olor a la Revolución. Para asegurarse la cabeza y sus posesiones, comenzó a dar en la Junta de Consejo opiniones muy moderadas y entró en correspondencia secreta con Guillermo. Se hizo sospechoso y Jacobo lo destituyó de su cargo a fines de octubre.
Quedaban al lado del rey el canciller Jeffreys y el jesuita Pedro, los dos hombres más impopulares en la isla, que demostraron no ser más que meras briznas ante el viento de tempestad que se estaba levantando. Godolphin, Dartmouth, Aylesbury y Middleton siguieron aún como fieles servidores, pero no como consejeros del rey, cuya política habían desaprobado durante mucho tiempo. Cuando Guillermo desembarcó, Jacobo no daba oídos a ningún estadista moderado del tipo de Hyde y de Falkland, cuya prudencia tanto hizo para orientar las decisiones y corregir los errores de Carlos I en los meses que precedieron al estallido de la Guerra Civil. Jacobo había lanzado a todos los hombres de esa calidad ya a la oposición, como Halifax y Nottingham, ya a la rebelión, como Danby. No contaba con un príncipe Ruperto que reavivase el espíritu de su ejército y lo lanzase al ataque contra los invasores y los rebeldes. El comandante en jefe, lord Feversham, era poltrón e incompetente; el lugarteniente general, que pronto iba a demostrar que era el primer soldado de la época, lord Churchill, dirigía una conspiración secreta entre los oficiales para salvar las leyes y la religión de Inglaterra. Él y su mujer, Sara, habían persuadido a su amiga la princesa Ana a abrazar la causa de la iglesia y de la nación contra su padre. Todo a lo ancho del país, fuera de las filas de los conspiradores, los hombres esperaban, sumidos en la duda, en la indecisión y en una sorda cólera contra el rey, ver lo que iban a traer aquellas horas. Por el momento no había en absoluto un partido realista, ni siquiera entre la gente de iglesia. Aun después de haber desembarcado Guillermo, los obispos, incluso algunos que después fueron jacobitas, se negaron al requerimiento del rey para que publicasen una declaración contra los rebeldes. La no resistencia había sido la doctrina distintiva de la iglesia anglicana, pero en el momento en que más importaba proclamarla, sus eclesiásticos se negaron a hacerlo.
En los primeros días de noviembre la Declaración de Guillermo, multiplicada por prensas clandestinas, estaba en manos de todos los ingleses, que observaban las veletas que iban a acusar «un viento protestante», mientras contaban «Lillibullero» o escuchaban las canciones de los copleros:
Buen pueblo, ven a comprar
la fruta que yo pregono,
que está dura ahora, aunque el invierno está encima;
te hará mucho bien
y te endulzará la sangre.
Estoy seguro de que te gustará cuando sepas de qué se trata:
Es una naranja .[16]
* * * *
La angustia de la expectación se prolongó, mientras las tormentas del oeste retrasaron y produjeron daños a la escuadra de Guillermo, que intentaba partir de las costas de Holanda. Al fin el viento saltó al este e impulsó a la nueva Armada[17] Canal de la Mancha abajo, hacia las costas de Devon, mientras tenía detenida a la escuadra inglesa en la desembocadura del Támesis. Es imposible decir si de haber sido favorable el viento, una gran parte de la flota hubiera acatado la orden de Dartmouth de atacar a la escuadra holandesa. El asunto no fue puesto a prueba. Gracias al «viento protestante», el desembarco de Guillermo en Torbay se verificó sin ningún contratiempo. El espíritu religioso de la época vio en Guillermo al Libertador enviado del cielo, sobre todo porque echó pie a tierra el 5 de noviembre, fecha que desde hacía muchos años estaba consagrada por los servicios de la iglesia y por los ritos populares que se celebraban a la caída de la tarde, para dar gracias a Dios por haber librado a Inglaterra de los designios papistas de Guy Fawkes. Desde entonces, esa fecha está doblemente señalada en la memoria de los protestantes ingleses.El ejército con que desembarcó constaba de unos 12.000 hombres, mucho menos de la mitad que las fuerzas regulares de Jacobo. Era un ejército cosmopolita porque la República Holandesa reclutaba sus soldados en diversos países: daneses, suecos, alemanes, suizos y hugonotes franceses, además de holandeses. Regimientos ingleses y escoceses se destacaban en la vanguardia. Más que una invasión holandesa, parecía aquello un concurso de todos los pueblos protestantes de Europa para libertar a Inglaterra. La gran bandera que flotaba sobre la cabeza del príncipe durante la marcha llevaba el venerable lema de la Casa de Orange: «Yo sostendré», con la oportuna adición de un acusativo: «las Libertades de Inglaterra y la religión protestante». A medida que las tropas avanzaban trabajosamente por las profundas y cenagosas veredas de Devon, la población campesina las aclamaba con grandes transportes de alegría, y la de Exeter dio a Guillermo una triunfal bienvenida a la capital del oeste; pero los magistrados de la ciudad y el clero de la catedral no quisieron comprometerse, y el obispo huyó a Londres, donde Jacobo lo premió con el arzobispado de York. Durante una semana ningún caballero o persona de notoriedad se aventuró a unirse al príncipe. Si hubiera desembarcado sin ejército, unas pocas tropas de la caballería real hubieran podido, en esta fase de los acontecimientos, arrojarlo al mar.
La causa de esta dilación inicial en el levantamiento que en seguida se generalizó, fue que nadie esperaba a Guillermo en aquella parte de Inglaterra. Se había acordado que el desembarco tendría lugar en el Yorkshire, donde estaba preparado Danby para levantar los tres Ridings así que el príncipe pusiera el pie en la costa. Pero como el viento del este lo llevó hacia el suroeste, se produjo un retraso de quince días antes de que se prepararan los levantamientos del norte y el centro en ausencia de Guillermo. La inesperada presencia del príncipe y sus tropas en Devon no pudo de buenas a primeras disipar el miedo producido por las terribles venganzas que habían tenido lugar en aquella región sólo tres años antes, a consecuencia de la rebelión de Monmouth.
Fueron las clases populares las que primero dieron la bienvenida al príncipe. Pero después de corto titubeo, los jefes del suroeste, inducidos por el entusiasmo popular, empezaron a hacer acto de presencia. La opinión de que la Revolución fue aristocrática queda desvirtuada por todos los hechos. La multitud, en las ciudades y en el campo, era en todo el país enemiga de Jacobo. Pero en la Inglaterra de los Estuardos, particularmente desde la Restauración de 1660, un movimiento popular no podía ser efectivo sino bajo la dirección de las clases superiores. Es imposible decir que la Revolución fue más favorecida por una clase que por otra.
A mediados de noviembre empezaron a salir de sus casas los jefes whigs y tories y a presentarse, al frente de pequeños grupos de jinetes armados, en la Corte y campamento de Exeter. Estos recién llegados añadieron poco a la fuerza militar de la rebelión, pero aumentaron extraordinariamente su poder político. Era todo lo que Guillermo quería, pues no había venido a reñir batallas. El ejército real se pulverizaría al ver que todo el país estaba contra el rey.
Entre los que se unieron a Guillermo en Exeter estaba sir Eduardo Seymour, el amo electoral del suroeste, el tory de los tories, acérrimo enemigo de los disidentes, pero protestante y partidario del Parlamento. Su llegada y la de otros realistas prominentes, como el conde de Abingdon y lord Cornbury, hijo de Clarendon, que llevó consigo el primer destacamento de tropas del rey, fueron aún más importantes que las de los Russell, Wharton y otros jefes whigs, con quienes ya se contaba de antemano. Whigs y tories formaron en Exeter un partido, y por indicación de Seymour firmaron un compromiso obligándose a lograr los objetivos señalados en la Declaración del príncipe, a apoyarlo y apoyarse mutuamente entre sí, y, si el príncipe fuese muerto, a vengar su muerte y asegurar las libertades y la religión del país.
De esta suerte se formó en Exeter, a propuesta de uno de los hombres más poderosos entre los tories y los partidarios de la alta iglesia, un partido unido que pronto incluyó a la gran mayoría de los ingleses y que no se disolvió hasta que sus objetivos fueron logrados y el mismo éxito obtenido produjo la divergencia entre whigs y tories acerca del carácter que había de tener el ordenamiento de la cosa pública que siguió a la victoria.
Entre tanto. Danby había reformado sus planes para la insurrección del norte anulados al haberse desviado Guillermo hacia el suroeste. El 22 de noviembre los rebeldes se apoderaron de York. La milicia, las gentes de la clase media y la multitud de los tres Ridings mostraban absoluta unanimidad, y Danby las dirigió con tanta habilidad y astucia, que los servidores y los soldados del rey que guarnecían las ciudades no ofrecieron resistencia. Todo el Yorkshire pasó, sin efusión de sangre, a las manos de los revolucionarios. Lord Lumley invadió Durham y entró en Newcastle, donde la muchedumbre arrojó al río Tyne la estatua de Jacobo. Howard, duque de Norfolk, tory y protestante, tomó Norwich y levantó la Anglia Oriental a favor del príncipe de Orange. Cavendish, conde de Devonshire, del partido whig, tomó Nottingham y levantó las Midlands. Las fuerzas de la rebelión en las regiones del centro fueron reunidas en Nottingham por la princesa Ana, hija segunda de Jacobo, a quien acompañaba su confidente Sara Churchill. Las damas llegaron custodiadas por un regimiento improvisado de caballeros campesinos, a las órdenes de la iglesia militante en la persona de Compton, obispo de Londres, que antes había sido oficial de la guardia de corps del rey.
Ni aun en la agitación de estos primeros días hubo escenas sangrientas. Donde las multitudes actuaron sin jefes que las dirigieran, fueron saqueadas las casas de algunos personajes impopulares y los cotos de caza de los católicos, abiertos; pero no hubo ningún asesinato. El contraste con el ambiente de la Revolución francesa es sorprendente en este y otros aspectos. Y no hubo lucha porque los partidarios del rey no ofrecieron resistencia. En casi todas las regiones no ocupadas por el ejército real la rebelión triunfó sin efusión de sangre. Pero la solución la darían Londres y los condados. La capital y el sureste eran apasionados partidarios del príncipe, pero durante algún tiempo hubieron de contenerse a causa de la presencia de las tropas regulares del rey.
* * * *
Si, después de haber desembarcado Guillermo, Jacobo hubiera deseado llegar a un arreglo con su pueblo, indudablemente habría conservado el trono al precio de abandonar sus proyectos contra la iglesia y la Constitución. Los tories, aun los que se habían levantado en armas contra él, no tenían, en esta fase de los acontecimientos, el propósito de destronarlo. Bastaba con convocar un Parlamento y someterse a sus decisiones. Los lores y obispos del alto partido tory se reunieron en Londres para suplicarle que publicase la convocatoria para unas elecciones generales, poniendo así término a toda probabilidad de guerra civil. Pero Jacobo contestó que no convocaría un Parlamento mientras Guillermo y sus tropas no hubieran salido de la isla. Sabía muy bien que convocar un Parlamento en aquellas circunstancias era tanto como abandonar sus propósitos, si bien con ello conservaría el trono. No quería ceder, según dijo a sus allegados, ni un átomo, «nada, nada, ni un átomo». Iría al frente, a correr el riesgo de la guerra. Partió, en efecto, dejando en la capital, que hervía de descontento, un consejo de cinco miembros para representarlo en su ausencia. De los cinco miembros, dos eran católicos romanos y otro era el detestado canciller Jeffreys. Así salió a la campaña, dejando a los lores del alto partido tory y a los obispos no reconciliados aún con su causa.Con esa voluntad recalcitrante salió hacia el oeste, para ponerse al frente de la vanguardia de sus tropas, en Salisbury, y lanzarlas contra el invasor. Guillermo estaba aún en Exeter, esperando que se levantasen el norte, las Midlands y la Anglia oriental. Su gran objetivo era evitar una batalla y dar tiempo para que el desarrollo de los acontecimientos desintegrase el ejército del rey.
El 19 de noviembre Jacobo llegó a Salisbury. Durante la semana que pasó allí con sus tropas, se decidió el resultado de la campaña, aunque los ejércitos rivales estaban separados por muchas millas de distancia. Guillermo, al saber que Jacobo estaba en Salisbury, inició un lento avance desde Exeter, poniendo, con notable prudencia, a la vanguardia a sus tropas inglesas. Sostuvieron algunas escaramuzas con los irlandeses de Jacobo en Wincanton, con lo cual la invasión se hizo más agradable a la sensibilidad racial de los ingleses. Pero no tuvo efecto ningún encuentro de la menor importancia militar. La guerra fue ganada y perdida en el campamento de Salisbury y en la cabeza y el corazón de Jacobo. Encontró a sus tropas acampadas en la catedral y sus alrededores, hoscas, aturdidas, quizá hostiles. Corrían entre ellas las noticias de que todo el país al norte del Támesis se estaba levantando contra el rey. Jacobo llegó a saber, en fin, que muchos oficiales de su ejército, incluso, como ya empezaba a sospecharlo, el mismo Churchill, estaban en secreta connivencia con Guillermo. No tenía de quién fiarse, ya que Churchill era uno de los hombres sobre quien había acumulado favores durante toda su vida. Algunos de sus amigos le rogaron que detuviera a los sospechosos, pero él titubeaba en acelerar la crisis. Su salud y sus nervios estaban quebrantados, y durante tres días no salió de sus habitaciones a causa de una fuerte hemorragia nasal. Cuando se recobró, ordenó la retirada hacia Londres, lo que equivalía a reconocer que Guillermo había vencido, y produjo el efecto de disolver lo que aún quedaba de fidelidad a su causa. Churchill, Grafton, Kirke y otros muchos se pasaron al campamento de Guillermo. El resto del ejército había perdido toda la moral y todo deseo de combatir por un rey igualmente incapaz de tratar con sus enemigos o de luchar contra ellos.
De esta suerte escapó Inglaterra a una guerra civil. Debió esta inapreciable fortuna a dos hombres principalmente, Jacobo y Churchill. En los momentos críticos que siguieron al desembarco de Guillermo, el rey se había mostrado obstinado como estadista, pero amilanado y vacilante como soldado. No quería atraerse a los moderados ni convocar un Parlamento, pero no se atrevió a lanzar sus tropas a la batalla, temiendo que lo traicionasen. Ese temor no era infundado: la desintegración del ejército era debida en gran parte a la conspiración que desde meses antes venía urdiendo Churchill desde su alto puesto de segundo jefe. En sus propios días, y más aún en los tiempos posteriores, muchos calificaron de perfidia imperdonable de Churchill el hecho de haber seguido al servicio del rey para mejor traicionarle. No sólo los historiadores jacobitas fueron de esta opinión, sino que lo fue también Macaulay, historiador whig. La discusión sigue abierta. Churchill no había conservado su puesto porque simulase aprobar la política del rey, como Sunderland y otros; sólo fingió ser un soldado leal. La esencia de la conspiración es el engaño. Si, como piensa Macaulay, la conspiración estaba justificada por la tiranía de Jacobo, ¿a qué reglas morales debió someterse la conspiración? No son fáciles de definir. La elección de Churchill, justa o injusta, salvó a Inglaterra de la guerra civil. Que Churchill siguiese al servicio del rey para traicionar a quien había traicionado a sus súbditos, fue quizá una conducta equívoca, pero no fue ciertamente el menor de los grandes servicios que Marlborough prestó a Inglaterra; si éste quebrantó su juramento de fidelidad como soldado, el rey había quebrantado el juramento que hizo a la nación al coronarse. Las reglas que dirigen la conducta de un hombre en tiempos de revolución no son las reglas de la vida ordinaria. Es difícil decir cuáles deban ser; y los ingleses han gozado la felicidad de no tener que plantearse esta cuestión desde la Navidad de 1688.
* * * *
Cuando Jacobo regresó a Londres, derrotado sin haber reñido una sola batalla, la solución del conflicto pasó de la esfera militar a la política. En efecto, el rey había quedado desarmado. El 2 de diciembre, Evelyn anotaba en su diario:Los funcionarios papistas abandonan sus puestos y huyen. Consternación universal entre ellos; esto parece una revolución.La situación tenía que ser resuelta por un Parlamento libremente elegido. Muchas cosas parecían claras, pero otras muchas eran todavía muy dudosas. Si Jacobo mismo convocaba el Parlamento, éste no lo destronaría. Si hubiera estado dispuesto a abandonar sus proyectos y convertirse en un monarca constitucional, ni los whigs ni Guillermo lo habrían arrojado del trono. Porque la iglesia y el partido tory nunca estarían de acuerdo con la deposición, totalmente opuesta a su doctrina del derecho divino hereditario de los reyes. Jacobo únicamente podría ser destronado mediante una guerra civil, que los ingleses de aquella generación, aleccionados por la experiencia de sus padres, estaban decididos a evitar. Pero se destronó a sí mismo al huir a Francia y destronó también a sus herederos al enviar al pequeño príncipe de Gales a la Corte de Francia para que fuese educado en la religión católica romana. No dejó a los tories otra opción que la de adoptar la política whig de entregar la corona a Guillermo y María, con lo cual la revolución se consumaba mediante un cambio de dinastía.
La huída de Jacobo fue una decisión personal que no le imponían las circunstancias. Fue amargamente lamentada por todos sus amigos, católicos y protestantes, excepto por el pequeño grupo de jesuitas y francófilos que lo había llevado a la ruina. La huída disminuyó extraordinariamente las posibilidades de guerra civil al privar a los tories de base para oponerse al deseo whig de cambiar de rey, y llevó a la mayor parte de los últimos realistas a sumarse a la opinión whig. La huída, en fin, determinó el carácter que necesariamente iba a revestir el Ordenamiento de la Revolución.
Después de enviar por delante a su mujer y a su hijo a Francia, bajo la protección de Luis XIV, Jacobo se dispuso a seguirlos. Para ocultar sus verdaderos propósitos, envió a Halifax y a otros nobles al campamento de Guillermo, en Hungerford, comisionados para tratar con el príncipe sobre la elección y convocatoria de un Parlamento libre. Mientras se desarrollaba en Hungerford esta fingida negociación, Jacobo escapó de Whitehall a las tres de la madrugada del 11 de diciembre y cabalgó por la orilla del río hasta la isla de Sheppey, en Kent, donde le esperaba una pequeña embarcación lista para llevarlo a Francia. Huía sin dejar instalado en Londres ningún poder de regencia que se hiciese cargo del gobierno del país. Destruyó los edictos en que se convocaba un nuevo Parlamento, arrojó al Támesis el Gran Sello y dio órdenes para que se dispersase el ejército. Su objeto era dejar a Inglaterra sumida en la anarquía, lo que facilitaría su regreso victorioso al frente de un ejército francés o por los requerimientos de un pueblo arrepentido.
El 12 de diciembre de 1688 el pueblo inglés, al despertar, se encontró sin gobierno. En la noche que siguió, Londres estaba en manos de las multitudes furiosas, que saquearon e incendiaron las residencias y las capillas de los católicos romanos; pero no se sacrificaron vidas, y la ulterior propagación de aquella situación anárquica fue detenida gracias a una acción rápida. Los magistrados de la ciudad y los lores y magnates que por casualidad estaban en Londres, entre ellos el arzobispo Sancroft y otros que después se hicieron jacobitas y «no juramentados», se constituyeron en un improvisado comité de seguridad pública, tomaron medidas para restablecer el orden en la capital e invitaron a Guillermo a que acudiese rápidamente en su ayuda. Halifax y todos los moderados que habían estado negociando un compromiso, se unieron definitivamente al príncipe de Orange. Con su huída, Jacobo obligó a todo el país a agruparse bajo el estandarte de su rival como único medio de defender las leyes y la propiedad contra los excesos de las multitudes. Lady Dartmouth escribía desde Londres:
El Lord Canciller Jefrreys está preso en la Torre, y el populacho dispuesto a arrojarlo a los peces. Verdaderamente, esta ciudad está muy agitada desde la partida del rey, por la destrucción de las casas y las capillas de los papistas y los embajadores, así que todo el mundo está muy asustado y desea que venga el príncipe de Orange a restablecer la tranquilidad.De tal suerte había Jacobo preparado el camino a su rival. Pero el curso de los acontecimientos, que se deslizaba hacia una solución inesperadamente rápida y pacífica, encontró un obstáculo igualmente inesperado suscitado por un mero accidente. Mientras Jacobo estaba detenido en la isla de Sheppey a causa del mal tiempo, la nave en que había embarcado fue abordada por otra tripulada por la multitud, que en todas partes se había levantado al conocer la noticia de la huída del rey. Los pescadores registraron el barco, tomaron al rey por un jesuita que huía a Francia, lo sacaron a empellones y lo desembarcaron para retenerlo como cautivo suyo. No tardó en ser identificado, y la noticia de que el rey estaba prisionero en manos muy rudas llegó pronto a la capital, causando el natural sentimiento de piedad y suscitando en muchos pechos la esperanza de que regresase y se sometiera a reinar de acuerdo con las leyes.
Aún no estaba en Londres Guillermo. Si hubiera estado allí, indudablemente habría circulado órdenes a Kent para que se dejase en libertad a Jacobo y se diese libre paso al barco que lo llevaba al extranjero. Pero Londres estaba en manos del Comité de Lores, que no sabían qué hacer en situación tan extraña y muchos de los cuales deseaban que Jacobo volviese al trono como rey constitucional. Los mejores amigos de Jacobo, lord Aylesbury y lord Ferversham, fueron enviados para que lo volviesen a la capital. El primero en llegar fue Aylesbury, y lo encontró entre sus aprehensores, «sentado en una silla grande, el sombrero puesto, la barba muy crecida, y parecía el retrato de su real padre delante del falso Alto Tribunal de Justicia. Me llevó hacia una ventana con aire de disgusto y me dijo: “Todos fuisteis reyes al dejar yo Londres”». Aquello era demasiado hasta para el fiel Aylesburv, quien replicó: «Permítame Vuestra Majestad decirle que partisteis sin dejar un Consejo de Regencia, y que sin nuestros cuidados y vigilancia la ciudad de Londres quizá hubiera quedado reducida a cenizas».
Un piquete de guardias de corps acompañó a Jacobo, con honores reales, en su regreso a Whitehall. Al pasar por las calles de Londres, la multitud, que había saqueado en aquellos días las casas de sus correligionarios, recibió con aclamaciones el regreso del rey, movida en parte por un sentimiento de piedad hacia la grandeza caída y el duro trato que había recibido de los pescadores de Kent, y en parte por la esperanza de que volvía para gobernar de allí en adelante de acuerdo con las leyes del país.
Este accidente dio a Jacobo la última ocasión de llegar a un acuerdo con sus súbditos; pero no era eso lo que él pensaba. Persistió en irse a Francia, y su segunda huída fue apresurada por la política de Guillermo, quien no sólo le ofreció todas las facilidades para un segundo viaje cómodo y seguro, sino que adoptó las medidas más severas encaminadas sin duda a amedrentar al rey. Aunque el regocijo era el crimen que más aborrecía aquella generación de ingleses, Jacobo, según dijo a Aylesbury, temía seguir el mismo destino de su padre, Carlos I, si se quedaba en Inglaterra. Guillermo no tenía ningún interés en disipar estos vanos temores, aunque la violencia contra la persona del rey era lo último en que pensaba. Cambió su política de magnanimidad por otra de dureza. Hasta el regreso de Jacobo a Londres, Guillermo, aunque militarmente victorioso, había consentido en tratar a su rival vencido como un igual en el terreno político, y en las negociaciones de Hungerford ni siquiera había pedido ocupar Londres mientras se celebraban las elecciones generales. Pero después de la primera huída del rey, después de que los lores tories de Londres lo invitaron a entrar en la capital, no estaba dispuesto a dejarse intimidar por el forzado regreso de su rival. La situación no podía retroceder a lo que había sido la semana anterior. Así, pues, Guillermo hizo que su guardia holandesa azul ocupase los puestos del palacio de Whitehall, en lugar de la guardia inglesa de Jacobo, asumiendo por este medio el control completo de todos los movimientos del rey. Después ordenó a su rival que saliese de Londres antes de hacer él su entrada. Se dispuso que Jacobo residiese en Rochester entendiéndose que se elegía un puerto de mar para que pudiera repetirse la huída a Francia sin contratiempos. La guardia holandesa de guerreras azules lo condujo río abajo hasta Rochester y lo dejó en libertad instalado en una casa situada en las orillas de Medway. A la medianoche del 22 de diciembre, huyó de nuevo para no volver jamás a poner los pies en la isla.
De este modo, la occidental interrupción de la primera huída del rey no evitó su partida definitiva ni alteró la naturaleza del Ordenamiento de la Revolución; pero produjo la primera reacción sentimental favorable a Jacobo, de donde se originó la existencia del partido jacobita. En adelante podría argüirse que había sido obligado a huir, aunque realmente la huída fue su propósito fijo y voluntario. Y ciertamente no había sido un espectáculo agradable el de la guardia azul holandesa reemplazando a los «guerreras rojas» en torno del palacio real y conduciendo Támesis abajo a un rey de Inglaterra. Así que durante el invierno de la Revolución el ejército inglés, desorientado entre lealtades contradictorias, no podía merecer confianza a Guillermo ni a Jacobo. Aunque Jacobo no pudiera aventurarse a meterlo en acción, era, por lo menos, más jacobita que el resto de la nación. Cuando el 1 de diciembre de 1688 el príncipe de Orange hizo su entrada triunfal en Londres, el pueblo inglés lo adoraba, pero el ejército inglés no lo quería. Diez años más tarde, la situación era exactamente la contraria. Pues aunque Guillermo era más grande como estadista que como general, sus maneras frías y poco amables no tardaron en enajenarle el amor de sus súbditos ingleses, mientras que su simpática camaradería en el campo de batalla le ganó los corazones de sus soldados en Irlanda y en Flandes.
* * * *
Definitivamente eliminado Jacobo por su segunda huída, el país tenía que darse un gobierno. No había autoridad legal en Inglaterra y la anarquía podía degenerar en guerra civil a menos de que la situación fuera rápidamente resuelta. En cualquier caso, la guerra civil era prácticamente cierta en Escocia; Irlanda, leal a Jacobo, se estaba preparando para acabar con la última resistencia de los colonos ingleses del Ulster, y Luis de Francia, sus grandes escuadras y ejércitos, había abrazado la causa del rey destronado. En esta terrible crisis se dejó ver en sus mejores aspectos el instinto del pueblo inglés para la acción política improvisada. Antes de Navidad, los miembros de la Cámara de los Lores y de las Cámaras de los Comunes del reinado de Carlos II que pudieron concentrarse en Londres, se reunieron para deliberar acerca de la seguridad del reino y para pedir al príncipe de Orange que se hiciera cargo de la administración de Inglaterra y convocase un Parlamento-Convención. Petición similar fue formulada por los notables de Escocia en beneficio del reino hermano. Guillermo asumió las tareas que se le encomendaban; sofocó la anarquía en Inglaterra, protegió a los católicos romanos de toda violencia, obtuvo dinero de la City para las necesidades inmediatas del estado, confirmó la autoridad de los magistrados y de los tribunales legales, caducados por la desaparición del rey, unió bajo su propio mando a los regimientos ingleses y escoceses del disperso ejército real, sacó de la isla a las tropas irlandesas, cuya presencia producía un pánico general, y, como providencia final aunque no menos importante, expidió edictos para la elección inmediata y la reunión al mes siguiente del Parlamento-Convención, que iba a disponer del trono y determinar el futuro de Inglaterra.No tenían validez legal los poderes de un príncipe tan irregularmente investido de las funciones que correspondían a la Corona; pero como después de la huída de Jacobo no había ninguna autoridad legal en el país, las órdenes de Guillermo fueron universalmente acatadas. El problema de quién ocuparía el trono se dejó a la decisión del Parlamento-Convención convocado por el príncipe. Pero el hecho de que hubiera dirigido con éxito el gobierno provisional durante los acontecimientos de la Navidad de 1688, acostumbró a las gentes a la idea de que él y su mujer serian nombrados rey y reina cuando en el mes siguiente se reuniera el Parlamento que él había convocado.
Si Jacobo hubiera permanecido en Inglaterra y hubiera aceptado ser rey bajo la tutela del Parlamento, es posible que los cambios introducidos en nuestra Constitución por la Revolución hubieran sido mayores de lo que en realidad lo fueron. El país ya no podía tener confianza en Jacobo, sin imponer limitaciones definidas a su poder. Pero cuando Guillermo subió al trono, no se creyó necesario atarle las manos con restricciones cuasi-republicanas a su libertad de acción. Guillermo, por ejemplo, siguió, como todos los reyes anteriores, eligiendo sus ministros, nombrando a los jueces y a los magistrados, así como a los oficiales del ejército y de la armada. Esta libertad de acción permitida al nuevo rey lo llevó a frecuentes conflictos con la Cámara de los Comunes en la última parte de su reinado, y las fricciones entre la Corona y los Comunes produjeron gradualmente cambios importantes no ciertamente en las leyes, pero sí en las costumbres constitucionales. En los reinados de Guillermo, Ana y Jorge I la Constitución empezó a evolucionar, bajo el impulso dado por la Revolución, en la dirección del moderno sistema de gabinete, que permite a los jefes del Parlamento elegir y dirigir la política real y nombrar a los inmediatos servidores del rey. Pero en 1689 nadie deseaba ni preveía ese cambio. fue un cambio que se operó no en las leyes, sino en las costumbres. A los ojos de la ley y el rey retiene en nuestros días poderes ejecutivos muy parecidos a los de los reyes Tudores, aunque de hecho el ejercicio de esos poderes es delegado en un Consejo de Ministros que representa a la mayoría de la Cámara de los Comunes.
Pero si Jacobo hubiera decidido seguir en el trono después de la Revolución, es sumamente probable que la autoridad real en esas materias hubiera sido circunscrita por leyes restrictivas. Nadie se hubiera fiado de él, si conservaba sus antiguos poderes. Seguramente los ministros no hubieran sido nombrados por él, se hubiera sustraído a sus manos el patronato de la Corona sobre la iglesia y el estado, y a estas horas tendríamos algo muy parecido a una Constitución escrita. La huída de Jacobo a Francia nos salvó de la necesidad de operar un cambio de tanta importancia en nuestra ley constitucional, que quizá en la práctica hubiera probado ser una experiencia torpe y posiblemente desastrosa.
De esta suerte, el ligero cambio introducido en el orden de la sucesión a expensas de Jacobo y de su hijo, aunque el aspecto más revolucionario de la Revolución fue a la vez la condición necesaria para el carácter conservador que en general ofrece ésta.
Capítulo V
El ordenamiento de la revolución
¿Qué era exactamente el Parlamento-Convención? Había sido convocado mediante escritos circulados en Navidad por el príncipe de Orange a petición de la asamblea no oficial de algunos pares y antiguos diputados de los Comunes. Las elecciones se celebraron durante el interregno, bajo la autoridad de los citados escritos del príncipe; no eran propiamente decretos como los que únicamente podía expedir un rey, porque no había rey. El primer asunto que había de tratar la Convención era precisamente elegir un rey. Por consiguiente, las dos Cámaras que se reunieron en enero no eran un Parlamento en el sentido literal de la ley. Eran meramente una «Convención», como la que habría llamado a Inglaterra a Carlos II. Este hecho suministró a los jacobitas fundamento legal para impugnar los títulos de Guillermo y María en cuanto reyes, puesto que tales títulos derivaban de una decisión de aquella irregular «Convención». Los títulos de Carlos II no habían emanado, a los ojos de la ley, de la Convención de 1660, sino de su propio derecho hereditario.
En esto, pues, estriba el carácter revolucionario y extralegal de todo lo que se hizo en 1689. Era imposible evitar esta falla en la autoridad legal de un Parlamento convocado y elegido durante un interregno, porque la Constitución inglesa no puede funcionar legalmente sin un rey. El Ordenamiento de la Revolución fue nada menos, en primer lugar y sobre todo, que el restablecimiento del imperio de la ley. fue el triunfo del derecho común y de los abogados sobre el rey, que había querido poner por encima del derecho su prerrogativa. Por lo tanto, la ley sólo podía ser reformada mediante decretos aprobados por las dos Cámaras con el consentimiento del rey. Y la interpretación de la ley quedaba a partir de entonces confiada a tribunales libertados por la Revolución de toda interferencia gubernamental, según el nuevo principio de la inamovilidad de los jueces. Aparte del cambio dinástico, que dio un color nuevo a toda la época, sólo dos nuevos principios de alguna importancia fueron reconocidos en 1689. Uno era que la Corona no podía destituir a los jueces; el otro, que los disidentes protestantes gozarían de tolerancia para su culto. Todo lo demás fue, al menos nominalmente, simple restauración, para reparar las brechas abiertas en el edificio constitucional por las ilegalidades de Jacobo II. Pero en realidad quedó resuelta para siempre la lucha entre el rey y el Parlamento.
El carácter liberal-conservador del Ordenamiento de la Revolución hay que buscarlo en el carácter de la Cámara de los Comunes elegida en enero de 1689. ¿Cómo y con qué espíritu fue elegida aquella Cámara? ¿Qué instrucciones, si en efecto las hubo, dieron los electores a sus diputados?
Las elecciones para el Parlamento-Convención se celebraron en circunstancias anormales. No había rey ni gobierno autorizado. El país estaba en el más grande peligro de sufrir convulsiones internas y la conquista extranjera, y la crisis nacional les parecía a las gentes cosa más importante que la habitual insensatez de whigs y tories. Un patriotismo anhelante y sobrio dominaba el espíritu de la época. Por otra parte, whigs y tories habían actuado juntos como un solo partido contra Jacobo y no habían tenido aún ocasión de actuar separados y resucitar sus viejas querellas. Este estado de cosas al comenzar el año nuevo afectó al carácter de las elecciones generales. En primer lugar, como no había rey, no se ejerció ninguna influencia regia a favor de ningún candidato, ni siquiera en los burgos normalmente gubernamentales, como los Cinco Puertos; y en los distritos electorales ordinarios, los numerosos electores y patronos que usualmente daban sus votos e influencia con la esperanza de obtener cargos, pensiones o el favor real, en esta ocasión quedaron entregados a su propia iniciativa, porque nadie sabía quién iba a ser rey y menos aún quiénes iban a ser sus ministros. Nunca unas elecciones generales se vieron tan libres de toda influencia gubernamental como las que produjeron la Cámara de los Comunes en 1689.
En segundo lugar, las elecciones se verificaron con menos pasión y animosidad entre los partidos de lo que es habitual. Fueron elegidos whigs y tories, pero, por lo que nos es dado saber, sin conflictos agudos; las pugnas más enconadas entre candidatos, de las que tengamos noticia, se produjeron por la rivalidad local de familias o personas. En todos los Parlamentos de los veinte años siguientes hubo diputados que no eran ni whigs ni tories, y estos elementos sueltos fueron especialmente numerosos en la Convención, reunida para resolver una situación nacional que rebasaba a los partidos.
Además, los diputados que eran definidamente whigs o tories, no se habían comprometido en las elecciones a propugnar un programa determinado, como, por ejemplo, se habían comprometido muchos de los diputados elegidos en 1681 a sostener la ley de Exclusión. En 1689 no parecen haberse cambiado entre electores y elegidos mandatos ni compromisos análogos. Los diputados elegidos eran protestantes decididos, a quienes se confió la salvación de la religión y de la Constitución del país por los medios que mejor les pareciesen una vez en Londres y después de haberse percatado a fondo de una situación incomparablemente dificultosa. Los electores tuvieron la prudencia de confiar la solución a la libre iniciativa del Parlamento. Esto explica por qué la Convención se dejó guiar más por el sentido común que por los prejuicios de partido; por qué, por ejemplo, resolvió la cuestión dinástica siguiendo principalmente las ideaswhigs, y la cuestión eclesiástica siguiendo principalmente las ideas tories, lo cual demostró en seguida ser el modo mejor y más seguro de dar la paz al país.
En realidad, el rasgo más notable de las elecciones fue el silencio observado sobre las más arduas cuestiones del momento. Todo el mundo sabía que el primer deber de la Convención consistía en decidir quién sería rey o reina. Todo el mundo sabía también que sobre este punto estaban latentes las más graves diferencias de opinión, que no tardarían en salir a la superficie. Las prensas de Londres, libertadas por el interregno de toda censura, publicaron folletos en que se estudiaban todos los aspectos de la cuestión; pero los candidatos y electores de todo el país parecían haberse dado cuenta de que era aquel un problema demasiado hondo y peligroso para ser resuelto en discursos de propaganda electoral. No se exigieron compromisos y, por lo que sabemos, no se pronunciaron discursos ni se hicieron promesas sobre aquel importante asunto. Los diputados llegaron al gran jurado de la nación con libertad para examinar y resolver el problema. La decisión de hacer reyes a Guillermo y María no fue tomada en los colegios electorales, sino que fue suscitada y resuelta en el Parlamento-Convención por hombres que no habían hecho a sus electores otras promesas que las de salvar al país y restaurar la Constitución lo mejor que les fuera posible. [18]
* * * *
Los miembros de la Convención se reunieron amistosamente predispuestos entre sí. Habían actuado conjuntamente contra Jacobo hasta el momento de su huída; después, los dos partidos se habían unido para pedir a Guillermo que se hiciese cargo de la administración; las elecciones generales no habían asumido el carácter de una fiera lucha de partidos. Inmediatamente que los Lores y los Comunes comenzaron a percatarse de los problemas que tenían que resolver, reaparecieron naturalmente las divisiones entre whigs y tories; pero lo notable no es que hubiera diferencias, sino que éstas quedaran resueltas tan rápidamente por común acuerdo y con voluntad tan bien dispuesta para llegar a un compromiso.El tono de la Convención de 1689 fue muy diferente del que dominó en el Parlamento «Caballero» que aprobó el Código Clarendon contra los puritanos o en los Parlamentos whigs que reconocieron la violenta jefatura de Shaftesbury. Durante los primeros seis meses de su existencia, el Parlamento-Convención demostró mucho más patriotismo que espíritu de partido. Ambas partes hicieron concesiones, bajo la presión del peligro nacional y por el influjo de los grandes sectores de una y otra Cámara que no eran tories ni whigs. En esos seis meses tomó el Ordenamiento de la Revolución la forma que demostró después su valor de permanencia y estabilidad, no como el triunfo de un partido sobre el otro, sino como acuerdo libre entre whigs y tories e iglesia y disidentes.
* * * *
El primer asunto que tenía que resolver la Convención era el de quién ocuparía el trono, y sobre este punto empezaron a delinearse los nuevos partidos whig y tory. Pero las diferencias de ambos partidos acerca de la cuestión dinástica nacieron más de diferencias de teoría que de práctica. Los dos deseaban que Guillermo siguiera en Inglaterra como jefe de la administración; lo que se discutía eran los derechos y los títulos con que podría gobernar.Los políticos tories y el clero anglicano habían proclamado repetidamente en el reinado de Carlos II las teorías del derecho divino hereditario de los reyes y de la no resistencia de los súbditos. Después se habían visto obligados a resistir a Jacobo II, a pesar de todas sus teorías, porque eran hombres. Pero también porque eran hombres, no todos ellos estaban dispuestos a abandonar de un golpe el sistema de ideas asociadas en que se habían formado sus espíritus. No podían, con la prontitud con que lo hizo el vicario de Bray, burlarse de la «obediencia pasiva como de una broma» y convertir en pura «chanza la no resistencia». Se dedicaron a interpretar la Revolución sin perjuicio de recoger los frutos que iba dando en la práctica. Deseaban llegar a una solución que no estuviera en contradicción demasiado obvia con las doctrinas que habían sustentado hasta poco antes y que aún merecían el amor y la veneración de muchos de ellos. Para empezar, afirmaron que Jacobo no había sido destronado, sino que él voluntariamente había desertado de sus funciones. Si se habían levantado en armas contra él, fue sólo para traerlo a razón; pero él, en vez de someterse, huyó al otro lado del mar, buscando refugio cerca del enemigo de la nación. La bendita palabra «abdicación» libraría a sus súbditos del pecado de haberlo destronado. Jacobo había «abdicado». Y además los tories pensaban que sin duda les estaba permitida cierta dosis de habilidad para evitar una brecha en el orden de la sucesión hereditaria establecido por Dios.
Tales eran las inquietudes de los tories cuando la Convención se reunió en enero de 1689.
Los whigs, por su parte, pensaban que un ligero cambio en el orden de la sucesión seria una cosa buena en sí misma, porque acabaría con la teoría de los Estuardos del derecho divino hereditario. Convertiría el derecho a la Corona en un derecho parlamentario, como en los tiempos de los Plantagenet y los Tudores, en que el Parlamento había dispuesto en varias ocasiones de la Corona, no siempre en favor del heredero más directo. Creían los whigs que si el Parlamento disponía otra vez de la Corona quedaría establecida su propia teoría del contrato entre el rey y el pueblo, que implicaba el decomiso o la confiscación de la Corona por éste en caso de que el contrato llegara a quebrantarse. Únicamente, así, pensaban los whigs, quedaría asegurado para siempre el carácter limitado de la monarquía. Indudablemente, los tories de 1689, como los «caballeros» de 1640 y 1660, deseaban que los poderes de la Corona fueran limitados en la práctica. Pero ¿estaba de acuerdo semejante práctica constitucional con una teoría que tendía absolutamente al despotismo? Porque si, a los ojos de la mitad de sus súbditos, el rey seguía desempeñando por derecho de herencia una misión cuasi-divina, ¿cómo podría un Parlamento meramente terrenal limitar sus derechos sobrenaturales, si insistía en ejercerlos? Una monarquía divina siempre debe estar por encima de un Parlamento humano. Puesto que, en opinión de los hombres, no podían la monarquía y el Parlamento ser los dos divinos, entonces, decían los whigs, que los dos sean humanos, y ahora se nos presenta la gran oportunidad de lograrlo.
Sobre este principio de suma importancia, los dos partidos, aunque amistosamente por el momento, se dividieron en los debates y discusiones de febrero de 1689. Los whigs tenían varias ventajas decisivas. Sentían desdén por el rey huido y les unía el propósito único de llevar a la práctica sus principios. Querían declarar vacante el trono y llevar a él a Guillermo y María mediante una ley del Parlamento. Del otro lado, los tories estaban divididos y molestos, ocupando como rebeldes una posición de la cual se retirarían muy gustosamente si pudieran hacerlo llevándose en las manos los frutos de la rebelión.
La huída del rey, con el envío por delante del príncipe heredero para que fuera educado en la religión católica romana bajo la influencia de la Corte de Francia, hacía impracticables todas las soluciones tories de la crisis. Los tories se dividieron alrededor de tres propuestas, encaminadas las tres a salvar el moribundo principio del derecho divino. Esas tres propuestas eran las siguientes:
- Llamar a Jacobo sometiéndolo a ciertas condiciones. Pero como Jacobo no las aceptaría, esta propuesta fue a lo último apoyada sólo por los jacobitas.
- Hacer regente a Guillermo, aparentemente en nombre de Jacobo, pero en realidad contra la autoridad de Jacobo.
- Proclamar a María por su propio derecho, con su marido como príncipe o rey consorte.
Para llevar al trono a Guillermo y María por virtud de una ley parlamentaria, sería necesario declarar vacante el trono; pero los lores tories, dirigidos por Danby, se negaron a declararlo vacante mientras pudieron hacerlo sin riesgo de la seguridad pública. Porque vieron que si admitían que el trono podía quedar vacante en cualquier ocasión, destruían el concepto del derecho divino hereditario; si el poder regio procede de Dios, debe estar siempre incorporado en alguna persona sin ayuda de ningún Parlamento. En el mismo momento en que una persona dejaba de ser rey, ocupaba otra su lugar por derecho divino. La naturaleza tiene horror al vacío, y el derecho divino tiene horror a las vacantes. Les roi est mort, vive le roi. Por consiguiente, opinaba Danby que Jacobo había «abdicado» al huir, y que por tal causa y desde aquel momento le sucedía su hija María por su propio derecho hereditario. Así, pues, dijo Danby, el trono no está «vacante». Esta opinión desconocía los derechos de Jacobo, hermano de María. Puesto que el niño estaba en Francia, no podía ser educado en la religión protestante. Guardemos, pues, silencio acerca de él, ya que, además, quizá sea hijo ilegitimo, puesto que no le vio nacer nadie excepto algunos papistas. Tales fueron las argucias de Danby para salvar el derecho divino hereditario de los reyes, aun en el momento de la Revolución armada de que él había sido el principal jefe inglés. Danby se dio cuenta de que el plan de la regencia era imposible, pero propuso a María como la única heredera por derecho divino. Mas el plan de Danby no salvaba el derecho divino a no ser que se adoptase oficialmente la leyenda del calentador.
Los whigs derrotaron a Danby, pues sobre este punto tuvieron mayoría en los Comunes; los diputados sin partido comprendieron que la propuesta tory era impracticable. Y los lores, tras algunos días de resistencia, se sometieron a la voluntad de los Comunes antes que permitir que la nación, sin rey, cayera en la anarquía. En realidad, Danby descubrió que su plan era también imposible, porque ni María ni Guillermo consentirían en representar los papeles que en el proyecto se les asignaban. María se negó a ser reina si su marido no era rey. Y Guillermo, por su parte, no aceptaba la posición subalterna de partícipe o rey consorte. No quería, según dijo, ser gentilhombre de servicio de su mujer. Además, los ingleses en general se daban cuenta de que las desconcertadas Islas Británicas sólo podían ser salvadas de Jacobo y de Luis por un gobierno vigoroso, y que Guillermo era el único capaz, por sus talentos, su experiencia y su posición en Europa, de proporcionar al país un Gobierno fuerte así en lo interior como en los asuntos extranjeros. En realidad, los tories reconocían eso, no menos que los whigs. Más, para salvar sus teorías, le proponían que administrase el país en nombre de su mujer coreo soberana única. Pensaba Guillermo que en una posición tan equívoca no tendría autoridad bastante para resolver la crisis; y, de hecho, aun con toda la autoridad de rey apenas si pudo capear el temporal. De esta suerte, las necesidades prácticas de la nación impusieron la aceptación del plan whig con todas las ventajas y desventajas de sus implicaciones teóricas.
Se hizo una concesión importante a la opinión tory. Se declaró que Jacobo había abdicado al huir voluntariamente. No se dijo que fuera «depuesto», ni que la Corona hubiera sido «confiscada», como proclamó la Convención escocesa en Edimburgo, de acuerdo con sus maneras más plenamente whigs.
En esta situación, los tories abandonaron la lucha en las dos Cámaras y aceptaron la propuesta whig que declaraba el trono vacante. La palabra «vacante» destruía el derecho divino hereditario, en el campo de la teoría, y en la práctica hizo posible que se coronase a Guillermo en los mismos términos que a su mujer. Ambos fueron proclamados conjuntamente soberanos, para que reinasen juntos. Las cabezas de ambos aparecen en las monedas. Resuelto lo anterior, por acuerdo general se confió la administración a Guillermo vitaliciamente. Los tories habían deseado siempre la administración de Guillermo, aun mientras negaban, en el terreno teórico, sus derechos a la realeza.
La fórmula de los Comunes, a la cual finalmente se adhirieron los Lores, decía así:
Que el rey Jacobo Segundo, habiendo tratado de subvertir la Constitución del reino, al romper el contrato original entre el rey y el pueblo [idea whig] y, por el consejo de los jesuitas y de otras personas malvadas, habiendo violado las leyes fundamentales y huido él mismo del reino, había abdicado la Corona [concesión a los tories], dejando, por lo tanto, vacante el trono [conclusión whig].La aceptación de esta fórmula por whigs y tories y su reconocimiento por Guillermo y María como rey y reina por virtud de una ley del Parlamento, salvaron al país de la anarquía y la guerra civil y frustraron los planes de Luis de Francia para impedir que sobre el mapa de Europa apareciera una Inglaterra unida.
Los dos partidos y las dos Cámaras estuvieron de acuerdo sobre la conclusión siguiente:
Que por experiencia se ha visto no convenir a este reino protestante ser gobernado por un príncipe papista.Este principio fue recogido en una ley, que es hasta hoy la ley de nuestro país: Ningún católico romano o persona casada con católico romano puede llevar la Corona.
Los tories, en cuanto diferentes de los jacobitas, sirvieron lealmente a Guillermo como su rey Danby, para quien las discusiones en la Convención habían sido asuntos políticos y no religiosos, aceptó a Guillermo sin reserva y fue súbdito y servidor leal. Miraba con desprecio a los no juramentados, que se negaban a jurar lealtad a los nuevos soberanos. Pero el otro jefe tory, Nottingham, era ante todo y sobre todo un hombre religioso y, como otros anglicanos, había sido educado en la opinión de que el derecho hereditario divino era una parte de la religión. Por consiguiente, aceptó a Guillermo como rey de facto y por ley, pero no de jure, por derecho propio, distinción reconocida y acentuada en una vieja ley inglesa del reinado de Enrique VII. Los nuevos juramentos de lealtad fueron redactados de manera que evitasen los escrúpulos del de facto de los tories; el juramento de 1689 no exigía reconocer a Guillermo como rey con pleno derecho, sino simplemente aceptarlo como rey de hecho. Guillermo, al nombrar en estas condiciones ministro a Nottingham dijo enfáticamente que era «un hombre honrado». Y, en efecto, lo era. Nunca intrigó cerca de la corte desterrada en Saint Germain, y fue más escrupulosamente leal a Guillermo, su reyde facto, de lo que lo fueron algunos de sus colegas whigs ytories más despreocupados, no obstante que Guillermo era su rey de jure.
Pero la objeción teórica a lo que había sucedido en el invierno de 1688 a 1689 continuó inquietando de tiempo en tiempo las mentes de los tories. Sus conciencias, y en particular las de los clérigos, se veían intranquilizadas por los vituperios de sus viejos amigos, que ahora eran jacobitas y «no juramentados». Estos últimos eran 400 beneficiados eclesiásticos, entre ellos cinco de los siete obispos a quienes había perseguido Jacobo, que se negaron a rendir juramento a Guillermo y María y tuvieron, en consecuencia, que dejar sus beneficios y sus sedes.
Políticamente —dice el Sr. Keith Feiling— la influencia de los «no juradores» fue portentosa y arrastró constantemente a su viejo partido a volver a sustentar las causas perdidas.Esta intranquilidad de las conciencias tories, y particularmente de los clérigos, y el carácter incierto y vacilante de las simpatías tories en relación con el desterrado Jacobo y con su hijo y su nieto, constituyen un hecho de gran importancia histórica, que informó la historia de las vicisitudes de los dos partidos hasta fines del reinado de Jorge II. Tuvo su origen en las transacciones de 1688-1689. La Revolución había hecho del partido tory un partido constitucional y parlamentario para todo lo porvenir; pero también le hizo, durante dos generaciones, un partido con una posición lógica muy débil y de pensamiento inseguro, que en los tiempos de crisis se escindía con frecuencia en campos opuestos. Estas circunstancias disminuyeron el poder del partido, que normalmente era el más fuerte del estado, pues contaba con la mayoría de los squires y con casi todo el clero parroquial. En la crisis que se produjo a la muerte de Ana, en 1714, la cuestión dinástica paralizó y dividió a los tories y dio a sus rivales el poder durante cuarenta años, bajo Jorge I y Jorge II. Pero durante los reinados de Guillermo y de Ana el poder se repartía de manera igual y justa entre tories y whigs.
* * * *
Guillermo y María o fueron llevados al trono sin condiciones. El instrumento mediante el cual la Convención los entronizó fue la famosa Declaración de Derechos. Después de exponer largamente los diversos actos ilegales de Jacobo, y en especial su pretensión de suspender las leyes por prerrogativa, declaraba que todos aquellos actos eran contrarios a la ley y requería de los nuevos soberanos que aceptasen ciertas limitaciones del poder real como condición para ser elevados al trono.La solemne entrevista entre el príncipe y la princesa de Orange y las Cámaras del Parlamento con Halifax como portavoz, se celebró en Whitehall el 13 de febrero de 1689. Le sirvió de escenario la Casa de Fiestas, desde una de cuyas ventanas había subido al cadalso Carlos I. En aquella gran sala Guillermo y María aceptaron al mismo tiempo, de las Cámaras de los Lores y de los Comunes, la Corona y la Declaración de Derechos. En la feliz ceremonia no hubo ni «bandas armadas» ni «poder forzado». Entre la Corona y el pueblo se hizo un contrato libre que evitaba para siempre la repetición de las tragedias de los reyes Estuardos. Las oscilaciones del péndulo entre las alternativas violencias de los rebeldes y de los realistas se redujeron a oscilaciones más moderadas entre los partidos parlamentarios rivales, y lo que la Corona perdió en poder lo ganó en seguridad. El movimiento republicano quedó enterrado para no resucitar más en Inglaterra, al menos en forma poderosa, ni siquiera en los días de la Revolución francesa o al advenimiento de la democracia social en los siglos XIX y XX. Inglaterra había adquirido los perfiles de una Constitución dentro de la cual podía realizar sus destinos más remotos.
La Declaración de Derechos era, por lo menos en la forma, puramente conservadora. No introdujo en la ley ningún principio nuevo, ni aun la tolerancia para los disidentes o la inamovilidad de los jueces, aunque hubo un acuerdo absoluto sobre la necesidad inmediata de ambas reformas. Porque, con gran prudencia, la Convención decidió que los cambios en las leyes existentes requerían tiempo para ser discutidos, y no podía esperarse un día más para cubrir el trono sin exponer la seguridad pública a grandes peligros. Por consiguiente, la Declaración de Derechos consistió en la enumeración de los derechos ya existentes del Parlamento y de los súbditos, que Jacobo había atropellado y cuya observancia debían prometer Guillermo y María. Todos los demás cambios, por urgente que fuera su necesidad, debían esperar hasta que el Parlamento tuviera tiempo para discutirlos y aprobarlos y hasta que hubiera un rey que les diera fuerza legal por su asentimiento.
* * * *
La Convención, después de cubrir el trono y de convertirse, en la medida en que ello era posible, en un Parlamento legal, procedió a legislar. Poco menos importante que la cuestión dinástica era la cuestión religiosa. Mientras las relaciones de la iglesia con los disidentes, de los anglicanos con los puritanos, no quedaran reguladas de un modo tolerable para ambos partidos, el Ordenamiento de la Revolución estaría incompleto y el país se vería expuesto a violentos disturbios en lo futuro. La Ley de Tolerancia de mayo de 1689, que concedió a los disidentes protestantes el derecho al ejercicio público de su culto, resolvió la cuestión mediante un compromiso duradero y moderó la eterna lucha entre la iglesia y los disidentes al eliminar de ella todo aspecto de persecución religiosa directa.Los sufrimientos de los disidentes protestantes desde los días de la Restauración habían sido muchos, salvo intervalos ocasionales. Bajo las leyes persecutorias llamadas Código Clarendon, sus ministros, como fue el caso de Juan Bunyan, sufrieron encarcelamientos que duraron años; sus servicios religiosos, celebrados en secreto, con frecuencia eran descubiertos y las congregaciones reducidas a prisión; se cerraron sus escuelas y se prohibió la enseñanza a sus maestros, y con frecuencia se impusieron multas ruinosas por motivos de inconformidad religiosa. Los menores de sus agravios estribaban en que habían sido excluidos de las universidades, de los servicios públicos y de las corporaciones municipales de ciudades en que con frecuencia eran los vecinos más destacados. Todo este código de persecución religiosa e inhabilitación civil había sido suspendido por la ilegal Declaración de Indulgencia promulgada por Jacobo en 1687. Algunos puritanos correspondieron apoyándola; pero la mayor parte dudaron en traicionar a la Constitución y se adhirieron a la causa nacional por la solemne promesa de los jefes tories y de los obispos de la alta iglesia de que aprobarían una ley que los librase de la persecución así que se reuniera un Parlamento libre.
En este entendimiento, la mayoría de los disidentes se había opuesto a Jacobo en 1688, y ahora había llegado la ocasión de que los tories y los eclesiásticos cumplieran la promesa hecha en horas de tribulación. Notthingham, representante autorizado de la iglesia en el Parlamento, depositó personalmente la Ley de Tolerancia de mayo de 1689 en la mesa de la Cámara de los Lores. Era en gran parte obra suya y constituía una medida basada en mutuos acuerdos. El principio de la tolerancia para los disidentes protestantes había sido durante mucho tiempo desmentido por los whigs y atacado por los tories. Ahora, a consecuencia de los anormales acontecimientos del reinado de Jacobo II, era un jefe tory quien presentaba la ley y ambos partidos la aceptaron sin vacilaciones.
Así terminó la persecución religiosa contra los disidentes protestantes, pero no terminó su inhabilitación civil. La iglesia retenía el monopolio de las universidades, de los servicios públicos y de los cargos municipales con la misma extensión que antes. El Libro de Oraciones no fue modificado para admitir en la grey de la iglesia establecida ni aun a los más ortodoxos entre los disidentes. En resumen, el Ordenamiento Eclesiástico de 1689 fue un compromiso que se inclinaba del lado de la iglesia y del partido tory, mientras que el Ordenamiento Dinástico se inclinaba del lado whig.
Este factor de prudente transacción, que prefirió los hechos a las teorías y reconoció y respetó la fuerza de los partidos que actuaban en la iglesia y el estado, fue el que libró de violentas rectificaciones al Ordenamiento de la Revolución y salvó a Inglaterra de la guerra civil en los años futuros. En Escocia, donde el Ordenamiento de la Revolución fue impuesto por el triunfo de los whigs y los presbiterianos sobre los tories y los episcopalianos, todos los tories se hicieron jacobitas y la guerra civil fue endémica durante los sesenta años siguientes. En Irlanda, los whigs y los tories se unieron para oprimir a la población nativa con más crueldad que nunca.
La Ley de Tolerancia demostró ser una de las medidas de éxito más perdurable aprobadas en cualquier tiempo por el Parlamento. En lo que concierne a Inglaterra, clausuró para siempre la larga crónica de persecuciones y guerras religiosas. No fue poca cosa, si se tiene en cuenta lo que en aquel mismo tiempo estaba ocurriendo en Francia y en Irlanda, y lo que después ocurrió en estos dos países.
El éxito de la Ley de Tolerancia fue debido en parte a sus limitaciones. Había sido formulada con habilidad práctica y prudencia muy notables para ganar el asentimiento de todos los partidos, animar a los tímidos y apaciguar a los perjudicados. Las limitaciones, la falta de lógica, la ausencia de principios teóricos que la hicieron aceptable en aquellos tiempos, divierte o irrita al estudioso moderno si juzga su contenido con las ideas de nuestros días.
No se enuncia en ella ningún principio general de tolerancia. En realidad, la sospechosa palabra «tolerancia» no se encuentra allí con tanta frecuencia que justifique el que las generaciones posteriores la hayan llamado Ley de Tolerancia, en tanto que los miembros del Parlamento que la discutieron la llamaban Ley de Indulgencia. Su título completo decía así:
Ley para eximir a los súbditos protestantes de Sus Majestades, que difieren de la Iglesia de Inglaterra, de los castigos que les imponen ciertas leyes.El Preámbulo expresa su alcance limitado y puramente práctico:
Puesto que cierta holgura para las conciencias escrupulosas en el ejercicio de la religión puede ser un medio efectivo para unir a los súbditos protestantes de Vuestras Majestades en los intereses y los afectos…No fue revocado el Código Clarendon de leyes persecutorias, pero a ciertas clases de gentes y en ciertas condiciones se les permite pedir que se las exima de las más opresoras de dichas leyes. Todo el que haga juramento de lealtad y supremacía y el juramento contra la transubstanciación no necesita asistir a la iglesia y puede hacerlo al culto público celebrado en su propio conventículo.
Eso en cuanto a los seglares. Por lo que respecta al clero no conformista, puede obtener la exención de las leyes que le oprimen si firma treinta y cuatro de los treinta y nueve artículos de la Religión formulados en el Libro de Oraciones, y parte de otros dos artículos. Parece esto una coacción opresora; pero en realidad los artículos doctrinales que se le exige que firme son aquellos con que están de acuerdo las principales sectas disidentes. Otras cláusulas establecen provisiones especiales en beneficio de los anabaptistas y de los cuáqueros. No hallaron alivio bajo la Ley de Tolerancia dos corporaciones religiosas: los católicos romanos, que indudablemente eran hostiles al nuevo régimen, y los unitarios, a quienes se consideraba como heréticos extra sociales.
Al pensamiento moderno todo esto le parece necio y desagradable. Pero una ley más liberal y despreocupada no habría sido aprobada o no habría tardado en ser revocada. No fue poca tarea convencer a los tories para que aceptasen la tolerancia para los disidentes protestantes; y hubiera sido imposible inducir a tories y whigs, inmediatamente después de su experiencia con Jacobo II, a conceder algún alivio legal a los católicos romanos. Ni la iglesia ni en general la conciencia religiosa de la nación aceptaban la tolerancia religiosa como un principio de aplicación universal. Pero de hecho, con este cuidado de asentar bien los pies en una senda resbaladiza, Inglaterra avanzó después hacia la tolerancia práctica más que ningún otro país de Europa, salvo Holanda.
Juan Locke, el gran filósofo político de aquel tiempo, escribió una Carta sobre la tolerancia [Letter concerning Toleration]. Apareció en inglés por vez primera algunos meses después de haber sido aprobada la Ley de Tolerancia. Esta carta famosa hizo admirablemente claro para la general inteligencia el argumento a favor de la tolerancia religiosa universal, como deber obligatorio para todos los estados cristianos y como derecho personal que no podía ser negado a ningún ciudadano dentro de la ley. La misma opinión sustentaron Guillermo Penn y los cuáqueros, y muy poca gente más. Cuando estuvieron en el poder, ni los anglicanos ni los puritanos habían tolerado a los otros. Por regla general, únicamente los escépticos eran cordiales partidarios de la tolerancia; pero el número de las gentes parcialmente escépticas, el número de «latitudinarios», iba creciendo en aquellos días.
Locke ejerció una influencia dominante sobre el pensamiento de los hombres de la generación siguiente, generación que vio por experiencia que la tolerancia religiosa daba paz al país. La amplia aceptación de su filosofía por los latitudinarios evitó la revocación de la Ley de Tolerancia y gradualmente extendió su alcance y aplicación. Pero merece ser bien notado que, aunque Locke se anticipó mucho a la opinión corriente en 1689, en su citada carta declaraba, sin embargo, que los ateos no debían ser tolerados, porque niegan inevitablemente los principios de la virtud sobre los cuales descansa la sociedad; y que los católicos romanos, aunque en la práctica deben ser tolerados, no tienen ningún derecho a la tolerancia, puesto que sustentan la doctrina de que no la merecen los heréticos y de no reconocer a ningún gobierno que no sea católico.
En 1689 fue aceptada la Ley de Tolerancia, no en consideración a ningún principio general o teórico, sino como compromiso político que hacían necesario ciertas consideraciones prácticas que pesaban mucho en una generación menos dominada por rivalidades de doctrina religiosa que los hombres que habían desenvainado las espadas en 1642. Desde la Restauración, hombres de estado y publicistas venían lamentando los daños producidos al comercio, especialmente en Londres, por las persecuciones de los fabricantes y comerciantes puritanos; la opinión pública había llegado ya al punto de mirar con desagrado la persecución de protestantes; los eclesiásticos estaban obligados a cumplir la promesa que habían hecho a los disidentes de proporcionarles alivio mediante las leyes a fin de contrapesar el efecto de la ilegal Declaración de Indulgencia de Jacobo; y ahora que la Revolución ya estaba realizada, era asunto urgente unir a todos los súbditos protestantes de Sus Majestades para defender el nuevo régimen contra sus numerosos enemigos del interior y del extranjero. La Ley de Tolerancia, pues, fue redactada por Nottingham para aliviar la situación de los disidentes protestantes, con los menos cambios posibles, así en la teoría como en la letra. Fue una Ley que incorporaba principioswhigs con ciertas modificaciones, presentada por un estadistatory y aprobada por los dos partidos. Por tal motivo, los tories no trataron nunca de revocarla; pero no agradó nunca a los eclesiásticos de la alta iglesia ni a los tories más fogosos, quienes constantemente trataron de limitar su efecto con medidas como la Ley de Conformidad Circunstancial, durante el reinado de Ana, o de orillarla mediante la efímera Ley de Cisma de 1714. Pero el disgusto que los altos tories sentían por la tolerancia, no pasó de una acción de retaguardia. Las viejas querellas religiosas, aunque eran todavía la fuerza que movía a nuestros partidos políticos, fueron mucho menos agudas que antes, una vez eliminada la persecución religiosa. El espíritu de la nueva época incorporado por la Revolución, el latitudinarismo del siglo XVIII, con Locke y Newton como filósofos suyos, confirmaron y ampliaron las libertades religiosas conquistadas en 1689 como resultado accidental de una extraña crisis política. Realmente, la práctica de la nueva época extendió el principio de la tolerancia de los ritos religiosos a los católicos romanos y a los unitarios, aunque deliberadamente habían sido excluidos de los beneficios de la Ley de Tolerancia.
El grupo católico romano en Inglaterra después del reinado de Jacobo II era tan débil y tan impopular que podía haber sido perseguido a mansalva; pero a Guillermo le disgustaba la persecución, y requirió la alianza del emperador y del rey de España, así como la ayuda del papa, en la lucha contra Francia. De esta suerte, se convirtió en protector de los católicos romanos ingleses. No faltó a la ley admitiéndolos en los cargos públicos; pero desanimó a los denunciantes, de manera que pudo decirse misa en las casas privadas cada vez con mayor libertad. En tiempos ordinarios el Parlamento no pidió que las leyes contra el culto católico romano fueran reforzadas. De tiempo en tiempo, cuando se descubría un complot jacobita, o cuando se temía una invasión francesa, las leyes entraban en ejercicio para capturar a los sacerdotes y saquear sus congregaciones, como ocurrió en los condados del norte después del levantamiento de 1715. Pero las condiciones normales en tiempos de Guillermo, Ana y los Jorges fueron mucho más favorables. Hay un largo informe del año 1710 enviado a Roma, al cardenal Paolucci, por uno de sus agentes en Inglaterra. El informe dice, en los términos más enfáticos, que los católicos romanos de Inglaterra «disfrutan con entera libertad del ejercicio de su religión», que quien lo desee puede tener en su casa, lo mismo en la ciudad que en el campo, a un sacerdote, y que no se aplica ninguna ley contra los católicos romanos, excepto las que los excluyen de los cargos públicos y las que los gravan con impuestos dobles. Por otra parte, el mismo agente informa detalladamente cómo en Irlanda los católicos romanos son cruelmente perseguidos y privados de sus ritos religiosos tanto en la práctica como en la ley. El informe es muy digno de estudio en cuanto nos proporciona el punto de vista de los católicos romanos de aquel tiempo por lo que respecta a la diferencia de trato que recibían en las dos islas británicas. [19]
Sin embargo, hasta el período de emancipación de los católicos a comienzos del siglo XIX, se les excluía de todos los cargos de gobierno, tanto local como central, y de tener asiento en las Cámaras del Parlamento. Como eran inevitablemente jacobitas, eran inevitablemente sospechosos, y aunque podían practicar libremente su religión, la practicaban en privado. No podían ostentarla, ni de hecho, hacer propaganda. En el siglo XVIII estaban, en varios aspectos, en peores condiciones que los disidentes protestantes, quienes fueron los más esforzados sostenedores de los gobiernos nacidos de la Revolución. Antes de los días de la inmigración irlandesa en Inglaterra, los católicos romanos eran una comunidad aristocrática que se mantenía unida sobre la base de grandes familias católicas y de sus subordinados y protegidos; la «vieja religión» seguía siendo en el siglo XVIII una religión de caballeros, aunque anacrónica y confinada.
Formaba parte de la política de Guillermo tratar del mismo modo a todos los protestantes. Esperaba obtener la abolición, por lo que se refería a los disidentes protestantes, de las leyes que los excluían de los cargos públicos, exclusión que aprobaba por lo que afectaba a los católicos romanos. En suma, deseaba que las leyes de Pruebas y de Corporaciones fueran revocadas respecto de los protestantes. Llegó a ofrecer, si los tories consentían en admitir disidentes en los cargos civiles, que en compensación permitiría a los obispos jacobitas «no juramentados» conservar sus sedes sin hacer el juramento de lealtad, oferta en la que brilla más la generosidad que la prudencia. Pero los tories no querían sacrificar el arca de su alianza en beneficio de los jacobitas y los «no juramentados», pues pensaban que la iglesia no estaría segura admitiendo a los disidentes en los cargos civiles y concediéndoles la igualdad política. En el Parlamento, los whigs no pusieron mucho empeño en el asunto, ya que ellos mismos, en cuanto conformistas, podían disfrutar las dulzuras de los cargos con ayuda de los votos no conformistas.
También deseaba Guillermo que el Libro de Oraciones fuera modificado de manera que quedaran incluidos en el cercado de la iglesia el mayor número posible de disidentes ortodoxos. En este punto fue apoyado por Nottingham, jefe del partido de la iglesia en el Parlamento. Pero el clero, reunido en asamblea, se pronunció abiertamente contra tal proyecto. Por otra parte, los disidentes se mostraron, en conjunto, bastante fríos, ya que, en cualquier caso, sólo algunos de ellos —probablemente los presbiterianos— ingresarían en la iglesia, y los que permaneciesen fuera, como los anabaptistas, los cuáqueros y los independientes, se quedarían más aislados aún y más expuestos a ser maltratados. Por estas razones Locke mismo, en el prefacio a la Carta sobre la tolerancia, declaró que las medidas de ampliación no harían más que «aumentar el mal». Y así, el proyecto de ensanchar los límites de la iglesia establecida quedó sin efecto por falta de apoyo.
En consecuencia, bajo el Ordenamiento de la Revolución, los puritanos no sólo quedaron fuera de la iglesia, sino que, al menos teóricamente, quedaron excluidos de los cargos civiles. Sin embargo, puesto que los disidentes protestantes habían gozado siempre de franquicia parlamentaria y puesto que ahora se les concedía tolerancia religiosa, podían constituir con sus votos la fuerza del partido whig, ejercer influencia política sobre los consejos del partido e, indirectamente, sobre los consejos de la nación.
Tal fue, en efecto, la transacción religiosa de 1689. Tuvo el mérito inmenso de proporcionar la paz al país, mérito que compensa con mucho sus defectos lógicos y su discordancia con nuestras teorías modernas acerca de la igualdad religiosa. Gracias a Holanda y a Inglaterra, la tolerancia religiosa empezó a tener un lugar en la práctica y el pensamiento de Europa; pero la igualdad religiosa era una idea que aún no existía en las leyes de los estados europeos ni en las mentes de los hombres. Así como los sucesos del reinado de Jacobo II hicieron durante mucho tiempo imposible en Inglaterra la igualdad religiosa para los católicos, el recuerdo de los sucesos de la revolución cromwelliana aún hacía imposible la igualdad religiosa para los disidentes puritanos, y luchar por ella hubiera producido nuevas catástrofes. De esta suerte, las defensas y monopolios legales de la iglesia de Inglaterra por sus dos lados no fueron destruidos, sino positivamente reforzados por el reinado de Jacobo II y la Revolución que lo siguió. Al mismo tiempo, esos sucesos proporcionaron a los disidentes la tolerancia religiosa y dieron gran impulso al latitudinarismo en el interior de la iglesia, particularmente entre los obispos. La Revolución, tanto en el aspecto político como en el religioso, fue conservadora a la vez que liberal.
La cuestión fundamental cuya solución se buscó en 1688 había sido ésta: ¿Está la ley por encima de los reyes, o están los reyes por encima de la ley? El interés del Parlamento se identificaba con el de la ley porque, indudablemente, el Parlamento podía modificar la ley, de donde se sigue que si la ley estaba por encima de la voluntad de los reyes, pero podía ser modificada por el Parlamento, el Parlamento era el poder supremo del estado.
Jacobo II intentó que la ley pudiera ser modificada por el rey. Si tal cosa se le hubiera permitido, habría hecho del rey un déspota. Los acontecimientos del invierno de 1688-1689 dieron la victoria a la idea contraria, enunciada ya a principios del siglo por el juez Coke y por Selden, según la cual el rey era el primer servidor de la ley, pero no su amo, el ejecutador de la ley, y no su fuente. Las leyes sólo podían ser modificadas por el Parlamento: reyes, lores y comunes juntamente. Esto es lo que hizo de la Revolución un acontecimiento decisivo en la historia de la Constitución inglesa. fue decisivo porque nunca fue anulado, como lo fue la mayor parte del trabajo de la revolución cromwelliana.
Es verdad que en la primera guerra civil se había reñido por la misma razón; el derecho común, en liga con el Parlamento, había triunfado en el campo de batalla de Naseby sobre el rey, en la lucha por el lugar supremo en la Constitución. Pero en aquella ocasión la ley y el Parlamento obtuvieron la victoria sólo porque el puritanismo, que era la pasión religiosa más fuerte del momento, les había suministrado las fuerzas de choque. Y la pasión religiosa perturbó en seguida la solución constitucional. El puritanismo destruyó los límites legales y, aliado con el militarismo, derribó la ley y el Parlamento, lo mismo que al rey. De ahí que fuera necesario en 1660 restaurar al rey, al Parlamento y a la ley juntamente, sin formular una clara definición de sus definitivas y mutuas relaciones.
Ahora, en esta segunda crisis de 1688, la ley y el Parlamento tenían de su lado no sólo la pasión puritana, que había decaído mucho, sino toda la fuerza del protestantismo anglicano, que estaba en su apogeo, y la creciente influencia del escepticismo latitudinario, formados todos en orden de batalla contra el débil interés católico romano, al cual había vinculado Jacobo la fortuna política de la causa real. Los definitivos vencedores en las luchas del siglo XVII no fueron Pym y Cromwell, con sus ideales pritanos, sino Coke y Selden con su idea secular de la supremacía de la ley. En 1689 los puritanos hubieron de contentarse con la simple tolerancia; pero triunfó la ley, y, en consecuencia, el Parlamento, que es quien hace las leyes, triunfó sobre el rey.
Mas la supremacía de la ley no podía quedar definitivamente asegurada si los jueces que la interpretan seguían sometidos a la Corona. Jacobo había destituido a los jueces que se negaron a interpretarla de acuerdo con sus deseos. La Revolución aseguró la independencia del ramo judicial. Una de las primeras acciones ejecutivas de Guillermo como rey encargado de la administración pública fue declarar inamovibles a los jueces, y lo hizo por su propia y libre iniciativa, sin esperar a que el Parlamento aprobase una ley sobre esta materia. Expidió nombramientos a todos los jueces con la fórmula quam diu se bene gesserint —mientras se conduzcan honradamente—, y no durante beneplácito —con beneplácito del rey—. Antes de la Revolución algunos jueces ocasionalmente se habían mantenido bajo el más seguro principio—quam diu se bene gesserint—; pero la mayor parte de ellos habían tenido sus puestos durante beneplácito, y no pocos fueron destituidos por razones políticas. En los reinados de Guillermo y de Ana la Corona no podía destituir a los jueces. Por eso puede decirse con verdad que este gran bien de la independencia del ramo judicial fue en la práctica asegurado por la Revolución, aunque la independencia y la inamovilidad tuvieron estado legal sólo cuando la Ley de Ordenamiento, aprobada en 1701, entró en vigor al subir al trono Jorge I en 1714. La Ley de Ordenamiento establece que:
Los jueces tendrán sus cargos quam diu se bene gesserint y sus salarios serán investigados y aprobados, pero a petición de las dos Cámaras del Parlamento, podrá destituírseles legalmente.Sólo esto dio fuerza legal a lo que ya habían practicado Guillermo y Ana desde la Revolución; pero la Ley de Ordenamiento añadió la facultad de destituir a los jueces a petición de las dos Cámaras como salvaguardia contra los jueces que abusaren de su inamovilidad. Bajo ese principio tienen hoy sus cargos nuestros jueces.
La inamovilidad de los jueces contribuyó mucho a poner el poder judicial fuera y por encima de la esfera política. La ley es desde entonces el árbitro que dirime pleitos y diferencias según sus propias pautas, sin temor a lo que el gobierno pueda intentar contra los jueces o contra los jurados. Es difícil exagerar la importancia de este hecho como un paso hacia la justicia y la civilización verdaderas. Todavía no ha sido dado, o quizá después de dado fue abolido, en muchos países extranjeros, donde la «justicia» es todavía una parte de la política y sostén del despotismo. Pero en Inglaterra la vieja idea de los Tudores, de que los jueces eran «leones bajo el trono», perdió toda vigencia con la Revolución, a partir de la cual fueron árbitros entre la Corona y los súbditos, y actúan por principios legales y en virtud de pruebas y testimonios. No habían dejado de ser instrumentos de la política real para convertirse en meros instrumentos de la facción tory o de la facción whig. Los jueces, como cualesquiera otros hombres, indudablemente se dejan influir frecuentemente por sus propias opiniones políticas; pero no dependen del gobierno, whig o tory, ya que no pueden ser destituidos. Bajo Guillermo y Ana no fue raro que los jueces tories contrariasen a gobiernos whigs, o viceversa, cuando intentaban actuar sobre la administración de justicia.
Puesto que la justicia pública iba a ser en adelante imparcial, y no un mero instrumento de la Corona, la Ley de Transición fue modificada en 1695 con gran ventaja para los acusados, a quienes hay que entregar una copia de la acusación. Además, pueden nombrar un abogado defensor y exigir la comparecencia de testigos de descargo. Se necesitan dos testigos de cargo para que se considere probado un acto de traición manifiesta. En adelante, y por primera vez en nuestra historia, el asesinato judicial dejó de ser un arma política y de gobierno.
Este progreso en el campo de la justicia política formaba parte de un movimiento más general hacia una justicia más humana y más científica que se desarrollaba lentamente y que culminó en el siglo XIX. En el transcurso del siglo XVIII progresó la comprensión del valor real de las pruebas, así como de la invalidez de ciertos tipos de pruebas, como las que suministran los delatores profesionales, Tito Oates por ejemplo. Esta mejora en la inteligencia y la justicia de los tribunales no sólo se dejó sentir en procesos de carácter político. En casos de todas clases, las reglas de las pruebas —cuáles puede recibir un tribunal y cuáles no— quedaron establecidas por los tribunales en el curso del siglo XVIII. Sir Juan Holt, presidente del Tribunal Supremo bajo Guillermo y Ana, introdujo un nuevo régimen de humanidad e imparcialidad para el acusado. Los tiempos de Scroggs y Jeffreys habían pasado para siempre. [20]
* * * *
Debido a la experiencia de la tiranía de Jacobo, los principios «liberales» del Ordenamiento de la Revolución fueron tan bien acogidos por los tories como por los mismos whigs. La reducción del poder personal del rey, la supremacía del Parlamento y de la ley, la independencia de los jueces, la garantía de los derechos individuales y de las corporaciones municipales con carta de privilegio contra las extralimitaciones del poder ejecutivo, fueron causas sumamente populares entre los tories de 1689. En los últimos años de Carlos II, los tories, en su odio contra los Parlamentos whigs, habían hablado y actuado como realistas extremados y puesto su confianza en los poderes del rey, que anularon con gran satisfacción después de las experiencias del reinado de Jacobo. Nunca volvió a ser el partido tory un partido realista, en el sentido de querer aumentar las prerrogativas reales, porque no volvieron a encontrar un rey a su pleno gusto hasta que subió al trono Jorge III. Los altos tories pronto hallaron motivos de descontento con Guillermo III, y, contrariamente a lo que esperaban, con Ana, y más aún con Jorge I y Jorge II. Por esta razón, durante los setenta años que siguieron a la Revolución, los altos tories no recuperaron el entusiasmo por el portador de la Corona que habían sentido en los postreros años de Carlos II. Y ése es el motivo por el cual la limitación del poder de la Corona efectuada por la Revolución contó en lo sucesivo con la aprobación de todos los partidos del estado. Y cuando, al fin, subió al trono en 1760 un rey grato a los tories, ya era demasiado tarde para resucitar la vieja prerrogativa. No se hizo el menor intento para restaurar los poderes de los reyes Estuardos. Jorge III, entregado al influjo protestante, no fue sino demasiado fiel a la letra del Ordenamiento de la Revolución. Todo lo que intentó fue, y eso con asentimiento del Parlamento, recobrar para sí las facultades que el primer Ordenamiento había dejado en 1689 a la persona del rey, pero que bajo los primeros reyes hanoverianos habían sido ejercidas por los ministros whigs.Mas aunque, después de la Revolución, los ingleses tenían poco que temer del despotismo real, podían temer, en cambio, las extralimitaciones contra la libertad por parte de los nuevos amos, las Cámaras del Parlamento y los gobiernos armados con la asistencia de aquéllas; pero el peligro fue mitigado por la división del Parlamento en whigs y tories, que asegura, bajo el nuevo régimen, la libertad de los súbditos. Por la rivalidad de los dos partidos, los whigs abrazan la causa de cualquier persona perseguida por un gobierno tory o por una Cámara de los Comunes tory; y a su vez los tories se constituyen en campeones de la víctima más humilde de la tiranía whig. Se cuentan por centenares los ejemplos de la acción de esta ley de dinámica política durante los reinados de Guillermo y de Ana, aparte de los bienes conocidos de los peticionarios de Kent, de los hombres de Aylesbury, del doctor Sacheverell, y el fracaso de las acusaciones contra Somers y contra Oxford. La Revolución quizá hizo al Parlamento peligrosamente poderoso; mas, por fortuna para la libertad, el Parlamento siguió siendo un organismo dividido contra sí mismo.
Así lo demostró en el importante asunto de la libertad de imprenta. El derecho de imprimir y publicar escritos ofensivos para el gobierno quedó asegurado como resultado de la Revolución y de la incesante rivalidad de tories y whigs. Anteriormente, en Inglaterra como en otros países, era necesario obtener licencia de las autoridades para imprimir y publicar un libro, un folleto o un periódico. Había, naturalmente, imprentas clandestinas que, por ser ilegales, eran generalmente manejadas por los más violentos enemigos del gobierno, a menudo de manera bastante procaz. Pero la discusión abierta y legítima, tanto en materia religiosa como política, estaba prohibida por una rígida censura. Como consecuencia del espíritu de la nueva época incorporado por la Revolución, esta forma de control gubernativo fue abolida en 1695. En ese año, el mismo en que tuvo efecto la reforma de la Ley de Traición, la ley anual de la censura de imprenta fue omitida, y después no volvió nunca a ser restablecida.
Después de esa gran emancipación, los autores y editores aún corrían, y siguen corriendo hoy, el riesgo de un proceso por sedición o por difamación ante un jurado de compatriotas. Sin esa salvaguardia, la «libertad de imprenta» hubiera sido algo muy perniciosa. «Libertad de imprenta» quiere decir abolición de la censura, por lo cual había luchado Milton en su Areopagitica, or the Liberty of Unlicensed Printing. En este magnífico folleto, medio poético, medio político, se encuentra aquella famosa fanfarronada patriótica: «¿Qué hace Dios sino revelarse a sus servidores, y, como es su costumbre, a los ingleses antes que a nadie?». Mucho le hubiera agradado a Milton saber que, en efecto, fue Inglaterra el primer gran país que tuvo la libertad de imprenta, cincuenta años después de publicada su Areopagitica. En su tiempo, la violencia partidista, de la cual él mismo estaba profundamente infectado, hacía imposible la libertad de palabra y de imprenta. La «libertad de imprimir y publicar sin licencia» no nació con Pym o con Cromwell, sino que fue resultado de una renovación más pacífica y conservadora. Pues el Ordenamiento de la Revolución de 1689 no fue el triunfo de un partido, sino un acuerdo entre los dos partidos principales para vivir y dejar vivir a los demás. El equilibrio entre whigs y tories, celosos los unos de los otros y todos celosos de la Corona, sirvió para proteger las libertades individuales de los ingleses contra las extralimitaciones del poder.
Capítulo VI
Estabilidad y desarrollo del renacimiento revolucionario
El Ordenamiento de 1689 no fue, por lo que concierne a Inglaterra, un mero triunfo partidista o sectario, sino una transacción entre los partidos y las iglesias para vivir y dejar vivir. En Inglaterra, aunque no en Escocia ni en Irlanda, los jacobitas que quedaron excluidos del nuevo plan de gobierno eran sólo una pequeña parte de la comunidad. El nuevo régimen —monarquía controlada por el Parlamento— se acomodaba perfectamente a los whigs y los tories, y a las clases sociales y tipos de pensamiento que los dos partidos representaban. La Revolución inglesa no produjo en la vida nacional la permanente hendidura que la Revolución francesa produjo en Francia. Al contrario, fue más una reconciliación que una división.
Bajo Guillermo y Ana, el gobierno fue mixto de whigs y tories; bajo los dos primeros Jorges, fue whig; y bajo Jorge III y Jorge IV fue una vez más predominantemente tory. Durante este largo período, de 1689 a 1828, no se operó ningún cambio esencial en las leyes ni en las costumbres de la iglesia y del estado, excepto el desarrollo del sistema de gabinete y el cargo de primer ministro como vínculos entre la Corona y el Parlamento, y la creciente tendencia a considerar a los ministros como responsables de todos los actos políticos de aquélla. En la primera parte de este período los whigs se dedicaron sobre todo a defender la Constitución contra los jacobitas, y los tories a defenderla por su otro flanco contra los «jacobinos», como se llamaba a los radicales; pero durante todo ese tiempo la Constitución no se modificó. El siglo XVIII fue el más conservador de la historia moderna de Inglaterra por lo que se refiere a las instituciones del país, tanto centrales como locales; fue hasta excesivamente conservador, teniendo en cuenta que la revolución industrial comenzó a mediados de este largo período de estabilidad y estancamiento institucional. Los cambios sociales se adelantaban a la inmovilidad política.
¿Por qué los reyes no hicieron nada por recuperar la perdida prerrogativa de los Estuardos? ¿Por qué las leyes de 1689, por qué la Declaración de Derechos, fueron respetadas por los sucesores de Jacobo II mucho más de lo que éste había respetado otras leyes no menos explícitas? ¿Cuáles fueron, en suma, las ratificaciones definitivas del Ordenamiento de la Revolución?
En primer lugar, la repercusión de un acontecimiento tan grande como la Revolución en la mente y la memoria de los hombres, ya constituía, en sí misma, una causa de estabilidad. El destierro de Jacobo fue una severa advertencia para los reyes de Inglaterra y para sus consejeros que nunca olvidaron éstos.
En segundo lugar, no podía sostenerse una fuerza militar sin la sanción del Parlamento. El ejército seguía bajo las órdenes del rey, que nombraba a los oficiales, pero sólo podía sostenerlo mediante una petición anual a la Cámara de los Comunes. La Declaración de Derechos lo había establecido:
Que el reclutamiento y sostenimiento de un ejército permanente estando el reino en paz, es contrario a la ley, a menos que cuente con el consentimiento del Parlamento.Esto no era más que la mera repetición de la antigua ley que Jacobo había violado; pero el control efectivo del Parlamento, y particularmente de los Comunes, sobre el ejército, se extendió y reafirmó todavía más como resultado de la Revolución, hasta comprender los tiempos de guerra lo mismo que los de paz.
El control parlamentario sobre las fuerzas armadas de la Corona fue reforzado de dos maneras. Ni en paz ni en guerra volvió a dársele al rey más dinero que el necesario para sostener el ejército durante un año. Y la Ley de Sedición, por la cual, en abril de 1689, el Parlamento lo facultó legalmente para mantener la disciplina entre sus soldados con Tribunales Marciales, sólo fue aprobada para siete meses, hasta el siguiente período de sesiones, y desde entonces ha venido siendo renovada anualmente por los votos del Parlamento. Si el rey omitiese la convocatoria de las Cámaras por un solo año, el ejército, sin paga y sin disciplina, no podría ser sostenido.
El Parlamento que luchó contra Carlos I había reclamado para sí el mando de las fuerzas de mar y tierra. Pero los estadistas de la Revolución, una vez que se libraron de Jacobo, no necesitaron resucitar aquella pretensión tan claramente anticonstitucional. No necesitaron coaccionar a Guillermo con una fuerza armada, ya que tenían otros medios de control sobre él, y por eso dejaron de buen grado en sus manos el mando de los soldados y los marinos. La lealtad personal hacia el rey sigue siendo la ley y la tradición del ejército, y se brinda por su salud, no por la del Parlamento, a la hora del rancho. Los soldados «sirven al rey», y es el rey quien confiere los mandos a los oficiales. Desde 1689 el Parlamento ve estas cosas sin miedo ni celos, porque sabe que si el rey rompiese con la Cámara de los Comunes, no habría ejército en absoluto. En realidad, después de la Revolución, los whigs sintieron menos recelo que los tories hacia un ejército permanente.
Guillermo y Ana pudieron sostener una larga y al fin victoriosa guerra contra el gran poderío de Francia, porque contaron con la confianza y el apoyo del Parlamento. La eficacia inglesa fue duplicada por la Revolución, sin perder la libertad nacional, precio que hubimos de pagar bajo Cromwell para ganar prestigio en los consejos de Europa.
Esta mayor eficacia de Inglaterra en la guerra y en la política exterior fue resultado, no sólo de las nuevas medidas acerca del ejército, sino, en términos generales, de la cooperación entre el Parlamento y la Corona, que tan señaladamente había faltado durante los reinados de los Estuardos. Sobre todo, se debió a la mejor disposición de la Cámara de los Comunes para votar subsidios con destino a guerras y a políticas exteriores que él mismo aprobaba y controlaba como no había podido hacerlo en tiempos del Tratado de Dover, concertado por Carlos II. Realmente, el sistema financiero establecido por la Revolución fue la clave del poderío inglés en los siglos XVIII y XIX, y asimismo la principal ratificación del Ordenamiento de la Revolución. Ningún rey posterior a Jacobo disfrutó de una situación financiera que le permitiese violar la ley o romper seriamente con la Cámara de los Comunes. Aun Jorge III, en los días en que era más impopular en el país, tuvo a su lado a la Cámara de los Comunes, que le votaba los subsidios; y así que perdió su mayoría en ella, terminó su gobierno personal.
Los Tudores y los primeros Estuardos habían vivido de sus propias rentas y de las concesiones vitalicias que los Comunes votaban para cada rey cuando subía al trono. La reunión del Parlamento no era un acontecimiento anual, sino ocasional. Sólo de vez en cuando Isabel y Carlos I habían acudido a la Cámara de los Comunes en petición de ayuda. Carlos II y Jacobo II obtuvieron también, al subir al trono, grandes subsidios vitalicios, con los cuales, aunque en sí mismos no eran suficientes, Carlos II, con la ayuda del oro del rey de Francia, pudo, al final de su reinado, pasarse cuatro años sin convocar al Parlamento, y Jacobo II no lo convocó durante tres.
Instruidos por tales experiencias, los Comunes tuvieron buen cuidado de que, después de la Revolución, la Corona no pudiera subvenir a sus gastos sin tener que recurrir cada año al Parlamento. A Guillermo no se le concedió un cuantioso subsidio vitalicio. Todos los años él y sus ministros tenían que acudir, sombrero en mano, a la Cámara de los Comunes, y con frecuencia los Comunes imponían un contrato y exigían un quid pro quo en compensación del subsidio. No se votaba ninguna cantidad hasta que el rey no hubiera hecho alguna concesión o no retirara su oposición a alguna medida política que le desagradaba. Este sistema, al hacerse anual y no intermitente, convirtió a los Comunes en dueños de la política de la Corona, y a poco llegó a un resultado no previsto por nadie en 1689: la selección de los ministros del rey de acuerdo con el principio de que tenían que ser del mismo partido que contaba con la mayoría en la Cámara de los Comunes.
Después de la Revolución, los Comunes se mostraron mejor dispuestos a votar dinero no sólo porque tenían un control más estrecho sobre los ministros del rey, sino también porque no temían que se aplicasen impropiamente las cantidades que votaban. Se estableció un sistema que impedía que el dinero fuera gastado en otra cosa que aquella para la que se había acordado. Se votaba cierta suma para uso personal de Guillermo, la cual fue el comienzo de la actual «lista civil». Pero el resto del dinero, que constituía la gran parte del subsidio, se destinaba a un objeto u otro por los votos de los Comunes. Unas comisiones de la Cámara revisaban cuidadosamente las cuentas, y desgraciado del ministro que gastara cualquier cantidad en otra cosa que aquella a que estaba destinada. La Cámara tenía ahora, de hecho, el control detallado de la hacienda pública nacional y podía ser más liberal que antes de la Revolución. La lucha por la inversión de los subsidios había continuado en el reinado de Carlos II. Después de la Revolución, ya fue asunto terminado. El control de las finanzas por la maquinaria montada por los Comunes era completo, y ésta fue una de las razones por las cuales la situación financiera de los gobiernos mejoró tanto después de la Revolución. Los Comunes no tenían, para atar corto al rey en materia de dinero, el mismo motivo que había operado tan desastrosamente para la hacienda nacional en los días de Carlos I y Carlos II.
Los impuestos no se votaban a propuesta, muchas veces irresponsable, de cualquier diputado. Los funcionarios del Tesoro, en los reinados de Guillermo y de Ana, formulaban un proyecto de impuestos para el año, y aquellos de dichos funcionarios que tenían asiento en la Cámara, lo presentaban a la consideración de los Comunes. Esos proyectos no eran unificados, como en tiempos posteriores, en una ley presupuestaria total; mas no por eso dejaba cada impuesto propuesto de estar incluido en un plan general formulado por el Tesoro. Algunos de los funcionarios más importantes del Tesoro, como sir Stephen Fox y Guillermo Lowndes, eran miembros de la Cámara y tomaban parte activa en los debates. Este sistema fue admitido de un modo tan completo que, a fines del reinado de Ana, la Cámara aprobó la famosa Orden Permanente Nº 66 (según el número con que ahora se la conoce), por virtud de la cual no puede votarse ninguna cantidad para ningún objeto como no sea a propuesta de los ministros de la Corona.
Los ministros y los funcionarios del Tesoro entraron, por ese sistema, en contacto directo con los legisladores, para explicar, defender y modificar la política que patrocinaban como técnicos, sometiéndose a la crítica de los squires del país. Éstos, a su vez, mediante estas discusiones se fueron instruyendo en las artes del gobierno y en la ciencia de las finanzas, y aprendieron a estimar las necesidades y los métodos de gobierno. Bajo este sistema peculiarmente inglés, la Corona, los ministros y el Tesoro estaban unidos a la Cámara de los Comunes por los mismos hilos conductores; pero no siempre es fácil decir cuándo guiaba la Cámara o cuándo era guiada. Fue una organización muy admirable, base al mismo tiempo de una hacienda sólida, una administración honrada y un gobierno libre. La confianza mutua entre el poder legislativo y el poder ejecutivo, garantizada por este minucioso sistema de control mutuo, hizo a la Cámara de los Comunes generosa para conceder dinero, en sorprendente contraste con los mezquinos subsidios que sus padres habían concedido a Carlos II, en tiempos en que los diputados tenían sólo un control muy irregular sobre los fines, la política y las personas a quienes en realidad se aplicaría el dinero votado.
Así, las deudas del gobierno fueron dejando de ser deudas personales del soberano y convirtiéndose en deudas nacionales, contraídas con el consentimiento y a base del crédito del Parlamento. Durante las guerras contra Francia, la deuda creció a grandes saltos, pero su crecimiento no tuvo consecuencias fatales, como esperaban que las tuvieran nuestros antepasados de entonces, porque pesaba sobre un sólido sistema garantizado por el Parlamento. Desde entonces se llama Deuda Nacional, y no deuda del rey. Un rey puede fácilmente hacer bancarrota, como en efecto la hizo Carlos II; pero es sumamente difícil que la haga la nación.
El gobierno respaldado por la garantía del Parlamento, la Deuda Nacional y el Banco de Inglaterra, fundado en 1694, tales fueron los métodos y las instituciones que permitieron a Inglaterra derrotar a Francia y ensanchar su imperio tanto por la bolsa como por la espada. Sin la colaboración de Godolphin, Lord Tesorero, Marlborough no hubiera ganado sus batallas, y sin la ayuda financiera de la City y de la Cámara de los Comunes todo el genio de Pitt no hubiera ganado para Inglaterra el Canadá y la India. El sistema de empréstitos del gobierno se hizo más fácil por el hecho de que el dinero acudiera movido por la adhesión política a los gobiernos nacidos de la Revolución. Generación tras generación hemos visto cómo los magnates de la City, muchos de los cuales eran disidentes, abrían sus bolsas para invertir su dinero en la Deuda Nacional garantizada por el Parlamento, a fin de ayudar a gobiernos que tenían su confianza. Sus antecesores no habían mostrado la misma buena voluntad para hacer empréstitos a Carlos II y Jacobo II con menos seguridad y para fines que tenían buenas razones en considerar sospechosos.
Todas esas cosas contribuyeron al poder de Inglaterra en el interior y en los mares. En 1688 Francia no sólo era una nación mucho más populosa y rica que Inglaterra, sino que, en la opinión del mundo, le era muy superior en organización política y financiera. Pero después de la Revolución inglesa nuestro sistema político y financiero hizo a nuestros reyes más ricos que todos sus rivales, mientras que las finanzas y la monarquía francesas iniciaban el camino del descenso hasta llegar al estallido de 1789.
En todo lo que afectaba a las finanzas, la Cámara de los Comunes se convirtió en la autoridad suprema, y esta supremacía se extendió de manera muy natural al control del comercio. La Corona se vio privada de una vieja prerrogativa: la facultad de conceder monopolios comerciales. En 1693 la Cámara de los Comunes aprobó una resolución según la cual todos los súbditos ingleses tenían igual derecho para comerciar con las Indias Orientales, a menos que expresamente se lo prohibiera el Parlamento. Guillermo no se aventuró a hacer frente a esta resolución, que arrebató a la Corona una de sus principales fuentes de independencia económica y de influencia: la facultad de crear monopolios comerciales, que habían tenido Isabel y los reyes Estuardos. La carta privilegio de la nueva Compañía de las Indias Orientales, y las de todas las compañías monopolizadoras, como la Compañía del África oriental, en adelante fueron otorgadas por disposición del Parlamento. Desde entonces, las compañías capitalistas y comerciales, como la gran Josiah Child y sus rivales de la Free Trade, no debían ya mirar hacia la Corte, sino hacia el Parlamento, y ganaban o perdían sus fortunas intrigando y sobornando en los pasillos de Westminster y no en las antecámaras y gabinetes de Whitehall. Éste es un ejemplo muy característico e importante del cambio de poder que operó la Revolución, el cual afectó a todas las esferas de la vida nacional.
Antes, desde los tiempos, de los reyes normandos y de los Plantagenet, «la Corte» había sido el corazón de Inglaterra, a través de la cual fluían todas sus corrientes vitales. En «la Corte» siempre se encontraba lo mejor y lo peor, luchando en el pantano de ambición y de intriga que rodeaba a la persona del soberano. El obispo, el abogado, el reformador religioso, el hombre de moda, el jugador, el autor sabio, el poeta, el dramaturgo, el artista, el comerciante, el que perseguía el progreso de la agricultura, el noble arruinado que andaba tras monopolios o tierras confiscadas, el inventor científico, el especulador financiero, el murmurador y el vulgar petardista, todos buscaban la protección de la Corte. A donde quiera que el rey fuese, llevaba tras sí a esta caterva de solicitantes. La vida de la Corte era el compendio de la vida nacional. Así había sido en el reinado de Isabel, cuando, como dice Touchstone, no estar en la Corte era estar condenado. Y así era aún en el Whitehall de Carlos II.
Todo eso tuvo su fin con la Revolución. El poder y la protección pasaron a la Cámara de los Comunes y a los Pares del Reino. Y al mismo tiempo, bajo un holandés frío y preocupado, a quien sucedió la inválida Ana, la Corte perdió su importancia social y de dictadora de la moda aún más rápidamente que su poder político. El Palacio se convirtió, y lo ha seguido siendo hasta ahora, en el cerrado y doméstico refugio de nuestros laboriosos reyes y reinas, donde se recibe diariamente a los servidores públicos y donde, con ocasión de fiestas y ceremonias oficiales, las puertas se abren de par en par a una muchedumbre de visitantes distinguidos y cuidadosamente seleccionados. Pero desde la Revolución no ha vuelto a ser nunca el concurrido y público centro de la vida inglesa.
La Cámara de los Comunes ha sido la heredera de la antigua Corte. Difícilmente puede la Cámara ser el centro de la moda, del arte y de la literatura, como lo fue la Corte en otro tiempo; pero esas actividades encontraron patrocinadores, primero entre la aristocracia, y después entre el público en general. La abolición de la censura contribuyó a librar a los autores de la necesidad de hacer la corte a «los grandes», aunque durante el reinado de Ana los políticos whigs y tories procuraban atraerse a los principales escritores del día para que sirviesen a sus partidos como poetas o como panfletistas.
Pero la Cámara de los Comunes posterior a la Revolución sucedió a la Corte del rey como lugar donde pueden adquirirse riqueza e influencia. Los ministros elegidos por Guillermo, Ana y Jorge sólo podían gobernar al país si contaban con la buena gracia de los Comunes. Y así el valor social y económico de asiento en la Cámara subió con extraordinaria rapidez. Desde que el Parlamento Largo afirmó el poder de los Comunes, los miembros de la Cámara se vieron cortejados y no pocas veces se dejaron sobornar. Carlos II y Luis XIV tuvieron diputados a su servicio pagados por ellos. Después de la Revolución, el rey de Francia dejó de ser un competidor serio; pero el rey de Inglaterra y sus ministros tuvieron que acudir con más frecuencia que nunca al soborno directo o indirecto de la Cámara de los Comunes. El gobierno colocaba a los diputados en cargos y sinecuras bien remunerados; los comerciantes y las compañías mercantiles les pagaban con acciones de sus negocios o con dinero contante. El lugar más vital y más corrompido de Inglaterra en los tiempos anteriores había sido Whitehall; después lo fue Westminster. Los buitres acudirán siempre al lugar donde esté la carroña.
Con todas sus desventajas y peligros, el espíritu de partido sirvió al menos para atenuar la corrupción. Whigs y tories, con su idealismo unilateral y su lealtad de facción, conservaron un coro incorruptible de fanáticos, dispuestos a sobornar, pero no a ser sobornados. Mientras los partidos lucharon entre sí vigorosamente, como ocurrió en los reinados de Guillermo y de Ana, mientras las controversias fueron rudas y sinceras, la opinión pública tuvo gran influencia sobre la Cámara de los Comunes y la corrupción y el medro se vieron contenidos en ciertos límites. Pero cuando, bajo los dos primeros Jorges, el partido tory, dividido por la cuestión dinástica, se desconcertó y desapareció de la superficie política, desapareció también durante cuarenta años (1720-1760) la rivalidad sincera de los partidos sobre cuestiones de principio. Durante este período de los regímenes de Walpole y Pelham, el gobierno parlamentario fue manejado por camarillas de magnates whigs a quienes sólo dividía la rivalidad personal en la arrebatiña de puestos e influencia. Bajo el pacífico gobierno de Walpole, «cada hombre tenía su precio», porque la opinión pública, muy satisfecha de su amplia tolerancia, permitió a los políticos proceder demasiado a su gusto.
Durante este período de letargo político, se perfeccionó el sistema del tráfico de distritos electorales mediante el cual un particular, lord o caballero, adquiría el poder de nombrar diputados por los «burgos podridos». En tiempos de Walpole, la mayor parte de los «burgos podridos» estaba en manos de los whigs; durante los reinados de Jorge III y IV, la mayor parte estaban en manos de los tories. Pero fuera cualquiera el partido beneficiario, el sistema era esencialmente el mismo, hasta que fue barrido por la Ley de Reforma de 1832.
En la segunda mitad del siglo XVIII la Cámara de los Comunes representó menos las verdaderas fuerzas políticas del país que durante los reinados de Guillermo y Ana. Los cambios en la distribución geográfica de la población y el crecimiento de nuevas clases sociales no produjeron variación ninguna en la representación parlamentaria hasta la tardía Ley de Reforma. Pero no debemos exagerar. Nunca hubo una oligarquía cerrada; cuando el país despertaba del todo, podía hacer efectiva su voluntad aun antes de ser reformada la Cámara de los Comunes. Así, en las elecciones generales de 1831, celebradas con vistas a la Ley de Reforma, fue elegida una mayoría de 120 para abolir los burgos podridos. La no reformada Cámara de los Comunes se reformó a sí misma. No fue necesaria una segunda revolución.
De 1689 a 1832 el poder de la Corona era todavía muy grande, aunque se movía dentro de los límites legales fijados y aceptaba la dependencia del ejecutivo respecto del Parlamento. Guillermo y Ana intentaron gobernar con ministerios mixtos de whigs y tories; pero pronto fue necesario formar ministerios de un solo partido, el que tenía la mayoría en la Cámara de los Comunes. Los partidos se convirtieron en los únicos medios con que el gobierno del rey era viable bajo los soberanos de la Casa de Hanover; pero el poder de la Corona, como fuente de honores y de protección, era todavía bastante grande para permitir al rey elegir entre los dos partidos el que había de gobernar. Jorge I y Jorge II eligieron a los whigs; Jorge III y Jorge IV se inclinaron con más frecuencia por los tories. Pues el poder y la protección de la Corona eran suficientes para determinar el resultado de unas elecciones generales entre dos partidos de fuerzas tan equilibradas; y ese poder era tanto mayor cuanto más equilibradas estaban las fuerzas de los partidos. Cowper, Canciller whig, escribió un memorándum para Jorge I cuando éste subió al trono (1714) en el que se leen las siguientes significativas palabras:
Permítame Vuestra Majestad decirle, basado en repetidas experiencias, que los partidos son tan iguales en fuerzas, y la generalidad de las gentes es tan afecta a las ventajas que un rey de Gran Bretaña tiene, sin faltar en lo más mínimo a la ley, para conceder su favor al que prefiera, que está plenamente en el poder de Vuestra Majestad dar a aquel de los dos partidos que mejor le parezca una clara mayoría en todos los Parlamentos sucesivos, sólo con mostrar su preferencia oportunamente antes de las elecciones, por uno u otro de ellos.En suma, el Canciller había aprendido por «repetidas experiencias» durante el reinado de Ana que el patrocinio de la Corona podía decidir el resultado de las elecciones generales a favor de cualquiera de los dos partidos. Esto era posible gracias al pequeño número de electores y a la existencia de los burgos podridos, propiedad de una sola persona cuya ayuda podía comprar el gobierno con la concesión de títulos o de cargos. Cuando la Ley de Reforma de 1832 aumentó el número y la independencia de los electores en los distritos electorales, el patrocinio de la Corona o del ministerio ya no pudo decidir el resultado de las elecciones. La Corona abandonó el juego político, y los partidos necesitaron vencerse el uno al otro mediante proyectos legislativos tendientes a persuadir o sobornar a todas las clases sociales. Posiblemente fue una mejora; pero desde luego fue un cambio.
Ya se ve, pues, que bajo el Ordenamiento de la Revolución gozaba todavía de gran poder el portador de la Corona, aunque debía usarlo cuidadosa y prudentemente, pues no era posible una política gubernamental contraria a la voluntad de la Cámara de los Comunes.
* * * *
Cuando en septiembre de 1913, con motivo de la crisis provocada por el Home Rule,[21] se suscitó la cuestión de si el rey podía constitucionalmente disolver el Parlamento contra la opinión de sus ministros, lord Esher escribió en beneficio de Jorge V un memorándum que contiene las siguientes palabras:Entonces, ¿no tiene el rey prerrogativas?
Sí, tiene muchas; pero cuando son puestas en acción, deben ser ejercitadas previo consejo de un ministro responsable ante el Parlamento. En ningún caso puede el Soberano desarrollar una acción política si no está respaldada por un ministro que responde de ella ante el Parlamento.
Esta proposición es fundamental, y diferencia a la Monarquía Constitucional basada en los principios de 1688 de todas las demás formas de gobierno.
* * * *
Eso es absolutamente cierto. La responsabilidad de los ministros respecto de todos los actos políticos del rey ha sido mantenida desde los comienzos del reinado de Victoria hasta nuestros días, y Esher tenía razón en decir «basada en los principios de 1688». Sin embargo, en la fecha de la Revolución no había sido establecida de un modo tan rígido. En conjunto, la Revolución hizo más por limitar la prerrogativa regia que por transferir lo que aún quedaba de ella de las manos del rey a las de sus ministros; este cambio consecuencial se produjo gradualmente a medida que pasaron los años.Por ejemplo, Guillermo III todavía ejercitó según su propia y libre iniciativa la importante prerrogativa de cambiar de ministros y disolver el Parlamento. En 1690 y en 1707 ejercitó esas prerrogativas contra la opinión de sus ministros más importantes y contra la voluntad de las respectivas Cámaras de los Comunes; pero en ambas ocasiones el cuerpo electoral endosó sus actos a las subsiguientes elecciones. Ana hizo lo mismo en 1710, y Jorge III en 1783, con igual resultado. Volvió a repetirlo Guillermo IV en 1834, pero las elecciones generales subsiguientes dieron un resultado contrario al acto del rey. Desde entonces, ningún monarca ha intentado cambiar de ministros contra la voluntad de la Cámara de los Comunes ni disolver el Parlamento contra la opinión de sus ministros.
Parece, pues, que lo que subsistió de las prerrogativas de la Corona, limitadas por la Declaración de Derechos de la Revolución, no pasó en su integridad de las manos del rey a las de sus ministros hasta que subió al trono Victoria. Pero Esher estaba en lo cierto al adscribir la absoluta responsabilidad que hoy tienen los ministros en relación con todas las acciones políticas del rey, a los principios de 1688, pues de esos principios se fue desenvolviendo gradualmente la rígida práctica actual bajo la presión de las nuevas circunstancias creadas por la Revolución.
* * * *
Aunque la balanza se había inclinado en 1689 del lado del Parlamento, nuestra Constitución siguió siendo aún, como nuestros antepasados se complacían en llamarla, una Constitución «mixta», del rey, de los Lores y de los Comunes. Cada una de estas partes tuvo un lugar importante y bien definido en las funciones del gobierno desde 1689 hasta 1832.¿Cuál fue, pues, el lugar que el Ordenamiento de la Revolución asignó a la Cámara de los Lores? Para conservar los ministros su puesto, ¿les bastaba estar de acuerdo sólo con la Cámara de los Comunes? Así ocurre actualmente, lo mismo en apariencia que en realidad; y durante el siglo XVIII ocurrió lo mismo, al menos en apariencia. Fueron los Comunes quienes votaron los subsidios para Guillermo y Ana, y quienes, en consecuencia, discutieron sus términos. Durante algún tiempo, los principales ministros siguieron sentándose en la Cámara de los Lores, hasta que Walpole advirtió dónde residía el verdadero poder y prefirió gobernar al país desde su asiento en la Cámara de los Comunes (1721-1842). Era el voto de los Comunes, no el de los Lores, el que sostenía o derribaba Gabinetes. La lucha más enconada que hubo de sostener el ministerio Walpole (1741-1742) tuvo efecto, mes tras mes, en la angosta nave de la capilla de San Esteban. Cuando al fin desapareció la mayoría de Walpole en los Comunes, dimitió su cargo y se retiró a los Lores, donde encontró, en la digna calma de la Cámara Alta, a su antiguo adversario Pulteney, a quien en una ocasión le dijo bromeando:
Mi lord Bath, usted y yo somos ahora los dos hombres más insignificantes de Inglaterra.De ahí puede inferirse que los Lores ya no tenían importancia; pero en realidad conservaron una influencia considerable sobre los gobiernos desde la Revolución hasta la ley de Reforma de 1832, porque cada par, de acuerdo con el sistema de los burgos podridos, podía elegir un diputado para la Cámara de los Comunes a la hora de las elecciones. Este control aristocrático de las elecciones aumentó en el transcurso del siglo XVIII, y debido en parte a esta causa hubo menos conflictos entre las dos Cámaras parlamentarias bajo los reyes hanoverianos que bajo Guillermo y Ana. Con los dos primeros Jorges la mayoría fue siempre whig en las dos Cámaras, y con Jorge III y Jorge IV fue por lo general tory. De este modo, la armonía entre las dos Cámaras del Parlamento continuó, lo mismo con gobiernos whigs que con gobiernos tories, hasta que el gran campeonato de fuerza entre Lores y Comunes, con motivo de la Ley de Reforma de 1832 demostró de qué lado estaba definitivamente el poder.
La Cámara de los Comunes durante el siglo XVIII estuvo compuesta principalmente por terratenientes, pero terratenientes que estaban en estrecho contacto con otros intereses además de los de la tierra. Muchos de los profesionales importantes, especialmente abogados, grandes comerciantes, oficiales del ejército, y unos pocos por su propio talento, como Burke, tuvieron asiento en la Cámara. Un inglés ambicioso y hábil tenía por lo común dos aspiraciones: ser miembro del Parlamento y adquirir una hacienda rústica. De esta suerte la Cámara de los Comunes, aunque era principalmente una asamblea de terratenientes, no por eso dejó de ser también un epítome o representación de las clases cultivadas e influyentes, aunque el sistema de elección era fortuito y azaroso [22].
Los whigs representaban principalmente a los grandes terratenientes, a los disidentes y a las clases mercantiles; los tories, a su vez, representaban a los squires y a la iglesia. Pero, de hecho, la ruidosa batalla entre el interés de la propiedad rústica, representado por los tories y del dinero «amonedado», representado por los whigs, fue en gran parte asunto de consignas de partido, que no influyó mucho en la política. En la práctica, los whigs no descuidaban los intereses de la tierra ni los tories los del comercio. En el transcurso del siglo XVIII, y fuese cualquiera de los dos partidos el que estuviera en el poder, la Cámara de los Comunes y los gobiernos prestaban atención plena a los requerimientos económicos de todas las clases altas y medias. Los pobres eran «desatendidos», como lo han sido siempre en todos los países y sea cualquiera el sistema de gobierno, hasta el nacimiento de la democracia como consecuencia de la revolución industrial.
Éste era el sistema que Disraeli llamó retrospectivamente «la oligarquía veneciana», siempre que los whigs estaban en el poder. El profesor Namier, que recientemente ha hecho un profundo estudio de los métodos políticos, de mediados del siglo XVIII, niega que las familias gobernantes fueran «oligarcas», en el sentido de aristócratas nacidos en la púrpura. Dice que eran cortesanos y parlamentarios expertos. Subieron merced a sus habilidades en el debate parlamentario y en la Corte. Esto es verdad, aun tratándose del duque de Newcastle, y lo es respecto de Walpole y Pitt el viejo, tanto como del hijo de éste y de Disraeli mismo.
Pero, fuera o no una «oligarquía» aquel sistema de gobierno, lo cierto es que sus métodos eran lo contrario de los métodos venecianos. Los métodos de la oligarquía en Venecia eran el despotismo, la inquisición, el silencio forzoso y la política secreta. Pero los gobernantes whigs a quienes dieron el poder Jorge I y Jorge II, podían gobernar únicamente a condición de que concediesen la libertad más amplia a sus adversarios tories, de acuerdo con el espíritu del Ordenamiento de la Revolución. Si hubieran provocado una reacción, ellos, y con ellos los reyes hanoverianos, hubieran sido eliminados.
La «oligarquía» whig se sometió al imperio de la ley, como todos los gobiernos desde 1689, y las leyes de Inglaterra no dan al poder ejecutivo la facultad de prohibir reuniones públicas o escritos políticos que ataquen al gobierno. A menos que un juez y un jurado no descubriesen en un crítico del gobierno un delito de sedición, el gobierno no podía hacer nada para reducirlo al silencio… ¡excepto darle un buen cargo! El Tribunal de Justicia, no el gobierno, era quien decidía si se trataba de libro difamatorio, de sedición o de blasfemia. Así era Inglaterra en el siglo XVIII, y así es hoy.
Durante el siglo XVIII, la civilización y la política inglesas ofrecen un carácter jurídico muy acentuado. Los Commentaries on the Laws of England, de Blackstone, publicados por vez primera en 1765, fueron una lectura favorita y ejercieron gran influencia no sólo sobre los abogados. El ejecutivo no podía pasar sobre la ley, y la ley era una ley de libertad. El legislativo podía, naturalmente, modificar las leyes, pero mediante la aprobación de nuevas disposiciones; mas, de hecho, el Parlamento legisló muy poco a mediados del siglo XVIII, y nunca en el sentido de mutilar la libertad de los súbditos. Nuestra opinión actual sobre aquel régimen pasado y su mentalidad no es que intervenía demasiado, como una oligarquía veneciana, sino que intervenía demasiado poco, dejando que las leyes se anticuasen e hiciesen anacrónicas, mientras la sociedad se iba transformando por virtud de la revolución industrial. La debilidad de Walpole y de su sucesor Pelham no fue la tiranía, sino el conservadurismo supino. La máxima favorita de Walpole, quieta non movere (no mover las cosas que están quietas), no es el lema de un tirano, pero tampoco el de un reformador.
Cuando, en el transcurso del reinado de Jorge III, los tories reemplazaron a los whigs, las cosas siguieron casi lo mismo. Las reformas institucionales, de las corporaciones, de las universidades, del Parlamento, del gobierno local, ni siquiera fueron iniciadas, mientras la revolución industrial iba haciendo cada vez más anacrónicos todos los organismos con carta de privilegio.
En los días de la Revolución francesa, llegó a Inglaterra, con Tom Paine, el movimiento democrático que exigía el sufragio universal. La masa de la opinión del país reaccionó atemorizada, y el gobierno tory, respaldado por la opinión pública, tomó medidas más represivas que las que los whigs habían considerado necesarias y prudentes mientras gobernaron.
Pero hasta en ese período de represión antidemocrática, bajo los gobiernos de Pitt y Castlereagh, la ley y la Constitución de 1689 fueron respetadas. En los peores momentos de pánico «antijacobino» aún había libertad de palabra en las Cámaras del Parlamento, aunque no en la calle. Los discursos más encendidos de los oradores de la oposición en la Cámara de los Comunes, tales como los de Fox, eran plena y libremente reseñados por la prensa. Además, la represión de los demócratas se llevó a efecto por procesos legales ordinarios, con el veredicto de un jurado. Cuando los jurados absolvían al radical acusado, el gobierno tenía que dejarlo en libertad. De esta suerte, hasta el peor período de represión que conoció Inglaterra, entre 1790 y 1820, fue en verdad muy diferente de los métodos del despotismo continental, tanto pasado como presente. Y desde el principio hasta el fin fue la Cámara de los Comunes quien gobernó al país; y fue la Cámara de los Comunes quien derrotó a Napoleón, como antes había derrotado a Luis XIV. Por eso, al caer Napoleón, los oprimidos liberales europeos volvieron los ojos hacia Inglaterra como hogar de la libertad reglamentada, aun antes de que fuera aprobada la ley de Reforma.
La Constitución, desde Guillermo III a Jorge IV, no era una forma perfecta de gobierno; pero mientras duró Inglaterra prosperó más que sus vecinos y se mostró capaz de adaptarse pacíficamente a las condiciones nuevas cuando al fin llegó la hora de las reformas. «Los principios de 1688» se han adaptado y ensanchado paso a paso para acomodarse a las necesidades de la democracia moderna.
El largo uso y la costumbre hicieron de la libertad y de los procedimientos pacíficos de gobierno cosas connaturales a los ingleses, y por eso sobreviven aún a los peligros de nuestros días. Porque la Cámara de los Comunes ha gobernado siempre al país desde 1689, puede gobernarnos todavía hoy, en tanto que algunas asambleas populares más recientes han vivido un día y han desaparecido. Porque los ingleses conquistaron hace dos siglos y medio la libertad de cultos, de palabra y de imprenta, siguen siendo libres hoy, mientras otros pueblos han perdido sus libertades, menos antiguas que las nuestras.
Capítulo VII
El ordenamiento de la revolución en Escocia e Irlanda
Las colonias e Irlanda eran dependencias de Inglaterra. Realmente, las colonias americanas gozaban de autonomía en diversos grados; pero económica y navalmente, dependían de Inglaterra, y ni por la ley ni en la práctica tuvieron voz ni voto en el Ordenamiento de la Revolución. Sólo en 1931 sentó el Estatuto de Westminster la doctrina, muy diferente, de que «cualquier cambio en la ley relativo a la sucesión en el trono o a los usos y títulos reales, requerirá en lo futuro el asentimiento de los Parlamentos de todos los Dominios, así como el del Parlamento del Reino Unido». Pero en 1689 ningún inglés pensó en consultar a las colonias sobre materias de tanta importancia.
El destronamiento de Jacobo II fue calurosamente recibido por la gran mayoría de los americanos de habla inglesa. Al otro lado del océano habían suscitado grandes temores la política religiosa del rey y su amistad con Francia, que en las mentes de los colonos guardaba relación muy estrecha con los franceses de Quebec, los jesuitas franceses y sus aliados indios, que rondaban peligrosamente a lo largo de las mal defendidas fronteras del oeste. Por otra parte, las tendencias absolutistas de Jacobo entraron, en los últimos años de su reinado, en violento conflicto con la demanda de independencia virtual de las colonias, demanda que, en Massachusetts por lo menos, era tan antigua como la colonia misma. La Revolución de la metrópoli permitió a los partidos democráticos de Massachusetts y Nueva York levantarse victoriosamente contra la autoridad del hábil gobernador Andros. Éste, por órdenes de Jacobo II, había mutilado la autonomía de las colonias y suprimido las asambleas electivas. El objetivo que perseguía Jacobo consistía en establecer una unión más estrecha de las colonias separadas, constituyendo un «Dominio de Nueva Inglaterra», política acertada en sí misma, pero que iba asociada con la destrucción de las libertades americanas, lo cual, andando el tiempo, produciría una explosión fatal. Es muy posible que, al poner término a esos planes, la Revolución inglesa haya aplazado la Revolución americana. Pero es cierto que suavizó la violenta tensión entre las demandas de autonomía de las Colonias y la pretensión de Jacobo para ejercer la prerrogativa regia al otro lado del mar.
Por otra parte, Irlanda tenía que ser reconquistada antes de que se sometiera al cambio de soberanos. Para la mayoría católica romana de sus habitantes la Revolución no significaba libertad política y religiosa, sino dominación extranjera y persecución religiosa. Del Ordenamiento que la Revolución impuso a Irlanda por la espada, hablaré más detenidamente al final de este capítulo.
Escocia no estaba en la misma situación que las colonias o que Irlanda. No dependía en absoluto del Parlamento inglés. Tenía un Parlamento propio que estaba tan capacitado por la ley para disponer de la Corona de Escocia como el inglés para disponer de la de Inglaterra. Eran dos coronas separadas, aunque siempre habían estado sobre la misma cabeza desde 1603, cuando Jacobo VI de Escocia se convirtió a la vez en Jacobo I de Inglaterra. Su nieto Jacobo II de Inglaterra era Jacobo VII de Escocia. Gran Bretaña era una «monarquía dual», y cada uno de los dos reinos tenía sus propias leyes, y sus tribunales, su Parlamento, su poder ejecutivo y su iglesia. En 1689 Escocia pudo haber conservado en su trono a su rey Jacobo VII, o haber elegido, para sucederle, a otros que no fueran Guillermo y María. Pero la Convención de Edimburgo prefirió seguir el ejemplo de la Convención de Westminster al disponer de la Corona. En otros respectos, el Ordenamiento de la Revolución necesariamente se diferenció mucho en Escocia e Inglaterra, porque las circunstancias de los dos países eran muy distintas.
En 1689 nadie podía prever si el resultado definitivo de la Revolución en los dos países conduciría a una unión más estrecha de los dos pueblos y los dos Parlamentos, o desembocaría, por el contrario, en querellas más violentas entre escoceses e ingleses para acabar en la separación de las dos coronas. Este asunto, del que en tanto grado dependían la fuerza y la prosperidad futuras de la Gran Bretaña, continuó siendo muy apremiante y muy incierto hasta que, en 1707, se efectuó la unión de los dos Parlamentos mediante acuerdo, y no quedó inmutablemente resuelto hasta la derrota final del jacobitismo escocés en 1745-1746. Pero los primeros pasos para la unión voluntaria y más estrecha de los dos pueblos se dieron en 1689, al rechazar el Parlamento escocés la autoridad de Jacobo II e invitar a Guillermo y a María a ser rey y reina de Escocia.
Para comprender plenamente la situación de Escocia en aquella época y la gran diferencia entre los partidos escoceses y los que llevaban los mismos nombres en Inglaterra, es necesario remontarse a la época de la Reforma. En los días de Isabel de Inglaterra y de María de Escocia, los países que respectivamente gobernaban habían adoptado métodos opuestos para imponer a la iglesia medieval el espíritu laico moderno.
La Reforma de los Tudor en Inglaterra conservó intacta la organización medieval de la iglesia, aparte la abolición de la supremacía papal y la supresión de las órdenes religiosas que dependían del papa. Fueron eliminados los elementos extranjeros, pero la parte nativa de la iglesia permaneció inalterada en su vieja organización, bajo la autoridad de los obispos, los arcedianos y el alto clero. Esa organización, que subsistió en la Inglaterra moderna, no daba voz a los laicos. En las asambleas sólo tomaban parte los clérigos. Los curas párrocos debían cuidar que no hubiera en sus parroquias empleados eclesiásticos laicos. La Reforma de los Tudor conservó toda esta maquinaria puramente clerical. No instituyó nada parecido a la Asamblea de la iglesia inglesa, con su Cámara de Seglares, creación del siglo XX.
No por eso dejó la Reforma de ser en Inglaterra el medio de imponer a la religión el control de los seglares. Y como la organización interna de la iglesia seguía siendo totalmente clerical, se siguió que la voluntad de los seglares tuvo que serle impuesta desde afuera, por la Corona y el Parlamento. Tal fue la esencia de la Reforma de los Tudor en su aspecto político.
Por el contrario, en Escocia los seglares y los reformadores no tenían posibilidad de imponer a la iglesia su voluntad a través de la Corona, puesto que la llevaba la reina María, católica romana, ni a través del Parlamento, que no contaba con el prestigio, la tradición y los medios con que contaba el Parlamento inglés para las grandes empresas. Por consiguiente, en los días de Juan Knox, los seglares escoceses, en vez de controlar a la iglesia desde afuera por medio de la Corona y el Parlamento, como en Inglaterra, ingresaron en ella como parte de su maquinaria directora. La Reforma escocesa convirtió a la iglesia en una organización democrática, gobernada por una doble democracia, la del clero parroquial, libre del control de los obispos, y la de los seglares. La disciplina era más estricta que la disciplina episcopal de Inglaterra. Era la disciplina de una democracia de curas párrocos y de funcionarios seglares.
La Reforma inglesa fue estatal, lo que significa que el estado sometió a la iglesia. La reforma escocesa fue clerical y democrática. Esta diferencia en los métodos mediante los cuales el poder de la iglesia romana quedó destruido en Inglaterra y Escocia respectivamente, produjo métodos también diferentes de lucha en las querellas entre los partidos protestantes rivales en tiempo de los Estuardos. En Inglaterra la lucha religiosa tomó la forma de una lucha entre la Corona y el Parlamento. Desde el reinado de Isabel hasta la muerte de Cromwell, el partido puritano, o partido avanzado protestante, trató de imponer su dominio a la iglesia mediante el Parlamento, en tanto que los anglicanos buscaban lo mismo mediante la autoridad de la Corona. Ésta, más que ninguna otra, fue la causa de la guerra civil entre el Parlamento y la Corona para hallar solución a este problema: ¿Quién debe gobernar a la iglesia, la Corona o el Parlamento? Pero en esta lucha la iglesia misma no actuó independientemente como organización eclesiástica. La inglesa no se interpuso, como un tercer partido entre el rey y el Parlamento, como lo hizo la escocesa. La iglesia inglesa se dividió y las tendencias rivales del clero se adscribieron una al rey y otra al Parlamento. La doctrina de la alta iglesia en el siglo XVII no magnificaba el poder político eclesiástico, sino el poder político de la Corona. La fuerza de los puritanos ingleses con anterioridad a 1660, estaba en el Parlamento, no en la Asamblea de Teólogos de Westminster, cuya función era sólo la de asesorar al Parlamento. El estatismo era común a «caballeros» y puritanos, a tories y a whigs. Los ingleses, de acuerdo en pocas cosas, lo estuvieron al menos en que la religión debe ser regulada por el estado y no por la iglesia, por el rey y también por el Parlamento, y no por el papa, los obispos o asambleas clericales de cualquier género.
El procedimiento que se siguió más allá de la frontera fue muy diferente. En Escocia nació la poderosa organización de la Kirk,[23] democrática en su funcionamiento y en su espíritu, con representación igual de seglares y de clero así en la organización parroquial como en las Asambleas. Esta organización, que no tuvo análoga en Inglaterra, se vio obligada a actuar como parte principal en las luchas políticas de la época desde que Juan Knox la hizo intervenir por primera vez en las luchas con la reina María de Escocia. La iglesia reformada tenía que luchar por sí misma o perecer, porque el Parlamento escocés no tenía capacidad efectiva ninguna para luchar por ella, y sólo podía protocolizar sus decretos.
En ausencia de un Parlamento efectivo, la iglesia pretendió representar al pueblo escocés mejor que cualquiera otra corporación. Y había emprendido la educación del pueblo. La Corona se puso en frente de esta omnipotente Kirk. Los reyes Estuardos sostuvieron el poder del estado contra la iglesia, y la libertad de los individuos contra el poder inquisitorial del clero y de los funcionarios eclesiásticos seglares. Cuando los reyes de Escocia fueron a la vez reyes de Inglaterra, la Corona se sintió bastante fuerte para retar a la Kirk desde Whitehall, ya que el brazo del rey de Escocia se vio armado con toda la fuerza de Inglaterra. Los súbditos escoceses que se oponían a la disciplina calvinista, inflexiblemente sostenidos por un clero popular, eran numerosos, especialmente entre los nobles y la alta clase media. Incapaces de protegerse a sí mismos contra el clero con ayuda del Parlamento, como ocurría en Inglaterra, se unieron a la Corona y formaron el partido tory o «caballero» escocés.
Ese partido fue en Escocia, durante el siglo XVII, el refugio de los tolerantes y anticlericales caballeros a quienes no agradaba una iglesia democrática, y de las gentes comunes que no querían obrar al dictado del clero y de los funcionarios eclesiásticos seglares y a quienes disgustaba la permanencia en el banquillo del arrepentimiento, mientras éste se les predicaba en presencia de toda la congregación. El partido «caballero» o espiscopaliano de Escocia quería librarse del dominio clerical, pero no quería usar el Libro de la Oración inglés. Al menos, así fue hasta el siglo XVIII. Cuando Carlos I y Laud intentaron imponer en Escocia el Libro de la Oración, Montrose y los futuros «caballeros» escoceses se unieron temporalmente a la Kirk contra el rey. En este asunto, toda la nación escocesa estuvo contra Carlos I. El Convenio de 1638 fue, en uno de sus aspectos, una actitud patriótica de todos los escoceses a favor de su independencia religiosa y nacional frente al rey de Inglaterra. Pero en otro aspecto el Convenio registró la tiránica resolución de las gentes más religiosas de Escocia, de imponer su dominio a todos sus compatriotas no sólo en materia de religión, sino en cuestiones políticas y hasta en la vida y conducta diarias. La oposición de los «caballeros» escoceses a la iglesia democrática e inquisitorial no se fundaba en principios de liturgia o de doctrina, sino en motivos sociales y políticos.
Para limitar el poder de la Asamblea Eclesiástica y de lasKirk Sessions,[24] los reyes Estuardos de Escocia restauraron a los obispos, con fines análogos a los que confesaba el duque de Wellington cuando decía que había puesto capellanes en sus regimientos «para contener los estragos del fanatismo». El episcopado en Escocia, bajo Jacobo VI y I, y después bajo Carlos II, no implicaba cambio de liturgia o de doctrina; fue un cambio en el gobierno de la iglesia encaminado a refrenar su poder político y social. Si, después de la Restauración de 1660, los regios estadistas hubieran jugado bien sus cartas en Escocia, habrían representado al partido de la tolerancia y del buen sentido contra las intolerables pretensiones del clero. Pero los temerarios e inhumanos métodos de Middleton y Lauderdale a beneficio de la iglesia episcopaliana corrían parejas con los métodos de los fanáticos presbiterianos a quienes perseguían. Las dragonadas contra los escoceses firmantes del Convenio y los atropellos militares contra toda lo población del oeste en tiempos de Carlos II dejaron una huella imborrable en la imaginación de Escocia y libraron a la Kirk de gran parte del odio que se había atraído en los días de su supremacía. Old Mortality, de Walter Scott, cuenta la historia de aquellos días desdichados en sus rasgos esenciales.
Después sobrevino la Revolución, que en Escocia, como en Inglaterra, tuvo por causa los intentos de Jacobo II para restablecer la supremacía de la iglesia de Roma, anacronismo que cortó las controversias habituales en la Escocia del siglo XVII. En circunstancias ordinarias los presbiterianos estrictos no habrían tenido fuerzas para derribar al gobierno, en frente del partido espiscopaliano, que era muy fuerte, particularmente en el este. Pero la conducta de Jacobo II hizo el juego a los whigs y los presbiterianos escoceses, que tomaron la dirección del país en el invierno de 1688-1689. Los tories y los episcopalianos se quedaron desconcertados, incapaces de apoyar a la iglesia de Roma, pero sin deseo de oponerse al rey. Los tories escoceses no se colocaron en la vanguardia del levantamiento que desembocó en la Revolución, como lo hicieron aquel mismo invierno los tories ingleses. En parte por esta razón, la Convención que se reunió en Edimburgo el año 1689 y llamó al trono a Guillermo y María, tomó, en el Ordenamiento definitivo, una dirección mucho más marcadamente whig y presbiteriana que el Parlamento-Convención inglés. Como los episcopalianos escoceses no tomaron parte activa en la Revolución, no compartieron sus ventajas. En Escocia, el Ordenamiento de la Revolución, hecho en Edimburgo mientras Claverhouse estaba levantando las Tierras Altas contra el rey Guillermo, tuvo un carácter whig mucho más acentuado que el Ordenamiento inglés, resultado del acuerdo entre los dos partidos. La Convención escocesa no habló de «abdicación». Declaró valientemente, en términos típicamente whigs, que Jacobo había «perdido» la Corona, y abolió de raíz el episcopado. Esta ausencia de todo compromiso, que diferencia el Ordenamiento escocés del inglés, es lo que explica la subsistencia, durante dos generaciones, de un fuerte partido jacobita en Escocia, entre los temibles episcopalianos y las Tierras Bajas del este.
En las Tierras Altas el jacobitismo tuvo otro origen. Se debió a los celos que otros clanes y jefes sentían por el predominio de los Campbells, condes de Argyle. Desde el reinado de Carlos I, los Argyle habían asociado los intereses de los Campbells con la causa presbiteriana y whig. De ahí se siguió que los clanes vecinos sólo podían ejercer la antigua vendetta tribal poniéndose primero del lado de los «caballeros» y después del de los jacobitas. Y así, durante cuatro generaciones sucesivas. Montrose, Claverhouse y todos los pretendientes viejos y jóvenes pudieron reclutar ejércitos en las Tierras Altas, y con el transcurso del tiempo la tradición romántica del jacobitismo se convirtió, entre muchos clanes de las Tierras Altas, en una pasión hereditaria.
El Ordenamiento escocés de la Revolución de 1689 fue hecho por los escoceses mismos. No fue dictado desde Whitehall o desde Westminster. El duro tratamiento que recibió el clero espiscopaliano del suroeste, que aquel invierno fue atropellado y saqueado por las turbas presbiterianas en venganza de las dragonadas de los veinte años anteriores, tuvo lugar contra los deseos y los intereses de Guillermo, y suscitó honda indignación entre sus nuevos súbditos tories de Inglaterra. Pero ni él ni ellos podían intervenir. Irlanda estaba en manos de tos jacobitas, Inglaterra misma sufría aún graves perturbaciones mientras liquidaba su propia revolución, y el nuevo rey holandés no estaba en situación que le permitiera enajenarse a sus únicos amigos de Escocia, los presbiterianos, aunque le disgustasen algunos de sus procedimientos.
De esta suerte, el Parlamento-Convención de Edimburgo arregló los asuntos de Escocia sin intervención de Londres. Pero sus deliberaciones corrieron serio peligro de verse súbitamente interrumpidas por las espadas escocesas procedentes de la dirección opuesta.
A los Lores de la Convención les dijo Claverhouse:
«Si la corona del rey cae, es posible que se rompa».
En el verano de 1689 Escocia se estremeció ante la noticia de que un ejército de highlanders descendía de las montañas al mando de John Graham de Claverhouse, a quien Jacobo había hecho vizconde de Dundee. Tenía fama de ser el mejor soldado de Escocia y enemigo despiadado de los miembros de la Convención y de los whigs. Sobre el paso de Killiecrankie, el valor primitivo de los espadachines tribales demostró —y no fue ésta la primera vez ni la última— su superioridad sobre la imperfecta táctica de los modernos mosqueteros. El ejército escocés del rey Guillermo, formado por tropas regulares, quedó destruido; pero Dundee cayó en la hora misma de la victoria, y no quedaba un jefe con autoridad bastante para animar y dirigir las caprichosas y pendencieras energías de los clanes de las Tierras Altas. Antes de llegar a la llanura y establecer contacto con los jacobitas de las Tierras Bajas, fueron detenidos por un solo regimiento de voluntarios que acababa de ser reclutado entre los campesinos del suroeste partidarios del Convenio. Esta pequeña fuerza de entusiastas decididos, mandada por Cleland, defendió la ciudad de Dunkeld contra todas las huestes de las Tierras Altas. Los vencedores de Killiecrankie, que con igual justicia pueden ser considerados como un ejército de héroes o como una banda de merodeadores, se descorazonaron con el primer fracaso y desaparecieron en las montañas, llevando cada uno de ellos su gloria y el fruto de sus pillajes a su lejana aldea. Los «Lores de la Convención» pudieron seguir tranquilos su tarea de arreglar los asuntos de la iglesia y el estado escoceses «sobre la base de la Revolución».Pero la dificultad de gobernar a Escocia fue tan grande después de la Revolución como antes. La restauración del sistema presbiteriano, al que estaban adheridos la mayor parte de los campesinos de las Tierras Bajas, hizo mucho en verdad por la pacificación del sur; pero aun allí, los partidarios más fanáticos del Convenio se negaron a reconocer a Guillermo porque «no había firmado el convenio», y a causa de esto algunas veces hicieron causa común con los jacobitas, que eran sus más acérrimos enemigos. Los episcopalianos constituían aún el partido más fuerte en las Tierras Bajas del este, al norte del Forth, y eran unánimemente jacobitas. Durante muchos años después de la Revolución, el clero espiscopaliano conservó sus beneficios y celebró los servicios religiosos en la sexta parte de las iglesias parroquiales de Escocia.
Si el poder del nuevo gobierno era débil en las Tierras Bajas, puede decirse que no existía en las Tierras Altas. Los clanes de las montañas no eran gobernados por el rey ni por la ley de Escocia, sino por sus propios jefes. Algunos clanes, como el de los Campbells, eran aliados de Guillermo; otros eran jacobitas, y los hubo que sacaban a venta su amistad y apoyo.
En realidad, Escocia sólo estaba pacificada a medias; y los gobiernos de Guillermo y de Ana se encontraron con otra dificultad que no habían conocido sus predecesores. Los acontecimientos de la Revolución habían contagiado de libertad al Parlamento de Edimburgo. Bajo los gobiernos de Carlos y Jacobo había sido un cero a la izquierda; pero ahora se presentaba como una fuerza con la que había que contar. De 1689 hasta la unión de 1707, el Parlamento escocés tuvo una vida más independiente y activa que en ningún período anterior de su no muy gloriosa historia.
Antes de la Revolución, el Parlamento escocés siempre había sido llevado con andadores. Desde tiempo inmemorial un Comité llamado «los Lores de los Artículos», que actuaba a favor del gobierno, tenía la facultad de prohibir al Parlamento la discusión de cualquier asunto, si la discusión no interesaba al Consejo Privado. En 1689 quedaron abolidos los «Lores de los Artículos» y el Parlamento ganó la libertad de discutir cualquier asunto y de aprobar las leyes que quisiera, aunque sometido al derecho de veto de los reyes en materia legislativa. Esto era algo nuevo, en verdad, y redobló las dificultades del gobierno. Desde la unión de las Coronas en 1603, Escocia, aunque nominalmente constituía un reino independiente, de hecho había sido gobernada siempre como una dependencia de Inglaterra por órdenes de Whitehall. El Consejo Privado escocés era nombrado y aleccionado desde Londres, y el Parlamento no tenía más facultad que la de confirmar los decretos del Consejo Privado. Pero la Revolución llevó a Escocia, y particularmente a su Parlamento, un nuevo espíritu de independencia. En los días del desgobierno de Lauderdale, bajo Carlos II, el Parlamento de Edimburgo no había formulado ninguna protesta efectiva en beneficio de la maltratada población del sureste. Pero en el reinado de Guillermo, el Parlamento tomó por su cuenta el crimen de Glencoe e insistió para que se investigara y dilucidara el caso. Pocos años después, en el asunto de la colonia de Darien, donde entraron en colisión los intereses de Inglaterra y de Escocia, el Parlamento de Edimburgo defendió valientemente la causa nacional, desafió a su rival el Parlamento de Westminster y discutió la política del rey. Cuando los dos Parlamentos y los dos pueblos entraban en lucha abierta, la infeliz situación del portador de las dos Coronas se hacía imposible, pues se veía como dividido contra sí mismo. Y finalmente, durante el reinado de Ana, el Parlamento escocés amenazó con disolver la unión de las dos Coronas y declaró que, a la muerte de la reina, elegiría un rey que no sería, desde luego, el mismo individuo de la Casa de Hanover que la sucediese en Inglaterra. No era inverosímil que ese rey lo fuera el Pretendiente.[25]
El nuevo espíritu de independencia, insuflado por la Revolución al Parlamento escocés, hacía imposible conservar el sistema de la monarquía dual. O Inglaterra y Escocia tendrían de nuevo reyes distintos, o dejaban de tener Parlamentos separados. La elección se realizó muy felizmente durante el reinado de Ana: se verificó la unión más estrecha de los dos reinos al acordar los dos Parlamentos fundirse en uno solo, el Parlamento de la Gran Bretaña. Fue un tratado negociado sobre un pie de igualdad entre los dos pueblos que iban a constituir una sola nación. La unión de 1707 le dejó a Escocia su propia iglesia presbiteriana y sus tribunales de justicia, y le dio la inmensa ventaja del comercio libre con Inglaterra y sus colonias. El Imperio inglés, del cual habían sido excluidos los escoceses, se convirtió en el Imperio británico, donde tan gran papel iban a representar los escoceses. Escocia obtuvo condiciones muy ventajosas al celebrarse la unión, porque era temible. Muy distinta fue la unión con la subyugada Irlanda en 1800.
La unión de 1707 marchó pesadamente durante una generación, porque era impopular en Escocia, donde los jacobitas clamaban por su revocación. Pero después de 1746 demostró ser un bien y un refuerzo inestimables para los dos países. La unión puede considerarse como la forma definitiva que tomó en Escocia el Ordenamiento de la Revolución. La necesidad de la unión sobre un pie de igualdad fue consecuencia de la mayor independencia de Escocia, resultante de la Revolución, y el Tratado de Unión fue gestionado por los sectores de Escocia y de Inglaterra que estaban interesados en mantener el Ordenamiento de la Revolución y los reyes hanoverianos contra la restauración jacobita.
El Ordenamiento de Escocia, verificado en 1689, puso fin a los peores males de que venía sufriendo el país; pero estaba muy lejos de ser un Ordenamiento perfecto. Tuvo, por lo menos, el mérito de preparar el camino para la unión y de producir al fin una era de verdadera pacificación y de progreso material y espiritual en el reinado de Jorge III. La época de Hume y Robertson, de Burns y Scott, fue la edad de oro de Escocia, en la cual su pobreza tuvo remedio y sus viejas contiendas, ya extinguidas, dieron materia a la historia y la novela.
* * * *
Irlanda fue el talón de Aquiles del Ordenamiento de la Revolución. Y aun allí, los arreglos hechos después de la reconquista en Boyne y Limerick, permanecieron inalterados durante noventa años. Pero descansaban sobre la fuerza.En el momento de la restauración de Carlos II, en 1660, el estado de cosas en Irlanda no sufrió ningún cambio sustancial. La mayor parte de la obra realizada por Cromwell siguió firme. La mayor parte de la tierra de Irlanda (probablemente entre dos tercios y tres cuartos) permaneció en manos de los grandes terratenientes protestantes, en cuyo beneficio habían sido despojados los propietarios y jefes católicos nativos. Pero los campesinos, sometidos a un gobierno extraño, continuaron siendo católicos. Ésta era la religión de aquella gran mayoría oprimida y proscrita. Había, sin embargo, algunos distritos en que los colonos protestantes de todas las clases llevaron a cabo una verdadera ocupación del suelo, particularmente en el Ulster, donde constituían quizá la mitad de la población. Los protestantes de esta floreciente colonia estaban divididos en dos grupos: ingleses y escoceses, o sea, anglicanos y presbiterianos, si bien, frente al enemigo común, es decir, la población celta católica, a quien sus antepasados habían expropiado, los dos grupos obraban de común acuerdo.
Cuando el católico romano Jacobo II subió al trono fue inevitable que la población nativa se levantase contra la supremacía protestante y contra la distribución de tierras hecha por Cromwell. En esa ocasión no necesitaron rebelarse, porque la autoridad y la ley estaban del lado de los celtas católicos. Jacobo decidió en seguida gobernar a Irlanda no por medio de tories ingleses, como Clarendon, sino por medio de Ricardo Talbot, conde de Tyrconnell, católico irlandés, que ardía en deseos de destruir la colonia anglo-escocesa y estaba dispuesto, si llegaba el caso, a entregar la isla a Francia. Talbot «reformó las corporaciones», como lo habían hecho en Inglaterra Carlos II y Jacobo II. Antes, todos los católicos habían sido excluidos del gobierno de las ciudades; ahora se les dio una gran mayoría en todas, hasta en el mismo Londonderry. El ramo judicial sufrió un cambio parecido, y las leyes empezaron a ser injustamente interpretadas contra los protestantes: era el otro pie el que se había calzado la bota. Al mismo tiempo, se operó un cambio todavía más completo en la milicia y el ejército. Los oficiales y soldados protestantes fueron licenciados y se les sustituyó con católicos.
Si, mientras la autoridad de Jacobo no había sido aún desconocida, el nuevo ejército católico del conde de Tyrconnell hubiera ocupado Londonderry y los demás posibles centros de resistencia protestante, quizá la historia de Irlanda hubiera tenido un curso muy diferente. Pero Jacobo empleó la fuerza de su ejército irlandés en tener sometidos a sus súbditos de Inglaterra, y así los colonos protestantes del Ulster pudieron organizar su propia defensa cuando llegó el momento de la crisis.
En diciembre de 1688 las noticias de que en Inglaterra había estallado la revolución, impulsaron en Irlanda a las dos partes a tomar actitudes de guerra franca. Millares de campesinos se armaron con picas o recibieron de Tyrconnell mosquetes y municiones. Los protestantes, diseminados por toda la isla, se vieron en gravísimo trance; muchos de ellos fueron desarmados, expoliados y reducidos a prisión; creían firmemente, aunque equivocados, que se estaba preparando otra San Bartolomé; muchedumbres de fugitivos huyeron a Inglaterra mientras los más valientes corrían, espada en mano, a reunirse en los centros de resistencia protestante del norte.
Cuatro quintas partes de la isla, incluso el lado oriental de Ulster, fueron ocupadas por las tropas del rey Jacobo. Sólo en el Ulster occidental los hombres de Enniskillen y de Londonderry proclamaron al rey Guillermo y mantuvieron su autoridad en aquella región, llamando a todos los diseminados protestantes de Irlanda a agruparse en torno de su bandera. Eran hombres bien preparados para la guerra: una aristocracia educada para organizar y ejercer el gobierno, jinetes bien equipados, gentes emprendedoras y decididas acostumbradas a defender sus vidas en medio de una población hostil. En la primavera de 1689 todavía tenían que valerse por sí solos, sin ayuda de Inglaterra, donde la administración y el ejército se hallaban aún en situación tan confusa, que Guillermo no podía enviar auxilios al Ulster. Por otra parte, Jacobo, menos de tres meses después de su huida a Francia, desembarcó en Irlanda con oficiales franceses y gran cantidad de armas y municiones para los reclutas campesinos.
Sin embargo, en esta época de su vida Jacobo ejercía siempre una acción paralizadora sobre las operaciones militares donde quiera que se presentara. En vez de concentrar todos sus esfuerzos en reducir a Londonderry y Enniskillen antes de que recibieran ayuda de Inglaterra, se dedicó a jugar a la política, como si toda la isla fuera ya suya. En mayo de 1689 convocó un Parlamento en Dublín. Sólo figuraban en él seis protestantes. Esta asamblea, que la posteridad ha denigrado y alabado con exceso, actuó como podía esperarse. Procedió a destruir legislativamente el sistema cromwelliano, a quitar las tierras a los protestantes para devolvérselas a los católicos, y aprobó una ley de proscripción contra unas dos mil personas. La mitad de las energías y del pensamiento de Irlanda se concentraron en esas actuaciones de Dublín, y en los pleitos personales y políticos que produjeron entre los jacobitas irlandeses, franceses e ingleses. Sólo una mitad de las energías se reservaron para reducir a los protestantes del norte.
En esas circunstancias tuvo lugar el famoso sitio de Londonderry. Desde abril hasta el último día de julio de 1689 la valerosa población resistió los ataques de un gran ejército sitiador, en medio de los estragos del hambre. En el último momento recibieron ayuda de una flota de Inglaterra. Con la ayuda de las tripulaciones de los botes del Dartmouth, armadas con hachas, el barco mercante Mountjoy forzó la entrada del Foyle y navegó aguas arriba, con sus acompañantes cargados de alimentos, hasta el muelle de la ciudad hambrienta. Inmediatamente quedó levantado el sitio. Al mismo tiempo, los hombres de Enniskillen, que durante todo ese tiempo habían hecho una brillante guerra de guerrillas, derrotaron a cinco mil soldados de Jacobo en Newton Butler. Quince días después desembarcó el primer gran destacamento de tropas inglesas al mando del duque de Schomberg, y el Ulster oriental, incluida la ciudad de Belfast, fue recuperado en un momento.
De este modo se salvó la colonia protestante del norte de Irlanda, en gran parte por su propio esfuerzo heroico, cuyo recuerdo todavía ejerce una influencia dominante en la poesía política de sus descendientes.
Pero al terminar el año 1689 ya no le quedaba a Jacobo ni un rincón de tierra en Irlanda. La posteridad quizá se siente inclinada a lamentar que aquella tierra no hubiera quedado entonces en manos irlandesas, a las cuales revirtió por ley natural después de más de dos siglos de sangre y lágrimas. Pero en la historia real no existen semejantes atajos por sendas de rosas. En 1690 nadie, en ninguna de las dos partes, pensaba en un «compromiso razonable» acerca de Irlanda. El gobierno de Jacobo y de Tyrconnell lo habían hecho imposible.
Los ingleses no querían oír hablar de compromiso. Los tories estaban tan ansiosos como los whigs de reconquistar la perdida posesión de Inglaterra. Fue una Cámara de los Comunes tory la que en 1689 proporcionó a Guillermo un gran ejército para reconquistar a Irlanda.
Por su parte, los irlandeses no tenían más pensamiento que el de recobrar toda la isla y extirpar de raíz a los odiados sajones. Si Jacobo se ponía al servicio de este propósito, sería su rey; de otra suerte, prescindirían de él, porque los irlandeses no tenían, como los jacobitas escoceses, ningún motivo de lealtad personal hacia la Casa de Estuardo. Pero, en cualquier caso, la alianza con Francia era esencial para su éxito, y Luis, en efecto, les envió ayuda militar en cantidad creciente, incluso tropas en número considerable.
Nuestros antepasados, lo mismo whigs que tories, entendían poco de la realidad irlandesa y pensaban que era fácil convertir o sojuzgar por la fuerza a toda una nación. En eso se equivocaban; pero tenían razón en una cosa. Comprendieron que una Irlanda independiente y hostil, guarnecida por tropas francesas, podía ser fatal para Inglaterra y fueron a la guerra contra Luis, cuyo enorme poderío amenazaba con conquistar todo el occidente de Europa. Nuestra propia alborotada isla corrió gran peligro con la combinación francesa y jacobita. En 1690 el trono de Guillermo vaciló. Si Irlanda se convertía en una base para los ejércitos, las escuadras y los corsarios franceses, Inglaterra podía ser destruida rápidamente u obligada a recibir a Jacobo. Todos los motivos, buenos y malos, prudentes e insensatos —codicia, ira, patriotismo, amor a la libertad y a la religión— impulsaban a los ingleses a reconquistar a Irlanda. Y Guillermo era el hombre que iba a hacerlo. Para él, la campaña del Boyne formaba parte de la gran lucha europea en defensa de la libertad religiosa e internacional contra Francia. Mientras los franceses no fueran expulsados de Irlanda y sometidos sus partidarios, nada podía hacerse para batirlos en el continente, y el Ordenamiento de la Revolución en Inglaterra seguía en peligro inminente. La reconquista, que significaba la esclavitud para Irlanda, significaba libertad y seguridad para Inglaterra, y a la larga para Europa.
El aspecto internacional de la guerra estaba bien representado en las dos orillas del Boyne. En la orilla del norte, bajo el mando del Estatúder de Holanda, que era al mismo tiempo rey de Inglaterra, se alistaban regimientos ingleses y colonos del Ulster, destacamentos de la mitad de los países protestantes de Europa y hugonotes refugiados de Francia. En la orilla del sur se alineaban no sólo las tumultuosas y mal disciplinadas levas de campesinos irlandeses y los bravos jinetes de la isla, sino también las guerreras blancas de los batallones franceses.
La destrucción del ejército de Jacobo aquel día (1º de julio de 1690) y su propia huída primero del campo de batalla y después a Francia, puso a los vencedores en posesión de Dublín y de las tres cuartas partes de Irlanda. La Revolución inglesa estaba salvada, e Inglaterra había puesto el pie en el primer peldaño de la escala que la llevó en los años siguientes a las alturas del poder y la prosperidad. La misma acción volvió a hundir a Irlanda en el abismo.
Abandonados por Jacobo, pero dirigidos por un nuevo jefe nacional, Sarsfield, los irlandeses se agruparon detrás de la ancha defensa natural del río Shannon. Guillermo sitió Limerick sobre el Shannon, pero se defendió con el mismo espíritu con que el año antes se había defendido Londonderry. El sitio fue levantado, debido en parte a las hazañas de Sarsfield, que cortó la línea inglesa de abastecimientos. Guillermo tuvo que regresar, dejando sin conquistar una cuarta parte de Irlanda. Pero al año siguiente (1691) sus lugartenientes completaron la obra, forzando el paso del Shannon, destruyendo al ejército irlandés en Aughrim y obligando a Sarsfield a capitular, después de un segundo sitio de Limerick.
El Tratado de Limerick, que puso fin a las guerras de la Revolución en Irlanda, permitió a Sarsfield llevar a Francia, al servicio de Luis XIV, a la parte de su ejército que prefirió expatriarse. Ellos y sus sucesores fueron, durante varias generaciones, elemento valioso de los ejércitos franceses que lucharon contra Inglaterra. «Los patos silvestres», como se les llamó poéticamente, todos los años pasaban en bandadas a servir en el extranjero contra sus enemigos raciales, y es indudable que este éxodo de los hombres más decididos fue una de las razones por las que Irlanda permaneció durante largo tiempo inmóvil bajo el yugo inglés.
Otra cláusula del Tratado de Limerick estipulaba que los católicos irlandeses seguirían gozando «los privilegios que gozaban durante el reinado de Carlos». Tales privilegios habían sido muy escasos; pero hasta esta miserable promesa fue incumplida. Guillermo intentó evitar violaciones más graves del Tratado de Limerick e hizo el papel que Carlos II y su gran lord lugarteniente, Ormonde, habían hecho en varias ocasiones tratando de hacer más suave la suerte de los católicos subyugados. Pero desde los días de Carlos la Revolución había reducido la prerrogativa real y entregado al Parlamento inglés la dirección de la política irlandesa. Y los diputados ingleses, whigs y tories, iban de la mano con los protestantes de Dublín en su deseo de pillaje y venganza. En 1700 el total de tierra que se les dejó a los terratenientes irlandeses había sido reducido, por confiscaciones posteriores, a poco más de la octava parte de toda la isla. La clase de los terratenientes católicos anglo-irlandeses, que tanto podía haber hecho para mediar entre las dos naciones en los años futuros, quedó prácticamente abolida por esas medidas de confiscación.
De un modo análogo, las nuevas leyes penales, aprobadas en tiempos de Guillermo y de Ana, hicieron más dura que antes la persecución religiosa contra la mayoría. Durante algunos años se intentó realmente extirpar el catolicismo prohibiendo a los campesinos los ritos de su religión y a los obispos que consagrasen nuevas promociones de sacerdotes. El sistema fue abandonado en tiempos de Jorge I. Como llegó a verse claro que los católicos no se convertirían, se permitió que los sacerdotes ejerciesen sus actividades con más libertad. Pero el designio de mantener la tierra, la riqueza, la educación y el poder social del país en manos de los protestantes, se continuó durante varias generaciones. Las clases alta y media nativa habían sido despojadas y abatidas de un modo tan efectivo, que los clérigos eran los únicos amigos y jefes del pueblo. La legislación protestante tuvo por resultado hacer de Irlanda el país más clerical de Europa.
Aunque la persecución religiosa fue cesando gradualmente, los católicos siguieron sometidos a inhabilitaciones civiles y sociales de un carácter peculiarmente rencoroso y degradante. Se les prohibía tener asiento en el Parlamento irlandés y emitir voto en las elecciones; desempeñar cargos del estado y de los municipios; ejercer de abogados ante los tribunales; tener más tierra que la que heredasen; poseer armas y tener un caballo que valiese más de cinco libras. Cualquier protestante que ofreciese cinco libras podía apropiarse el caballo de caza o de tiro de su vecino católico. Leyes tan odiosas mantenían divididos a los protestantes de los católicos y contribuyeron a alentar la peor forma de «supremacía». Sólo en la segunda mitad del siglo XVIII pudo el espíritu tolerante y latitudinario de la época hacer más suave la situación, iniciando un largo proceso tendiente a modificar o revocar las leyes penales. Mas para entonces ya se habían hecho daños irreparables.
* * * *
Desde Guillermo hasta Jorge III, los estadistas y parlamentarios ingleses consideraron en la cuestión irlandesa dos aspectos: en primer lugar, el aspecto político y militar; en segundo lugar, el aspecto colonial y económico. Y ambos aspectos se veían únicamente desde el punto de vista inglés.Para Inglaterra, la cuestión política y militar consistía en cómo tener a Irlanda asegurada contra una invasión francesa y una rebelión jacobita, y cómo impedir que se convirtiera en una plaza de armas de Francia para atacar a Inglaterra y al comercio inglés. No era cosa fácil mantener sujeta a Irlanda en tiempo de guerra, puesto que la gran mayoría de sus habitantes eran católicos romanos y jacobitas, y cordiales aliados de Francia. Si se les permitía enriquecerse, organizarse e instruirse, podrían, con la ayuda de Francia, arrojar al mar a los ingleses. Por lo tanto, había que tenerlos pobres, desorganizadas e ignorantes. Esta cruel política logró su objeto durante varias generaciones. Después de 1691 ya no se habló más de guerra ni de rebelión. Ni aun en 1715 ó 1745, cuando los jacobitas escoceses se levantaron en rebeliones formidables, hubo en Irlanda el menor susurro de revuelta. Estos satisfactorios resultados se atribuyeron al mantenimiento y renovación del sistema de propiedad territorial cromwelliano, que entregó casi la isla a propietarios protestantes, y a las leyes penales, que quebrantaban los ánimos de los católicos irlandeses. Como dijo Swift, políticamente eran «tan insignificantes como las mujeres y los niños». Tanto éxito tuvo aquella política, pero a costa de las relaciones futuras entre los pueblos inglés e irlandés.
En segundo lugar, los estadistas veían en Irlanda una colonia, esto es, un lugar en que el comercio y la agricultura debían ser estimulados o refrenados, según conviniera a los intereses de los agricultores, industriales y comerciantes ingleses. Eso era una colonia para la filosofía mercantil de la época. Y ocurría, desdichadamente, que los intereses agrícolas e industriales de Irlanda eran de un género que despertaba los mayores celos en los agricultores e industriales ingleses. Por consiguiente, Irlanda sufrió mucho más que las colonias americanas a causa de las restricciones comerciales inglesas. Para tener contentos a los granjeros ingleses, la exportación de ganado a Inglaterra fue prohibida por el Parlamento «Caballero» de Carlos II. Nunca osamos prohibir el comercio de ganado con Escocia ni antes ni después de la Unión. Para contentar a los hombres de negocios ingleses, el Parlamento «Caballero» de Carlos II excluyó a Irlanda de la participación con Inglaterra en la Ley de Navegación, que Cromwell había hecho extensiva a aquella isla. Los estadistas de la Restauración excluyeron a Irlanda del comercio con las colonias, y los estadistas de la Revolución continuaron esa política. Finalmente, los estadistas de la Revolución descargaron por su cuenta el último golpe contra Irlanda: en 1699 el Parlamento inglés aprobó algunas leyes que prohibían la exportación a cualquier parte del mundo de cierta clase de tejidos manufacturados en Irlanda. Ya existía una tarifa prohibitiva para impedir que entrasen en Inglaterra. Pero ahora la ganadería, la cría de ovejas y las industrias de tejidos estaban en Irlanda en manos protestantes, que resultaron perjudicadas por el Parlamento inglés en acatamiento de los intereses comerciales y agrícolas ingleses, contrarios a los intereses políticos de Inglaterra, que tendían a proteger a la población protestante de Irlanda.
Si tenemos en cuenta las leyes penales contra los católicos de Irlanda y las leyes comerciales cuyo peso gravitó sobre los protestantes irlandeses, no nos sorprenderemos de que el respeto a la ley tenga un lugar tan reducido en la tradición y la mentalidad irlandesas.
El Ulster protestante sufrió las consecuencias de las restricciones comerciales dictadas por los celos de los comerciantes ingleses. La industria del lino, que fue permitida porque no chocaba con ningún gran interés en Inglaterra, era muy pobre sustituto de la ganadería, el comercio colonial y la industria de la lana. Muchos miles de protestantes irlandeses emigraron a América en los comienzos del siglo XVIII, mucho antes de que empezara la emigración católica. Inglaterra prohibió a los protestantes que prosperasen en Irlanda, y como los protestantes escoceses e ingleses estaban decididos a prosperar, aquéllos pasaron a América, llevando a aquellas tierras una opinión nada favorable para Inglaterra.
En religión y en comercio, el gobierno inglés fue en Irlanda absolutamente antiliberal y tuvo el efecto de dividir entre sí a los protestantes. Mientras las leyes penales aplastaban a los católicos, los presbiterianos fueron hostilizados por algunas leyes que se aprobaron en beneficio de la alta iglesia. Los presbiterianos escoceses del Ulster, los hombres que habían cerrado las puertas de Londonderry al ejército de Jacobo en los días de la Revolución, fueron, bajo el Ordenamiento de aquella misma Revolución, tratados como una clase inferior, intermedia entre los vejados católicos y los episcopalianos de origen inglés, que eran los únicos que gozaban de plena ciudadanía.
Hasta 1719 no fue aprobada una Ley de Tolerancia para los presbiterianos irlandeses por lo menos, que legalizase la situación de su culto público al igual que el de sus correligionarios de Inglaterra. Y aun entonces las ventajas del patronato del estado se reservaron para eclesiásticos irlandeses o para ingleses a quienes se enviaba a Irlanda a mejorar de situación. Los presbiterianos irlandeses vivieron durante el siglo XVIII bajo una impresión de injusticia e inferioridad que sus delicados estómagos no podían tolerar fácilmente. No estaban en peor situación que los no conformistas en Inglaterra; pero eran más poderosos y sintieron más sus agravios. Este estado de irritación tradicional entre los presbiterianos fue el que dio tanta fuerza a los movimientos antigubernamentales en los veinte años últimos del siglo XVIII.
* * * *
La base de todo este abigarrado conjunto de atropellos comerciales y religiosos cometidos por Inglaterra contra los habitantes de Irlanda de todas las razas y religiones, era un punto constitucional de primera importancia: el poder que el Parlamento y el Consejo Privado de Inglaterra exigían y ejercían sobre el Parlamento y la administración irlandeses. La administración irlandesa estaba completamente sometida a la voluntad de los ministros ingleses, que reservaban los mejores puestos de la iglesia y del estado irlandeses para gentes inglesas. En los cien años que siguieron a la Revolución, ningún irlandés fue canciller de Irlanda, y los mejores puestos del gobierno los desempeñaron hombres enviados de Inglaterra. Hasta los eclesiásticos episcopalianos de Irlanda, aunque gozaban el monopolio de los cargos de la iglesia y el estado contra los católicos y los presbiterianos, en realidad sólo tenían el disfrute de beneficios de patronato irlandés, que se empleaban para pagar las deudas de partido contraídas por los gobernantes ingleses con sus propios secuaces de Westminster. El patronato irlandés de la iglesia y del estado era considerado como un útil auxiliar del sistema de botín de la victoria que practicaban los partidos ingleses.Además, los ministerios ingleses tenían asimismo el control de la legislación irlandesa, de acuerdo con la antigua ley de Poynings, de tiempos de Enrique VII. «La forma definitiva de todas las disposiciones irlandesas era determinada por las autoridades inglesas, que tenían la facultad de modificar o de rechazar los decretos del Parlamento irlandés». Y el Parlamento irlandés, «aunque tenía la facultad de rechazar el decreto que Inglaterra le devolvía enmendado, no tenía la de modificarlo». Por otra parte, el Parlamento inglés podía legislar libremente para Irlanda, por encima del Parlamento de Dublín, como lo hizo cuando prohibió la exportación de artículos de lana al continente, o cuando aprobó la Ley de Cisma, de 1714, para suprimir las escuelas presbiterianas en Irlanda.
La protesta contra esta servidumbre constitucional de Irlanda respecto de Inglaterra, la formularon sucesivamente cuatro hombres de cuatro generaciones sucesivas. Los cuatro eran protestantes, pero arrastraban tras sí todo el peso de la opinión popular de todos los credos cuando elevaron su protesta en beneficio de Irlanda. Estos cuatro hombres fueron Molyneux, en el reinado de Guillermo; el deán Swift, en el de Jorge I; y Flood y Grattam a principios y mediados del de Jorge III.
Las cuatro protestas sucesivas de Molyneux, Swift, Flood y Grattam fueron acentuando gradualmente su importancia y su carácter amenazador, hasta que la última, la de Grattam, tomó en 1782 la forma de una revolución efectiva.
Molyneux, que inició el movimiento en el reinado de Guillermo III, no hizo más que escribir un folleto que fue condenado por la Cámara de los Comunes inglesa. Incitaba a los hombres a hablar, y nada más. Pero los incitaba a hablar sobre un tema que ya no olvidarían. Porque Molyneux reclamaba para el Parlamento irlandés la total y exclusiva facultad de legislar para Irlanda, en pie de igualdad con el Parlamento inglés, y sostenía que la sumisión del Parlamento y de la Administración irlandeses a Inglaterra era una usurpación por parte de ésta. Irlanda era un reino independiente que pertenecía al mismo rey que Inglaterra, pero no era un país conquistado. Si el Parlamento de Westminster ha de legislar para Irlanda —dice Molyneux— debe tener representantes suyos en un Parlamento Imperial. El defecto de la argumentación de Molyneux está en que en 1690-1691 Irlanda —entendiendo por tal la Irlanda católica— había sido efectivamente conquistada por Inglaterra, y era realmente un país conquistado, conquistado en el Boyne y en Aughrim. La respuesta más adecuada de Inglaterra a los argumentos de Molyneaux hubiera sido: «Si vosotros, protestantes irlandeses, queréis ser independientes del Parlamento y del Gobierno ingleses, retiraremos nuestras tropas y nuestros barcos, y los católicos se levantarán contra vosotros y os cortarán la cabeza». Esta respuesta fue, en verdad, indicada por sir Carlos Davenant y otros escritores ingleses de aquel tiempo. Mientras los protestantes irlandeses quisieran mantener en vigor las leyes penales y conservar la supremacía, dependerían de Inglaterra, cualquiera que sea la verdad de los argumentos históricos y jurídicos. Sólo cuando en los días de Grattam los protestantes irlandeses iniciaron una política conciliadora con los católicos, se encontraron en situación de reforzar la doctrina de la independencia sustentada por Molyneux, como lo hicieron en 1782.
Hasta ese año el Ordenamiento de la Revolución permaneció inalterado en Irlanda. Fue, según hemos visto, uno de los peores ordenamientos que se hayan hecho nunca, del cual lo mejor que puede decirse es que representa la mera prolongación de un sistema que ya existía. fue exactamente lo contrario, en cuanto a espíritu, del Ordenamiento de la Revolución en Inglaterra, porque representaba el mero espíritu de conquista y de poder arbitrario. La Revolución dio a Inglaterra una libertad jurídicamente ordenada, y a través de ella le dio su poderío. Con frecuencia abusó de éste, como en los casos de Irlanda y de la trata de esclavos, hasta que dio marcha atrás; pero habrían soplado sobre la humanidad entera vientos más rudos si Inglaterra no hubiera sido fuerte. Porque su poderío se basó no sólo en su libre Constitución, sino en las empresas marítimas y comerciales de sus hijos, poderío naturalmente emparentado con la libertad, como por naturaleza no lo es el poderío de los grandes ejércitos.
En el desenvolvimiento de la Revolución dominaron los factores de lo aleatorio, de la pura buena suerte. La conducta de Jacobo II dio a nuestros mayores la oportunidad de gobernarse a sí mismos. Al terminar el reinado de Carlos II nada parecía menos probable que el que Inglaterra se convirtiera pronto en un estado poderoso o en un país libre y pacífico. Las violencias de sus facciones en lucha la habían reducido a la postración ante un despotismo regio a sueldo de Francia. Parecía cierta una de estas dos cosas: o bien el sistema continuaría sin oposición hasta que todos los disidentes políticos y religiosos fuesen exterminados y hasta que Francia hubiera conquistado todo el occidente de Europa; o bien otro viraje violento, posiblemente otra guerra civil, produciría otro trastrueque de las cosas, pero no un verdadero «ordenamiento». En realidad, nada podía salvar a Inglaterra sino lo que parecía imposible: la reconciliación de los tories y los whigs, de la iglesia y los disidentes. El milagro se realizó con la subida al trono de Jacobo II, quien unió contra sí a todos los viejos enemigos. Nuestros antepasados no desaprovecharon la ocasión que se les ofrecía, ni abusaron de ella, porque establecieron un nuevo régimen tolerable para todos los grandes partidos que se habían opuesto a la política de Jacobo. Por lo tanto, la solución implicaba la verdadera «libertad de los súbditos», y no solamente la libertad de una facción victoriosa, que es todo lo que la mayor parte de las revoluciones pueden ofrecer en materia de libertad.
Fue una victoria de la moderación, no una victoria de las pasiones whigs o tories. Fue la victoria del espíritu y la mentalidad de Halifax el Contemporizador. Indudablemente, ese factor de «moderación» que entronizó la Revolución estaba latente en algún punto del carácter inglés, pero entre 1640 y 1685 rara vez había encontrado su camino para mostrarse a la luz del día.
El Ordenamiento de 1689 fue en su esencia la victoria sobre el fanatismo político y religioso. En aquellos días la religión era el principal problema político, y después de la Revolución envolvió a Inglaterra primero, y después, durante algún tiempo, a toda Europa, un amplio movimiento hacia el latitudinarismo y la tolerancia. Ese movimiento latitudinario, cuyos orígenes se encuentran en el reinado de Carlos II, representado por la Real Sociedad y por los teólogos liberales, fue una de las causas que produjeron el carácter equilibrado y razonable del Ordenamiento de la Revolución, pues los hombres de 1689 encontraron la idea de «tolerancia» menos aborrecible que los hombres de 1640 y 1660. Y uno de los principales resultados de la Revolución fue la amplia extensión y la dilatada persistencia de la influencia latitudinaria en el siglo XVIII. Después de la última llamarada de fanatismo eclesiástico a fines del reinado de Ana, en el asunto de Sacheverell y con motivo de la Ley de Cisma, el espíritu de persecución religiosa se marchitó y murió en la atmósfera hanoveriana. Entre las clases gobernantes el «entusiasmo» se convirtió en cosa poco recomendable. Ni siquiera el «entusiasmo» de Wesley fue un credo armado y persecutorio, como lo había sido el puritanismo primitivo. Como vivían en tiempos de tolerancia, los wesleyanos no necesitaron afirmar sus dogmas por la fuerza. Los nuevos puritanos no se sintieron tentados a cortarle la cabeza al arzobispo de Canterbury, porque el indulgente sucesor de Laud no les negó el derecho a celebrar todos los conventículos que les viniera en gana.
A mediados del siglo XVIII el fanatismo religioso estaba moribundo, y aun no habían nacido el fanatismo de clase y de raza para abrumar con nuevos males a la humanidad. Durante aquel bendito respiro entre la Revolución inglesa y la Revolución francesa, los ingleses aprendieron el difícil arte de conllevarse mutuamente. Y el rey y los súbditos, los gobernantes y los gobernados, aprendieron también a sujetarse a la ley, en la más jurídica de las épocas.
Estas costumbres de tolerancia y de respeto a la ley echaron hondas raíces en el alma inglesa durante los cien años que siguieron a la Revolución, y tuvieron sus efectos cuando empezaron las inquietudes de una nueva era, con el movimiento democrático, la Revolución francesa y los problemas sociales de la revolución industrial. La costumbre de respetar los derechos constitucionales actuó como un freno contra la violencia de la reacción anti jacobina, e hizo que los movimientos extremistas y obreros se deslizaran por cauces legales y parlamentarios. Las víctimas de la revolución industrial a principios del siglo XIX buscaron remedio a sus males pidiendo derechos políticos y la reforma parlamentaria, en vez de un trastorno general de la sociedad. Elección tan feliz se debió en parte a nuestro carácter nacional, pero también, en gran parte, a nuestras instituciones nacionales, en las cuales vieron los oprimidos un camino para emanciparse. La Revolución inglesa tuvo el efecto decisivo de salvar a la Corona y además a otras muchas cosas más.
El gran lenitivo de los males comunes de la vida, el movimiento humanitario en todos sus aspectos, comenzó en el siglo XVIII antes de que se vislumbrara la solución democrática. Juzgado desde nuestros días, el siglo XVIII fue duro y cruel, sobre todo para los pobres; pero lo fue menos que cualquiera de los anteriores. Conoció el movimiento en pro de las escuelas de Caridad, primer intento de dar un barniz de educación a las grandes masas populares, y no sólo a algunos niños privilegiados; el progreso en los servicios médicos y hospitalarios, que redujo enormemente el alto coeficiente de mortalidad que las épocas anteriores habían aceptado como una ley de la naturaleza; las investigaciones de Howard sobre el régimen carcelario; el movimiento para la humanización de las leyes y la supresión de castigos crueles. Muchas de estas cosas las realizó el siglo XIX siguiendo las líneas trazadas por los precursores en ideas y clemencia del siglo XVIII.
Este gran movimiento humanitario, cuya esfera de acción no tiene límites, inició una época nueva. Nació en la atmósfera más propicia de la gran tregua religiosa y política producida por el Ordenamiento de la Revolución. No hubiera podido nacer si las querellas de la época de los Estuardos se hubieran prolongado con toda su intensidad en las generaciones posteriores.
Nuestra opinión definitiva acerca de la Revolución de 1688 debe estar determinada por nuestras preferencias políticas, ya a favor del absolutismo real o del gobierno parlamentario. Jacobo II obligó a Inglaterra a elegir de una vez para siempre entre esos dos términos: se negó a vivir en una casa situada a medio camino. fue un bien que hubiera que elegir de manera tan definitiva y tan rápida; porque el sistema de transacciones de la Restauración, aunque muy útil en su día, había producido nuestra debilidad en el exterior y luchas constantes en el interior.
El sistema de gobierno mediante la discusión tiene sus desventajas en frente de los gobiernos absolutistas de tipo nuevo y mucho más temible que los que conoció la Europa del ancien régime. Pero si, sopesados ambos sistemas, preferimos la senda que siguen nuestros pies, hemos de alabar la elección que de una vez por todas se hizo en los días de la Revolución inglesa. Macaulay: History of England. El estudio de la historia de la Revolución tiene que ser en gran parte el estudio de la obra de Macaulay y de sus críticos. Es imposible olvidar la History de Macaulay; pero desde que fue escrita se han descubierto y publicado muchas cosas, y el sesgo personal de Macaulay requiere muchas correcciones, especialmente en lo que se refiere al carácter de figuras tales como Marlborough, Claverhouse y Penn. Una útil edición de la History de Macaulay, con notas críticas de T. H. Henderson, ha sido publicada por la Oxford Press. De más autoridad, y en sí mismo sumamente interesante, es el Comentary on Macaulay’s History of England, de sir Charles Firth, publicado postumamente en 1938 (Macmillan). El inmenso conocimiento que de la época poseía Firth, así como la imparcialidad de sus juicios, hacen de este volumen una guía valiosísima tanto de los errores como de los aciertos de Macaulay. Pero el libro de Firth es algo más que eso: es también una guía para conocer y juzgar la Revolución misma y los actores que intervinieron en el drama. Por lo que a mí respecta, puedo decir que he usado el libro de Firth para formar mi opinión sobre muchos puntos de los que trato en mi propia obra.
H. C. Foxcroft : Life and Letters of Sir George Savile, Marquis of Halifax. 1898. Contiene folletos y cartas de Halifax, y una masa de información bien asimilada que hace de los dos volúmenes de Miss Foxcroft una guía segura para la historia de la Revolución.
Leopold von Ranke : History of England, vol. IV de la traducción publicada en 1875.
Keith Feiling : History of the Tory Party, 1640-1715. 1924.
Prof. G. N. Clark : The Later Stuarts, 1660-1714. 1934 (Oxford History of England).
Winston Churchill : Marlborough, vol. I. 1933.
Sir W. S. Holdsworth : History of English Law, vol. VI, especialmente pp. 163-263. 1924.
Marion E. Grew: William Bentinck and William III (de los importantes documentos contenidos en los Welbeck Papers). 1924.
Seymour Schofield : Jeffreys of the Bloody Assizes. 1937.
Hilaire Belloc : James II. 1928.
F. M. G. Higham : King James II. 1934.
H. O. Traill: William III ( Doce series de Estadistas Ingleses). 1888.
Prof. A. J. Grant:The Huguenots (Home University Library). Cap. VI, Revocación del Edicto de Nantes. Cambridge Modern History, vol. V.
J. H. Plumb : The Elections to the Convention Parliament of 1689. En el Cambridge Historical Journal, 1937.
ESCOCIA E IRLANDA
R. S. Rait : The Parliaments of Scotland.1924.A. V. Dicey y R. S. Rait : Thoughts on the Scottish Union. 1920.
Prof. Edmund Curtis: History of Ireland.1936.
Stephen Gwynne: History of Ireland. Caps. 29-32. 1923.
R. H. Murray: Revolutionary Ireland and its Settlement. 1911.
Prof. Charles M. Andrews : Colonial Period of American History, vol. III. 1937.
II. LIBROS Y DOCUMENTOS DE LA ÉPOCA
Obispo Burnet : History of His Own Time (acompañó a Guillermo desde Holanda. Véase también Life of Burnet, por Clarke y Foxcroft, 1907).Memoirs of Thomas, Earl of Ailesbury, Roxburghe Club, 1890.
Memoirs of Sir John Reresby, editadas por Andrew Browning, 1936. Tanto Ailesbury como Reresby fueron personalmente adictos a Jacobo II, aunque lamentaban su política.
James Macpherson : Original Papers. 1775. Importante colección de documentos de estado de la época, que incluye extractos de la muy discutida Life of James II written by himself, publicada después más por extenso por J. S. Clarke, 1816. Sobre el limitado grado de autenticidad de esta Life de Jacobo, véase Ranke, History of England (traducción, 1875), VI, pp. 29-45, y el Marlborough de Winston Churchill, I, cap. XXI.
Correspondence of the Earls of Clarendon and Rochester (1828), especialmente el Diary of Henry, Earl of Clarendon, 1687-1690, en el vol. II. Útil para conocer los puntos de vista de los altos tories.
Penal Laws and Test Act : questions touching their repeal propounded by James II in 1687-1688, edición de sir George Duckett. 1882-1883. Útil para conocer los tratos de Jacobo con los lugartenientes y jueces de paz de los condados y sus intentos para amañar un Parlamento. Sobre el mismo asunto véanse Diary of a Country Gentleman in 1688, y el diario de sir John Knatchbull, editado por P. G. Vellacott en Cambridge Historical Journal, 1926. Para las actuaciones parlamentarias véanse Parliamentary History, de Cobett, vols. IV-V, y Debates of the House of Commons, de Anchitell Grey.
Selected Statutes, Cases and Documents, editados por sir Charles Grant Robertson, nueva edic., 1935.
State Trial, vols. XI-XII.
La gran colección de la Historical Manuscripts Commission es un depósito de documentos de familia y de estado que debe ser consultado para ésta y para todas las épocas de nuestra historia, por ejemplo, los Dartmouth MSS. (1887), pp. 214-232, para la conducta del almirante de Jacobo durante la crisis.
Las cartas de Barillon, embajador de Francia en Inglaterra, escritas a Luis XIV en 1685, se hallarán al final del James II, de Charles James Fox, ed. 1808.
Las cartas que Guillermo escribió en francés durante el año 1688 a su confidente Bentinck, se hallarán en el primer volumen de Correspondentie van Willem III en van Hans Willem Bentinck, del Dr. Japikse. La Haya, 1927.
Notas:
[1] Partidarios de Cromwell. [T.].
[2] Partidarios del rey. [T.].
[3] Traducimos así la expresión inglesa Revolution Settlement porque con ella se designa el ordenamiento que la Revolución estableció en los asuntos públicos, religiosos y políticos, y en las relaciones que entre sí habían de guardar los diversos poderes del Estado. [T.].
[4] Se llamó así al que se elegía y reunía sin ser convocado por el rey. [T.].
[5] Las observaciones formuladas en esta introducción se refieren exclusivamente a Inglaterra. En Escocia, donde la Revolución fue hecha en el invierno de 1688 por el partido presbiteriano o whig con poca ayuda de los episcopalianos, el Ordenamiento de 1689 fue unilateralmente presbiteriano, con el resultado de que la guerra civil fue endémica en Escocia hasta 1746. En Irlanda, el Ordenamiento de la Revolución fue una reconquista racial y religiosa del tipo más brutal.
[6] G. N. Clark, «Los últimos Estuardos», en la Oxford History of England, 1934.
[7]] No es posible establecer una diferencia, excepto de fecha, entre «caballeros» y tories. Fue durante las luchas en torno de la Ley de Exclusión, 1679-1681, cuando el nombre de tory sustituyó al de «caballero» y el de whig desplazó al de «cabeza redonda».
[8] Éste es el tema de Keith Feiling, de Oxford, moderno historiógrafo del partido tory, cuyo libro The History of the Tory Party, 1640-1714, habla con más familiaridad y autoridad de las que yo puedo reclamar para mí, de las opiniones y fortunas de los tories; pero no discrepo de ninguna de sus principales aserciones.
[9] Keith Feiling, History of the Tory Party, 1640-1714, p. 203.
[10] Habitantes de las Tierras Altas de Escocia. [T.]
[11] Otra denominación que se aplicó a los soldados de Cromwell.
[12] El caso no es tan claro como pensaba Macaulay; pero Holdsworth ( Hist. of English Law, VI, pp. 228-9) da todas sus razones para pensar que Holt estaba en lo justo, y equivocados los jueces que declararon que la deserción era traición.
[13] «Corrió un libelo titulado “Carta a un disidente”, publicado clandestinamente y vendido a alto precio, que fue contestado por sir Robert [Roger] Lestrange; y habiendo sido publicados ahora los dos, se venden públicamente al precio de 6 peniques, y así el mundo recibe mucho beneficio de la respuesta de sir Robert». (Bramston Autobiography, p. 300).
[14] Véase Penal Laws and Test Act returns, 1882-1883, por sir Jorge Duckett; véase también el diario, sumamente interesante, de sir Juan Knatchbull, publicado en el Cambridge Historical Journal de 1926 por P. C. Vellacott, director que fue de Harrow.
[15] No había en aquellos momentos arzobispo de York.
[16]’Tis an Orange, dice el último verso, jugando con la palabra Orange, que es al mismo tiempo el apellido de Guillermo y el nombre de la sabrosa fruta pregonada por los copleros. [T.]
[17]Armada, en español en el original, aludiendo claramente a la otraArmada que había intentado la invasión de Inglaterra, la Invencible, de Felipe II de España. [T.].
[18] Sobre las elecciones para el Parlamento-Convención, véase el artículo de J. H. Plumb en el Cambridge Historical Journal, 1937.
[19] Está en la Public Record Office, Sección de Copias, Roma, 101.
[20] Stephens, History of Criminal Law, cap. XI: Holdsworth, History of English Law. VI, pp. 518-519.
[21] Gobierno autónomo de los países que integran el Imperio Británico, y en especial de Irlanda.
[22] Véase Namier, The Structure of Polilics al the accession of George II, caps, I y II.
[23] Iglesia, en escocés. [T.]
[24] Tribunales eclesiásticos parroquiales. [T.].
[25] Llamábase así, y también Viejo Pretendiente, al príncipe Jacobo, hijo de Jacobo II y de María de Módena. Aunque no llegó a reinar nunca, sus partidarios lo llamaban también Jacobo III. [T.].