Física, química y filosofía mecánica
Robert Boyle

El honorable Sir Robert Boyle
La filosofía experimental
Carlos Solís
Robert Boyle nació en 1627, a los nueve meses de la muerte de Francis Bacon, y murió al final de 1691, en la época en que se extingue la actividad creadora de Isaac Newton. Su vida llena la etapa de ascenso más espectacular de la ciencia inglesa; ascenso que, en los cien años que van de mediados del dieciséis a mediados del diecisiete, coloca a una nación científicamente inexistente en la cumbre del avance del conocimiento.
La contribución de Robert Boyle a este proceso no fue unánimemente evaluada. El juicio sobre su contribución dividió a sus contemporáneos, y aún en nuestros días pueden leerse valoraciones encontradas sobre sus méritos. La razón por la que fue alabado hasta el delirio por algunos de sus contemporáneos y desestimado por otros como un premioso y prolijo investigador sin talento es algo que puede escapar el lector actual, para quien Boyle es en cierta medida un desconocido. A pesar de que sus obras publicadas contienen más de cuatro millones de palabras (6 volúmenes in folio de unas ochocientas páginas cada uno), casi no se conoce de él más que la famosa ley llamada de Boyle-Mariotte y que apenas ocupa 15 páginas (que se pueden leer en el apartado 2). Detengámonos brevemente en algunos de esos juicios encontrados acerca de sus méritos.
John Evelyn, miembro de la Sociedad Real de Londres, arboricultor y horticultor, así como activo promotor de la organización de sociedades científicas, decía de Boyle: «es él solo una sociedad de todo lo deseable para una consumada felicidad», mientras que el filósofo Joseph Glanville, también-de la Sociedad Real de Londres, apunta en defensa de la misma los logros de Boyle, de quien dice: «él solo ha hecho bastante para merecer el reconocimiento de toda-la humanidad y exigir un monumento eterno a su memoria». También es conocido el juicio de su editor Peter Shaw, quien lo tilda de «el introductor o al menos el gran restaurador entre nosotros de la filosofía mecánica», juicio en el que conviene Richard Bentley
[1].
Frente a estos elogios de sus compatriotas, los más insignes contemporáneos continentales, Huygens y Leibniz, se hacían de él una opinión un tanto desfavorable. Leibniz escribía a Huygens una semana después de morir Boyle, el 8 de Enero de 1692:
«Me extraña que el Sr. Boyle, quien tantas bellas experiencias tiene, no haya llegado a alguna teoría (...). Por el contrario, en sus libros y por toda consecuencia de sus observaciones sólo concluye lo que todos sabemos saber, que todo se hace mecánicamente».
El 4 de febrero del mismo año, Huygens contesta a Leibniz:
«Parece bastante extraño que (Boyle) no haya construido nada sobre tantas experiencias de las que rebosan sus libros. Ahora bien, es esa una empresa difícil y yo nunca lo he creído capaz de una aplicación tan grande como la que se necesita para establecer principios verosímiles».
Efectivamente, Leibniz está de acuerdo, Boyle no era «
capaz de una aplicación lo bastante grande como para sacar las consecuencias como es debido »
[2].
Estos juicios concuerdan con la actitud de los racionalistas los cuales, como B. Espinosa, consideraban inútil e incluso imposible demostrar experimentalmente lo que sabemos cierto
a priori por obra de la razón, cual es que todo se hace mecánicamente en la naturaleza
[3], de modo que tantos experimentos se les antojaban enojosos detalles tan precisos como ciegos al no ejemplificar una teoría concreta. Para los experimentalistas de inspiración baconiana, sin embargo, era precisamente ese el mérito de lo que los otros consideraban farragoso y poco teórico: «Los autores de hipótesis en Filosofía Natural se refutarán unos a otros durante mucho tiempo, antes de que el mundo se ponga de acuerdo, si es que llega a ponerse. Por el contrario, vuestras (de Boyle) historias naturales son irrefutables y suministrarán los mejores cimientos sobre los que construir hipótesis»
[4].
Que se expresen dos clases de juicios, tan uniformes dentro de cada tipo y tan diversos de una clase a otra, se explica porque quienes los emiten pertenecen a dos tradiciones con distintos intereses, presupuestos y objetivos.
Los continentales que menosprecian el trabajo de Boyle son competentes matemáticos y notables contribuyentes a la construcción de la física matemática moderna. Pertenecen a una vieja y noble tradición en la que se encuentran los geómetras griegos, Euclides, Arquímedes o Ptolomeo, y en la que encajan Galileo y Newton, donde el problema no era hallar nuevos datos, realizar nuevos descubrimientos o registrar minucias y curiosidades de la naturaleza, sino inventar constructos matemáticos aplicables a tal o cual sistema físico cuyo funcionamiento resultaba básicamente conocido, como puedan ser las mareas o los movimientos de la Luna
[5]. Para resolver estas tareas, lo que se precisaba era una teoría y no masas amorfas de observaciones casi aleatorias. No es de extrañar, pues, que los participantes de esta tradición estimasen que Boyle no había contribuido con casi nada a la ciencia, excepción hecha de una aislada ley sobre la relación funcional entre la densidad y la elasticidad del aire
[6], perdida en un tedioso y prolijo centón de curiosidades peregrinas sobre temas tales como las virtudes de las gemas, el brillo de la carne de pollo, la transfusión de sangre, el calentamiento de líquidos fríos mediante hielo, la promoción de una traducción de los Evangelios al malayo, un método para potabilizar el agua marina, el estudio del peso de los corpúsculos de fuego, un procedimiento adorable para borrar el texto de un documento excepto la firma, a fin de anteponerle otro más conveniente, el crecimiento de los metales en las entrañas de la tierra, las inyecciones intravenosas de sustancias varías, la posibilidad de la resurrección, el parto de un potro con una cabeza monstruosa, recetas diversas, la transmisión del sonido en el vacío, la conservación o destrucción de las propiedades de los vegetales por congelación, el análisis de las aguas minerales... y miles de curiosidades más de cuya variedad esta lista sólo proporciona un pálido remedo.
Para nosotros, en una época en que la física matemática se ha convertido en el modelo mismo de cómo han de ser las teorías científicas, el juicio de los continentales puede parecer muy justo. Sin embargo, hay que recordar que hasta mucho después de la muerte de Boyle, hasta un siglo después de la difusión de los Principia de Newton con su modelo de cómo matematizar un campo de estudio, no comenzaron a cristalizar las primeras teorías «serias» sobre el calor, la electricidad, el magnetismo o los procesos químicos. En la época que nos ocupa no estaba claro cómo podrían beneficiarse muchas áreas de la filosofía natural de la aplicación de la geometría, siendo esa quizá la razón de que Bacon prestase escaso crédito a las matemáticas. (Esa es en cualquier caso la razón de que lo hiciera Boyle.) No estaba claro qué beneficio podría sacarse de la aplicación de las matemáticas, entre otras razones, porque ni siquiera existían como tales los presuntos campos de su aplicación; porque antes de plantearse el problema de cómo elaborar un constructo matemático capaz de sintetizara o sistematizar deductivamente un conjunto de hechos físicos (a la manera en que hizo el Libro I de los Principia de Newton con sistemas en principio diversos como las maneas, los satélites, los péndulos, los proyectiles, los graves, los cometas o los planetas), es necesario disponer de una colección relativamente amplia de fenómenos estudiados, conceptualiza- dos y organizados en alguna que otra generalización legaliforme. Y eso no existía en el área de la química, ni en la recientemente inventada pneumática o estudio del aire (pues los gases aún se desconocían), ni en las áreas del magnetismo, la electricidad o el calor, dicho sea por citar ejemplos de algunos de los campos en los que se podrían encajar las investigaciones de Boyle, reunidas en la época bajo la designación común de filosofía natural (en Inglaterra) o física experimental (en Francia).
Cuando Boyle comienza a escribir en la década de 1650, los campos que habían accedido a la madurez teórica mediante el uso de las matemáticas eran los viejos dominios de las ciencias geométricas clásicas: la astronomía, la mecánica, la estática e hidrostática, la óptica geométrica y la música o armonía, junto con las recientes dos nuevas ciencias de Galileo, especialmente la del movimiento de los graves y proyectiles, a las que muy pronto Newton sumará la óptica física. Frente a este núcleo reducido y selecto de aplicaciones de las matemáticas, enormes porciones de actividades prácticas importantes para la vida y el comercio permanecían en manos de artesanos ingeniosos aunque mal equipados teóricamente. Las artes del teñido y el tejido, las artes asociadas al beneficio de los metales, los secretos del frío y las operaciones del calor, agente fundamental en tantas técnicas, el cultivo de las plantas y la cría de los animales, tan importantes para el bienestar humano no menos que para desentrañar las más secretas y recónditas operaciones de la naturaleza (la «clave química» de la ciencia experimental), caían fuera de la ciencia clásica establecida. Y no es que no hubiese doctrinas generales al respecto, sino que ni siquiera se sabía bien qué ocurría en esos dominios, siendo esa la razón de ser de la insistencia de tantos renacentistas en la importancia de atender a la tradición artesanal. En esa tradición vemos indagando a Galileo al comienzo de los Discorsi, en busca de conocimientos valiosos (aunque ciegos) acumulados. Esa es la tradición que Bacon reverencia en la personalidad de Bernard Palissy, famoso ceramista francés que, comenzando como aprendiz de vidriero, se dedicó a investigar sistemáticamente sobre estas artes del fuego ajenas a la tradición erudita y culta de las universidades.
Son estas áreas las que la filosofía baconiana trata de promover, siendo las demasiado fácilmente denostadas «historias naturales» o colecciones de fenómenos las condiciones previas a cualquier intento de formulación de teorías matemáticas sólidas. De ahí que Bacon volviese la espalda a la astronomía y a las ciencias matemáticas existentes, promoviendo en su lugar el estudio de otros campos más urgente y directamente importantes para el bienestar humano, e incitando a la construcción de las más diversas historias naturales sobre el clima, el calor o el frío (como se sabe, su muerte de pulmonía está directamente conectada con un experimento criológico sobre la conservación de pollos muertos), antes de pretender encontrar teorías generales. Que el método que él elaboró para ello no fuese excesivamente brillante no es muy importante ahora.
[7] Tal vez Bacon no seas una figura central de la historia de la filosofía; pero sin duda es crucial para la historia de la ciencia como promotor y propagandista de un nuevo tipo de actividades científicas que llenan buena parte de los siglos XVII y XVIII. Mas lo que él promovió sin llevar a cabo, pues no era un científico, Boyle lo encarnó de la manera más cabal y cumplida. Sin la actividad exploratoria de la naturaleza que Boyle inició de acuerdo con las consignas baconianas, prosegida luego en las sociedades científicas nacionales de Londres y París, no hubiera sido posible ni la química de Lavoisier, ni la termodinámica de Carnot, ni los descubrimientos sobre electricidad y magnetismo de Coulomb u Oersted. Hoy día el baconianismo se nos aparece como una filosofía ciega y estéril, como un método impracticable, dada su desconfianza hacia las teorías y su insistencia en los hechos brutos capaces de llevamos a la verdad por un proceso natural o animal de inducción. Con todo, en el siglo diecisiete constituía la filosofía adecuada para dar los primeros pasos hacia las nuevas ciencias no dirigidas ni organizadas por las matemáticas. En aquel momento, dejar vía libre a la teorización era abrir la puerta a la invención gratuita de novelas filosóficas al estilo de la tradición cartesiana; esto es, al dogmatismo y a la reconstrucción apriorística de la naturaleza de acuerdo con la metafísica que se abrazase (recuérdese que los continentales criticaban a Boyle por ponerse a demostrar experimentalmente la visión mecanicista del mundo, que según ellos era verdadera a priori). En esa época y en tales áreas baconianas, un poco de exploración y experimentación venían mejor que un exceso de teoría, siquiera sea porque conviene saber cuáles son los hechos para poder teorizar sobre ellos. Que a Bacon se le fuese la mano, como suele ocurrir en toda campaña propagandística, en su recomendación de la observación y escepticismo frente a los dogmas teóricos es algo relativamente secundario.
Por otro lado, mientras que los practicantes de las consagradas ciencias matemáticas gozan de un cierto consenso social amplio y, a lo largo del siglo-diecisiete, ven aumentar el número de sus cátedras en las universidades, los adictos a las nuevas áreas baconianas de exploración se ven institucionalmente desasistidos, refugiándose en las recientemente fundadas sociedades nacionales que, como la Sociedad Real de Londres o la Academia de Ciencias de París, los acogían (aunque esta última en puestos secundarios). De ahí que muchos de ellos sean médicos, disponiendo así de recursos independientes y de una cierta afinidad profesional por las áreas «químicas» de la nueva clave del estudio de la naturaleza
[8].
La expansión durante el siglo XVI de una Inglaterra que a finales del XV era una nación-subdesarrollada para la época, exigió una cierta extensión de la alfabetización y de la tecnología en el área minera, de la fundición y de la navegación, lo que se vio muy favorecido casualmente, a partir de mediados del siglo XVI, por la inmigración de artesanos y mercaderes provenientes de las zonas más desarrolladas de Europa, inmigración provocada por las persecuciones político-religiosas. Así ocurre con muchos burgueses de los Países Bajos meridionales asolados por España o con los hugonotes huidos de Francia, todos los cuales inyectan en una Inglaterra receptiva no sólo las nuevas técnicas y el nuevo espíritu empresarial, sino también una nueva filosofía procientífica y progresista concomitante. (Estos emigrantes radicales, puritanos en su mayoría, formarán parte del medio intelectual, del Colegio Invisible, en que se mueve Boyle, promoviendo el movimiento de transformación que culmina en la fundación de la Sociedad Real de Londres. Son nombres tan cruciales en la ciencia inglesa como los de Samuel Hartlib, Theodore Haak o Henry Oldenburg.)
En un momento en que Oxford y Cambridge eran universidades entregadas a la fabricación de clérigos y al barnizado cultural de los hijos de la nobleza, la sede de la nueva actividad científico-empresarial, esa mezcla de conocimientos, práctica, comercio, industria y promoción del bienestar social, es Londres. Y sus practicantes y receptores no son los dómines ni la nobleza, las tradicionales clases cultivadas, sino los comerciantes, artesanos y navegantes. En estos momentos conoce un gran auge la publicación de obras de divulgación científica en lengua vernácula. «Entre los autores de aquellos libros de texto», escribe J. E. C. Hill
[9], «se contaban los científicos más capaces del momento, muchos de ellos autodidactas que nunca habían estudiado en la universidad o no habían ocupado en ella cargo-académico alguno», como es el caso de Robert Recordé, John Dee, Thomas Digges o William Gilbert. Su institución paradigmática es el Gresham College, fundado en 1598 por el testamento del comerciante* Thomas Gresham (1518-1579), y dedicado a enseñar a navegantes y comerciantes el uso de la geometría, los logaritmos, la cartografía y demás conocimientos útiles para sus oficios. (Dicho sea de paso, Thomas Gresham estaba emparentado políticamente con el padre y el hermanastro de Francis Bacon.)
Bacon vive en el período isabelino en medio de este ambiente social, y si bien no interviene activamente ni en el Gresham College (que era una institución de enseñanza y no de investigación), se convierte en el resonador filosófico de la ideología, valores y aspiraciones de estos científicos-artesanos-comerciantes, sintetizándolas y propagándolas en estilo culto, dotándolas así de una elaboración intelectual presentable. Como el propio Bacon reconoce, las suyas no eran ideas emanadas del talento personal, sino que eran las ideas del tiempo en que vive y a las que sirve, consolidando en un conglomerado único las empresas comerciales, los descubrimientos, la navegación y el saber, dotándolos de una pertinencia y relevancia social, el beneficio y mejora de las condiciones de vida, y otorgándoles un valor religioso y noble. Frente al catolicismo medieval que denuncia como vano todo saber que no sea el de la salvación, frente al desprecio arcaico y aristocrático por las artes banáusicas, se subrayan los valores puritanos sobre el trabajo firme, sistemático y metódico de carácter mundano, haciendo hincapié en los poderes de la industria humana para conseguir lo que de otro modo sólo se podría obtener con la magia negra o la oración. Mas que un pensador original, Bacon es el espíritu de una época y una clase que sabe expresar cuanto había de progresivo en Inglaterra: las matemáticas de los mercaderes del Gresham College, la alquimia de los espagíricos utilitarios, antiautoritarios y faústicos, el puritanismo religioso y el radicalismo político de los parlamentarios. No es de extrañar que su fama crezca a partir del triunfo de la revolución inglesa en los años cuarenta, época en la que los radicales proponen con toda seriedad convertir los sermones en clases populares de geometría al estilo del Gresham College, así como realizar experimentos, por ejemplo, sobre la inmortalidad del alma.
Boyle, quien en 1641, a los catorce años, había salido de viaje por el continente, vuelve a los diecisiete, en 1644, a una Inglaterra dominada política y espiritualmente por este ambiente. Con la expulsión de los monárquicos de Oxford, la universidad cae en manos de estos baconianos y radicales relacionados con en Gresham College, como John Wallis, John Wilkins y Jonathan Gorddara. Allí se trasladará Robert Boyle en 1654, tras pasar cerca de siete años en su quinta de Stalbridge (Dorsetshire) y un par de ellos más en sus propiedades de Irlanda, dedicado al estudio de la filosofía natural y de la química, así como a la reluctante lectura de Bacon, Descartes, Sennert, Gassendi y van Helmont; reluctante porque, de acuerdo con la filosofía de los nuevos tiempos, el saber está en las obras de la naturaleza y no en las obras literarias, en los libros que sólo sirven para llenar de dogmas y prejuicios o anticipaciones de la naturaleza al entendimiento puro c incontaminado. A partir del año 1646, hace ya mención en su correspondencia de pertenecer al
Colegio Invisible o
Filosófico, inspirado por Samuel Hartlib, reformador radical con quien había entrado en contacto a través de su hermana, Lady Ranelagh, de la facción parlamentaria. Este grupo es semejante, si no idéntico, al grupo de científicos que se reunían en Londres y en Oxford, en torno al Gresham College, v que andando el tiempo daría lugar a la fundación de la Sociedad Real de Londres
[10].
Bajo el patrocinio de aquellos filósofos y de estos compañeros, Boyle se aplicará a la «filosofía natural, la mecánica y la agricultura, según los principios de nuestro nuevo colegio filosófico que no valora más conocimiento que el que se puede usar»
[11]. Sin embargo, procurarse los implementos de laboratorio necesarios para los experimentos era toda una aventura. Así, el 6 de Marzo de 1647, escribe a su hermana sobre el desastroso estado en que recibió el homo alquímico de barro que ella le enviaba, el cual «llegó a mis manos disperso en tantos trozos como nosotros en sectas»
[12]. A principios de 1654, escribe desesperado al cuñado de S. Hartlib, Clodius, señalando:
«Vivo aquí en un país bárbaro (Irlanda) en el que los espíritus químicos se conocen tan mal y los instrumentos son tan difíciles de conseguir que en él es difícil tener pensamientos herméticos»[13]
Afortunadamente para él, William Petty, activo miembro del grupo de Oxford, había sido destacado a Irlanda como médico general del ejército parlamentario. Gracias a Hartlib, entró en contacto con Boyle quien, incapacitado para proseguir allí su formación química, se inició con él en el estudio de la medicina, en las disecciones anatómicas, «la circulación de la sangre, el (recientemente descubierto y tan difícil de descubrir)
receptaculum chyli realizado por la confluencia de las
venae lacteae; y habiendo visto (especialmente diseccionando peces) más de la diversidad y expedientes de la naturaleza, así como de la majestad y sabiduría de su autor, que las ideas convincentes sobre el tema que pudieran darme cuantos libros haya leído en mi vida»
[14].
Fue entonces cuando «decidió no aceptar las hipótesis de nadie y no sacar conclusiones de premisas en asuntos naturales que no pudiese verificar de hecho él mismo. Así, durante muchos años no releyó los
Principios de Descartes, no fuese que quedase sesgado por el ingenio y autoridad de dicho filósofo»
[15]. Se trata de una conducta propia de un aplicado discípulo de Bacon. No es de extrañar que, siguiendo las directrices de trabajar en equipo, decidiese trasladarse a Oxford donde residiría desde 1654 hasta 1668, momento en que se marcha a Londres a vivir en casa de su hermana, Lady Ranelagh, en Pall Mall, siguiendo así el éxodo de Oxford de los greshamianos después de la restauración monárquica. Hasta que tal cosa ocurriese, en Oxford pudo encontrarse con aquellas personas que mantenían frecuentes reuniones para «tratar fundamentalmente de temas filosóficos; y hallándose convencidos de que no había modo cierto de alcanzar ningún conocimiento adecuado a menos que realizasen una diversidad de experimentos sobre cuerpos naturales a fin de descubrir qué fenómenos producirían, seguían ese método por sí mismos con gran determinación, comunicándose luego entre sí sus descubrimientos»
[16].
El modo de concebir el carácter y función de los experimentos separa con claridad las dos tradiciones, la matemática y la baconiana. Para empezar, los experimentos de los científicos baconianos suelen ser claros y detallados, de modo que no resulta difícil repetirlos y no cabe duda alguna acerca de su efectiva realización; por el contrario, resulta incierta la de muchos de los experimentos que aparecen en las obras de los practicantes de las ciencias matemáticas. Así, hubo y hay aún discusiones acerca de si tal o cual experimento de Galileo es un experimento realmente hecho o si es meramente imaginado. Además, muchos de los «experimentos» galileanos son «experimentos mentales», un género impensable en las obras de un baconiano. La razón de esta diferencia estriba en la posesión o no de teorías precisas capaces de sugerir el resultado de una experiencia. En el primer caso, y dada la concepción de la ciencia derivada de los Segundos Analíticos de Aristóteles como saber necesario, concepción fortalecida por la presentación axiomática de las teorías al modo euclídeo-arquimediano, no es de extrañar que los experimentos sean algo secundario llamado a ejemplificar y explicar los teoremas de la teoría. Esta es la función que desempeña la mayoría de los experimentos publicados por Galileo en sus libros (sin entrar ahora en lo que ocurría en el proceso de descubrimiento). Otra función desarrollada frecuentemente por los experimentos de esta tradición es la de resolver un problema preciso planteado por la teoría, como es el caso de las determinaciones astronómicas de oposiciones, eclipses y otros detalles técnicos.
En el caso de las áreas baconianas, la ausencia de teorías precisas hace que la investigación se vea presidida por marcos conceptuales filosóficos muy vagos y generales (el cartesianismo, el atomismo, el mecanicismo, el hermetismo), incapaces de establecer un nexo firme con los fenómenos para predecir o prohibir tajantemente situaciones de hecho bien especificadas. En estas áreas, los experimentos no cumplen una función de construcción teórica o de ejemplificación pedagógica de leyes, sino que, al modo expuesto por Bacon para las historias naturales, constituyen genuinos experimentos de exploración de una naturaleza cuyo comportamiento resulta impredectible: son experimentos heurísticos, genuinas preguntas planteadas a la naturaleza cuyas respuestas se arrancan a veces con violencia, obligándola a ponerse en tesituras en las que ella normalmente no se sitúa. El descubrimiento de la bomba de vacío produjo justamente ese tipo de preguntas violentas a la naturaleza, induciendo una gran cantidad de experimentos exploratorios llamados a averiguar simplemente qué pasa en esas condiciones. Consiguientemente, las actas de las academias están llenas de experimentos consagrados a repetir dentro de la campana de la bomba de vacío las cosas que ocurrían fuera; a meter allí dentro las cosas más peregrinas para ver qué pasa: ora irnos ratoncillos o avecillas, ora una vela o una muestra de pólvora que se encendía desde fuera con una lupa, etc., etc.

La agonía de un ratón en la campana de la bomba de vacío.
Especialmente chuscas fueron las actividades exploratorias realizadas en la Academia de Ciencias de París en áreas baconianas como la química, donde se dieron a destilar todo lo que caía en sus manos, desde una libra del mejor café o un melón, hasta una alegre tropa de cuarenta sapos. Lo único que querían era ver qué pasaba. La idea era que sólo después de coleccionar un buen número de experiencias relativas a un dominio dado tiene sentido formular explicaciones o «interpretaciones». Comienzan enseguida a multiplicarse los laboratorios que se pueblan de aparatos exploratorios. Así por ejemplo, las reuniones del grupo de Oxford a comienzos de los años cincuenta se celebraban en las habitaciones de William Petty quien, viviendo en casa del boticario, ofrecía las ventajas del laboratorio.
Pues bien, perteneciendo a esta tradición, ni que decir tiene que los experimentos de Boyle han sido todos ellos minuciosamente realizados y expuestos por su autor. Puesto que no hay teorías precisas que digan nada sobre los campos investigados, son los experimentos los únicos que pueden hablar. Y dado que las doctrinas son en estos casos precarias y dogmáticas (carentes de apoyo empírico), no es de extrañar que, haciendo de la necesidad virtud, se proclame con Bacon la inanidad de las teorías, se den preceptos para evitar su perniciosa y corruptora influencia sobre el intelecto puro y se recomiende con tonos religiosos atenerse estrictamente a los hechos. De ahí la irritación de Boyle con Pascal, un matemático de la tradición clásica, al ver en el capítulo 6 de sus
Tratados sobre el equilibrio de los líquidos y sobre el peso del aire [17] el dibujo de un ciudadano negligentemente recostado en una roca de las profundidades de un estanque «sosteniendo en el muslo un tubo de vidrio de veinte pies». Boyle acepta de grado las conclusiones teóricas de Pascal, «concordantes con los principios de la hidrostática», pero protesta por las pruebas experimentales ofrecidas que, aunque tal vez aceptables para un matemático, ofenden la sensibilidad de un experimentalista baconiano: «Primero porque, aunque los experimentos que menciona se exponen del modo acostumbrado al hablar de cuestiones de hecho, con todo no recuerdo que diga expresamente que los haya realizado efectivamente, por lo que puede ocurrir que los haya planteado como algo que
ha de ocurrir, basándose en la justa confianza de no errar en sus raciocinios (...)»

El hombre abisal pascaliano.
En segundo lugar, haya hecho o no personalmente esos experimentos el Sr.
Pascal, no parece haber tenido un gran deseo de que otros los hagan siguiéndolo a él, pues supone que los fenómenos sobre los que se basa se producen 15 ó 20 pies bajo el agua; exigiendo uno de ellos que un hombre se siente allí con el extremo de un tubo apoyado contra el muslo. Pero no nos dice ni cómo podría permanecer el hombre bajo el agua ni cómo podría discernir las alteraciones que sufre el mercurio y otros cuerpos del fondo, hallándose en una cisterna de 20 pies de profundidad llena de agua. En tercer lugar, estos experimentos no sólo precisan tubos de 20 pies de largo y un gran recipiente de al menos esos pies de profundidad, cosa nada fácil de conseguir en este país, sino que además precisan cilindros de bronce o espitas fabricadas con una precisión que,
aunque sea fácil de suponer para un matemático, difícilmente se podrán obtener de un comerciante»
[18].
Está claro que para un «matemático» como Pascal, lo importante es la teoría, la extensión de la hidrostática a la pneumática, sirviendo los experimentos para indicar los puntos de anclaje (después de todo también Arquímedes hacía experimentos para tener una idea de qué es lo que tenía que demostrar geométricamente). Por el contrario, para un baconiano como Boyle, los hechos son sagrados y no se puede jugar con ellos: deben describirse fiel y exactamente para que todo el mundo pueda repetirlos. Las teorías vienen después y son siempre opinables.
Así pues, Boyle, junto con su joven ayudante Robert Hooke, fue el primer científico que asumió y llevó a cabo las directrices del Lord Canciller. La continuidad de planes y enfoques entre Bacon y Boyle es clara si atendemos a los objetivos de ambos: investigar el origen de las cualidades. Asimismo Boyle pretende continuar la
Sylva sylvarum de Bacon en sus
Physiological Essays [19]. Los contemporáneos e inmediatos seguidores eran conscientes de la continuidad entre los planes de Bacon y las realizaciones de Boyle. Así, H. Boerhaave, en su
Methodus discendi medicinam, tilda a Bacon de padre de la filosofía experimental y dice que su sucesor es Boyle, «ornato de su tiempo y de su país»; John Hughes señala (
Spectator, n.° 54, Vol. VII) que Boyle «era una persona que parece haber sido designada por la naturaleza para suceder a los trabajos e investigaciones de ese extraordinario genio (Bacon)»; P. Shaw (en el Apéndice a Boerhaave,
Nuevo método de la Química, Ensayo I, Vol. II, pág. 349), tras alabar el grado de desarrollo a que Bacon llevara a la Química, señala: «Como si el
fiat experimentum fuese dirigido al Sr. Boyle, este filósofo tomó la Química donde Lord Bacon la había dejado, siendo su estado actual testigo del extremo hasta el que la llevó»
[20].
Esta conexión con la filosofía de Lord Verulamio nada tiene de extraño considerando los círculos en que se movía el joven Boyle, correspondiendo primero con Hartlib y otros miembros del Colegio Invisible, estudiando piedras y diseccionando animales con William Petty e integrándose luego en el grupo de Oxford, que daría lugar más adelante, en 1660, a la Sociedad Real de Londres, constituida sobre el modelo de la Casa de Salomón de La Nueva Atlántida de Bacon, siendo Boyle uno de los fundadores.
Aparte de sus contribuciones a la ciencia dentro del marco baconiano, Boyle se nos presenta como un activo propagandista y promotor de la exploración colectiva de la naturaleza. Así, pondrá a todo el mundo a trabajar en esta empresa común, orientada a hacemos mejores cristianos y más útiles al bienestar humano. Recomienda a Evelyn trabajar en una Historia de los oficios y pone al pobre Locke a medir la temperatura, la presión, los vientos y las lluvias de Oxford durante diecisiete años casi ininterrumpidos, desde el 24 de Junio de 1666 al 30 de Junio de 1683, para su
Historia general del aire[21]. Asimismo intercambia recetas de todo tipo con sus contemporáneos, hace consultas a los marinos de los barcos de su Majestad que viajan a parajes remotos, y el editor de sus
Nuevos experimentos y observaciones relativos al frío señala que Lord Verulamio había considerado deleznable el estado del estudio del frío y que por fin Boyle «se hizo un aventurero», entrando en contacto con la Compañía de la Bahía de Hudson
[22], con lo que la afinidad entre el explorador del Gran Norte de los cuentos de Jack London y el explorador de la naturaleza de Francis Bacon se hace aún más notoria. Asimismo, el ya citado editor Peter Shaw
[23] ensalza la utilidad de sus trabajos para las artes y las técnicas, por lo que «el mundo ha contraído sólo con este hombre una deuda mayor que con un centenar de filósofos vulgares juntos. El mecánico, el comerciante, el estudioso, el caballero, todos ellos sacan provecho del Sr. Boyle. Nos muestra los oficios bajo una nueva luz, tomándolos en lo que realmente son, una parte de la filosofía natural». A esto sigue una larga lista de artesanos y de lo que deben a Boyle. Esta recuperación de las técnicas para la filosofía natural era una de las obsesiones de Bacon, tal y como se puede ver en la serie de oficios convertidos en áreas de estudio (en ciencias «baconianas») que aparece en el Catálogo de Historias con que termina el Parascevo, al final de la
Instrauratio Magna, especialmente en la sección de Historias del Hombre.
Finalmente, en el plano epistemológico, Boyle sigue a Bacon por lo que atañe al escepticismo. Al igual que Tilomas Sprat en su
Historia de la Sociedad Real (1667) o que Joseph Glanville en su
Vanidad del dogmatismo (1661), Boyle toma de Bacon esa especie de escepticismo mitigado a los productos teóricos que ya aparece en el Proemio de la
Instauratio Magna (1620); escepticismo que se sitúa a medio camino entre el dogmatismo que-consiste en proclamar como verdaderas teorías que son tan sólo conjeturales, y el escepticismo absoluto (asimismo dogmático e injustificado) consistente en dudar de todo. Para Bacon, se deben eliminar las ideas preconcebidas, las anticipaciones de la naturaleza o los ídolos del teatro, categoría en que caen las teorías generales, para atender tan sólo a las obras o hechos de la naturaleza, cuya verdad es comparable a la revelación. Consiguientemente, el círculo de la Sociedad Real adoptará el escepticismo mitigado de Bacon, aplicable tan sólo a las
doctrinas y no a las
obras de la naturaleza. De ahí la necesidad de construir historias naturales compuestas por hechos firmes, antes de que el intelecto se lance a la cosecha de las causas, pues una vez que se dispone de la historia natural, si se libera la mente de las anticipaciones o juicios previos acerca de la naturaleza, entonces «mediante la original y genuina fuerza de la mente», se podrá llegar automáticamente a la teoría correcta, puesto que esa interpretación «es la verdadera y natural de la mente cuando ésta se halla libre de impedimentos»
[24]. Podemos ver cómo Boyle sostiene ideas similares, y lo oímos expresar frecuentemente su disgusto por los sistemas e hipótesis generales, considerados como plausibles, evitando el dogmatismo consistente sea en rechazarlos sin más, sea en aceptarlos, a la vez que critica el escepticismo radical.
[25] De ahí también su prudencia y eclecticismo a la hora de formular su teoría corpuscular de la materia
[26], su deseo de disociarla de cualquier sistema vigente, sea el cartesiano o el de Gassendi; y su eclecticismo a la hora de proponer modelos explicativos, por ejemplo, de la elasticidad del aire
[27].
He aquí pues, noble lector,
ft este discípulo de la filosofía de Bacon, de quien comenta Hermann Boerhaave como si respondiese a las angustiosas preguntas de quien ha de seleccionar lo más representativo de sus escritos
[28]:
«El Sr. Boyle, ornato de su época y de su país, sucedió al genio e investigaciones del gran Canciller Verulamio. ¿Qué escritos de Boyle habré de recomendar? Todos. A él debemos los secretos del fuego, del aire, del agua, de los animales, los vegetales y los fósiles; de manera que de sus obras se puede deducir todo el sistema del conocimiento natural».
Ya que la tentación de seguir el consejo de Boerhaave y publicar aquí todos los escritos de Robert Boyle pondría a los responsables de esta amable casa editorial al borde del fracaso cardiaco, espero que la breve selección hecha (algo así como el 1% del total) pueda dar una idea aproximada de los mejores logros del autor. Ni que decir tiene que la triple división en que hemos agrupado los escritos seleccionados tiene más que ver con nuestras categorías que con las de Boyle, para quien todos sus trabajos caían bajo la denominación común de Filosofía Natural.
Agradezco la ayuda bibliográfica indispensable que me prestó Ana Rioja, no menos que la de Jesús Hernández. También me he aprovechado de la erudita conversación de José María Lucas cada vez que tenía problemas con los antiguos. Finalmente, la Profesora Soto me obsequió con sus comentarios tan desfavorables como justificados.
Carlos Solís Santos
Capítulo 1
La pneumática
Introducción
Carlos Solís
La pneumática, un campo de estudio iniciado en el período helenístico, fragua como ciencia en la segunda mitad del siglo diecisiete, tratando de la naturaleza, peso y presión del aire, junto con los efectos que producen. Inicialmente se organiza en torno a dos innovaciones instrumentales, el tubo de Torricelli (un baroscopio) y la

bomba de vacío, que producen un gran número de fenómenos y experiencias nuevas.
Pronto desborda sus límites y, hacia mediados del dieciocho, entran bajo esta denominación el estudio del termómetro y los fenómenos térmicos y meteorológicos, el estudio de la naturaleza y propiedades del sonido, los aspectos biológicos conectados con la función del aire para el mantenimiento de la vida y, por qué no, los tipos y características de los vientos que, después de todo, no son más que movimientos de aire. Si se tiene en cuenta además que en estos momentos el aire es el único «gas» conocido (el nombre había sido inventado por van Helmont hacia 1630), considerándose de hecho un cuerpo elemental, el desarrollo durante el siglo dieciocho de la química pneumática, o la química de los diversos tipos de «aires», puede tenerse por un capítulo de este amplio campo de investigación.
Originalmente, como veremos, la pneumática arranca de un problema artesanal subrayado por Galileo, y rápidamente se plantea dentro del marco de la hidrostática clásica gracias a una idea de Torricelli. La identificación del tubo de Torricelli como un baroscopio, junto con la invención de la bomba de vacío, permiten fácilmente la cristalización de esta ciencia
[29]. Pero como subproducto de estos desarrollos instrumentales, inicialmente motivados por problemas de carácter clásico o matemático
[30], surgió también rápidamente una rama más baconiana que matemática de investigación, consistente en utilizar los nuevos medios instrumentales para explorar la naturaleza en aquellas condiciones en las que ella normalmente no se sitúa
[31]. Boyle reina como dueño y señor indiscutido tanto de este aspecto baconiano de la pneumática como del matemático, siendo capaz de hacer una contribución duradera e importante (aunque aislada) a la física
[32], aportando el caso, entonces extraordinario, de una ley funcional cuantitativa experimentalmente descubierta y demostrada.
Mas, antes de que Torricelli conectase la pneumática con la hidrostática, explicando el fenómeno del baroscopio mediante la idea de que nos hallamos en el fondo de un mar de aire, existía una tradición de experiencias pneumáticas. En la Pneumática de Herón de Alejandría (siglo I a.C.) se exponen fenómenos sobre el aire y el vacío en tubos.
Su obra se tradujo al latín en Sicilia ya en el siglo XIII, conociendo dos impresiones en el siglo XVI. Tanto él como Filón de Bizancio (s. II, a.C.) combinaban el atomismo con la creencia en el vacío para explicar la corporalidad del aire, su comprensibilidad, así como la «repugnancia» del agua a descender en un tubo sin entrada de aire por la parte superior.
Por otro lado, la influencia de la estática y la hidrostática de Arquímedes (Del equilibrio de los planos, Sobre los cuerpos flotantes) da pie a que en el siglo XVII, gracias a S. Stevin, se disponga ya de los conceptos de presión y equilibrio de fluidos, y de teoremas como el de que la presión en un líquido es como la altura, independientemente del volumen o la forma, o como el de que en un punto en el interior de un líquido la presión es igual en todas las direcciones. De este modo, existía un cuerpo de doctrina inmediatamente aplicable al aire tan pronto como éste se concibiese como un fluido. Y eso es lo que hizo Torricelli.
Como indicábamos, el origen de todo ello está en el problema artesanal señalado por Galileo
[33] de que las bombas de agua no funcionan por encima de los 18 codos (unos 10,5 m.). Galileo explica el fenómeno suponiendo no tanto que la naturaleza aborrezca absolutamente el vacío, como quería Aristóteles, cuanto que su repugnancia a permitirlo tiene un límite, medido justamente por el peso de esa columna de agua de 18 codos. Esta repugnancia hace que la bomba chupe y eleve el agua, mas cuando el agua ascendente tiene un peso por encima de ese límite de la resistencia al vacío, la columna se rompe bajo su propio peso. Galileo no sólo planteó al mundo culto un viejo problema artesanal, sino que además con sus experimentos (reales o imaginados) sobre el peso del aire
[34] disponía de algunos elementos clave para explicar el fenómeno.
Sin embargo, considerando que un elemento no pesa dentro de ese elemento, rechaza la sugerencia de Baliani (hacia 1630) de que el fenómeno de las bombas pueda deberse al peso del aire.
Fue el discípulo de Galileo, Evangelista Torricelli, en 1644, tal vez familiarizado con la idea de J. B. Baliani, plantea la teoría de que vivimos inmersos en un mar de aire de unas cincuenta millas de altura (o profundidad), que ejerce sobre el suelo un peso igual al de 18 codos de agua
[35].

Ilustración del Experimento XV: «Sobre la mayor altura a la que se puede elevar el agua por atracción de bombas aspirantes». (Del libro de Boyle Una continuación de los nuevos experimentos físico-mecánicos.)
De este modo el problema es geometrizable, convirtiéndose en un caso de equilibrio estático entre dos pesos, el de una columna de aire y el de una de agua, que gravitan sobre la superficie del agua del pozo; si el de aquélla es mayor que el de ésta, el agua asciende hasta que se establezca una igualdad, y en caso contrario desciende hasta que se de el equilibrio. Una vez formulada esta idea básica, no fue difícil realizar una mejora instrumental considerable, cual es la sustitución de la engorrosa columna de agua de más de 10 m por otra equivalente catorce veces más corta, formada por un cuerpo catorce veces más denso: el mercurio. El tubo de Torricelli, de menos de un metro, pues los 10,5 m de agua equivalen a 75 cm de mercurio, se convirtió en un instrumento de laboratorio manejable y al alcance de todas las fortunas.
Las noticias llegaron enseguida a Francia siguiendo la vía obligada del P. M. Mersenne, aunque los experimentos no se repitieron hasta 1646. El primero en hacerlo fue P. Petit, ante la presencia de Étienne y Blaise Pascal en Rouen. Al año siguiente, el joven Pascal, beneficiándose de la existencia en la ciudad de las más avanzadas técnicas de soplado de vidrio, pudo disponer de tubos de hasta 15 m con una perforación uniforme, a fin de llevar a cabo experimentos no sólo con mercurio, sino también con agua y vino, mostrando dramáticamente en público cómo la altura alcanzada por la columna líquida era tanto mayor cuanto menor fuese la densidad de la substancia empleada
[36].

Tubos de Torricelli de distinta forma que muestran cómo la altura del mercurio depende de una causa externa y no de algo interno al tubo.
Por una u otra razón, tal vez por la inevitable presencia en Francia de un genio del plenismo como era R. Descartes, en ese país las investigaciones y polémicas se centraron sobre el problema del vacío, mientras que en Inglaterra, menos dada por mor de baconianismo a acalorarse por discusiones en torno a cuestiones doctrinales metafísicas, se ocuparon más bien de la elasticidad o fuerza del aire comprimido o rarificado.
De sus primeras experiencias, Pascal extrae diversas reglas
[37] en las que, aceptando la existencia del horror al vacío, señala con todo que dicho horror no es omnipotente, sino que tiene un límite equivalente a la fuerza con que tienden a descender 32 pies de agua. Pascal defendía que sus experimentos demostraban la existencia del vacío
coacervado (o vacío macroscópico, aparte del
diseminado entre los átomos). Luego hizo hincapié en que el barómetro se comportaba como un caso de equilibrio mecánico simple entre dos cuerpos pesados. Sin embargo, dado que uno de los pesos (el del aire) es fijo, la hipótesis torricelliana del equilibrio entre columnas de fluidos de diversa densidad sólo se había podido contrastar parcialmente variando las substancias del tubo. No cabe duda de que la hipótesis podría establecerse mejor variando la causa (el peso del aire) y observando qué ocurre con el contrapeso (la altura del mercurio). Parece ser que en Septiembre de 1647 Pascal se entrevistó con Descartes, quien le habría sugerido la idea de realizar el experimento a diferentes alturas, a fin de cambiar a placer la altura de la columna de aire atmosférico
[38]. £1 experimento fue diseñado por Pascal y realizado por su cuñado Periér en el Puy-de-Dóme, el 19 de Septiembre de 1648, con un éxito demasiado perfecto, pues la columna de mercurio disminuía con la ascensión y aumentaba con el descenso, exhibiendo una precisión más propia de los experimentos ideales que de los reales
[39].

El experimento del vacío en el vacío.
No menos interesante es el experimento de Pascal del vacío en el vacío, que inspira el de Boyle (véase el apartado 1 mas abajo) realizado con la bomba de vacío. Como se ve en el diagrama de la página anterior, se procede con el aparato como si fuese un tubo normal de Torricelli, con lo que el ensanchamiento y la rama superior del tubo se encuentran en el vacío torricelliano. Al no existir aire gravitando sobre la parte A, la columna de mercurio superior se halla al mismo nivel. Si se abre ahora una espita C, el tubo inferior deja de ser un barómetro y el aire presiona sobre A obligando a ascender al mercurio.

Experimento de Roberval: una vejiga prácticamente sin aire se hincha en el vacío torricelliano.
Se hicieron otros experimentos ingeniosos en el vacío, como el de la vejiga de carpa de Roberval, que mostraba la gran capacidad de Tarificación del aire o, lo que viene a ser lo mismo, que el aire atmosférico en que vivimos se halla notablemente condensado por el peso de las capas superiores.
Pero el paso más importante se dio con la bomba de vacío o máquina pneumática, inventada por O. Von Guericke y notablemente perfeccionada por el ayudante de Boyle, Robert Hooke. Con ella, por primera vez, se podía controlar en el laboratorio la presión ejercida por el aire y, lo que es más importante, liberar al experimento torricelliano del peso de la atmósfera como variable independiente. Cuando se mete ahora un barómetro en la campana de la bomba de aire, no se obtiene ya un equilibrio de pesos, sino un equilibrio entre la fuerza de la gravedad del mercurio y la elasticidad del aire encerrado, capaz de ejercer una presión medida justamente por la altura de la columna de mercurio que soporta. Asimismo, el experimento de la vejiga podía realizarse controlando a voluntad la extracción del aire de la campana (rarificándolo y haciendo disminuir su elasticidad o resorte), dando así paso a la idea de estudiar y registrar las variaciones de una magnitud en función de las variaciones controladas de la otra.
Finalmente, antes de dejar de hablar al propio Boyle, hay que mencionar que Henry Power y Richar Towneley, reanudando sus experimentos sobre elasticidad de 1653, midieron en Abril de 1661 el cambio de la presión del aire, tabulándola convenientemente. Se sirvieron para ello de un tubo de Torricelli lleno de volúmenes iguales de mercurio y aire, cuyo comportamiento se registraba a diversas alturas. De sus datos deducían que el volumen es inversamente proporcional a la presión externa
[40]. Más tarde, en Septiembre de 1661, Boyle emprende con Croune el experimento del sifón
(vide infra, págs. 34,35), confeccionando la primera tabla de la proporcionalidad directa entre el resorte y la densidad del aire. Finalmente, hacia Diciembre de 1661, Boyle adapta un aparato de Roberval al estudio de la elasticidad del aire rarificado
[41], obteniendo datos en los que no acierta a ver una ley funcional hasta que Towneley le sugiere la relación inversa entre presión y expansión del aire. A partir de entonces, Hooke repite y confirma ampliamente estos resultados, quedando definitivamente asentada la ley. Esta había sido entrevista por muchos
virtuosi, como Pascal, Roberval, Power y Towneley; pero nadie fue capaz de examinarla, exponerla y publicarla con el detalle y exactitud experimental de Boyle, quien pasa debidamente a constituirse en el más grande de los «
pneumáticos». Gracias a la precisión, amplitud y alcance de sus experimentos, eclipsó a sus predecesores, examinó el resorte del aire de manera más extensa y concienzuda, estableció más claramente la ley cuantitativa que lleva su nombre y, sobre todo, publicó sus trabajos en 1661-2, antes que Pascal, Power, Hooke e incluso Torricelli
[42].
* * * *
El primero de los escritos que incluimos a continuación contiene el Experimento XVII del libro Nuevos Experimentos físico-mecánicos relativos al resorte del aire y sus efectos, realizados en mayor parte en una nueva máquina pneumática, Oxford, 1660; Works, I: 33-39. Se trata de una nueva versión del experimento del vacío en el vacío; esto es, de ensayar el experimento de Torricelli fuera del mar de aire, comprobando que es la presión atmosférica la que causa la elevación de la columna de mercurio. Pero la gran novedad de esta repetición de Boyle es su realización con la bomba de vacío, pues con ella se elimina la estricta dicotomía atmósfera 1 o atmósfera 0, pudiendo observarse el comportamiento de la columna de mercurio para cualesquiera valores entre esos extremos. La propia disposición instrumental invita a comparar los grados de vacío con la disminución de la altura de mercurio. Por otro lado, el peso del aire deja de entrar en consideración; no es la atmósfera la que actúa en el experimento, sino el aire encerrado en la campana. Aunque inicialmente tenga una compresión provocada por la atmósfera, tal compresión se puede variar a voluntad, convirtiéndose así la densidad del aire en la magnitud de la que depende el resorte del aire, medible por la altura de mercurio.
No obstante, las dificultades para medir los grados de densidad del aire en esta disposición experimental impedirán hallar la ley sobre «la proporción de la fuerza entre la presión del aire (según sus estados diversos relativos a la densidad y rarefacción) y la gravedad del mercurio», por lo que habrá que esperar al experimento del escrito siguiente. Finalmente, sugerimos que se repare en la riqueza y variedad de detalles de la descripción que hace Boyle del experimento, lo que deja fuera de toda duda su efectiva realización, frente a lo que ocurre con los de Pascal.
El segundo escrito seleccionado constituye el Capítulo V de la Parte II de Una defensa de la doctrina relativa al resorte y peso del aire, incluida como apéndice de la segunda edición de los Nuevos experimentos físico-mecánicos, Oxford, 1662; en Works, I: 156-163. Se describen en él los dos experimentos con los que se establece la ley de Boyle (o las dos leyes de Boyle para la condensación y la rarefacción). El primer experimento realizado con el «sifón» invertido se basa en las demostraciones del corresponsal de H. Power, W. Croune, realizadas en Septiembre de 1661 en las sesiones de la Sociedad Real de Londres, la cual llevaba desde Enero examinando el experimento de Torricelli. Boyle, que ya había empleado sifones invertidos para estimar las densidades relativas de agua y mercurio (comparando sus alturas cuando se hallaban en equilibrio) vio el método para medir directamente a la vez el volumen (densidad) y la presión del aire, mediante la altura de los cilindros de aire y mercurio, frente a los cálculos imposibles del experimento anterior. Así, se establece que el resorte del aire (su resistencia a la compresión) es proporcional a su densidad (digan lo que digan las versiones actuales). La otra parte de la ley, para el caso en que el aire, en virtud de su dilatación, pierde su fuerza elástica, se estableció en el otoño de 1661 mediante un dispositivo experimental similar al utilizado ya por G. P. de Roberval, no menos que por Power y Towneley en 1653 y, más recientemente, en Abril de 1661. Aun cuando Boyle sabía ya desde Septiembre que existía una proporción directa entre el resorte o resistencia a la compresión y la densidad, no parece constatar que la diferencia entre condensación y rarefacción no es algo cualitativo como querían los escolásticos, sino algo meramente cuantitativo. Por ello no concluye directamente de la primera forma de la ley que exista una proporcionalidad inversa entre la presión ejercida sobre el aire y su expansión; y de ahí que ensaye independientemente qué pasa con el resorte del aire expandido. Mas no lo hace simplemente para contrastar la ley para otros valores de la densidad del aire, pues aquélla no le sirve de guía y precisa la ayuda de Towneley, quien le hace ver que en este caso el resorte vendría dado por la diferencia entre la presión atmosférica y la columna de mercurio.
Por último, el tercer escrito constituye el final de la Parte III de
Una defensa; en
Works, I: 178-182. Contiene una presentación de las principales hipótesis (la vacuista y la plenista, ambas en cualquier caso mecánicas) acerca de cómo se produciría la condensación y rarefacción del aire. El hecho de que Boyle recurra intercambiablemente a explicaciones en términos sea un modelo a base de éter cartesiano sin vacío, sea de un modelo dinámico atomista que lo exige, constituye un rasgo peculiar de su baconianismo prudente en cuestiones doctrinales. Mientras que los franceses realizaron experimentos torricellianos disputando encendidamente acerca del vacío y de las filosofías que los exigían o prohibían (de ahí la importancia y alcance del tema), los ingleses, incluso los cartesianos, se dedican preferentemente a medir las propiedades del aire. Entre ellos Boyle, «morando pura y constantemente entre los hechos de la naturaleza» no se aleja de ellos más allá de lo estrictamente necesario
[43]; esto es, para evitar el. dogmatismo de suscribir teorías no exigidas por los hechos, razón por la cual son meramente más o menos plausibles, atiende preferentemente a los hechos, tomando las diversas explicaciones como ideas interesantes por las que no hay que acalorarse. Esta actitud será objeto de una norma explícita de la Sociedad Real de Londres
[44], de tal modo que se recomienda a los científicos huir de toda postura tajante respecto a las doctrinas, tanto del escepticismo radical que niega las teorías y los hechos, como del dogmatismo consistente en abrazar teorías que los hechos no garantizan. Un elogio que Sprat hace de los académicos resulta revelador: si bien «han omitido completamente las doctrinas, con todo han sido muy positivos y afirmativos en sus obras». Si esto no lo dictó el propio Boyle (Sprat escribía lo que se le indicaba), era en él en quien Sprat estaba pensando.
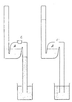
§ 1. Experimento XVII
Procedamos ahora a mencionar ese experimento cuya satisfactoria realización constituía el principal fruto que esperaba de nuestra máquina, siendo de sobra conocido que, en el experimento de vacuo, el mercurio del tubo ha de permanecer elevado unos 27 dedos (unos 75 cm) sobre la superficie de aquél sobre el que descansa. Consideraba que si la verdadera y única razón por la cual el mercurio no cae más abajo fuese que a esa altitud el cilindro de mercurio del tubo se halla en equilibrio con el cilindro de aire que se supone va del mercurio adyacente a la parte superior de la atmósfera, el mercurio del tubo habría de caer hasta el mismo nivel que el del recipiente, dado que en tal caso no habría ninguna presión sobre el mercurio subyacente capaz de resistir al peso del situado encima. De ahí que infiriese (como fácilmente se podría hacer) que si el experimento se pudiese realizar en nuestra máquina, el mercurio descendería por debajo de los 27 dedos en proporción a la extracción de aire practicada en la campana. En efecto, del mismo modo que cuando el aire está encerrado en la campana debe mantenerse ahí (según lo que se ha enseñado más arriba) tan fuertemente comprimido como lo estaba mientras todo el cilindro de la atmósfera que se halla encima descansaba inmediatamente sobre él, dado que el frasco en que se halla recluido le impide liberarse, mediante una expansión de sus partes, de la presión con la que se le encerró, de la misma manera, si pudiésemos extraer perfectamente el aire de la campana, ello convendría a nuestro propósito igual que si pudiésemos realizar el experimento fuera de la atmósfera.
Consiguientemente (tras haber superado algunas pequeñas dificultades que se presentaron al principio) se hizo el experimento del siguiente modo: tomamos un cilindro de vidrio estrecho y hábilmente soplado de casi tres pies de longitud (91,5 cm), cuyo agujero tenía un diámetro de un cuarto de pulgada (0,63 cm) menos la anchura de un cabello. Habiendo sellado herméticamente un extremo de dicho tubo, se lleno por el otro de mercurio, procurando al hacerlo que quedasen en el mercurio las menos burbujas posibles
[45]. Habiendo tapado luego el tubo con el dedo, se invirtió y se abrió, según se usa hacer en el experimento, en una caja cilíndrica un tanto alargada y estrecha (en lugar de la cual pretendemos utilizar ahora un vaso de la misma forma) llena de mercurio hasta la mitad. Así, habiendo dejado que descendiese el metal líquido, y tras haber pegado un trozo de papel al nivel de la superficie superior, la caja y el tubo y demás se introdujeron cuidadosamente mediante cuerdas en la campana.

La primera máquina pneumática de Hooke y Boyle.
A continuación, gracias al agujero anteriormente mencionado de la tapadera, ésta se deslizó a lo largo de toda la porción del tubo que sobresalía por la parte superior de la campana, y el intervalo que quedaba entre los bordes del agujero y el tubo se llenó muy cuidadosamente con diaquilón
[46] fundido (aunque no excesivamente caliente), y la grieta circular entre la tapadera y la campana se selló asimismo con todo cuidado.

Diagrama del dispositivo experimental de la experiencia de Boyle del vacío en el vacío.
Tras dicho sellado no apareció cambio alguno en la altura del cilindro de mercurio, tal como si el recipiente de vidrio interpuesto no interrumpiese la presión inmediata de la atmósfera ambiente sobre el aire encerrado, por lo que éste parece operar sobre el mercurio más bien en virtud de su resorte que por su peso
[47], dado que no se puede pensar que éste alcance más allá de dos o tres onzas (unos 57 u 85 g), lo que resulta despreciable en comparación con ese cilindro de mercurio al que impediría descender.
Estando así dispuestas todas las cosas, se hizo descender el émbolo e inmediatamente, tras la salida de un cilindro de aire fuera de la campana, el mercurio del tubo descendió como era de esperar.

Modelo perfeccionado de la bomba de vacío.
Y habiendo anotado cuidadosamente (mediante una marca adherida al exterior) el lugar donde se había detenido, hicimos que quien operaba la bomba la accionase de nuevo, marcando hasta dónde había caído el mercurio con la segunda extracción. Mas al proseguir esta tarea, pronto nos vimos imposibilitados para señalar con precisión los niveles alcanzados por el mercurio en su caída, puesto que enseguida descendió por debajo de la parte superior de la campana, con lo que a partir de ese momento sólo podíamos marcarlos a ojo.
Continuando de este modo con el bombeo durante aproximadamente un cuarto de hora, nos encontramos con la imposibilidad de hacer que el mercurio del tubo descendiese del todo, pues cuando la campana se hallaba considerablemente vacía de su aire, por lo que la pequeña cantidad que restaba era incapaz de resistir la irrupción del exterior, ese aire (a pesar de todo lo que hiciéramos) habría de presionar de uno u otro modo exiguo. Y por más que no pudiera entrar mucho, ese poco era suficiente para equilibrar la presión de un cilindro de mercurio tan pequeño como el que quedaba en el tubo.
Entonces (para asegurarnos aún más de que la caída del mercurio en el tubo hasta una altura determinada procedía del equilibrio en que se halla a esa altura con el aire exterior, el uno gravitando y el otro presionando con igual fuerza sobre el mercurio subyacente) giramos la llave dejando entrar algo de aire nuevo, tras lo cual el mercurio comenzó inmediatamente a ascender por el tubo (o más bien a verse empujado hacia arriba), continuando con el ascenso hasta que, al girar la llave, se detuvo inmediatamente a la altura que entonces había alcanzado. Así, abriendo y cerrando la llave, lo impulsamos hacia arriba a voluntad varias veces, registrando su ascenso. Finalmente, habiendo dado vía libre a la válvula para que entrara todo el aire del exterior que pudiese, el mercurio se vio impulsado hacia arriba casi hasta su altura primitiva. Y digo casi porque se detuvo cerca de un cuarto de pulgada (6,3 mm) por debajo de la marca de papel arriba mencionada; cosa que atribuimos a esto, a que había (como es usual en este experimento) algunas pequeñas partículas de aire atrapadas entre las de mercurio, las cuides partículas, con el descenso del mercurio, ascendían visiblemente en forma de burbujas hacia la parte superior del tubo y, mediante su presión, así como mediante la disminución del cilindro en tanto espacio cuanto anteriormente ocupaban en él, impedían que el mercurio alcanzase de nuevo su prístina altura.
Este experimento se repitió algunos días más tarde en presencia de esos excelentes y merecidamente famosos Profesores de Matemáticas, el Dr. Wallis, el Dr. Ward y
Mr.
Wren [48], quienes tuvieron a bien honrarlo con su presencia; y a los que nombró tanto por considerar un honor que sea conocido por ellos, como por sentirme encantado con tan juiciosos e ilustres testigos de nuestro experimento. Y gracias a una sugerencia suya determinamos que la parte superior del mercurio del tubo llegaba casi hasta una pulgada (2,54 cm) de la superficie del que se hallaba en el recipiente.
En este punto, y a fin de ilustrar el experimento precedente, no estará de más mencionar algunos otros detalles relativos al mismo.
En primer lugar, pues, cuando tratábamos de realizar el experimento con el tubo cerrado por un extremo con diaquilón en lugar de utilizar un sellado hermético, observamos que tras extraer parte del aire del recipiente, el mercurio comenzaba efectivamente a caer, si bien continuaba luego bajando aunque no siguiésemos con el bombeo. Parecía entonces que si bien el diaquilón que taponaba el extremo del tubo era lo bastante espeso y fuerte como para que el aire exterior no pudiese empujarlo (tal y como la experiencia nos enseña que habría ocurrido si sólo hubiese una pequeña cantidad del producto), con todo las partes más sutiles (del aire) eran capaces de insinuarse (aunque lentamente) a través del cuerpo mismo del emplasto que, al parecer, no tenía una textura tan espesa como aquél que, según dijimos
[49], habíamos utilizado con éxito hace algunos años en el experimento
de vacuo. De manera que empezamos ahora a sospechar que quizá una de las razones por las que no podemos bombear perfectamente el aire pueda ser que cuando el recipiente se halla casi vacío, algunas de las partes más sutiles del aire exterior puedan verse forzadas por la presión atmosférica a pasar a la campana a través del cuerpo mismo del diaquilón. Pero esto no es más que una conjetura.
Otra circunstancia de nuestro experimento fue la siguiente, que (una vez que el mercurio del tubo hubiera caído hasta abajo) si en la abertura de la válvula se permitiese bruscamente una excesiva entrada al aire exterior, éste se precipitaría al interior con tal violencia y presionando con tanta fuerza sobre la superficie del mercurio subyacente, que habría de impulsarlo hacia el tubo con rudeza bastante para amenazar con romper el vidrio.
Ya mencionamos anteriormente que, tras las dos o tres primeras extracciones de aire, el mercurio descendente no caía en cada ocasión lo mismo que anteriormente, pues habiendo marcado en el tubo sus diversos niveles, hallamos que con la primera succión descendía una pulgada y 3/8 (3,5 cm) y con la segunda, una pulgada y 3/8, mientras que cuando el recipiente se hallaba casi vaciado, difícilmente se le podía hacer descender con una succión más allá del grueso de un grano de cebada. Ciertamente hallamos muy difícil medir qué proporción seguían esos decrementos del cilindro mercurial; en parte porque (como ya hemos apuntado) pronto bajó el mercurio por debajo de la parte superior de la campana, y en parte porque tras su descenso en cada succión volvía a ascender un poco inmediatamente, sea por razón de que el recipiente perdía por algún agujero imperceptible, o por razón del movimiento de restitución del aire que, viéndose un tanto comprimido tanto por la caída como por el peso del mercurio, lo repelía un poco hacia arriba, haciéndolo oscilar un poco arriba y abajo, antes de que ambos se redujesen mutuamente a un equilibrio en el que los dos pudiesen reposar.
Mas aunque hasta ahora no hayamos podido realizar observaciones sobre las medidas del descenso del mercurio lo bastante precisas como para formar una hipótesis, no hemos de dejar de intentarlo, pues si se pudiese convertir en certeza, es probable que el descubrimiento no fuese inútil
[50].
Y a fin de ilustrar la cuestión algo más, añadiremos que procedimos a realizar el experimento en una de nuestras pequeñas campanas ya mencionadas que no llegaba a un cuarto (1,136 l); ahora bien (de acuerdo con lo anteriormente observado) encontramos tanta dificultad en hacer que ésta estuviese totalmente vacía como en evacuar la mayor. La menor cantidad de aire exterior que pudiese penetrar en tan pequeño recipiente (y no teníamos posibilidad de mantenerlo fuera) bastaba para ejercer una considerable presión sobre la superficie del mercurio, impidiendo así que el que se hallaba en el tubo cayese hasta el mismo nivel. Pero es notable que habiendo ensayado el experimento dos o tres veces en un recipiente pequeño, nada más extraer de la campana el primer cilindro de aire, el mercurio cayese en el tubo 18 pulgadas y media (49,5 cm).
Mas en esta ocasión no considero improcedente comunicar a su Señoría
[51] que, por medio del descenso del mercurio en el tubo tras la primera succión, esperaba obtener la siguiente ventaja, cual es poder hacer una estimación, mejor que la hasta ahora conseguida, de la proporción de la fuerza entre la presión del aire (según sus diversos estados relativos a la densidad y rarefacción) y la gravedad del mercurio, pues en nuestro experimento están dadas varias cosas que se pueden aprovechar para tal descubrimiento. En efecto, en primer fugar podemos saber cuál es la capacidad del recipiente en el que se realiza el experimento, pues llenándolo de agua podemos fácilmente computar cuántos cuartos o medidas de cualquiera otra denominación contiene de aire; el cual aire, cuando se encierre en el recipiente, se puede suponer que posee una presión igual a la de la atmósfera, dado que es capaz de impedir que el mercurio del tubo caiga más abajo que cuando estaba en el aire libre y abierto. A continuación conocemos la capacidad del cilindro de bronce vaciado al hacer descender el émbolo (habiendo sido mencionado su calibre y altura en la descripción de la bomba
[52] ), por lo que podemos averiguar qué cantidad del aire contenido en el recipiente se extrae en la primera succión. Y también podemos determinar con facilidad, sea en peso o en medidas cúbicas, el cilindro de mercurio que responde al cilindro de aire últimamente mencionado (siendo ese cilindro de mercurio calculable en nuestra máquina restando de la altura total de dicho cilindro de mercurio, la altura a que queda tras la primera succión). Ahora bien, si este experimento se realizase con muchísimo cuidado en recipientes de diversos tamaños, comparando entre sí los diversos descensos del mercurio, no es improbable que pudiesen descubrirse así algunas de esas cosas que buscamos. Con todo, no sólo se debe restar de la capacidad de la campana los contenidos sólidos de la parte del tubo de vidrio que queda dentro de la superficie cóncava de la campana y (lo que resulta más difícil) las variables cantidades del vaso que contiene el mercurio, no menos que la parte del propio mercurio que no se halla en el tubo, sino que además hay que tener en cuenta lo siguiente, que el cilindro que se vacía al tirar hacia abajo del émbolo y que se llena cuando se permite que el aire salga de la campana y pase a él, no está lleno e aire como lo estaba primitivamente la campana, pues de la campana al cilindro no pasa más aire del necesario para reducir al aire de la cavidad del cilindro y al de la campana a la misma medida de dilatación. Debido a éstas (digo) y algunas otras dificultades que exigen más habilidad matemática que la que yo tengo, así como mucho más tiempo del de que mis presentes circunstancias me permitirían disponer, desearía transferir la más sutil consideración del problema a algunos de nuestros doctos y exactos matemáticos, considerando suficiente para mí haber dado la pista ya sugerida
[53].
Para ulterior confirmación de lo que hemos señalado, ensayamos asimismo el experimento en un tubo de menos de dos pies (60,9 cm) de largo, y cuando se había extraído tanto aire del recipiente que el aire restante no era capaz de equilibrar el cilindro de mercurio, el mercurio del tubo descendió tan visiblemente que (habiéndose realizado el experimento en el pequeño recipiente últimamente mencionado) a la primera succión cayó más de un palmo (unos 23 cm), bajando a continuación más y más durante algún tiempo. Y habiendo permitido que el aire exterior penetrase y cayese sobre él, lo impelió de nuevo casi hasta la parte superior del tubo: poco importa cuán pesado o ligero sea el cilindro de mercurio que desciende, con tal de que su gravedad supere la presión de tanto aire exterior cuanto opera sobre la superficie de ese mercurio al cual ha de caer.
Finalmente también observamos que si (cuando el mercurio del tubo se ha hecho caer, haciéndolo subir luego hasta su altura primitiva al permitir el ingreso del aire exterior) se introdujese más aire en la campana con ayuda de la bomba, el mercurio del tubo ascendería muy por encima de la altura acostumbrada de 27 dedos, cayendo de nuevo a la altura a la que antes descansaba tan pronto como se dejaba escapar ese aire.
Su Señoría quizá espere en este punto que, del mismo modo que aquellos que han tratado sobre el experimento de Torricelli han mantenido en su mayoría la afirmativa o negativa de esa famosa pregunta, si de ese noble experimento se infiere o no un vacío, así yo debiera en esta ocasión ofrecer mi opinión sobre esta controversia, o declarar al menos si en nuestra máquina la succión del aire prueba o no que el lugar abandonado por el aire succionado se halla verdaderamente vacío, esto es, privado de toda substancia corpórea. Mas aparte de que no tengo ni el tiempo ni la capacidad de entrar en un debate formal de tema tan grato, su Señoría, si lo estima oportuno, podrá hallar representados en los Diálogos
[54] no ha mucho aludidos las dificultades de ambas partes, las cuales no me han hecho conceder más que un muy inseguro asentimiento a cualquiera de las dos facciones que contienden acerca de la cuestión, y no osaré aún tomar sobre mí la determinación de una controversia tan difícil.
En efecto, por un lado parece que a pesar de la succión del aire nuestra campana puede no hallarse destituida de todo cuerpo, ya que todo cuanto en ella se pone, allí se puede ver, lo que no ocurriría si no estuviese abierta a esos haces de luz que, al rebotar del objeto visto hasta nuestros ojos, nos afectan con su sensación. Y o bien que esos haces sean emanaciones corpóreas de algún cuerpo luminoso o bien al menos que la luz que suministran resulte del movimiento rápido de cierta materia sutil, es algo que, si no me equivoco, podría probar suficientemente a partir de los Diálogos arriba mencionados si considerase que su Señoría pudiera imaginar seriamente que la luz pudiese transmitirse sin tener (por así decir) al menos un cuerpo por vehículo suyo.
Por el experimento dieciséis se ve también que la estanquidad de nuestra campana no le impide admitir los efluvios de la piedra imán, lo que hace muy probable que también admita libremente las exhalaciones magnéticas de la tierra, respecto a las cuales ya en otro tratado hemos intentado manifestar que muchas de ellas atraviesan siempre nuestro aire.
Mas, por otra parte, puede decirse que, por lo que respecta a la materia sutil que toma visibles los objetos introducidos en nuestra campana evacuada y por lo que atañe a los efluvios, magnéticos de la tierra que podemos suponer que la atraviesan, si bien deberemos conceder que nuestro recipiente no se halla completamente vacío de ellos, con todo no nos es dado afirmar razonablemente que esté lleno de ellos, ya que podemos suponer que si se reuniesen en un espacio sin dejar intervalos entre sí, no llenarían más que una pequeña parte de toda la campana. Así, en el experimento décimo tercero, un trozo de mecha presentaba un volumen despreciable cuando sus partes se encontraban estrechamente unidas, si bien luego (una vez que el fuego las hubo dispersado en humo) parecían llenar todo el recipiente. En efecto (como han demostrado en otro lugar nuestros experimentos) tanto la luz como los efluvios de la piedra imán pueden penetrar fácilmente en un recipiente de vidrio herméticamente sellado, por más que antes de que entrasen se hallase tan lleno de aire como lo están los cuerpos huecos de aquí abajo, de manera que tras la extracción del aire, el gran espacio abandonado por éste ha de permanecer vacío a pesar de la presencia de esos corpúsculos sutiles mediante los que producen sus efectos los cuerpos lúcidos y magnéticos.
Y por lo que respecta a las alegaciones arriba mencionadas, sólo parecen probar la posibilidad de que la campana vacía de aire esté llena de cierta materia etérea, tal y como enseñan algunos naturalistas modernos
[55], y no que sea así realmente. En verdad, por lo que atañe a esos espacios que los vacuistas considerarían vacíos, ya que se encuentran manifiestamente privados de aire y todo tipo de cuerpos crasos, a mí me parece que los plenistas (si se les puede llamar así) no demuestran que tales espacios estén llenos de esa materia sutil de la que hablan, basándose para ello en algunas de sus operaciones o efectos sensibles (ninguno de los cuales me han mostrado diversos nuevos ensayos hechos con esa finalidad), sino que se limitan a concluir que debe existir semejante cuerpo puesto que no puede haber un vacío. Y la razón por la cual no puede existir el vacío no la toman de un experimento o fenómeno alguno de la naturaleza que demuestre clara y específicamente su hipótesis, sino que la sacan de su noción de cuerpo, cuya naturaleza, al consistir tan sólo según ellos en la extensión (que ciertamente parece su propiedad más esencial, dado que es inseparable de un cuerpo), afirmar que hay un espacio vacío de cuerpo es, para decirlo con una expresión escolástica, una contradicción
in adjecto. Afirmo por tanto que aceptar esta razón parece convertir la controversia acerca del vacío en una cuestión más metafísica que fisiológica
[56]. Por consiguiente, nos abstendremos de discutirla aquí, hallando muy difícil sea dar satisfacción a los naturalistas con esa noción cartesiana de cuerpo, sea poner de manifiesto en qué yerra, proponiendo en su lugar otra mejor.
Mas, si bien no estamos dispuestos a seguir examinando las inferencias que se puedan extraer del experimento torricelliano, con todo no consideramos improcedente presentar a su Señoría un par de advertencias relativas al caso.
En primer lugar, pues, si al ensayar el experimento aquí o en otro lugar, recurrís a las medidas inglesas que usan emplear matemáticos y comerciantes, a menos que estéis sobre aviso, sospecharéis que quienes han escrito acerca «leí experimento se han equivocado. En efecto, si bien la gente habla en general de que el mercurio se mantiene suspendido en el tubo a una altura entre seis o siete y veinte pulgadas, nosotros hemos observado normalmente, desde la primera vez en que hace ya varios años nos interesamos por este experimento, que el mercurio del tubo se mantenía a unas 29 pulgadas y media (75 cm) sobre la superficie del mercurio contenido en el recipiente, cosa que en un principio nos sorprendió y nos dejó perplejos, pues aunque no temamos por cosa poco probable que la diferencia entre el aire más craso de Inglaterra y el de Italia o Francia pudiese impedir que el mercurio cayese en este clima tan frío tan abajo como en esos otros más cálidos, con todo no podíamos creer que sólo esa diferencia del aire fuese capaz de producir una tan grande en las alturas de los cilindros de mercurio. Consiguientemente, tras investigar la cuestión, hallamos que por más que en este experimento no hayan de desestimarse las diversas densidades del aire, con todo la razón fundamental por la que hallamos que el cilindro de mercurio constaba de tantas pulgadas era la siguiente, que nuestras pulgadas inglesas son un tanto inferiores en longitud a los dedos utilizados en otras regiones extranjeras por quienes escriben acerca del experimento
[57].
La otra cosa que deseo que tenga en cuenta su Señoría es que la altura del cilindro mercurial no puede resultar tan grande como debería realmente ser, debido a la negligencia o inadvertencia de la mayoría de quienes realizan el experimento. En efecto, muy a menudo, al destapar el tubo invertido en el mercurio envasado, se puede observar cómo asciende una burbuja de aire desde el fondo del tubo hasta la parte superior, atravesando el mercurio que desciende. Y si se mira con atención, casi siempre se puede constatar la existencia de una multitud de pequeñas burbujas todo a lo largo del interior del tubo entre el mercurio y el cristal (y eso sin hablar de las partículas de aire que se hallan ocultas en el cuerpo mismo del mercurio), muchas de las cuales, una vez que el mercurio ha abandonado la parte superior del tubo, irrumpen en el espacio abandonado donde poca o ninguna resistencia encuentran a su propia expansión. Si es esta la razón por la que, cuando se aplican cuerpos calientes a la parte vacía del tubo, el mercurio subyacente desciende un poco más abajo, es algo que no determinaremos, si bien parece muy probable, especialmente dado que hallamos que tras la aplicación de paños de lienzo empapados en agua a esa misma parte del tubo, el mercurio ascendía un tanto, como si el frío hubiese condensado el aire aprisionado (que presiona sobre él), reduciéndolo a un espacio menor. Ahora bien, diversas circunstancias nos indujeron a pensar que el espacio abandonado no ha de estar totalmente vacío de aire: como cuando después de que un eminente matemático y excelente experimentador se hubiese tomado grandes molestias, empleando mucho tiempo en llenar cuidadosamente el tubo de mercurio, al invertir el tubo dejando que el mercurio cayese a la altura acostumbrada, descubrimos que aún quedaba cierta cantidad de burbujas inconspicuas; y también como cuando aplicamos (gradualmente) un hierro al rojo vivo a la parte exterior del tubo, sobre la parte superior del cilindro mercurial (con lo que las burbujitas desapercibidas, expandiéndose poderosamente, ascendieron en tal cantidad y tan rápidamente hacia el espacio desalojado que, para nuestro asombro, la parte superior del mercurio parecía hervir). Observamos además que en los ensayos del experimento torricelliano que hemos visto realizados por otros, así como en todos los nuestros (excepto uno), nunca hallamos que, al inclinar el tubo, el mercurio llegase del todo hasta la parte superior del extremo sellado, lo que habla a favor de la existencia de alguna cantidad de aire que se habría retirado allí, manteniendo al mercurio fueras del espacio no llenado.
Si su Señoría preguntase cuáles son los mejores recursos para impedir la intrusión del aire en este experimento, hemos de responder que de todos aquéllos que de acuerdo con nuestros propios ensayos son fácilmente inteligibles sin demostración ocular, no podemos sugerir otros mejores que estos. Primero, en el extremo abierto del tubo, el vidrio no sólo debe tener los bordes lo más lisos posible, sino que es muy conveniente (en especial si el tubo es ancho) que la parte inferior esté por todas partes doblada hacia adentro, de modo que el orificio, al no exceder en mucho un cuarto de pulgada (0,63 cm) de diámetro, pueda taparse de la manera más fácil y exacta con el dedo del experimentador; y para que entre éste y el mercurio no se interponga nada de aire (como muy a menudo ocurre), es preciso llenar el tubo todo lo posible, a fin de que el dedo que ha de taponarlo, presionando sobre el mercurio protuberante y acumulado, pueda más bien derramar algo antes que no encontrar el suficiente para mantener el aire fuera. También resulta útil y expeditivo no llenar al principio el tubo totalmente de mercurio, dejándolo vacío por la parte superior cosa de un cuarto de pulgada, pues si se tapona entonces con el dedo el extremo abierto y se invierte el tubo, ese cuarto de pulgada de aire ascenderá como una gran burbuja a la parte superior y de pasada recogerá todas las pequeñas burbujas uniéndolas consigo en una grande. De este modo, invirtiendo de nuevo el tubo, se deja que dicha burbuja vuelva otra vez al extremo abierto, con lo que se tendrá un cilindro mercurial mucho más denso que antes, precisándose tan sólo añadir un poco más de mercurio para llenar totalmente el tubo. Finalmente, por lo que respecta a esas porciones de aire menores e inconspicuas, imposibles de recoger de esta manera, se puede intentar liberar de ellas al mercurio antes de invertir el tubo, sacudiéndolo y golpeándolo suavemente por su parte exterior tras verter en él cada pequeña dosis de mercurio, amén de forzar a esas pequeñas burbujas ocultas a mostrarse y romperse mediante el uso de un hierro caliente, a la manera últimamente mencionada. Recuerdo que al llenar cuidadosamente el tubo, por más que no estuviese aún completamente libre de aire, hicimos que el cilindro mercurial alcanzase 30 pulgadas (76,2 cm) y más de altura, y eso en un tubo muy corto, extremo que mencionamos porque hemos descubierto que en los tubos cortos un poco de aire resulta más perjudicial para el experimento que en los largos, en los que el aire, disponiendo de más espacio para expandirse, presiona con menos fuerza sobre el mercurio subyacente.
Y ya que hemos venido a dar en la consideración de la altitud del cilindro mercurial, no he de ocultar a su Señoría un experimento al caso que quizá os dé qué pensar a vos y a muchos de vuestros amigos los
virtuosi[58] y, desvelando algunas cosas relativas al aire de la atmósfera que hasta ahora rara vez se han tomado en cuenta, podrá daros algunas pistas conducentes a ulteriores descubrimientos del tema de esta epístola
[59].
§ 2. Dos nuevos experimentos relativos a la medida de la fuerza del resorte del aire comprimido y dilatado
La otra cosa que habría de señalar por lo que atañe a la hipótesis de nuestro adversario
[60] es que resulta innecesaria. En efecto, puesto que no niega que el aire tenga cierto peso y resorte, sino que afirma que ello resulta muy insuficiente para llevar a cabo asuntos tan importantes como contrapesar un cilindro de mercurio de 29 pulgadas (73,6 cm), cosa que nosotros afirmamos que hace, habremos de esforzamos ahora por poner de manifiesto, mediante experimentos hechos expresamente al efecto, que el resorte del aire es capaz de hacer mucho más de lo que precisamos atribuirle para resolver los fenómenos del experimento de Torricelli
[61].
Tomamos pues un largo tubo de vidrio que con habilidad y la ayuda de una lámpara se curvó de tal modo por abajo, que la parte doblada hacia arriba resultaba casi paralela al resto del tubo. Y una vez sellado herméticamente el orificio de este brazo más corto del sifón (si se me permite llamar así al instrumento en su conjunto), su longitud se dividió en pulgadas (cada una de las cuales se subdividía en ocho partes) mediante una tira de papel con dichas divisiones que se había pegado cuidadosamente a lo largo de él. A continuación, echando el mercurio necesario para llenar el arco o parte doblada del sifón, de modo que el mercurio estuviese a nivel, alcanzando en un brazo hasta la parte inferior del papel con las divisiones y exactamente hasta la misma altura o

línea horizontal en el otro, procuramos mediante frecuentes inclinaciones del tubo que el aire pudiese pasar libremente de un brazo a otro por los costados del mercurio; procuramos, digo, que el aire finalmente encerrado en el cilindro más corto fuese de la misma laxitud que el resto del aire entorno. Hecho esto, comenzamos a verter mercurio en el brazo más largo del sifón, el cual, al presionar con su peso sobre el que se hallaba en el brazo más corto, constreñía gradualmente el aire encerrado. Y continuando este vertido de mercurio hasta que el aire del brazo más corto se redujese por condensación a no ocupar más que la mitad del espacio que poseía antes (digo poseía, no llenaba), nos fijamos en el brazo de vidrio más largo que tenía también una tira de papel pegada, cuidadosamente dividida en pulgadas y fracciones, observando no sin deleite y satisfacción que el mercurio en esta parte más larga del tubo se hallaba 29 pulgadas más alto que en la otra
[62]. Quien tenga en cuenta nuestras enseñanzas, fácilmente discernirá que esta observación no sólo concuerda muy bien, sino que también confirma nuestras hipótesis; tanto Monsieur
Pascal como los experimentos de nuestro amigo inglés demuestran que cuanto mayor es el peso que se apoya sobre el aire, más fuerte es su tendencia a la dilatación y consiguientemente su poder de resistencia
[63] (a la manera en que otros resortes son más fuertes cuando se doblan con pesos mayores). Tomando esto en cuenta, se verá que concuerda extraordinariamente bien con la hipótesis, de manera que del mismo modo que, según esta hipótesis, el aire que tiene el grado de densidad y la consiguiente medida de resistencia al que lo ha llevado el peso de la atmósfera que descansa sobre él, era capar de equilibrar y resistir la presión de un cilindro de mercurio de unas 29 pulgadas, tal y como nos enseña el experimento de Torricelli, así aquí el mismo aire puesto en un grado de densidad unas dos veces mayor que el que presentaba antes, adquiere un resorte dos veces más fuerte que antes
[64]. Tal se desprende del hecho de que sea capaz de sostener o resistir un cilindro de 29 pulgadas del tubo más largo junto con el peso del cilindro atmosférico que descansa sobre esas 29 pulgadas de mercurio, y que equivale a ellas, como inferimos ahora del experimento de Torricelli.
No pudimos proseguir en esta ocasión los ensayos debido a la ruptura accidental del tubo. Mas, dado que un experimento preciso de esta naturaleza sería de gran importancia para la doctrina del resorte del aire, no habiendo sido aún realizado (que yo sepa) por persona alguna, y dado además que resulta más difícil de llevar a cabo de lo que cabría pensar por la dificultad tanto de hacerse con tubos doblados adecuados a esta finalidad, como de realizar una estimación precisa del verdadero lugar ocupado por la protuberante superficie del mercurio, supongo que no le vendrá mal al lector informarse de que, tras algunos otros ensayos, realizado uno de ellos con un tubo cuyo brazo menor era perpendicular y el otro, que contenía el aire, paralelo al horizonte, nos procuramos finalmente un tubo con la forma que se muestra en la figura, el cual tubo, aunque de buen tamaño, era tan largo que el cilindro que formaba el brazo más corto admitía una tira de papel que había sido previamente dividida en 12 pulgadas (30,5 cm) y sus cuartos, mientras que el más largo admitía otra tira de papel con una longitud de diversos pies, dividida del mismo modo. Una vez vertido el mercurio para llenar la parte curva del recipiente, de modo que su superficie se mantuviese en ambos brazos en la misma línea horizontal, como hemos señalado más arriba, se echó más y más mercurio en el tubo más largo. Y tomando nota cuidadosamente de hasta dónde subía el mercurio en el tubo más largo cuando parecía haber ascendido hasta cualquiera de las divisiones del más corto, las diversas observaciones que se realizaron sucesivamente de este modo, tal y como se establecieron, nos suministraron el siguiente cuadro:

AA. El número de espacios iguales del brazo más corto que contenía la misma cantidad de aire diversamente extendido [65]. B. La altura del cilindro de mercurio del brazo más largo que comprimía el aire a esas dimensiones. C. La altura del cilindro de mercurio que equilibraba la presión de la atmósfera [66]. D.La suma de las dos últimas columnas, B y C,que muestra la presión soportada por el aire encerrado. E. Cuál habría de ser esa presión según la hipótesis que suporte que las presiones y expansiones son inversamente proporcionales. [67]
Para mejor comprensión de este experimento, quizá no esté de más tener en cuenta los siguientes detalles:
- Que al ser el tubo tan alto que no podíamos utilizarlo convenientemente en una habitación, tuvimos a bien usarlo sobre un par de escaleras, aunque muy ligeras, hallándose el tubo, por razones de seguridad, suspendido mediante cuerdas de tal modo que a penas tocaba la caja de la que vamos a hablar inmediatamente.
- La parte inferior doblada del tubo estaba situada en una caja cuadrada de madera de buen tamaño y profundidad para no perder el mercurio que se pudiese derramar en el transvase del recipiente al tubo, así como para recoger todo el mercurio en caso de que se rompiese el tubo.
- Que éramos dos los que realizábamos conjuntamente las observaciones, uno tomando nota en la parte inferior de cómo subía el mercurio en el cilindro más corto, y el otro vertiéndolo por el extremo superior del más largo, siendo sumamente difícil y molesto para una persona sola hacer ambas cosas con precisión.
- Que el mercurio sólo se vertía poco a poco, siguiendo las instrucciones del que observaba abajo, pues era mucho más fácil añadir que quitar en el caso de que se hubiese vertido demasiado de una vez.
- Que al comienzo de la operación, a fin de poder discernir con más precisión dónde se detenía el mercurio en uno u otro momento, utilizamos un pequeño espejo sostenido en una posición conveniente para que reflejase hacia el ojo lo que queríamos observar.
- Que una vez que el aire se hubo comprimido de manera que se apretase en menos de un cuarto del espacio que antes ocupaba, probamos a ver si el frío de un paño e lino empapado en agua podría entonces condensarlo. Y en ocasiones parecía encogerse un poco, aunque no tan claramente como para que osemos basar algo en ello. Asimismo probamos luego si el calor pudiera dilatarlo a pesar de una compresión tan enérgica, y al acercar la llama de una vela a aquella parte en la que el aire se hallaba recluido, el calor tubo un efecto más sensible que el que antes había tenido el frío, por lo que apenas nos cabe duda de que la expansión del aire hubiera resultado conspicua a pesar del peso que lo oprimía, si no fuese porque el miedo a romper estúpidamente el vidrio nos impidió aumentar el calor.
Ahora bien, aunque no negamos que en nuestro cuadro algunos detalles no respondan exactamente a lo que nuestra hipótesis anteriormente mencionada podría quizá invitar al lector a esperar, con todo las discrepancias no son tan considerables, pudiéndose atribuir con bastante probabilidad a esa falta de exactitud difícilmente evitable en estos experimentos delicados. Por otro lado, y hasta tanto ulteriores ensayos me informen con más claridad, no me aventuraré a determinar si la teoría expuesta regirá o no universal y exactamente, sea en la condensación o en la rarefacción del aire
[68].
En lo único en que ahora insistiré es en que, con todo, la prueba ya realizada demuestra suficientemente la cuestión fundamental para la cual la aduzco aquí, pues gracias a ella es evidente que el aire común, cuando se reduce a la mitad de su extensión habitual, adquiere un resorte algo así como cerca del doble más potente que el que tenía antes; de manera que al embutir de nuevo este aire así comprimido en la mitad de este estrecho espacio, adquiere con ello otra vez un resorte tan fuerte como el que antes tenía, siendo por consiguiente cuatro veces más fuerte que el del aire común. Y no hay razón alguna para dudar de que si hubiéramos dispuesto de una mayor cantidad de mercurio y de un tubo muy fuerte, merced a una ulterior compresión del aire encerrado hubiéramos podido haberlo hecho equilibrar la presión de un cilindro de mercurio mucho más alto y pesado, pues quizá nadie sepa aún cuánto pueda aproximarse el aire a una compresión infinita si la fuerza compresora se aumenta adecuadamente. De este modo, nuestro adversario puede ver aquí con claridad que el resorte del aire que a él se le antoja tan ligero, puede ser capaz de resistir no sólo el peso de 29 pulgadas (73 2/3 cm), sino en ocasiones el de más de cien pulgadas (254 cm) de mercurio
[69], y eso sin la ayuda de su Funiculus que en nuestro caso presente nada tiene que hacer. Y para que veáis que no hemos mencionado sin intención (como hicimos un poco más arriba) el peso del cilindro atmosférico, que descansa sobre el mercurio, como parte del peso resistido por el aire aprisionado, añadiremos aquí que cuando el cilindro mercurial del brazo más largo del tubo tañía una altura de unas cien pulgadas, tuvimos buen cuidado de que uno de nosotros succionase por el orificio abierto, con lo que (como esperábamos) el mercurio del tubo ascendió notablemente. Este importante fenómeno no puede atribuirse al Funiculus de nuestro crítico, ya que, según confesión propia, éste no puede tirar hacia arriba del mercurio si el cilindro mercurial está por encima de las 29 ó 30 pulgadas (73,6-76,2 cm) de mercurio. Por consiguiente, daremos la siguiente razón de ello, cual es que la presión del aire que descansa encima, al verse en parte eliminada por su expansión en el pecho dilatado del que succiona, permite al aire aprisionado dilatarse manifiestamente, repeliendo al mercurio que lo comprimía hasta que se de una igualdad de fuerza entre, por un lado, el resorte de ese aire comprimido y, por el otro, el alto cilindro mercurial junto con el aire dilatado contiguo.
Si a lo que hemos señalado hasta aquí sobre la compresión del aire añadimos ahora algunas observaciones relativas a su expansión espontánea, se verá mejor hasta qué punto los fenómenos de estos experimentos mercuriales dependen de las diferentes medidas de la fuerza a contrarrestar con el resorte del aire según sus diversos grados de compresión o laxitud. Mas, antes de entrar en este tema, reconoceré de buena gana que aún no había transformado en una hipótesis cierta estos ensayos míos relativos a la medida de la expansión del aire, cuando ese ingenioso caballero, el Sr.
Richard Towneley [70], tuvo a bien informarme que, habiéndose convencido por la atenta lectura de mis experimentos físico mecánicos de que el resorte del aire era la causa de ello, intentó (y deseo que otras personas ingeniosas sigan su ejemplo en tales intentos) aportar lo que yo había omitido en cuanto a someter a estimación exacta de qué manera el aire dilatado por sí mismo pierde su fuerza elástica según la medida de la dilatación
[71]. Añadió que había comenzado a redactar lo que se le ocurría sobre esta cuestión en un breve discurso del que posteriormente me hizo el favor de mostrarme el comienzo, lo que me produce una justa curiosidad de verlo terminado. Pero, puesto que ni sé ni (debido a la gran distancia que separa nuestros lugares de residencia) tengo ahora la oportunidad de averiguar si tendrá a bien adjuntar su discurso a nuestro apéndice, publicarlo por sí mismo o no publicarlo, y puesto que aún no ha dado que yo sepa con instrumentos de vidrio adecuados para confeccionar un cuadro preciso del decremento de la fuerza del aire dilatado, nuestro actual proyecto nos invita a presentar al lector lo que sigue, para lo que conté con la asistencia de la misma persona de quien señalaba en el capitulo anterior que había escrito algo sobre la rarefacción
[72], y a quien debo mencionar en esta ocasión, pues tan pronto como me oyó hablar de las suposiciones del Sr.
Towneley acerca de la proporción en que el aire pierde su resorte con la dilatación me dijo que el año anterior (y no mucho después de la publicación de mi tratado penumático) había realizado observaciones con el mismo fin, las cuales, reconocía, concordaban bastante bien con la teoría del Sr.
Towneley. Asimismo, hacia la misma época, realizó algunos ensayos (como tuvo a bien comunicármelo su autor) ese noble virtuoso y eminente matemático, Lord
Brouncker, de cuyas ulteriores investigaciones sobre el tema, si sus ocupaciones le permiten realizarlas, las personas inquisitivas pueden perfectamente esperar algo muy preciso.
Para hacer más claro el experimento de la fuerza debilitada del aire expandido, no estará de más señalar algunos detalles relativos especialmente al modo de realizar el ensayo, el cual (por las razones últimamente mencionadas) hicimos sobre un par de escaleras ligeras y con una caja forrada de papel para recoger el mercurio que pudiera derramarse.

A. El número de espacios iguales en la parte superior del tubo que contenían la misma porción de aire. B. La altura del cilindro mercurial que, junto con el resorte del aire encerrado, equilibraba la presión de la atmósfera. C. La presión de la atmósfera. D. El complemento de B a C, que muestra la presión sostenida por el aire encerrado [73]. E. Cuál habría de ser esa presión según la hipótesis.
Y a la vista de que el uso de recipientes del tipo acostumbrado en el experimento de Torricelli exigiría una vasta cantidad de mercurio, sólo disponible en pocos lugares, empleamos un tubo

de vidrio de unos seis pies de largo (182,8 cm) que, al estar sellado por uno de sus extremos, servía a nuestro propósito igual de bien que si hubiéramos podido realizar el experimento en una cuba o estanque de setenta pulgadas (177,8 cm) de profundidad.
En segundo lugar, dispusimos también de un tubo delgado de vidrio, aproximadamente del tamaño de una pluma de cisne, abierto por ambos extremos, a lo largo de todo el cual se pegó una estrecha tira de papel dividida en pulgadas y medios cuartos.
En tercer lugar, habiendo introducido este tubo delgado en el mayor casi lleno de mercurio, el vidrio hizo que éste subiese hasta la parte superior del tubo mayor, y penetrando por el orificio inferior del tubo, lo llenó hasta que el mercurio de dentro estuvo aproximadamente al mismo nivel que la superficie del mercurio exterior del tubo mayor.
En cuarto lugar, quedando según nuestras mejores estimaciones un poco más de una pulgada (2,54 cm) del tubo delgado por encima de la superficie del mercurio envasado, y por consiguiente no estando lleno de mercurio, el orificio que sobresalía se cerró cuidadosamente con lacre fundido, tras de lo cual dejamos al tubo solo un rato a fin de que el aire un tanto dilatado por el calor del lacre pudiese reducirse tras la refrigeración a su densidad usual. Luego, merced a la mencionada tira de papel, observamos si habíamos metido algo más o algo menos de una pulgada de aire. En cualquiera de ambos casos, nos complacíamos en rectificar el error mediante un pequeño agujero practicado (con un alfiler caliente) en el lacre, cerrándolo luego de nuevo.
En quinto lugar, habiendo metido así exactamente una pulgada de aire, levantamos gradualmente el tubo delgado hasta que el aire se dilatase hasta una pulgada, una pulgada y media, dos pulgadas, etc., observando en pulgadas y octavos la longitud del cilindro mercurial que a cada grado de la expansión del aire se veía impelido por sobre la superficie del mercurio envasado en el tubo.
En sexto lugar, habiendo finalizado las observaciones, realizamos rápidamente el experimento de Torricelli con el tubo grande de seis pies de largo arriba mencionado, a fin de averiguar la altura del cilindro de mercurio ese día y hora concretos, altura que encontramos de 29 3/4 pulgadas (75,5 cm).
En séptimo lugar, nuestras observaciones realizadas de esta manera nos suministraron el cuadro precedente, en el que probablemente no se hubiera hallado la diferencia aquí expuesta entre la fuerza del aire cuando se expande al doble de sus dimensiones primitivas y lo que esa fuerza habría de ser exactamente según la teoría, de no ser porque la pulgada de aire encerrado aumentaba un poco durante el ensayo. En efecto, haciéndonos sospechar esta diferencia recién mencionada, hallamos al volver a hundir el tubo en el mercurio que el aire encerrado había ganado cosa de medio octavo, lo que conjeturamos que derivaba de algunas pequeñas burbujas de aire del mercurio contenido en el tubo (tan fácil es en estos delicados experimentos no alcanzar la exactitud). Lo ensayamos también con 12 pulgadas (30,5 cm) de aire encerrado para dilatar; mas viéndose entonces impedida la prosecución de dichos experimentos por ciertos inoportunos imprevistos, estableceremos en otro lugar algunos otros cuadros precisos sobre este tema a partir de otras notas y ensayos (si Dios nos lo permite). Mediante ellos, quizá podamos resolver si la atmósfera debería considerarse (como ocurre usualmente) como una porción limitada y acotada del aire o si deberíamos, en un sentido más estricto que como hicimos antes, usar la atmósfera y la parte aérea del mundo como términos casi equivalentes, o también si debiéramos asignar a la palabra atmósfera otra idea relativa a su extensión y límites (pues, por lo que atañe a su resorte y peso, estos experimentos no los cuestionan, sino que los ponen de manifiesto). Mas, como hemos dicho, deseamos dejar estos temas para nuestro Apéndice, manteniendo hasta entonces nuestro modo usual de hablar del aire y la atmósfera. Entre tanto (volviendo a nuestros experimentos últimamente mencionados), al margen de que una discrepancia tan pequeña pueda atribuirse en gran parte a la dificultad de realizar con precisión experimentos de esta naturaleza, y tal vez la mayor parte a cierta desigualdad en la cavidad del tubo o incluso al grosor del cristal, aparte de eso, digo, la proporción entre las diversas presiones del aire encerrado sin dilatar y expandido, especialmente cuando la dilatación era grande (pues cuando el aire sólo aumentaba cuatro veces su primitiva extensión, el cilindro mercurial, aunque era casi de 23 pulgadas (58,4 cm), no difería en un cuarto de pulgada de lo que habría de tener según la exactitud matemática), la proporción, digo, era lo bastante aceptable según lo que sería de esperar como para permitimos hacer la siguiente reflexión, tomando todo esto en cuenta. Rija o no exactamente la teoría expuesta (pues acerca de ello, como dije más arriba, no oso determinar nada con firmeza hasta haber examinado más la cuestión), puesto que cuando se aisló originalmente la pulgada de aire no se cerró con otra presión que aquélla que poseía por el peso del aire que descansaba sobre ella, no estando más comprimida que el resto del aire que respiramos y en que nos movemos, y puesto que además esta pulgada de aire, una vez expandida al doble de sus primitivas dimensiones, era capaz de equilibrar el peso de la atmósfera con la ayuda de un cilindro mercurial de unas 15 pulgadas (38,1 cm), cilindro que el peso exterior del aire externo gravitando sobre el mercurio almacenado era capaz de hacer subir en el tubo, sosteniéndolo, cuando el aire interno, merced a su gran expansión, tenía su resorte demasiado debilitado como para ofrecer ninguna resistencia considerable (digo considerable porque aún no estaba tan dilatado como para no ofrecer ninguna), puesto que, digo, estas cosas son así, el aire libre de aquí abajo parece estar casi tan fuertemente comprimido por el peso del aire que descansa sobre él como lo estaría por el peso de un cilindro mercurial de veintiocho o treinta pulgadas (71,12 ó 72,6 cm), y en consecuencia no se halla en tal estado de laxitud y libertad como el que la gente se imagina, actuando como un agente mecánico, el decrecimiento de cuya fuerza mantiene con el aumento de dimensión una proporción más estricta de lo que hasta ahora se sabía.
No he de pararme ahora a proponer las diversas reflexiones que se pueden hacer sobre las anteriores observaciones relativas a la compresión y expansión del aire; en parte porque mal podríamos evitar hacer un tanto prolija la parte histórica
[74], y en parte porque supongo que ya hemos dicho bastante para mostrar lo que se pretendía; a saber, que para resolver los fenómenos, en nada precisamos de la hipótesis de nuestro adversario, y mostrarlo aparecerá como algo de no poca importancia en nuestra actual controversia a quien considere que las dos cosas principales que indujeron a nuestro crítico a rechazar nuestras hipótesis son que la naturaleza aborrece el vacío y que, aunque el aire posea cierto peso y elasticidad, con todo éstos son insuficientes para producir los fenómenos conocidos, teniendo por tanto que recurrir para ello a su Funiculus. Ahora bien, como hemos visto anteriormente, no ha refutado satisfactoriamente el vacío, sino que lo ha rechazado, mientras que nosotros hemos puesto ahora de manifiesto que la elasticidad del aire puede bastar para realizar cosas mayores que las que nuestra explicación de los experimentos torricellianos y los de nuestra máquina nos obligan a atribuirle. Por tanto, dado que además de las diversas dificultades que asedian a la hipótesis que atacamos, en especial el ser escasamente inteligible, si es que es inteligible, podemos añadir que resulta innecesaria, nos atrevemos a esperar que aquellos lectores que no se hallen llenos de prejuicios por su reverencia hacia
Aristóteles o las escuelas peripatéticas, difícilmente rechazarán una hipótesis (que aparte de resultar muy inteligible se ha demostrado ahora que es suficiente) tan sólo por abrazar una doctrina que supone una rarefacción y condensación como la que muchos famosos naturalistas rechazaron por no ser comprensible, aun cuando no conocían otra manera (probable) de resolver los fenómenos a explicar con ella.
§ 3. Una explicación de la rarefacción
Los principales argumentos del autor de un cierto tratado,
De corporum inseparabilitate,
[75] con los que trata de invalidar la hipótesis del peso y resorte del aire, proponiendo y estableciendo en su lugar una hipótesis ininteligible de atracción realizada por no se qué extraño Funiculus imaginario, son tan sólo cinco: dos contra la primera y tres a favor de la segunda. El primero de ellos es que el peso y resorte del aire no bastan para producir los efectos que se le atribuyen; el segundo, que aun cuando pudieran ser producidos por esa hipótesis, concediendo que fuese verdadera, con todo el modo de operar de ese extraño resorte ni es explicable ni lo explican inteligiblemente sus defensores. Ahora bien, siendo el primero de ellos poco más que una mera afirmación, ofreciendo el segundo cierto aspecto externo de demostración, trataré de examinarlo tal y como lo hallo expuesto en sus capítulos 20, 21, 22, 23 y 24, a los cuales (especialmente al 23) remite muy a menudo a los lectores en su libro a modo de justificación, pretendiendo mostrar allí que la rarefacción no se puede producir de otro modo que suponiendo que un cuerpo se encuentre en 2, 3,4, 10,100, 1000, 1000000 lugares en el mismo instante, llenando adecuadamente todos y cada uno de ellos.
Primero, pues, examinaremos sus argumentos negativos a favor de su extraña hipótesis, dejando para luego los afirmativos.
Hallo los argumentos en el capítulo 20, donde trata de refutar las dos maneras de explicar la rarefacción y resorte del aire; a saber, la de los vacuistas y la de los plenistas.
Por lo que respecta a la primera de ellas, vérnoslo concluyendo su imposibilidad, antes que nada por haber probado anteriormente que no puede existir un vacío, cosa que, haciéndose circularmente (a saber, no hay vacío en el tubo porque la naturaleza aborrece el vacío, y vemos que la naturaleza aborrece el vacío porque no tolerará que haya vacío en el tubo por encima del mercurio, sino que para evitarlo hará girar continuamente al mercurio en superficies sin disminuir nunca su cuerpo), se me permitirá que pase al siguiente punto, que es que este modo de operar es falso porque en el experimento de la vejiga de carpa
[76] el aire se rarifica tomándose 1000 veces mayor; y no sólo eso, sino que además, por respecto al cuerpo del oro, tiene 1000000 de veces menos materia en iguales espacios. Lo cual, señala, constituye un fenómeno que resulta imposible de realizar mediante vacíos intercalados
[77]. Puesto que no se puede obligar a los vacuistas a abandonar consiguientemente sus principios con una afirmación tan audaz como ésta, quizá pueda ver la luz mediante las siguientes soluciones que daré a todos los fenómenos que aduce y que se siguen con naturalidad de una hipótesis que aceptaré por el momento
[78].

La figura A de Boyle.
Supongamos, pues, que las partículas de los cuerpos, al menos las del aire, tengan la forma de una cinta; esto es, que sean unas laminae muy largas, estrechas, finas y flexibles, enroscadas o enrolladas como lo está un cable, una cinta, un resorte de reloj, un aro o similares. Supondremos que todas ellas tienen la misma longitud, si bien unas poseen un resorte más fuerte y otras, más débil. Supondremos además que cada una de tales partículas así enrolladas posee un movimiento circular innato, de manera que pueda describir una esfera de diámetro igual al suyo, al modo en que un meridiano que gire en torno a los polos de un globo describirá en el aire con su revolución una esfera del mismo diámetro que el suyo. Mediante este movimiento circular, las partes de las laminae que tratan de alejarse del centro o eje de su movimiento adquieren un impulso hacia afuera como el del resorte de un reloj, habiendo de desenrollarse hasta desplegarse en toda su longitud. Mas, hallándose rodeadas por todas partes por otras similares, no pueden hacer tal cosa sin apartarlas, pues carecen de espacio bastante para tal movimiento. Y cuanto más rápido es este movimiento, más tienden las partes a alejarse del eje y por ende más fuerte es su resorte o tendencia hacia afuera. Estos cuerpos con resorte, dotados de esta forma y este movimiento, se bastan para producir todos los fenómenos que él cita como imposibles de explicar. En primer lugar, por lo que respecta al tema de la expansión, se explicará muy naturalmente con ello. En efecto, supongamos por ejemplo que el diámetro de estas pequeñas partículas de aire enroscadas, que al estar próximas a la tierra se ven presionadas por todas esas numerosas partículas de encima que constituyen la atmósfera, estando por tanto tan apretujadas que sólo se pueden desenrollar muy poco, supongamos, digo, que el diámetro de esas partículas sea de 1/1000.000.000.000 pulgadas. Supóngase también que tengan en gran medida la forma de las representadas en la 4a figura por ABCD y que, cuando se elimine una considerable cantidad de la presión del aire ambiente, se desenrosquen en una espira o banda de un diámetro diez veces mayor que antes; esto es, tendrán ahora de diámetro 10/1000.000.000.000 pulgadas, apareciendo con la forma de las que se representan en la figura por EFGH. Estas bandas, al girar en redondo como las anteriores, describirán una esfera de volumen 1000 veces mayor, cercando así un espacio en el que no podrá entrar ninguna de las otras bandas similares. Ello sería así, suponiendo que esas esferas se tocasen siempre inmediatamente unas a otras; mas, debido a su movimiento circular, siempre que se encuentran han de golpearse necesariamente, rebotando una de otra y precisando así un espacio aún mayor para realizar sus movimientos. Supuesto esto, no hay fenómeno alguno de rarefacción (lo que basta ahora para responder a su crítica) del que no se pueda dar cuenta natural e inteligiblemente. En primer lugar, por lo que respecta a la vejiga de una carpa, si suponemos que algunas pequeñas cantidades de aquellas laminae comprimidas se hallan ocultas entre sus pliegues, estando muy enrolladas como para no ocupar ningún espacio sensible, en el aire esta vejiga parecerá tener muy poco o nada en su interior. Por el contrario, cuando la presión del aire se elimina en gran parte del exterior, entonces esas partículas anteriormente ocultas se muestran, desenroscándose en bandas mucho mayores, hasta el punto de poder quizá impedir que entren en un espacio mil veces mayor sus semejantes o cualesquiera otras partículas gruesas, como las de la vejiga. Ahora, dado que los poros de una vejiga son tales que no resultan fácilmente permeables por las partículas de aire, estas partículas emboscadas, al expandirse de este modo, han de inflar necesariamente los costados de la vejiga, manteniéndola así turgente hasta que la presión del aire que inicialmente las enrollaba sea readmitida para hacerles de nuevo lo mismo.
Luego, por lo que respecta a la rarefacción por el calor, se seguirá de esta hipótesis con tanta naturalidad como lo anterior. En efecto, los átomos de fuego que fluyen en gran número, pasando entre ellas con movimiento muy rápido, han de acelerar el movimiento de dichas partículas y mediante esta aceleración su resorte o conato hacia afuera aumentará; esto es, esas bandas poseerán tina más fuerte tendencia a desenrollarse del todo (pues sabemos que cuanto más rápido se mueve un cuerpo circularmente, tanto más tratan sus partes de alejarse del centro de dicho movimiento), de donde, si hay sitio, se seguirá una rarefacción. Por lo que respecta al transporte de luz, realizándose según
Epicuro por el movimiento local de átomos peculiares
[79], sus movimientos aquí y allá a través de este medio se verán menos estorbados por el aire rarificado que por el condensado, como por cierto hallaremos realmente con experimentos.
Por lo que atañe a su tercera objeción, sacada de la supuesta virtud atractiva del aire así rarificado, es algo a lo que se puede responder rápidamente negándole que tenga en absoluto poder alguno de atracción, así como mostrando (cosa que ya hemos hecho) que cualesquiera efectos que hubieran de ser realizados según él por la atracción del aire encerrado, son realizados en realidad por la presión del aire circundante.
Y, finalmente, los fenómenos del experimento de mi Lord
Bacon son lo bastante obvios y fáciles de deducir
[80].
Así pues, concediendo a Epicuro sus principios de que los átomos o panículas de los cuerpos poseen un movimiento innato y concediendo nuestra suposición sobre la figura y movimiento determinados de las partículas aéreas, todos los fenómenos de la rarefacción y la condensación, de la luz, el calor, etc. se seguirán natural y necesariamente, y las objeciones del autor contra este primer modo de rarefacción significarán muy poco.
Por lo que respecta al segundo modo de rarefacción por intrusión o intervención de cierta materia sutil o éter en los espacios abandonados por las partículas que se rarifican, que es lo que se proponen los defensores de un Plenum, es algo que también condena el autor, tildándolo de imposibilidad. ¿Y por qué? Primero, porque es (dice) imposible que los mencionados fenómenos de la vejiga de carpa se puedan explicar de dicho modo. Segundo, porque así es imposible dar razón del impetuoso ascenso del agua a la que se deja entrar en una campana vacía. Y tercero, porque es imposible explicar los fenómenos de la pólvora. Pasaré por alto sus razones para confirmar estas tres imposibilidades, dado que las extrae del mero error o ignorancia de aquellas hipótesis que han inventado los defensores de dicha opinión, y me conformaré con explicar un modo según el cual estas imposibilidades se pueden tornar en posibilidades cuando no en probabilidades.
Y el modo que adoptaré será el del más agudo filósofo moderno, Monsieur
Des Curtes, publicado en sus Obras Filosóficas
[81], que es éste: que el aire es un cuerpo que consta de partículas largas, delgadas y flexibles, agitadas o girando por el movimiento rápido de los
globuli coelestes y la materia sutil de su primer elemento, con el que cada uno de ellos es capaz de echar o expulsar de su vórtice a todas las demás partículas agitadas. Ahora bien, cuanto más rápidamente se hacen girar estos cuerpos, tanto más desenroscan y estiran sus partes flexibles y más poderosamente resisten el ingreso en su vórtice de cualesquiera otras partículas así agitadas; y consiguientemente, cuanto más lento sea su movimiento, menor será su resistencia. Y dado que hay un vasto número de estas partículas que giran dispuestas unas sobre otras y cada una de ellas con su gravedad peculiar, se seguirá necesariamente que las de más abajo (que para mantener su vórtice han de resistir una presión tan grande) han de encontrar una considerable dificultad para expandirse como lo habrían de hacer, por otro lado, si no existiese ninguna de esas partículas agitadas que las rodean y se interponen en su camino; y que eliminadas éstas por algún medio o girando ellas mismas más rápida y fuertemente gracias a un movimiento más rápido de las partículas de sus vehículos, el primer y segundo elemento (que es según esa hipótesis un efecto del calor), comenzarán ahora a expandirse manteniendo un vórtice mayor que antes. Ahora bien, para realizar lo que acabo de prometer, trataré de dar una causa posible, si no probable, de los fenómenos objetados. Y, primero, por lo que respecta a la vejiga de carpa, donde el aire se rarifica (dice el autor) 1000 veces, esto se explicará fácilmente suponiendo esas escasas partículas de aire que (mientras soportan la presión de toda la atmósfera que descansan sobre ellas) se ocultan invisibles dentro de la vejiga (no siendo cada una de ellas capaz de mantener más que un vórtice diminuto), para liberarse de la presión del aire una vez que descienda el mercurio en el experimento de Torricelli, y prosiguiendo igual su movimiento (por razón de que el paso de sus vehículos no se ve en absoluto o muy poco impedido sea por el vidrio sea por la vejiga), al tener sus partes espacio para expandirse, se desplegarán por extensiones tales que quizá formen un vórtice 1000 veces mayor en volumen que aquél que justo antes no podían exceder. De ahí que las partículas de aire (siendo tan gruesas que no pueden atravesar fácilmente los poros de la vejiga) hayan necesariamente de empujar hacia afuera los costados de la vejiga hasta la máxima extensión, sirviendo para llenar la campana en el experimento magdebúrgico
[82]. Ahora bien, considerando que estas partículas se reducirán en virtud de la misma presión del aire al mismo estado en que se hallaban al comienzo, esto es, a verse apiñadas en muy poco espacio, manteniendo un vórtice muy pequeño, la entrada del aire en el experimento dé Torricelli reduce el aire de la vejiga a su primitiva imperceptibilidad, de la misma manera que la entrada de agua en el experimento de
Magdeburgo [83] reduce esa campana llena de aire rarificado al tamaño de una avellana. Ahora bien, el agua en este último experimento entra con gran impetuosidad, pues está impulsada por toda la presión de la atmósfera y se encuentra tan sólo con la resistencia de la pequeña fuerza de un aire tan rarificado.
Por lo que respecta a la objeción del autor contra ese modo de rarificación, tomada de los fenómenos de la pólvora, trataré de responder a ella mostrando que pueden explicarse mediante una hipótesis cartesiana. En efecto, suponiendo que esas partes terrestres de la pólvora se hallen primero en reposo, viéndose luego agitadas por el movimiento rápido de su primer elemento
[84], se dará la suficiente diferencia entre el primero y el último estado por lo que atañe a la extensión. Y si suponemos que la particular constitución de la pólvora (debida en parte a las formas específicas de las partículas de sus ingredientes, salitre, azufre y carbón, y en parte a su proporcionada, mezcla) es tal que ceda fácilmente al movimiento de su
materia subtilis tan pronto como se le permita una entrada por la conflagración de una pequeña parte de ella, entonces la expansión se producirá con la suficiente rapidez.
Así pues, supongamos que en una habitación cerrada tenemos un barril de pólvora a algunos granos de la cual supondremos que se íes aplica un fuego actual mediante el que (siendo cual es la textura de la pólvora) dichos granos se incendian repentinamente; esto es, muchos millones de partes que anteriormente permanecían quietas y en reposo, estallan como si dijéramos por la acción de los carbones ardientes, adoptando una posición adecuada para ser agitadas por el movimiento rápido de la
materia subtilis que tan pronto como se colocan en tal posición las agita y hace girar suficientemente. De ahí se sigue una vasta expansión de esa parte de la pólvora así incendiada, pues cada una de sus partes, viéndose así aceleradas y giradas, expelen y expulsan con gran violencia a todas las partículas contiguas, de modo que cada una de ellas ocupa ahora 1000 veces más campo de maniobra (si se me permite hablar así) que el que antes convenía a su condición. Consiguientemente, las que están más hacia afuera abandonan directamente todas ellas la parcela o lugar en el que permanecían en reposo, viéndose apremiadas por la repentina expansión de las partículas que se hallan contiguas a ellas por la parte interior, de modo que todo grano o porción de pólvora con el que al acaso se encuentren antes de perder su movimiento será dispersado, comunicándole tal movimiento que lo toman apto para recibir la acción de la
materia subtilis. La cual materia sutil, estando presente en todas partes y no siendo nada lenta en la realización de sus operaciones, inmediatamente los agita como a los anteriores, de modo que en un tris las partículas de todo el barril de pólvora se hallan de tal modo desordenadas, precisando precipitarse con tan gran ímpetu hacia todas partes por el movimiento de la
materia subtilis, que destrozan no ya su ligera prisión de madera, desplazando las partículas más ligeras del aire ambiente, sino también inmensas vigas, vastas masas acumuladas de las más compactas estructuras de piedra, e incluso sacuden la propia tierra o cualquier cosa que se cruce en su camino cuya textura sea tan firme como para no dejar a las partículas paso libre a través de sus poros. Entendido esto, no veo, primero, qué significan los tres argumentos que aduce el autor para probar su objeción, pues antes de que explote la pólvora no hay en la habitación más corpúsculos que después, ni hay más materia o substancia antes de que cedan las paredes de la habitación y dejen sitio a los cuerpos fluidos externos, siendo éste el único cambio: que los
globuli secundi elementi (como los llama) son expulsados fuera de la habitación y la
materia primi elementi ocupa su sitio. Tampoco veo, en segundo lugar, qué poderosa razón tiene para su gran conclusión.
Haec abunde demonstrant, rarefactionem per hujusmodi corpuscula nullatenus posse explicari. [85] Habiendo examinado así los primeros argumentos del autor de que la rarefacción no se puede producir de otro modo que del suyo, hallaremos que es en gran medida del mismo jaez este otro que aduce para establecer su propia hipótesis.

La rota aristotélica
Pues, en primer lugar, por lo que respecta a que su modo de concebir la rarefacción no entraña contradicción, no sé qué otra cosa va a ser sino una contradicción afirmar que un cuerpo está real y totalmente en este lugar y al mismo tiempo que está real y totalmente en otro; es decir, que está y no está en este lugar. Luego, que algunos doctos escolásticos así lo han creído; a lo que respondo que personas más doctas han pensado de otro modo. Y finalmente que hay muy palmarios ejemplos de similar naturaleza que se pueden encontrar en otras cosas, de los que sólo aporta uno, a saber, el de la
Rota Aristotelica [86] que, tras un examen, hallaremos que hace tan poco al caso como cualquier otro.
Capítulo 2
La química mecanicista
Introducción
Carlos Solís
Suele considerarse a Boyle como el «padre» de la química, con toda la vaguedad que estas declaraciones conllevan. También podría tildársele de «parricida». Juicios tan contrarios pueden tener ambos una cierta justificación según atendamos a sus doctrinas o a lo que en la práctica hacía.
La química moderna se asienta sobre el reconocimiento de diferentes especies de cuerpos elementales (definibles mediante operaciones de laboratorio) que se asocian y disocian según leyes cuantitativas. Ahora bien, el atomismo mecanicista del siglo XVII no contribuyó en absoluto, sino todo lo contrario, a promover este marco teórico identificado con la revolución de Lavoisier. La filosofía mecanicista en general, y la de Boyle en particular, representaba la negación del nivel químico, que quedaba reducido a procesos puramente físico-mecánicos subyacentes.
En realidad, el objetivo de Boyle coincide con el de los químicos aristotélicos y paracelsianos a los que critica, cual es el de explicar las causas de las cualidades
[87]. La novedad de Boyle es que trata de hacerlo eliminando las formas substanciales, los principios paracelsianos y otras quimeras ocultas (aunque específicamente químicas) en favor de los principios claros y diáfanos de la filosofía mecánico corpuscular: materia y movimiento.
En la medida en que este programa se acepta, se elimina la química, reduciéndola a una parte de la física o «filosofía natural». De este modo, Boyle consigue conferir a los estudios químicos la respetabilidad que los virtuosi negaban a un campo de estudio en manos de fanáticos radicales, obscuros e impresentables; pero lo hace a costa de arrebatarle su especificidad.
Como veremos, la concepción de los elementos y los compuestos derivada de esta química-física implicaba negar la existencia de familias naturales de corpúsculos permanentes a través de las combinaciones y que serían la base del análisis y síntesis químicos. Esta temprana reducción con eliminación del nivel químico al físico resultó estéril, de manera que la influencia de Boyle y sus seguidores, como Newton, significó si no un retraso, sí una desviación respecto a la revolución química moderna. Las líneas que llevaron a tal revolución se desarrollaron al margen del atomismo dinámico reduccionista de Boyle. Este atomismo reduccionista poseía un origen epicureísta según el cual el mundo está hecho a base de trozos de una materia uniforme cuyas variedades se explican por los diversos movimientos de que se halla afectada. El corpuscularismo que produce frutos en la química se encuentra desconectado de este mecanicismo de materia y movimiento, procediendo de un corpuscularismo de corte herónico o galénico (presente en la alquimia medieval, anteriormente al renacimiento del atomismo epicureísta) que no hace ascos a la asociación con doctrinas aristotélicas acerca de los elementos. De este modo no se duda en atribuir a las partículas cualidades específicamente químicas, materializando los principios peripatéticos y «químicos». Cuando Boyle se inicia en la química, estas doctrinas estaban siendo propuestas en las Disputationes (1642) de Joachim Jungius, no menos que en la obra de Daniel Sennert y la de Etienne de Clave. Fueron estos los que, más acordes con los preceptos baconianos, clasificaron las substancias y tabularon sus propiedades y preferencias asociativas a fin de permitir la cosecha de Lavoisier. Sólo después, mucho después, de que la química fuese una teoría bien desarrollada pudo tener sentido preguntarse por los posibles fundamentos físicos de las propiedades químicas de los elementos y de sus valores de asociación. Hacerlo antes, iniciar un programa de reducción física eliminadora de propiedades y fenómenos químicos antes de conocerlos, significó sencillamente un falso comienzo.
Cuando Boyle inició sus estudios químicos en su casa de Stalbridge, los conocimientos químicos se hallaban dispersos en diversas partes. En primer lugar, existía una gran cantidad de informaciones prácticas más que teóricas, recogidas en diversas tradiciones artesanales; especialmente en las artes relacionadas con el fuego (el agente de análisis fundamental) y sobre todo en la artesanía espagírica, como la metalurgia alemana existente desde el siglo XV. Allí se acumulaban importantes conocimientos ajenos al debate culto. En segundo lugar, el estudio de la estructura de la materia se dividía entre la tradición alquímica peripatética y la iatroquímica paracelsiana. La primera de ellas, basada en los cuatro elementos clásicos, agua, aire, tierra y fuego, había abandonado implícitamente la concepción aristotélica de la combinación como algo uniforme
[88] en favor de unos corpúsculos que subsisten independientemente en los compuestos. La segunda se basaba en los tres principios paracelsianos (sal, azufre y mercurio), poseyendo en la práctica un carácter similar a la anterior. En tercer lugar, estaba la cosmología mecanicista inducida por el epicureismo, presente no sólo en los atomistas, sino también en Descartes. En este sentido, tanto los plenistas cartesianos como los atomistas que aceptaban el vacío constituían variedades de la misma especie
[89]. Todo buen mecanicista considera oculta y obscurantista cualquier doctrina química que respete el carácter último de elementos y propiedades químicas, proponiéndose reducir esas apariencias secundarias a la esencial operación mecánica de corpúsculos físicos de los que lo único que se puede decir es que tienen forma, tamaño y movimiento. El objetivo de Boyle es destruir aquellas doctrinas genuinamente químicas de la materia en favor de explicaciones mecánicas de este tipo. Para ello atacará las teorías de los elementos o principios químicos y el análisis por el fuego que presuntamente los exhibe, a base de experimentos dirigidos e inspirados por la filosofía mecánico-corpuscular.
Las doctrinas «químicas» de mediados del siglo XVIII recurrían a un número pequeño de principios hipostáticos (generalmente 3 ó 4), todos los cuales entran en la composición de todos los cuerpos naturales en diversas proporciones; esto es, todos los cuerpos naturales son cuerpos mixtos compuestos por todos esos elementos (más bien teóricos que empíricos) en diversas proporciones. La infinita variedad de esas proporciones da cuenta de la desconcertante diversidad de substancias existentes, cuya organización en clases se ve mitigada además por las impurezas y el desconocimiento de la verdadera composición. El análisis químico se realiza básicamente por medio del fuego, si bien éste no separa realmente los principios puros, sino otros cuerpos mixtos que revelan el predominio de tal o cual principio, como pueda ser un aceite (predominio del fuego), una flema (predominio del agua), etc.
El carácter subsidiario de la iatroquímica al servicio de la medicina, unido al descrédito del naturalismo renacentista cualitativo y metafísico, hacían de la química algo muy poco presentable en los círculos mecánicos, hasta el punto de que Descartes apenas se ocupa de ella. En Inglaterra, aunque formaba parte del conglomerado baconiano, pertenecía a un grupo propio. Por un lado estaban las ciencias y artes mecánicas clásicas y prestigiosas ligadas a la geometría; eran las ciencias y técnicas de los navegantes y comerciantes londinenses ligados al Gresham College, entonces en pleno ascenso. Pero por otro lado estaba la vía química de los artesanos del fuego, de los radicales y reformistas religiosos, unida a una ideología revulsiva, obscura y mal vista, alejada del Gresham y de Oxford. Tanto es así, que Boyle tiene que comenzar justificando sus estudios químicos ante los de su círculo en el Prefacio a
Algunos especímenes de un intento de tornar los experimentos químicos útiles para ilustrar las nociones de la Filosofía Corpuscular [90]. El argumento fundamental no es tanto la utilidad y beneficio en medicina y otros oficios, cuanto su contribución al establecimiento de la filosofía especulativa, al conocimiento de la naturaleza; esto es, a la filosofía mecánico-corpuscular. En una palabra, lo que hace a la química algo libre de toda sospecha es declararla un capítulo de lo que llamaríamos física, de la filosofía natural. En efecto, aunque Boyle hizo la mayor parte de su trabajo en el campo de lo que hoy llamaríamos química, tanto él mismo como sus contemporáneos lo consideraban como un físico o filosofo natural. Al final de su vida, hacia el verano de 1689, decía: «He de confesaros, pues, que cuando, entre otros estudios, me apliqué al cultivo de la filosofía natural, pronto me di cuenta de que cierta comprensión de las operaciones químicas, aunque no absolutamente necesaria, era con todo altamente conducente al conocimiento de la naturaleza, especialmente a la indagación de varios de sus más recónditos misterios»
[91]. Asimismo, su editor P. Shaw consideraba que sus trabajos caían más bajo el título de Pneumática y Física que bajo el de Química, ya que sus intereses residían en el descubrimiento y explicación de las propiedades de los cuerpos
[92]. En resumidas cuentas, si Boyle se interesó por los estudios químicos, ello se debía a intereses físicos; se debía a que la química era la calve natural para conocer la estructura microfísica del mundo. Si perdió el tiempo escribiendo
El químico escéptico fue por el interés que esas investigaciones tenían para la Filosofía Natural: «Consideré que escasamente perdería el tiempo que empleaba en los estudios químicos si lo dedicaba en parte al examen de la doctrina sobre los principios de los cuerpos naturales. Por esta razón, en el año 1661 di a luz mi
El químico escéptico para familiarizar a los espíritus inquisitivos con mis dudas, induciéndolos a una más concienzuda disquisición de un tema importante tanto para la filosofía natural como para la física».
[93] Fontenelle señala muy justamente la diferencia entre el trabajo del químico y el del físico
[94]: mientras que el químico reduce los cuerpos a principios
palpables (sales, vitriolos, etc.) mediante
operaciones de laboratorio, el físico reduce los cuerpos a entidades
teóricas (átomos, texturas y movimientos microscópicos) mediante
especulaciones. Este último es el caso de Boyle. Dicho en una palabra, para Boyle la química no es más que la física del reino microscópico, o la llave para ese dominio, pues es a partir de las cualidades fenoménicas de la química como se remonta a sus orígenes inobservables de naturaleza microfísica. Como sus enemigos peripatéticos, su objetivo es explicar las causas de las cualidades; pero mientras que los atomistas cualitativos y estáticos lo hacen en términos de la naturaleza química de las partículas componentes últimas (los elementos), Boyle lo hace por recurso al atomismo dinámico epicureísta para el que no hay más que el movimientos y disposición espacial de partículas sin cualidades, sin formas substanciales; mientras que para los químicos corpuscularistas los átomos poseen cualidades y formas substanciales, para los físicos corpusculares los átomos son neutros y no poseen más que propiedades geométricas y movimiento. En el fondo, y a pesar de su gran número de experimentos y investigaciones químicas, a Boyle no le interesan tanto los fenómenos y las leyes de la química cuanto la postulación imaginaria de mecanismos que produzcan las propiedades observables; no le interesa tanto construir teorías químicas cuanto eliminar la posibilidad de formularlas, mostrando que cada problema a explicar, cada propiedad química, pertenece en realidad al dominio de la filosofía mecánica. En este sentido, Boyle no es en absoluto el padre de la Química.
Prueba de esta eliminación de la química es la concepción que tiene de los elementos. Marie Boas ha sido la primera en denunciar
[95] el frecuente mito según el cual Boyle sería el formulador del moderno concepto de elemento. En realidad, lo que hace es explicitar el viejo concepto «químico» para rechazarlo a continuación: «Para evitar errores, he de advertir que entiendo aquí por elementos lo mismo que entienden por sus principios los químicos que se expresan con mayor claridad, ciertos cuerpos primitivos y simples o perfectamente sin mezcla que, al no estar hechos de cualesquiera otros cuerpos o unos de otros, son los ingredientes de los que se componen inmediatamente todos los cuerpos denominados perfectamente mixtos, y en los que últimamente se resuelven.
«Ahora bien, lo que ahora pongo en tela de juicio es que haya tales cuerpos que se encuentren constantemente en todos y cada uno de aquellos que se consideran cuerpos compuestos de elementos».[96]
La razón de ello debe encontrarse en su concepción filosófica general, como se verá en la tercera parte. Siendo las cualidades secundarias reductibles a materia y movimiento, a esas disposiciones geométricas que constituyen las verdaderas y genuinas u originales cualidades primarias, no pueden existir familias naturales de substancias; siendo la forma, el tamaño y el movimiento de los átomos (así como la configuración espacial de sus conglomerados y el tamaño de los poros interpuestos entre ellos) algo sujeto a una variación continua en su magnitud, habrá infinitas variedades posibles de substancias con infinitas gradaciones intermedias. Las cualidades primarias de la materia, frente a las formas substanciales peripatéticas, no forman familias. Los elementos o familias naturales de substancias son absurdos para Boyle: «los hombres distinguieron especies de cuerpos por algo así como un acuerdo tácito», mas esas distinciones son «más arbitrarias de lo que se cree», siendo las especies una ilusión creada por la existencia de un nombre, pudiendo ser dos especímenes de distinto género más semejantes que otros dos del mismo: ¿por qué el agua y el hielo, se pregunta, son una misma especie de cuerpo y el huevo y el pollo dos? Toda clasificación de los cuerpos es arbitraría y no natural
[97]. Un inmediato corolario de esta concepción continuista y física de las substancias es la creencia en las transmutaciones de los cuerpos. (En 1689 consigue la abolición del estatuto de Enrique IV contra los «multiplicadores de oro».) Las transmutaciones de los alquimistas, reducidas al género de los metales, palidecen ante la posibilidad teórica de transmutaciones continuas de cualquier cosa en cualquier otra por alteración de la estructura y movimiento de la materia, en virtud de medios puramente físicos: «Tampoco veo por qué no podamos concebir que ella (la naturaleza) sea capaz de producir los cuerpos supuestamente mixtos unos a partir de otros,
alterando y disponiendo de diversos modos sus partes diminutas, sin resolver la materia en esas pretendidas substancias simples u homogéneas. Ni veo, ya puestos, por qué habría de tenerse por absurdo pensar que cuando un cuerpo se resuelve mediante el fuego en sus ingredientes supuestamente simples, esas substancias no son elementos verdaderos y propios, sino que más bien han sido producidos accidentalmente por así decir por obra del fuego, que al disipar un cuerpo en partes diminutas (...) los hace asociarse de manera distinta que antes (...)»
[98].
Así pues, no existen elementos ni compuestos ni familias de substancias, por lo que tampoco pueden existir el análisis y la síntesis químicas. Estas consecuencias teóricas tan radicales se ven con todo mitigadas en la práctica, cuya lógica interna lleva a que determinadas concreciones secundarias funcionen de hecho casi siempre como bloques estables en el análisis y composición químicas, como puedan ser el oro, el mercurio, el agua, el nitro o el tártaro
[99].
Así es como de hecho procede la química en el siglo dieciocho, en gran medida siguiendo el ejemplo experimental y crítico de Boyle, por más que ello estuviese reñido con su filosofía mecanicista y continuista de los procesos químicos. Asimismo, el desarrollo por su parte de técnicas de identificación de clases de cuerpos (ácidos y álcalis, por ejemplo) nos lo muestran operando en la práctica de maneja más baconiana y «química» de lo que su marco conceptual sancionaba, utilizando clases de cuerpos definidos por conjuntos de cualidades observables. La gran cantidad de testes químicos desarrollados por Boyle (disolver el coral, hervir con sal de tártaro, cambiar el color del jarabe de violetas o de la tintura del Brasil, precipitación o disolución de metales, etc., etc.) muestra que la práctica de la química tiene razones y exigencias que se imponen por encima de los dogmas teóricos. Pues bien, en este sentido práctico Boyle, si no el padre de la química, sí es al menos el de la experimentación sistemática y precisa en los estudios químicos.
El influjo de Boyle a través de Locke y Newton llevó a la teoría química por un camino estéril distinto del que condujo a la revolución de Lavoisier, camino que fue andado por aquellos atomistas estáticos que asociaron los principios químicos con corpúsculos, formando así los bloques fijos de la composición y descomposición
[100]. Es tos químicos, alejándose por igual de la innecesaria multiplicación de antes y de la excesiva parsimonia mecanicista de un solo tipo de materia, se dedicaron a identificar como elementos aquellas substancias inanalizables e indestructibles mediante manipulación en el laboratorio químico.
El primer escrito seleccionado es un manuscrito redactado muy probablemente entre 1651 y 1657 (quizá antes de 1654). No figura en The Works, habiendo sido publicado por Marie Boas en «An early Versión of Boyle’s Sceptical Chymist», Isis, Vol. 45. (1945): 158-68. Constituye una versión substancialmente idéntica, aunque infinitamente menos premiosa, de las cuatro primeras partes de El químico escéptico, 1661, diferenciándose tan sólo por ser mucho más empirista y escéptica, sin adornarse aún con la aceptación y defensa de la filosofía corpuscular. Hemos impuesto una división en párrafos y hemos corregido sin señalarlo los abundantes errores ortográficos del copista.
El segundo escrito ilustra el giro dado por los estudios de química de Boyle al adoptar el programa de la filosofía corpuscular. Se trata del apartado 6, «De las imperfecciones de la doctrina del químico sobre las cualidades», de los Experimentos, notas, etc. sobre el origen o producción mecánica de diversas cualidades particulares; entre lo que se inserta un discurso de la imperfección de la doctrina del químico sobre las cualidades, junto con algunas reflexiones acerca de la hipótesis de álcali y ácido (1675); Works, Vol. IV, págs. 273, 277-284. Hemos omitido los capítulos I-IV porque contienen básicamente las mismas críticas que se exponen en el escrito anterior. El resto contiene una crítica claramente inspirada en la filosofía mecánica, capaz de desentrañar más profundamente el origen de las cualidades en mecanismos corpusculares. Así, por ejemplo, se rechaza como superficial toda explicación de una cualidad basada en la presencia de una substancia que la provoque, pues el hecho de que se dé en dicha substancia exige a su vez una explicación, con lo que en el mejor de los casos se trata de una explicación que no va a las fuentes. La intención, evidentemente, es atacar las explicaciones mediante elementos en favor de la desarrollada en términos de la textura atómica. Especial relieve presentan, por tanto, los cambios de cualidades producidos sin la adición de substancias, pues entonces el cambio ha de deberse exclusivamente a la reorganización atómica (física) de los corpúsculos.
El tercer escrito seleccionado ejemplifica en concreto la reducción mecanicista de una cualidad química tan importante como la fijeza (opuesta a la volatilidad). Procede del apartado 9 de los Experimentos, notas, etc. sobre el origen o producción mecánica de diversas cualidades particulares, etc., titulado «Notas experimentales sobre la producción u origen mecánico de la Fijeza»; Works, IV: 307-311. Tras el plan general de reducción esbozado en el escrito anterior, observamos aquí cómo este tipo de explicaciones mecánicas profundas son más programáticas que efectivas; más imaginadas que explicativas. Su generalidad y su inevitable vaguedad no suele llevar al desarrollo de conceptos o hipótesis independientemente contrastables, al existir un bache excesivamente grande entre el mundo teórico y el de los fenómenos. Sin embargo, constituyen esquemas heurísticos que ayudan a sugerir experimentos y a sistematizar observaciones y experiencias más bien dispersas.
§ 4. Reflexiones sobre los experimentos vulgarmente propuestos para probar los 4 elementos peripatéticos o los 3 principios químicos de los cuerpos mixtos[101]Los cuatro elementos aristotélicos
El experimento comúnmente propuesto en favor de la opinión ordinaria de los 4 elementos es que, si se quema una rama verde en un fuego al aire libre, se desprenderá primero un humo, que indica aire, y luego hervirá en los extremos un cierto líquido, que se supone que es agua; el fuego se pone de manifiesto por su propia luz, mientras que la parte incombustible que queda al final no es otra cosa que el elemento tierra.
Para examinar este experimento, sentaré de entrada que entiendo aquí por elementos esos cuerpos simples de los que se componen los mixtos y en los que se resuelven en última instancia
[102]. Afirmó, pues, que no se pueden extraer 4 elementos de algunos cuerpos, como ocurre con el oro, del que hasta ahora no se ha obtenido ni uno siguiera de ellos. Lo mismo se puede decir de la plata, del talco calcinado
[103] y de otros cuerpos fijos, cuya reducción a 4 substancias heterogéneas constituye una tarea que hasta ahora ha demostrado ser demasiado difícil para Vulcano. Otros cuerpos hay que pueden reducirse a más de cuatro, como la sangre humana y la de otros animales que cuando se analiza suministra flema, espíritu, aceite, sal y tierra
[104], como atestiguan nuestros experimentos de la destilación de la sangre humana, así como del asta de ciervo
[105]. Por lo que respecta a la rama verde, el fuego no la descompone en elementos, sino en cuerpos mixtos disfrazados bajo otras formas: la llama no parecer ser sino la parte sulfurosa del cuerpo encendido; el agua que hierve en los extremos dista de ser agua elemental, conteniendo gran parte de la sal y virtud del compuesto, razón por la cual los médicos han descubierto que resulta efectivo contra diferentes dolencias el jugo ebullente de diversas plantas, en el que el agua simple no se encuentra en absoluto. El humo dista tanto de ser aire, siendo por el contrario un cuerpo mixto, que por destilación da un aceite que deja una tierra tras de sí; que abunda asimismo en sal se puede ver por su aptitud para fertilizar el suelo y por su amargor, así como para hacer llorar a los ojos (cosa que no hace el humo del agua común), y más allá de toda disputa, por la sal pura que fácilmente se puede extraer de él, de la que he preparado últimamente cierta cantidad, extremadamente blanca, volátil y penetrante.
Habría que considerar además qué tipo de análisis por fuego ha de determinar el número de elementos, pues el guayacán
[106] (v. g.) quemado en un fuego descubierto y en una chimenea se reduce a cenizas y hollín, mientras que esa misma madera destilada en una retorta se despliega en aceite, espíritu, vinagre, agua y carbón; el último de los cuales, para reducirse a cenizas, precisa una calcinación mayor de la que es posible en un recipiente reducido. He observado con placer en la destilación de algunas maderas, como el boj, que si bien mientras permanecían en la retorta se mantenían negras como el carbón, tan pronto como se sacaban de la retorta al aire libre, se consumían inmediatamente en cenizas de un blanco puro sin la asistencia de una nueva calcinación. Así, el azufre quemado al aire libre produce un humo penetrante que en una campana de vidrio se condensa en ese líquido ácido llamado aceite de azufre
per campanam, mientras que urgido por el fuego en recipientes de sublimar, asciende en flores secas
[107]. Y, aparte de estas flores, hay otros diversos cuerpos, el mercurio, la sal volátil de orina fermentada, las flores de benzoina
[108] y de sal de amoniaco, en los que el calor en recipientes reducidos no produce ninguna separación de heterogeneidades, sino tan sólo una fragmentación de las partes, siendo aquéllas que suben primero homogéneas con las otras, aunque divididas en partículas menores; de ahí que las sublimaciones se hayan denominado el majador de los químicos. Y así como en el análisis de los cuerpos mixtos hay que tener en cuenta si el fuego actúa sobre ellos hallándose al aire libre o encerrados en estrechos recipientes, del mismo modo tiene no poca importancia el grado del fuego con el que se practica el análisis. En efecto, un
balneum [109] templado no se separará (v. g.) de la sangre sin fermentar más que flema y
caput mortuum [110] ; la última de las cuales (que he obtenido a veces dura, quebradiza y de diversos colores, transparente casi como un caparazón de tortuga), bajo la presión de un buen fuego en una retorta, produce un espíritu, un aceite o dos y una sal volátil, a parte de una
caput mortuum. Asimismo, el plomo con un grado de fuego se tomará en minio y, con otro, se vitrificará, no sufriendo con ninguno de ellos separación alguna de elementos. Y si se le permite a un aristotélico hacer que las cenizas (que él confunde con tierra) pasen por un elemento, ¿por qué no habría de poder un químico, por el mismo principio, defender que el vidrio es uno de los elementos de muchos cuerpos, dado que tan sólo con un grado más de calor sus cenizas se pueden vitrificar?
Los tres elementos de Paracelso
Por lo que respecta a los filósofos por el fuego
[111], quienes sirviéndose del fuego demuestran que los ingredientes adecuados de los cuerpos
- mixtos son sus tres principios hipostáticos, sal, azufre y mercurio, o bien un principio mercurial o espirituoso, uno sulfuroso o urinoso y otro salino: 1. no es totalmente incuestionable que si se separan tres principios de los cuerpos sea porque preexistían en ellos, pues tal vez cuando el fuego separa las partes de los cuerpos, los átomos ígneos
[112] se asocien de diversos modos con las partículas desmembradas del cuerpo disuelto o quizá también produzca diversas combinaciones entre sí de los principios liberados del mismo cuerpo, de manera que de esa unión o al menos cohesión puedan resultar mixtos de un tipo nuevo. En efecto, vemos claramente que según que el cuerpo a analizar se exponga a una mayor o menor violencia del fuego, participa más o menos de sus átomos, cuya impresión, cuando resulta prominente, se denomina por consiguiente eμπύρeνμα
[113]. Es algo que en cierta ocasión ensayé a propósito con aceite de anís que, preparado con agua en un alambique, poseía el vigoroso y genuino carácter del producto, si bien habiendo destilado esas semillas en una de las retortas abiertas de Glauber, descrita en su segundo horno filosófico
[114], produjo un aceite tan empireumático que quienes lo olieron no podían conjeturar de qué substancia se había extraído. No se entendería fácilmente (sin conceder que el fuego no sólo separa, sino que altera los ingredientes de los mixtos) cómo es que la miel y el azúcar que son tan dulces y agradables al gusto, habrían de dar por destilación (como yo he experimentado) espíritus de características tan ásperas, penetrantes y desagradables como los que producen; y el aceite, que es tan suave y untuoso como para proteger a otros cuerpos de la corrosión, sin embargo por destilación produce gran cantidad de un líquido bastante corrosivo. Por más que para probar que el fuego es el verdadero analizador de los cuerpos se aduzca que constituye la definición misma del calor dada por Aristóteles (: congregar lo homogéneo y separar lo heterogéneo), yo respondo que este efecto dista de ser esencial al calor. En efecto, considero que la genuina propiedad del calor es disociar las partes de los cuerpos
[115], subdividiéndolas en pequeñas partículas sin reparar en que sean homogéneas o heterogéneas, tal y como se muestra al hervir agua, mercurio o cualquier otro cuerpo cuyas partes no sean desemejantes
[116], en los que lo único que puede hacer el fuego es dividir al cuerpo en numerosísimas partes que son de la misma naturaleza unas respecto a otras, así como respecto a su todo, tal y como pone de manifiesto su reducción por condensación. Incluso cuanto más parece congregar el fuego lo homogéneo y disgregar lo heterogéneo, no produce dicho efecto más que por accidente, pues lo único que hace el fuego es disolver el cemento o contextura que mantiene juntas las partes heterogéneas de los cuerpos bajo una forma común. Tras dicha disolución, las partículas componentes del mixto, soltándose y liberándose, se asocian cada una con sus semejantes de manera natural y no por operación alguna del fuego, o más bien ocupan aquellos lugares que les asignan sus diversos grados de gravedad y ligereza, fijeza o volatilidad (sea natural o adventicia por los átomos del fuego). Así, en la destilación (v. g.) de la sangre humana, el fuego empieza primero a disolver el nexo del cuerpo y luego, siendo el agua lo más volátil y fácil de extraer, es elevada en primer lugar por los átomos ígneos hasta que, abandonada por ellos, su peso la hunde en la campana. Entretanto, las otras partes del compuesto permanecen sin separarse, exigiendo un grado de calor más fuerte la separación de sus elementos más fijos, por lo que el fuego ha de incrementarse, arrastrando consigo la sal volátil y el espíritu, ya que aunque sean distintos principios y de diversa consistencia, con todo poseen una volatilidad casi igual. Tras ellos, como menos fugitivo, viene el aceite, dejando detrás la tierra y el álcali que, siendo de igual fijeza, no los separa el fuego a pesar de todas las definiciones de las escuelas. Si en una retorta de cerámica o hierro al rojo se vierte la materia a destilar, veréis que el fuego predominante eleva todos los elementos volátiles mezclados en un humo, para ocupar luego sus lugares en la campana según el grado de su volatilidad, adhiriéndose la sal en su mayor parte a las paredes y a la parte superior y pegándose la flema también allí en goterones. El aceite y el espíritu se situarán debajo o encima uno de otro según que su peso los haga hundirse o sobrenadar. En efecto, se puede observar que por más que el aceite o líquido de azufre sea uno de los elementos separables mediante este análisis ígneo, con todo el calor que une accidentalmente las partículas de otros principios volátiles no realiza siempre la misma operación, habiendo varios cuerpos que suministran 2 aceites, uno de los cuales se hunde hasta el fondo de ese espíritu sobre el que el otro sobrenada, como puedo mostrar en algunos aceites de la misma sangre de ciervo; es más, puedo mostraros dos aceites de la misma sangre humana que no sólo difieren extremadamente en color, sino que nadan uno sobre el otro sin mezcla y, si se confunden por agitación, se divorciarán de nuevo por sí mismos.
Mas, a decir verdad, no disponemos de suficientes experimentos para poder definir las operaciones del calor, pues aunque hayamos podido mostrar que su efecto adecuado no es dividir los cuerpos en sus heterogeneidades elementales, a la hora de pasar a la parte positiva de la doctrina sobre los efectos del calor, hallaremos difícil determinarlos distintamente, siendo las operaciones del fuego muy diversas según los distintos grados de su intensidad y modo de aplicación, y según las diversas condiciones del cuerpo o cuerpos sobre los que opera. En efecto, en ocasiones parece dividir tan sólo el cuerpo en partículas menores sin separación de principios elementales, y eso o bien transitoriamente tan sólo, esto es, mientras que los átomos ígneos están de hecho presentes, impidiendo con sus ágiles movimientos la unión de las partículas componentes, tal y como vemos en la fusión de plata y oro que, abandonados por el calor que mantiene sus partes separadas, retornan a su compactibilidad primitiva; o bien de modo más duradero, tal y como vemos en el plomo reducido a minio, en el mercurio precipitado
per se [117] en un polvo rojo y en el talco calcinado
per se mediante un fuego fuerte y prolongado, todos los cuales retienen su recientemente adquirida discontinuidad y disfraz aunque los abandone el fuego que así los ha alterado. A veces el fuego separa de los cuerpos heterogeneidades que parecen y se consideran sus ingredientes elementales, como cuando extraemos del asta de ciervo una flema o agua, un espíritu y una sal volátil, un aceite y una aparente tierra insípida. En ocasiones, divide sus partes más fijas y volátiles, por más que ambas disten bastante de ser elementales, como cuando al quemar madera el fuego la reduce a humo y cenizas, si bien estas últimas se componen de tierra y sal y, al condensarse el primero en hollín, muestra contener tanto sal como aceite y espíritu y tierra (y quizá también flema) que, siendo casi igualmente volátiles con ese grado de calor que los obliga a ascender (contribuyendo quizá las partes más volátiles tanto como el impulso del fuego a elevar las más fijas, tal y como vemos en el colcótar
[118] dulcificado, sublimado por la sal de amoniaco mezclada con él), se elevan juntos, aunque se pueden separar luego mediante otros grados de fuego, cuya ordenada gradación permite que se ponga de manifiesto la disparidad de sus volatilidades. Otras veces, el fuego más que separar une los cuerpos de diversa naturaleza, con tal de que sean de una fijeza casi semejante, poseyendo las formas de sus partes una aptitud para la coalición, tal y como observamos en la confección de muchos emplastos, ungüentos, etc. y en la mezcla por fusión de latón y peltre, con la que los artesanos hacen una soldadura de buen uso. Asimismo se observa muy bien en la manufactura del jabón, en la que la sal, agua y aceite o grasa, que sin la intervención del calor no podrían mezclarse, se hierven e incorporan en una masa que posteriormente el calor no dividirán en aquellos cuerpos de cuya unión resultó. A veces, al encontrarse el fuego con cuerpos extremada y casi igualmente fijos, en lugar de producir una separación, realiza una unión tan estricta que él solo es incapaz de disolverla, tal y como vemos cuando una sal alcalizada, el residuo térreo de las cenizas y la arena se tornan por vitrificación en un cuerpo permanente que desafía la mayor violencia del fuego, el cual por más que sea capaz de casar sus partes, no puede divorciarlas. En ocasiones, el fuego templa cuerpos tan diversos como los fijos y volátiles, de tal forma que él mismo no puede luego separarlos, sino tan sólo pulverizarlos, como vemos en las flores de sal de amoniaco
[119], donde la sal marina se encuentra tan unida a las dos sales volátiles predominantes (de jabón y orina) que todas tres, como si fuesen una, se subliman juntas y en los recipientes normalmente usados con ellas su unión parece indisoluble por el fuego (pues puedo mostraros sal de amoníaco que tras la novena sublimación aun mantiene su naturaleza compuesta).
Mas, por otro lado, es muy posible, como me ha enseñado la experiencia, realizar cierta separación de las partes de esa composición fugitiva, y así vemos que el colcótar dulcificado, aunque sea un cuerpo muy fijo, subirá con sal de amoniaco para sublimarse luego con ella (si trabajáis bien), como si ambos no formasen sino un cuerpo. He de añadir que el grado y modo de aplicación del fuego concurre eminentemente a variar sus efectos, como en el jabón, donde el fuego realiza una unión de cuerpos de diversa naturaleza; aunque si exponéis el cuerpo así fabricado a un grado más fuerte de fuego en una retorta, practicareis entonces una separación, aunque no de las substancias unidas, sino de otras más próximas a un carácter elemental, especialmente un aceite de una calidad muy distinta de aquél que se utilizó para fabricar el jabón. De este modo, diversos cuerpos que el calor eleva primero por la sal de amoniaco, uniéndolos con ella por sucesivas sublimaciones (retornando lo que asciende a lo que queda), pueden separarse de nuevo de ese cuerpo más fugitivo, y así hallamos que el antimonio expuesto a un calor moderado expulsará numos que pueden recogerse en flores de aproximadamente casi la misma naturaleza (aunque de una cualidad un tanto más operativa) que el cuerpo del que proceden, mientras que lo que resta puede convertirse con un grado de fuego en un vidrio transparente. Y he visto que mediante otro grado de fuego ese vidrio se convierte en un régulo
[120] que, por lo que sé, era susceptible de vitrificarse de nuevo.
Pero, en siguiente lugar, nunca he podido ver que el fuego dividiese el oro en nada menos que tres heterogeneidades elementales, sal, azufre y mercurio. No quiere esto decir que se ose negar perentoriamente que se pueda extraer del oro un tipo de azufre, dejando el resto del cuerpo privado de su color usual
[121], ni que no se extraiga del oro un mercurio real (habiéndome comunicado Sir K. Digby
[122] que había hecho esto último); mas por lo que atañe a la sal de oro, nunca se me convencerá de que se haya separado nunca
in rerum natura [123], mediante la comunicación de algún testigo fiable. Además, en caso de que silo grase con esos costosos materiales de que hablan, al producirse la extracción de esa sal dorada mediante la utilización de menstruos
[124] corrosivos, o la intervención de otros cuerpos salinos, permanecerá en la duda si la sal emergente es la del propio oro o la de los cuerpos o espíritus salinos empleados para prepararla. También vería con gusto cómo se separan estos 3 principios del tipo más puro de arena virgen, de la
lapis osteocolla [125], de la plata refinada, del mercurio liberado de su azufre adventicio o del talco que, merced a una prolongadísima detención en una reverberación
[126] extrema, no puede más que dividirse en partículas menores (y no en principios constituyentes). Si bien no negaré de manera tajante la posibilidad de analizar estos cuerpos en su
tria prima [127], con todo debo suspender el juicio hasta que me convenza o la experiencia o un testimonio competente. Los procesos de los químicos relativos a las preparaciones analíticas de oro o mercurio dejan a las personas cautas dudando de si las heterogeneidades producidas son o no verdaderamente los principios hipostáticos o tan sólo algunas mezclas de los cuerpos separados con aquéllos empleados para operar sobre ellos, como es evidente en los aparentes y supuestos cristales de plata y en los de mercurio
[128].
Hay luego otros cuerpos que en su resolución dan más de 3 principios. Así, el guayacán, en virtud de una cuidadosa destilación y sin ninguna adición extraña, suministra (además de aceite, sal y espíritu) un vinagre fuerte que muchos otros cuerpos no darán. De las uvas diversamente procesadas se pueden extraer más heterogeneidades que de la mayor parte de los demás cuerpos mixtos, pues las propias uvas, secadas en forma de pasas y destiladas, suministrarán una considerable cantidad de un aceite empireumático y un espíritu del vino. El zumo fermentado de uvas suministrará un
spiritus ardens que si se rectifica
[129] adecuadamente, arderá completamente sin dejar ningún residuo. Ese mismo zumo fermentado, al degradarse en vinagre, produce un ácido y espíritu corrosivo. El mismo zumo preparado se arma con tártaro del que se puede separar nema, espíritu, aceite, sal y tierra, sin contar las substancias que se pueden sacar del propio vino, probablemente diferentes de aquéllas que se separan del tártaro, que es un cuerpo por sí mismo que se parece a pocos de los existentes en el mundo, si es que se asemeja a alguno.
Una vez más, hallándose contenidas la flema y la tierra en la mayor parte de los cuerpos, además de esos 3 elementos hipostáticos, ¿por qué habrían de excluirse del número de los elementos, denominándose éstos así en razón de que constituyen los cuerpos mixtos? Y si el cuerpo mixto no nos resulta inútil, esas partes constituyentes sin las que no serían tal cuerpo mixto no pueden considerarse inútiles para nosotros.
Asimismo, esas substancias heterogéneas que los químicos consideran elementos componentes de los cuerpos distan bastante de tener una simplicidad elemental, pudiendo considerarse como cuerpos mixtos que retienen algo de la naturaleza de aquellas concreciones de que se extrajeron. Así, vemos que el espíritu de tártaro difiere del de asta de ciervo y éste a su vez del espíritu de vinagre. En química es manifiesto no sólo que los
spiritus ardientes de vegetales fermentados difieren unos de otros, sino también que los espíritus de cuerpos sin fermentar manifiestan una gran disparidad, sea a nuestros sentidos, sea en sus operaciones. También las sales, si fuesen todas elementales, diferirían tan poco como las gotas de agua pura y simple. Los químicos y médicos adscriben a las sales fijas de cuerpos calcinados las virtudes de sus concreciones y, por ende, operaciones muy diversas. Así hallamos que el álcali de ajenjo
[130] es muy recomendado en los desarreglos estomacales, el de eufrasia
[131] para la vista débil y el de guayacán (una gran cantidad del cual no produce más que un poco de sal) para las enfermedades venéreas, poseyendo además un poder purgativo, si bien no he tenido aún ocasión de probarlo.
Pero, a fin de mostrar aún más la disparidad de las sales, mencionaré en primer lugar la visible diferencia que se da entre las sales vegetales fijas y las animales volátiles; y añadiré que incluso entre las propias sales volátiles hay una considerable diferencia, tal y como se muestra por las diferentes propiedades de la sal de ámbar, la sal de orina, las sales de cráneo humano (tan alabadas contra la epilepsia) y otras muchas; y esta diversidad es tan discernible al ojo por sus figuras, que la de asta de ciervo se adhiere a la campana en forma casi de un paralelepípedo, y la de la sangre humana (largamente digerida
[132] con espíritu de vino) posee una buena cantidad de granos con a figura de un rombo, y quien compare esa sal volátil de olor ofensivo con la inodora sal fija de tártaro concluirá fácilmente que difieren tanto entre sí como de la simplicidad elemental. Esta disparidad es también prominente en el azufre o aceites químicos extraídos de las cosas, puesto que retienen tanto el olor, sabor y virtudes de los cuerpos de los que se han extraído, que no parecen sino las crasis materiales de sus compuestos. Así, los aceites de canela, clavos, nueces moscadas, etc. no parecen sino ser las partes aromáticas unidas que ennoblecían esos cuerpos, y es cosa conocida que el aceite de canela y el de clavos (lo que he observado también en los aceites de diferentes maderas) se hunde hasta el fondo del agua, mientras que los de nueces moscadas y otros diversos vegetales flotan en ella. El aceite abusivamente denominado espíritu de rosas flota en la superficie del agua en forma de una manteca blanca, cosa que no recuerdo haber observado en ningún otro aceite extraído en un alambique; con todo, existe un procedimiento (que no voy a exponer aquí) mediante el que he visto que sale en forma de otros aceites aromáticos para delicia y admiración de quienes lo contemplan. En el aceite de semillas de anís, que he extraído con y sin fermentación, observé que todo el cuerpo del aceite se espesaba en un lugar frío, adquiriendo la consistencia y apariencia de una mantequilla blanca que sin el menor calor adquiría de nuevo su primitiva liquidez. Asimismo, en el aceite de oliva obtenido en una retorta, he visto esa coagulación espontánea en la campana, y poseo una dosis de él congelada que presenta un olor tan extrañamente penetrante que parece como si fuese a perforar las narices de quienes se le aproximan. De este modo, la diferencia en los aceites destilados de vegetales y animales resulta considerable y obvia. No me considero lo bastante experimentado como para aventurarme a determinar qué disparidad pueda darse entre las sales, azufres y mercurios de los minerales. Mas el azufre de antimonio
[133] que es vehementemente vomitivo y el de vitriolo
[134] me inclinan a pensar que no sólo difieren los azufres minerales de los vegetales, sino que también difieren entre sí, reteniendo gran parte de la naturaleza de sus compuestos. Así, Sir K. Digby me aseguró que había visto varias veces que el mercurio de plomo
[135] (que a pesar de las promesas de los autores hallareis muy difícil de preparar en cantidad considerable) se fijaba en oro perfecto, y habiéndole preguntado yo si cualquier otro mercurio podría o no haberse transformado mediante las mismas operaciones, me aseguró que no, lo que habla a favor de la existencia también de una diferencia en los mercurios metálicos. Añadiré que esos mismos cuerpos que los químicos llaman flema y tierra distan también de la simplicidad elemental. En efecto, vemos que la flema
[136] de vitriolo es un remedio muy efectivo contra las quemaduras; la flema de saturno dícese que posee propiedades muy peculiares
[137], y la flema o espíritu de vino, así como otros diversos líquidos que se ven indiscriminadamente desestimados como flema, están dotados de cualidades que los hacen diferir del agua así como irnos de otros. Mientras que los químicos usan llamar al
caput mortuum de lo que han destilado (una vez extraído por afusión de agua su sal)
térra damnata o tierra, se puede poner en duda que esas tierras sean todas ellas perfectamente similares, y difícilmente se puede dudar de que haya algunas de ellas que permanecen aún sin reducir a una naturaleza elemental. Las cenizas de madera, privadas de la sal, y las cenizas de hueso o asta de ciervo calcinada (que los refinadores utilizan como comprobante, al ser lo que se halla más libre de sal) parecen diversas, y quien compare cualquiera de esas cenizas insípidas con cal viva (y más aún con talco calcinado, aunque esté exquisitamente dulcificado por afusión de agua)
[138] tal vez encuentre razones para considerarlas cosas de naturaleza un tanto diversa. Es evidente en el colcótar que la más exacta calcinación seguida de una exquisita dulcificación no siempre reduce el cuerpo que resta a una tierra elemental, pues una vez que la sal (o vitriolo, si la calcinación ha sido demasiado débil) se ha extraído del colcótar
[139], el residuo no es tierra, sino un cuerpo mixto rico en virtudes médicas (como nos ha enseñado la experiencia) y que Angelus Sala afirma que es en parte reductible a cobre maleable.
De lo que se ha dicho no se puede sino inferir tanto que mediante el análisis común del fuego no se resuelven adecuadamente todos los cuerpos en el mismo número de substancias componentes, como que las heterogeneidades separadas de ellos por el fuego no son lo suficientemente simples para ser sus ingredientes o principios elementales, débase ese carácter compuesto bien a la mezcla de los átomos de fuego con las partículas de los cuerpos separadas por él, bien a que las diversas substancias se combinan tan intrincadamente por la primitiva violencia del fuego que.después, sin una larga digestión o algún otro procedimiento diestro y tedioso (rara vez practicado en el análisis vulgar de los cuerpos), no se pueden separar, como vemos en diversas cosas sublimadas con sal de amoniaco, así como en la sublimación de sales y azogue cuando preparamos
Mercurii dulcís [140] ; o bien a que las propiedades seminales del compuesto se difunden, siendo lo bastante obstinadas como para evitar verse destruidas por la operación del fuego, tal y como vemos que las partículas purgativas de algunos
médiums pasan sin ser destruidas por todas las diversas y elaboradas digestiones del cuerpo de la nodriza, sobreviviendo bastante vigorosamente en la leche para purgar al niño de pecho. Y por más que algunos químicos pretendan que mediante ulteriores purificaciones pueden reducir los ingredientes separados de los cuerpos mixtos a una simplicidad elemental, de tal modo que los aceites (v. g.) extraídos de todos los mixtos se asemejen tan perfectamente unos a otros como las gotas de agua, yo he negarme a creer en sus afirmaciones hasta tanto sus experimentos lo exijan; y entretanto, considero un tanto improbable que puedan separar verdaderamente tantas substancias distintas del oro (por ejemplo) o de la osteocola, cuantas podemos extraer del vino o del vitriolo, así como que el mercurio (por ejemplo) de oro o saturno
[141] sea perfectamente de la misma naturaleza que el de asta de ciervo, y que el azufre de antimonio no sea más que numéricamente distinto de la manteca o aceite de rosas.
Un solo elemento
Mas ahora quizá penséis que deba decir algo de la opinión de Helmont
[142]. Este agudo y audaz artista afirma que todos los cuerpos mixtos derivan de un elemento y que vegetales, animales, marcasitas
[143], piedras, metales, etc. no son materialmente más que simple agua disfrazada bajo estas diversas formas por la virtud formativa de sus semillas.
Que el agua es la materia primitiva y universal es algo que han creído otros, y en
Génesis, I, parecen mencionarse las aguas como causa material de todo cuanto constituye el universo
[144], cuyas partes componentes emergieron ordenadamente, por así decir, del abismo merced a la operación del espíritu divino, del que se dice que ha estado moviéndose a sí mismo, a la manera de las hembras criando, sobre la superficie del agua; la cual, hallándose divinamente impregnada con las semillas de todas las cosas, estaba cualificada por esta incubación productiva para engendrarlas. Mas aunque el relato sea en cierto sentido mucho más antiguo que Helmont, con todo él trata de sostenerlo con argumentos propios, pareciendo ser tres los más dignos de consideración: la reducción última de los cuerpos mixtos a agua insípida, las vicisitudes de los supuestos elementos y la producción de cuerpos perfectamente mixtos a partir de agua simple. En primer lugar, dice, la
sal árculatus de Paracelso o líquido alcahesto
[145] resuelve adecuadamente las plantas, animales y minerales en un líquido o más según sus diversas e internas disparidades de partes (sin
caput mortuum o la destrucción de sus virtudes seminales) y siendo extraído el alcahesto de esos líquidos con el mismo peso y virtud con que los disolvió, los líquidos pueden ser desprovistos totalmente de sus dotes seminales mediante frecuentes cohabitaciones con yeso o alguna otra materia idónea, retomando al fin a su materia primera, agua insípida. Sería temerario decir algo de este argumento sin conocer la preparación y sin poder examinar el modo de operar de esos prodigiosos menstruos, pues si bien por una parte Helmont puede haberse equivocado al tomar por agua elemental algo que no lo era, basándose en que resultaba insípido (ya que yo mismo conozco un menstruo extrañamente disolvente que es insípido), por otra parte no oso negar que se pueda dar con un líquido que supere con mucho todos nuestros menstruos corrosivos. Entretanto, no sin cierta sorpresa, he observado en el análisis de los cuerpos cuán grande proporción de agua entra en la composición de diversos de ellos, cuyo aspecto no hacía esperar nada ni de lejos semejante. Algunas maderas duras y sólidas producen más de agua sola que de todos los demás elementos. La destilación de anguilas, aunque nos proporcionó algo de aceite, espíritu y sal volátil, aparte del
caput mortuum, eran todos éstos tan desproporcionados con respecto al agua que se extraía de ellas (y en la que al principio hervían como en una cazuela) que no parecían haber sido más que flema coagulada; lo que abunda asimismo en las víboras, por más que sean tenidas por muy calientes en su modo de operar y, en un aire conveniente, habrían de sobrevivir algunos días a la pérdida de sus cabezas y corazones, tan vigorosa es su vivacidad. La propia sangre humana, aun cuando se tenga por un líquido espirituoso y elaborado, abunda tanto en flema, que el otro día, de unas 7 1/2 onzas de sangre pura, extrajimos casi 6 onzas de flema antes de que comenzase a subir alguno de los principios más operativos, invitándonos a cambiar el recipiente. A fin de asegurarme de que algunas de estas flemas animales se hallaban lo suficientemente desprovistas de espíritu como para merecer tal nombre, no me contenté con probarlas, sino que vertí sobre ellas sin éxito líquidos ácidos para ver si contenían alguna sal o espíritu volátil que (de haber alguno en ellas) probablemente se habría puesto de manifiesto por su enemistad con el líquido derramado sobre ellas. Y ahora que hablo de espíritus corrosivos, debo advertiros que si bien no parecen ser otra cosa que sales líquidas, con todo abundan en agua, como podéis observar, bien si trabáis su parte salina haciéndolos corroer algún cuerpo adecuado, fijándola de ese modo (como hemos visto con el aceite de vitriolo
[146] mezclado con la debida proporción de agua que, al disolver el azogue, ligaba de tal modo sus partículas de sal en el cuerpo disuelto, que la mayor parte se tornaba flema), o bien si los mortificáis con una sal contraria, como observamos cuando el aceite de vitriolo, mediante la afusión de aceite de tártaro
per deliquium [147], ve sus partes salinas precipitadas al fondo, flotando sobre éste una copiosa flema. Es algo que he observado mucho más claramente en la preparación del bálsamo Samech
[148] con vinagre destilado (en lugar de espíritu de vino), siendo difícil de creer cuánta cantidad de este espíritu ácido convertirá en flema la pequeña cantidad de sal de tártaro con que se destila, gracias a la mortificación y retención de la sal ácida, antes de que esté tan plenamente impregnada como para no robar más. Y si bien el espíritu de vino parece el más libre de agua de todos los líquidos por ser tan ígneo como para arder completamente en una cuchara, con todo Helmont afirma incluso que este líquido ardiente es con toda probabilidad materialmente agua bajo una apariencia sulfurosa. En efecto, en la fabricación de esa excelente medicina, el bálsamo Samech de Paracelso (que no es más que sal de tártaro dulcificada destilando de ella espíritu puro de vino), la sal de tártaro de la que se destila, habiendo retenido o habiendo privado al espíritu de vino de sus partes sulfurosas, el resto, que constituye con mucho la mayor parte del líquido, retomará a flema. Del mismo modo que en el argumento anterior Helmont trataba de probar que el agua es el único elemento por su resolución última, una vez que mediante su alcahesto o algún otro agente conquistador se han destruido las semillas que la enmascaraban o cuando en virtud del tiempo se gastaban y agotaban, siendo incapaces ya de representar sus papeles en el escenario del universo, así en este otro argumento trata de demostrar la misma conclusión sirviéndose de la constitución de los cuerpos, que afirma no ser otra cosa que agua dominada por virtudes seminales. De los diversos ejemplos que pone de plantas y animales (pues no recuerdo que ponga ninguno de minerales) elegiré este notable experimento. (Helm., pág. 190
[149] ). Tomó 200 libras (90,8 kg) de tierra secada en un horno y, poniéndola en un tiesto y humedeciéndola con agua de lluvia, plantó en ella el tronco de un sauce (dicho sea de paso, he visto cómo los vástagos de 1/2 yarda (45 cm) de dicho árbol crecen maravillosamente con sólo clavarlos en el suelo; y últimamente he visto un tipo de sauce uno de cuyos retoños de un año era más largo de lo que yo podía alcanzar con una espada y un brazo estirados) de un peso de 5 libras (irnos 2 1/4 kg). Lo regó según sus necesidades con agua de lluvia o destilada y, a fin de evitar que la tierra vecina entrase en el recipiente, utilizó una chapa de hierro estañada (de esa materia, supongo, que los franceses llaman
fer blanc) y perforada con muchos agujeros. Después de transcurridos 5 años, sacó el árbol y lo pesó y (sin contar las hojas que habían caído 4 otoños) halló su peso de 169 libras y unas 3 onzas (unos 77 1/2 kg), y habiendo secado de nuevo la tierra en que había crecido, halló que de su primitivo peso de 200 libras sólo faltaba un par de onzas (56,7 g), de donde concluyó que 164 libras (74 1/2 kg) de las raíces, madera y corteza que formaban el árbol procedían únicamente del agua. Traté de realizar el mismo ensayo de manera menos tediosa el verano pasado, mas debido a algunos accidentes hube.de perder la mejor estación del año para tal propósito, hallándome a mediados de Mayo antes de poder iniciar el experimento que hubiera de haber tenido ya 2 meses. Mas os lo comunico tal y como pasó. En la época mencionada, hice que mi jardinero cavase una cantidad conveniente de buena tierra a fin de secarla bien en un homo, pesarla y ponerla en un tiesto de barro casi al mismo nivel que la superficie del suelo, poniendo en ella una semilla seleccionada de chayóte, que es una variedad india
[150] de calabaza. Le mandé que regase esta semilla sólo con agua de lluvia o de fuente. Observé con deleite cuán rápido crecía aunque se hubiera plantado fuera de estación, si bien la llegada del invierno le impidió alcanzar su magnitud debida
y usual, lo que me obligó a recogerla sobre mediados de octubre, cosa que hizo mi jardinero, quien me envió este informe: he pesado la calabaza con el tallo y las hojas, todo lo cual pesaba 3 libras menos un cuarto (1 1/4 kg); tomé luego la tierra, la horneé como anteriormente y hallé tanta como la primera vez, lo que me hizo pensar que no la había secado lo suficiente. La puse entonces dos veces más en el homo después de sacar el pan y la pesé de nuevo, hallando que muy poco o nada había mermado. El mismo experimento se puede realizar de manera igualmente conveniente con las semillas de cualquier planta cuyo crecimiento sea rápido y su tamaño voluminoso; si el tabaco creciera bien en estos climas más fríos en tierra sin abonar, no estaría de más hacer pruebas con él, pues aunque sea una planta anual en los lugares donde prospera, crece en ocasiones Unto como un hombre alto, y en mi jardín he tenido hojas suyas de cerca de 1 1/2 pies (45 cm) de anchura. Mas la próxima vez que realice este experimento lo haré con varias semillas del mismo tipo y en el mismo tiesto de barro, a fin de que el fenómeno sea más palpable. Pero he realizado también en mi habitación otros ensayos expeditivos. Cogí una punta de menta de algo así como una pulgada de larga (2.5 cm y la puse en una buena redoma llena de agua pura de fuente de manera que la parte superior de la menta estuviese por encima del cuello del vaso y la inferior, inmersa en el agua. Al cabo de unos pocos días, esta menú comenzó a echar raíces en el agua y- a mostrar sus hojas y a tirar para arriba, teniendo en breve tiempo numerosas raíces y hojas, siendo estas muy fuertes y fragantes, con el olor de la menta. Pero el calor de mi habitación, creo yo, mató la planta cuando hubo crecido hasta tener un tallo bastante grueso, el cual, junto con las diversas y ramificadas raíces que echó en el agua, como si de la tierra se tratara, presentaba en su tiesto transparente un espectáculo nada desagradable de contemplar. Ensayé esto mismo con mejorana dulce, y el experimento saldrá también aunque un tanto más lentamente con melisa o poleo y, por lo que se, con otras plantas. El agua usada por mí no se renovaba ni cambiaba y elegí agua de fuente más bien que de lluvia porque esta última es más claramente una especie de πανσπeρμια
[151] que contiene en sí (además de los influjos celestes o exhalaciones de los cuerpos celestes que se supone que la impregnan) una notable y fertilizante tierra y sal que se puede extraer de ella y que algunos toman erróneamente por el espíritu del mundo corporificado. He tenido en mente la idea de realizar algunos ensayos acerca de cómo habrían de resultar los experimentos del carácter de los helmontianos en otras cosas que no fuesen vegetales, mas hasta ahora no he tenido ocasión de hacerlo
[152]. Sin embargo he de admirar el extraño poder de la virtud formativa de las semillas de las cosas que no sólo dan forma a la servil materia según la exigencia de sus propias naturalezas, así como a las partes sobre las que actúan, sino que además disponen y cambian de tal modo la materia que someten, que le confieren una consistencia que parecía incapaz de adoptar. O bien podemos observar en los huevos, donde las partículas seminales, aunque al principio sean escasamente discernibles a la vista, hallándose escondidas por así decir entre las capas de la yema y la clara, no sólo disponen la materia en esa gran variedad de contexturas y consistencias precisa para la producción de vena, fibra, arteria, tendón, carne, membrana, cartílago, los humores acuosos, vítreos y cristalinos del ojo y Tas otras partes diferentes del cuerpo, sino que además producen a partir de la misma materia los huesos, hasta tal punto más duros que esa substancia líquida y blanda de la que están hechos, que se tendría por imposible fraguar las partículas de dicho cuerpo fluido en tales cosas sólidas. Algo semejante se puede observar en la savia de los árboles, ya que la virtud seminal difundida en la rama de un melocotón o albaricoque injertado es parte suya, endurecida en esa substancia resistente que llamamos pepitas. Este endurecimiento de la savia de los árboles es algo que he observado mejor aún en las nueces de cacao indio
[153], que en la parte central de la nuez contiene un líquido bastante abundante y de aspecto semejante al del agua de fuente (que no obstante he visto espesarse en una especie de leche), si bien su cáscara es de tal dureza y resistencia que aguanta la pulimentación que usualmente se les aplica antes de montarlas en armazones para utilizarlas como copas. Podría añadir que observamos en diversas cavernas subterráneas que el agua que se halla a punto de caer al suelo se ve detenida en esa posición y, en virtud de la semilla o espíritu petrífico, esa substancia líquida se toma sólida a
veue d’oeil[154] y en arroyos y fuentes lapidescentes
[155] es muy obvio que el espíritu gorgónico
[156] puede endurecer y coagular su propia materia en piedra, incluso en medio de cursos de agua; mas baste esto por el momento. Así pues, la opinión de Helmont es digna de consideración, aunque aún no de ser creída, hasta tanto no aporte también experimentos sobre la producción de un metal o mineral a partir de agua, cosa que según recuerdo no hace. Y suponiendo que su alcahesto pudiese reducir todas las cosas a agua, con todo, que esa agua por ser insípida haya de ser elemental, es algo que no se puede dudar sin fundamento. Entre tanto, de lo hasta aquí expuesto inferiré estos corolarios:
Conclusiones
- Que pretender mostrar sólo con fuego que todos los cuerpos formados por elementos están compuestos del mismo número de elementos es poco menos precipitado que afirmar que todas las palabras constan de las mismas letras, y quien extraiga del oro o la plata tantas- substancias distintas como las que yo separe del vitriolo o del guayacán me enseñará algo que habré de aprender de muy buen grado.
- Que la división vulgar que establecen los químicos en los cuerpos mixtos no es sino un análisis impreciso y tosco, pues las heterogeneidades así separadas (hasta tanto sean más estrictamente desprovistas de lo que en ellas subsiste de sus propiedades seminales, siendo reducidas a una pureza y simplicidad más absoluta) mantienen demasiado del compuesto, del fuego o de ambos como para pasar por los ingredientes elementales de las cosas. Yo no niego que sea posible esta exquisita depuración de las heterogeneidades separadas, aunque usualmente no la hallo. Ciertamente, aunque esa completa pureza de los elementos pueda hacerlos más satisfactorios para nuestro entendimiento, con todo los otros son más útiles para nuestras vidas, al depender su eficacia de lo que retienen de los cuerpos de los que se separan, siendo así que los nuevos elementos son inactivos por lo que respecta a sus usos inmediatos.
- Que siendo el fuego el más activo y universal de todos los resolutores aislados de los cuerpos, con todo hay algunos cuerpos en los que otros cuerpos realizarán aquellas operaciones que no puede llevar a cabo el fuego solo, a la manera en que el aqua fortis separa la plata del oro (de donde los franceses la denominan eau de départ) [157] disolviendo la primera y dejando caer a éste, siendo así que la fusión no nacía sino mezclarlos; y el aceite de tártaro per deliquium separa casi en un minuto (precipitándolo consigo) el azufre del vitriolo, mientras que esos fuegos extremos que estamos dispuestos a proveer en la destilación de su aceite no son sin embargo capaces de separarnos el azufre deseado; así, en la preparación de mercurius vitae [158], el régulo de antimonio (pues es difícil demostrar que contiene alguna otra substancia mineral) y los espíritus corrosivos que lo ocultan pasarán a través de la cabeza [159] sin separarse bajo la forma de un líquido claro y transparente, aunque se rectifique, como he comprobado muy a menudo; y sin embargo, esas partes que el fuego no podría separar, lo son gracias al agua, la afusión de la cual precipita el mercurius vitae de ese líquido que, al perderlo, adquiere el nombre de acetum philosophorum. Hay también algunos cuerpos cuyas partes constituyentes no se pueden separar con fuego sólo ni sin él, pues es preciso abrirlos mediante algún menstruo adecuado, tras cuya operación el fuego pueda separar esas heterogeneidades que antes no había podido. Sir K. Digby me aseguró que digiriendo prolongadamente talco con un cierto menstruo que conozco y que contribuye al efecto deseado abriendo y preparando el cuerpo y soltando sus partes, extrajo un doble aceite de talco verdadero y real, y que se extrajo del propio talco y no del menstruo empleado para separarlo; uno de cuyos aceites probó en el rostro de una princesa, quien lo usó con tan extraño éxito que el poder del aceite es casi tan admirado como la belleza que conservó.
- Que el proceder más seguro consiste en aprender mediante experimentos particulares de qué partes heterogéneas constan los cuerpos particulares, y por qué medios, sea el fuego actual o potencial, se pueden separar de la manera mejor y más conveniente, sin pugnar infructuosamente por forzar a los cuerpos a más elementos de aquéllos con que la naturaleza los conformó o sin despojar a los principios separados, dejándolos tan desnudos que, haciéndolos exquisitamente elementales, se tomen laboriosamente inútiles.
§ 5. De la imperfección de la doctrina del químico sobre las cualidades
Capítulo I
Dado que una gran parte de esas personas doctas, especialmente médicos, que han visto los defectos de la filosofía vulgar sin alcanzar aún a comprender y apreciar la corpuscular se han inclinado hacia la doctrina de los químicos
[160], y dado que los espagíricos acostumbran a pretender construir todas las cualidades de los cuerpos a partir del predominio de alguno de sus tres principios hipostáticos, supongo que podré no sólo conseguir que mi opinión no parezca demasiado pretenciosa, sino también (lo que es mucho más importante) promover la más feliz recepción de la hipótesis mecánica sobre las cualidades, exponiendo aquí (si bien de manera breve y en general) algunos de aquellos defectos que he observado en la explicación química de las propiedades
[161].
Capítulo V
He aquí la primera consideración en la que observo que la teoría química no llega lo bastante lejos. Mas hay otra rama en su deficiencia, pues incluso cuando las explicaciones parecen alcanzar los fenómenos, no son primarias y por así decir lo suficientemente fontales. Para explicarlo no recurriré en este momento más que a estas dos consideraciones. La primera de ellas es que esas mismas substancias que los químicos consideran sus principios están todas ellas dotadas de diversas cualidades
[162]. Así, la sal no es un cuerpo fluido, sino consistente, posee su peso y es soluble en agua, es diáfana u opaca, fija o volátil, con sabor o insípida. (Me expreso así, mediante disyunciones, porque no todos los químicos concuerdan en estas cosas y no afecta a mi argumentación que se decida acerca de una u otra de estas cualidades en discusión.) Además, según ellos, el azufre es un cuerpo fusible, inflamable, etc. y, según la experiencia, es consistente, pesado, etc. Por tanto, hemos de recurrir a principios más primarios y generales para explicar algunas de esas cualidades, puesto que dándose en los cuerpos que se suponen perfectamente similares u homogéneos, no se puede pretender que las que se hallan en uno de ellos se deriven de otro. Y aunque podría responder muchas cosas a la afirmación de que pertenece a la naturaleza de un principio poseer esta o aquella cualidad, como por ejemplo a la del azufre ser fusible, por lo que no hemos de pedir cuentas de por qué sea así, me limitaré ahora a señalar que este argumento sólo se basa en una suposición y no tendrá ninguna fuerza si de las afecciones primarias
[163] de los cuerpos se puede deducir una buena explicación mecánica de la fusibilidad en general, sin necesidad de suponer un azufre primigenio como el que imaginan los químicos, o sin derivarlo de él en otros cuerpos. Ciertamente, dado que no sólo el salitre, la sal marina, el vitriolo y el alumbre, sino también la sal de tártaro y la sal volátil de orina son todas ellas fusibles, no veo bien cómo pueden los químicos derivar la fusibilidad ni siquiera de las sales obtenidas de su propio análisis, como la sal de tártaro y la de orina, de la participación en el ingrediente sulfúreo; especialmente dado que, si se intentase tal cosa, se echaría por tierra la hipótesis de los tres cuerpos simples con los que querrían componer todos los mixtos. Y aun así quedaría por explicar en razón de qué el principio que se supone que dota a otro de tal cualidad resulta estar dotado a su vez de ella, pues es patente que una masa de azufre no es un cuerpo atómico o diamantino, sino que consta de una multitud de corpúsculos de determinadas formas conectados de determinado modo, por lo que se puede preguntar razonablemente por qué tal reunión de partículas, y no otras muchas, constituye un cuerpo fusible.
Capítulo VI
Me lleva esto a una ulterior consideración que me hace ver que las explicaciones del químico no son lo bastante profundas y radicales, y es la siguiente, que cuando nos dice, por ejemplo, que la fusibilidad de los cuerpos proviene del azufre, en caso de que lo que dice sea cierto, no hace sino comunicarnos qué ingrediente material es aquél que, mezclado y disperso a través de las otras partes de un cuerpo, lo hacen apto para fundirse. Mas ello no señala inteligiblemente qué es lo que hace fusible una porción de materia y cómo introduce el ingrediente sulfúreo dicha disposición en el resto de la masa con la que se combina o une. Sin embargo, son tales explicaciones las que busca principalmente un naturalista inquisitivo, por lo que las llamaré filosóficas. Y a fin de mostrar que puede haber explicaciones más fontales, me limitaré a observar que, para no alejamos de nuestro ejemplo, el pro pió azufre es fusible. Por consiguiente, como he señalado hace poco, la fusibilidad, que no es la propiedad de un átomo o partícula, sino la de un agregado de partículas, debería ella misma explicarse en dicho principio antes de derivar de él la fusibilidad de todos los demás cuerpos. En las notas que siguen
[164] se verá que en el propio azufre esa cualidad probablemente se pueda deducir de la reunión de corpúsculos de determinadas formas y tamaños, entretejidos y conectados de modo conveniente. Y si la naturaleza o el arte o el azar uniese partículas dotadas de semejantes afecciones mecánicas, asociándolas de igual manera, el cuerpo resultante sería fusible aun cuando las partículas componentes nunca hubiesen formado parte del azufre primordial del químico, y quizá tales partículas así unidas podrían haber compuesto el propio azufre aunque antes no existiese tal cuerpo en el mundo. Y lo que les digo a esos químicos que hacen del ingrediente sulfúreo la causa de la fusibilidad se puede aplicar
mutatis mutandis a la hipótesis que atribuye más bien dicha cualidad al principio mercurial o salino, con lo que consiguientemente no pueden dar una explicación racional de la fusibilidad del azufre. Por tanto, aunque concedo de buen grado (como tendré ocasión de probar más adelante) que el azufre u otro de los miembros de la
tria prima puede hallarse abundando incluso en diversos cuerpos dotados de la cualidad que se atribuye a su participación en ese principio, con todo quizá el siguiente ejemplo os ayude a ver que ello puede no ser un signo seguro de que la cualidad poseída emane de ese ingrediente. Si el estaño se mezcla debidamente con cobre u oro o, como he probado, con plata o hierro, los tomará muy frágiles. Es también uno de los ingredientes de otros diversos cuerpos que son igualmente frágiles, como los esmaltes azul, verde, blanco y de otros colores que se fabrican ordinariamente con estaño calcinado (que los comerciantes llaman mástique) fundido con los ingredientes del vidrio-cristal
[165] y una pequeña porción de pigmento mineral. Mas aunque el estaño sea un ingrediente importante de todos esos cuerpos frágiles mencionados, sería muy precipitado afirmar que la fragilidad en general procede del estaño, pues suponiendo que las partes sólidas de los cuerpos consistentes sólo se toquen unas a otras en pequeñas porciones de sus superficies sin trabarse por su contextura, el compuesto metálico u otro cualquiera puede ser frágil aunque no contenga estaño. Ciertamente, al fundir los materiales del vidrio, formarán un cuerpo frágil tanto si se licúa masilla con ellos como si no. El plomo calcinado se puede fundir por la acción del fuego para formar una masa frágil e incluso un vidrio transparente sin la ayuda del estaño o cualquier otro aditivo. No es preciso añadir que existe una multitud de otros cuerpos de los que no se puede pretender que su fragilidad se deba a participación alguna del estaño, del que no precisan, siempre y cuando la materia de que constan no carezca de las disposiciones mecánicas requeridas.
He de aventurarme a añadir aquí que el modo que utilizan los químicos, no menos que los peripatéticos, para explicar las cosas mediante los ingredientes, sean elementos, principios u otros cuerpos de los que supone que constan, frustrará a menudo las expectativas del naturalista relativas a los acontecimientos, pues con frecuencia demostrarán ser distintos de lo que él mismo se prometía a partir de la consideración de las cualidades de cada uno de los ingredientes. En efecto, las notas que siguen contienen diversos casos en los que emerge una nueva cualidad distinta y aun contraria a cualquiera de las visibles en los ingredientes, pues dos cuerpos transparentes pueden formar una combinación opaca; un cuerpo amarillo
[166] y uno azul, otro verde; dos cuerpos maleables, uno frágil; dos cuerpos actualmente fríos, uno caliente; dos cuerpos fluidos, uno consistente, etc. Del mismo modo que esta manera de juzgar mediante principios materiales impide que sea cierto el conocimiento anticipado de los acontecimientos, impide en mayor medida que sea satisfactoria la asignación de causas. De esta manera, quizá algunos no consideren muy temerario decir que quienes juzgan acerca de todos los cuerpos mixtos, como los boticarios de las medicinas, solamente por las cualidades y proporciones de los ingredientes (como los cuatro elementos, en el caso de los aristotélicos, y la
tria prima, en el de los químicos), hacen como quienes pretendiesen explicar los fenómenos y funcionamiento de péndolas y relojes y sus variedades recurriendo a lo siguiente, a que algunos están hechos de ruedas de bronce, otros de hierro, otros presentan ruedas sencillas sin dorar, otros ruedas chapadas en oro, algunos están dotados de cuerdas de tripa, otros de cadenitas, etc., como si las cualidades y predominio de dichos metales que constituyen las piezas del reloj debieran de conferirles lo que de hecho deriva de su coordinación y diseño.
Capítulo VII
El último defecto que observo en la doctrina química de las cualidades es que en muchos casos no concuerda bien con los fenómenos de la naturaleza, y eso por alguna o ambas de las siguientes razones. Primero, se dan diversos cambios de cualidades en los que uno esperaría perfectamente que hubiera de tener gran efecto un principio químico, si bien no parece en absoluto ser así. Quien considere cuán grandes operaciones atribuyen los herméticos
[167] a este o aquel principio hipostático, y cuántas cualidades han de derivarse según ellos de él, no podrá menos de esperar que la aparición de un gran cambio relativo a esas cualidades en un cuerpo mixto habrá de verse acompañado por alguna acción notable o alteración en el principio. Sin embargo, me he topado con muchos casos en los que se producen o anulan o alteran muchísimo las cualidades sin ninguna introducción, expulsión o cambio notable manifiesto del principio del que se dice depender tal cualidad o quizá de alguno de los otros dos. Tal ocurre cuando un trozo de fina plata que, tras haber sido templada al fuego, permitiéndole enfriarse lentamente, es muy flexible, se torna rígida y difícil de doblar tan sólo mediante unos pocos martillazos. Asimismo, una cuerda de laúd adquiere o pierde una simpatía, como la llaman, con otra cuerda del mismo o de otro instrumento tan sólo tensándola para ponerla al unísono con ella, o bien apretándola o aflojándola más allá o más acá de ese grado de tensión.
Multiplicar los ejemplos de este tipo sería anticipar aquéllos que encontrareis más adelante en sus debidos lugares. Por consiguiente, pasaré del primer tipo de fenómenos, los que no favorecen a la hipótesis química acerca de las cualidades, al otro que consta de aquéllos en los que o bien no ocurre lo que según su hipótesis debiera ocurrir, o bien ocurre lo contrario de lo que según su hipótesis debería justamente esperarse. Os encontraréis más adelante con ejemplos de ello, si bien ahora sólo os molestaré con uno, el mejor para dejar claro lo que quiero decir. No les resulta desconocido a esos químicos que trabajan mucho con plata y cobre que la primera soportará las llamas, poniéndose al rojo vivo en el fuego antes de fundirse, siendo este último mucho más difícil de fundir que la otra
[168]. Sin embargo, si se disuelven separadamente estos dos metales en agua fuerte, reduciéndolos a cristales por evaporación, éstos se fundirán en poquísimo tiempo y con un calor muy moderado sin romper los recipientes que los contienen. Si preguntáis a un químico vulgar por la causa de esta facilidad de fusión, probablemente os dirá sin escrúpulos que deriva de las partes salinas del agua fuerte que, incorporándose a los metales y siendo de naturaleza muy fusible, imparte esa facilidad de fusión a los metales con que se halla mezclada. Según semejante explicación plausible, sería de esperar que si se mezclasen exquisitamente los corpúsculos salinos con el estaño, lo tornarían mucho más fusible de lo que lo es de por sí. Mas con todo, como he señalado en otro lugar
[169], cuando pongo estaño en una cantidad adecuada de agua fuerte, el metal, al corroerse, se hunde como es usual en forma de claras de huevo y, una vez bien secas, el estaño dista tanto de tomarse más fusible mediante la adición de las partículas salinas del menstruo, que si bien se sabe que el estaño simple se fundirá mucho antes de ponerse al rojo vivo, este estaño preparado habría de soportar durante un buen rato no sólo una ignición plena, sino también el soplo de un doble par de fuelles (que utilizábamos normalmente para fundir la plata y el propio cobre), sin ponerse en absoluto en estado de fusión. Por lo que respecta a esos espagíricos que admiten, como la mayoría de ellos se supone que hacen, que todos los tipos de metales pueden convertirse en oro mediante una pequeñísima porción de lo que denominan el elixir de los filósofos
[170], creo que se les puede mostrar a partir de sus propios presupuestos que se pueden cambiar diversas cualidades, incluso en cuerpos constantes como los metales, sin la adición de ninguna porción considerable de los ingredientes simples a los que usan atribuir dichas cualidades, siempre y cuando el agente (como causa eficiente más bien que material) sea capaz de realizar un gran cambio en las afecciones mecánicas de las partes de que está hecho el metal sobre el que actúa. Así, si suponemos que se transmuta en oro una libra de plata, una libra de plomo y una libra de hierro, cada una de ellas mediante un grano (0,065 g) del polvo de proyección
[171], este polvo tintorio, en cuanto causa material, es despreciable por razón de la pequeñez de su masa, y como causa eficiente opera efectos distintos y aun contrarios según la disposición en que encuentra al metal a transmutar y los cambios que opera en su textura constituyente. Así, hace que el azogue se fije, estado en que no se hallaba antes, privándolo de su fluidez primitiva; hace que la plata sea indisoluble en el agua fuerte que antes la disolvía fácilmente y soluble en agua regia que anteriormente no la afectaba; y, lo que es muy importante para lo que ahora traemos entre manos, mientras que hace.que el hierro sea mucho más fusible que
Marte, toma al plomo mucho menos fusible que cuando mantenía su forma prístina, ya que
Saturno se funde antes de alcanzar la ignición exigida por el oro para ponerse en estado de fusión. Mas todo esto sólo se propone como argumento
ad hominem hasta tanto se demuestre suficientemente la verdad de la transmutación de los metales en oro por medio de la proyección, explicándose detalladamente sus circunstancias y fenómenos.
No he de olvidar tomar en consideración que algunos doctos químicos modernos explicarían diversos cambios operados en los cuerpos en punto a los olores, colores, etc. diciendo que, en tales alteraciones, el azufre u otro principio hipostático se intravierte, se extravierte o, como dicen otros, se invierte. Pero confieso que estas cosas me parecen más bien meros términos que explicaciones reales, pues dejando de lado diversos argumentos mencionados en el presente tratado y que se podrían aplicar a este modo de resolver los fenómenos de las cualidades, se puede objetar con toda justicia que la supuesta extraversión o intraversión de azufre no puede en absoluto llegar a explicar una variedad de olores, colores y otras cualidades tan grande como la que se puede hallar en las mudadas porciones de materia de que hablamos. Y lo que es más, lo que designamos con estos nombres y otros similares no se puede realizar sin un movimiento local que transforme las partículas de la materia, produciendo consiguientemente en ella un cambio de textura, que es precisamente lo que nosotros inferiríamos; y, una vez supuesto esto, podemos conceder que el azufre esté a menudo presente de hecho en los cuerpos alterados sin aceptar que sea siempre necesario para producir en ellos las alteraciones, dado que los corpúsculos así acondicionados y dispuestos entre sí realizarían dichos efectos haya constituido o no el azufre como tal la materia del cambio.
Concluiré ahora recapitulando en parte lo que se ha dicho en éste y en los dos capítulos precedente con esta consideración sumaria; que la sal, azufre y mercurio de los químicos no son ellos mismos los primeros y más simples principios de los cuerpos, sino más bien concreciones primarias de corpúsculos o partículas más simples que ellos, hallándose dotadas tan sólo de las primeras o más radicales (por así decir) y más católicas
[172] afecciones de los cuerpos simples; a saber, tamaño, forma y movimiento o reposo, mediante las diversas uniones o coaliciones de las cuales porciones más pequeñas de la materia se hacen esas diferentes concreciones que los químicos denominan sal, mercurio y azufre. Con esta doctrina concuerda el hecho de que diversos efectos de éste o aquel principio espagírico no precisen derivarse de la sal, por ejemplo, o del azufre como tal, sino que pueden explicarse con ayuda de algunos de esos corpúsculos que acabo de denominar más simples y radicales, y siendo tales explicaciones más simples y mecánicas, habrán de tenerse por ese motivo como más fundamentales y satisfactorias.
Capítulo VIII
Sé que se puede objetar en favor de los químicos que así como sus principios hipostáticos, sal, azufre y mercurio, no son más que tres, los principios corpusculares no son más que unos pocos, no siendo tampoco más que tres los principales de ellos, la magnitud, el tamaño
[173] y el movimiento, razón por la cual no se ve por qué los principios químicos habrían de ser más estériles que los mecánicos. A tal alegación respondo que, aparte de que estos principios nombrados en último lugar son más numeroso, ya que incluyen la posición, el orden, la situación, el reposo y sobre todo las casi infinitamente diversificables contexturas de las pequeñas partes y las estructuras que de ellas derivan de los cuerpos particulares y la trama del mundo; aparte de eso, digo, cada uno de los tres principios mecánicos especificados en la objeción, aunque no sean sino uno en el nombre, equivalen a muchos en la práctica, dado que la figura, por ejemplo, comprende no sólo triángulos, cuadrados, romboides, trapecios y una multitud de polígonos, sean ordenados o irregulares, sino además, cubos, prismas, conos, esferas, cilindros, pirámides y otros sólidos de nombres conocidos, y una difícilmente numerable multitud de otros ganchudos, ramificados, con forma de anguila, de tornillo y otros cuerpos irregulares, de los cuales si bien éstos y algunos otros poseen distintas denominaciones, con todo la mayoría carecen de nombre. De modo y manera que no hay por qué asombrarse de que yo considere a los principios mecánicos tanto más fértiles, esto es, aplicables a la producción y explicación de un número de fenómenos mucho mayor que los químicos, los cuales, considerándose como cuerpos similares que son ingredientes de los, mixtos y compuestos, fundamentalmente sólo varían por la mayor o menor cantidad que emplea la naturaleza o el arte en la formación de los cuerpos mixtos. Los pintores observan que el blanco y el negro, por más que se mezclen en diferentes proporciones, no harán más que formar grises más claros y más obscuros. Y si se dice que estos ingredientes, merced a la textura resultante de sus mezclas, pueden adquirir cualidades que ninguno de ellos poseía antes, responderé que aducir tal cosa equivale en efecto a confesar que hay que admitir los principios mecánicos (pues a ellos rómpete la textura o estructura de los cuerpos) en ayuda de los químicos. Y en esta ocasión, tomando prestada una ilustración de nuestro diálogo no publicado sobre los requisitos de una buena hipótesis
[174], añadiré que el químico que pretenda que por el hecho de que sus principios sean tantos como los de los corpuscularistas son tan suficientes como éstos para dar cuenta del libro de la naturaleza, pienso, digo yo, que haría como el hombre que pretendiese que con veinticuatro palabras construiría un lenguaje como el que otros construirían con las veinticuatro le tras del alfabeto, dado que tendría tantas palabras ya formadas cuantas eran las simples letras del otro, sin pararse a considerar que en vez del pequeño número de variaciones que se pueden hacer con sus palabras mediante preposiciones y terminaciones, las letras del alfabeto, diversamente combinadas, situadas y reiteradas, pueden formar con facilidad no sólo sus veinticuatro palabras con sus variaciones, sino tantas cuantas contiene todo un leguaje.
Capítulo IX
A pesar de todo cuanto me he visto obligado a decir en contra de los principios químicos por lo que respecta a la explicación de las cualidades, no debería pensarse que conceda que los peripatéticos tienen razones para triunfar, como si sus cuatro elementos suministrasen una mejor teoría de las cualidades. En efecto, si yo tuviese, junto con el tiempo suficiente para realizar semejante tarea, alguna obligación de emprenderla, presumo que no sería difícil mostrar que la doctrina aristotélica acerca de las cualidades particulares incurre en algunas de las mismas objeciones que la química, así como en otras no menos notables; y que derivar todos los fenómenos que su doctrina debería resolver de las formas substanciales y cualidades reales elementales equivale a imponernos una teoría más estéril y precaria que la de los espagíricos.
Que derivar las cualidades particulares de los cuerpos de esas formas substanciales de las que pretenderían derivarlas las escuelas constituye un modo insuficiente e inadecuado de explicarlas, se puede ver por lo que sigue: que las propias formas substanciales son cosas cuya existencia niegan muchos doctos filósofos y cuya teoría muchos de ellos juzgan incomprensible, confesando los más sinceros y juiciosos de los propios peripatéticos que es muy abstrusa. De esta manera, difícilmente podemos esperar de tan dudosos y abstrusos principios explicaciones claras de la naturaleza y fenómenos de las cualidades, por no insistir en que las definiciones aristotélicas, tanto de las cualidades en general como de muchas de las cualidades más familiares en particular, como el calor, la humedad, la transparencia, etc., distan mucho de ser claras y estar bien construidas, como tenemos ocasión de mostrar en otro lugar.
Otra cosa que hace insatisfactoria la doctrina escolástica de las cualidades es que frecuentemente ni siquiera trata de enseñar el modo en que se producen las propias cualidades y sus efectos u operaciones. En otro lugar
[175] hallaréis un ejemplo de esto, expuesto con ocasión de la cualidad que acostumbra ser la primera de la lista, a saber, la del calor, la cual si bien puede explicarse inteligible y plausiblemente con la hipótesis corpuscular, con todo la explicación peripatética que de ella se propone es demasiado cuestionable y demasiado superficial como para dar mucha satisfacción a un investigador racional. Ciertamente, decir que una forma substancial (como la del fuego) actúa mediante una cualidad (llamada calor) cuya naturaleza es producir tal efecto (como ablandar la cera o endurecer el barro), en substancia no parece ser otra cosa que decir que produce tal efecto mediante alguna virtud que tiene de producirlo. Más qué sea esa virtud y cómo opere es algo que, aunque sea lo que más deseamos saber, nos queda por descubrir. Pero proseguir con las imperfecciones de la hipótesis peripatética sería enzarzarse en otro discurso en el que se desplegarían más plenamente. Por tanto me limitaré ahora a echar una ligera ojeada sobre un par de objeciones que se relacionan más particularmente con la doctrina de las cualidades.
En primer lugar, no considero que sea convincente el argumento que usan emplear los aristotélicos en favor de sus elementos, así como los químicos a favor de sus principios, de que, dado que se encuentra esta o aquella otra cualidad que atribuyen a un elemento o principio en este o aquel cuerpo que llaman mixto, ha de deber esa cualidad a la participación de ese principio o elemento. En efecto, la misma textura de las partes u otra modificación de la materia puede producir semejante cualidad en el cuerpo más simple y en el más compuesto, y ambos de ellos pueden derivarla cada uno por su lado de la misma causa y no uno de la participación del otro. Así, el agua, la tierra, los metales y las piedras, etc. son pesados por razón de la misma causa de la gravedad y no porque los demás participen de la tierra, tal y como se ve en el agua elemental que es un cuerpo tan simple como ella, siendo con todo pesada. Así, el agua y el aceite, el espíritu de vino exactamente desprovisto de flema, el mercurio, así como los metales y el vidrio de antimonio
[176], no menos que el minio o plomo calcinado, son todos ellos fluidos mientras se hallan en fusión, tornándose tales por los movimientos diversamente determinados de sus partes diminutas y otras causas de la fluidez, y no por la participación en el agua, ya que no es probable que las áridas cales de plomo y antimonio hayan retenido en el fuego un líquido tan volátil como el agua. Asimismo la fluidez es una cualidad de que goza el mercurio de modo más duradero que la propia agua, ya que ese líquido metálico, así como el espíritu de vino bien rectificado
[177], no se congelará con el máximo grado de frío de nuestros inviernos más agudos, siendo así que un grado de frío mucho menor haría que el agua dejase de ser fluida, convirtiéndose en hielo.
A esto añadiré tan sólo, en segundo lugar, que no deja de ser grato contemplar cuán arbitrariamente derivan los peripatéticos las cualidades de los cuerpos a partir de sus cuatro elementos, como cuando (por poner un ejemplo de la cualidad que acabamos de mencionar, la liquidez) al mostrarles espíritu de vino perfectamente desprovisto de flema y preguntarles de dónde proviene su gran fluidez, contestasen que del agua, que es sin embargo mucho menos fluida que él; y este espíritu de vino es a su vez mucho menos fluido que la llama en la que el espíritu de vino es fácilmente resoluble. Mas si preguntáis de dónde proviene que sea totalmente inflamable, habrán de deciros que del fuego, y sin embargo todo su cuerpo, al menos en la medida en que los sentidos pueden percibirlo, es fluido y todo él se torna en llama (y por ende en lo más fluido de todo), de manera que el fuego y el agua, tan contrarios como ellos los hacen, han de predominar ambos con gran contradicción en el mismo cuerpo. Asimismo, este espíritu de vino, siendo un líquido cuyas partes sensibles menores son de hecho pesadas, formando un líquido que es setecientas u ochocientas veces más pesado que el mismo volumen de aire (el cual, sin embargo, la experiencia muestra que no carece de peso), ha de suponerse que abunda en partículas térreas; y sin embargo, este líquido espirituoso puede convertirse instantáneamente en llamas que ellos consideran el cuerpo más ligero del mundo.
Mas alargarse en este tema sería olvidar que el propósito de este escrito no me obliga a tratar de la escuela peripatética, sino de la espagírica, sobre la que vuelvo por tanto haciéndoos esta advertencia sobre ella, cual es que cuanto hasta ahora he objetado se orienta en contra de la más común y aceptada doctrina sobre los principios materiales de los cuerpos considerados mixtos, tal y como los químicos vulgares la acostumbran a aplicar a la explicación de las cualidades de las substancias corpóreas. Por consiguiente, no pretendo que las objeciones anteriores concluyan en contra de otras teorías químicas distintas de aquellas que me proponía poner en tela de juicio. Y si los filósofos adeptos
[178] (suponiendo que los haya), o algún otro espagírico más inteligente de lo común, poseen alguna hipótesis particular distinta de esas que he puesto en tela de juicio, dado que aún no conozco sus doctrina y razones, no pretendo que los argumentos anteriores sean concluyentes en contra de ellos, estando dispuesto a pensar que las personas que se aprovechan de tan peculiares oportunidades de bucear en los misterios de la naturaleza serán capaces de suministramos, si lo tienen a bien, una explicación de las cualidades de los cuerpos mucho mejor que la que usa proponer la generalidad de los químicos.
Así, querido Pirófilo
[179], he puesto ante tí algunas de las principales imperfecciones que he observado en la doctrina química vulgar acerca de las cualidades, dándoos consiguientemente algunas de las razones principales que me impiden prestarle asentimiento. Y dado que mis objeciones no están tomadas de sutilizas escolásticas ni de las dudosas especulaciones de los peripatéticos u otros adversarios de la filosofía hermética, sino de la naturaleza de las cosas y de los propios experimentos químicos, así, espero, si alguno de vuestros amigos espagíricos tienen intención de convencerme, deberá tratar de hacerlo de la manera más adecuada, cual es dándonos de hecho explicaciones claras y concretas al menos de los grandes fenómenos de las cualidades. Si hace tal cosa, me hallará muy dispuesto a asentir a una verdad que viene introducida y encarecida por algo tan aceptable y útil cual es una teoría filosófica de las cualidades.
§. 6. Notas experimentales sobre la producción u origen mecánico de la fijeza
Capítulo II[180]
En primer lugar, en algunos casos puede llevar a la fijación el que las partes de un cuerpo, ora mediante un aditivo, ora por obra del fuego, se vean llevadas a tocarse unas a otras en grandes porciones de sus superficies. En efecto, que de tal contacto se siga tal cohesión mutua que termine por indisponer a los corpúsculos que se tocan para sufrir una total separación, es algo que puede parecer probable por lo que últimamente hemos señalado de la cohesión de las piezas de mármol y vidrio
[181], así como de algunos de otros fenómenos pertenecientes a la historia de la firmeza
[182], de donde podemos con toda propiedad tomar algunos ejemplos, al menos como ilustración de la doctrina de la fijeza, por lo que respecta a que usualmente, aunque no siempre, las mismas cosas que nacen firme a un cuerpo le confieren cierto grado de fijeza, impidiéndole disiparse con los usuales grados de calor y la agitación con que se topa en el aire. Mas, volviendo al contacto de que hablábamos, no considero imposible (aunque quizá podáis considerarlo extraño) que la mera operación del fuego pueda en algunos casos procurar una cohesión entre las partículas (haciéndolas consiguientemente más fijas), del mismo modo que en otros las desune, tornándolas así más volátiles. En efecto, así como en algunos cuerpos las figuras y tamaños de los corpúsculos pueden ser tales que la acción del fuego pueda raspar o desgarrar las pequeñas lengüetas o garfios u otras partículas que los traban, haciendo de este modo que a los corpúsculos les resulte más difícil desenredarse y escapar hacia arriba, así también, en otros cuerpos, el tamaño y forma de los corpúsculos pueden ser tales que la agitación provocada por el fuego pueda frotarlos unos contra otros de modo que por el mutuo roce pulan, por así decir, sus superficies, haciéndolas amplias y suaves, cuando no tan planas que el contacto de los corpúsculos llegue a realizarse según una gran porción de sus superficies, de donde se deriva naturalmente una firme cohesión. Es algo que ilustraré con lo que podemos observar entre quienes pulimentan lentes para telescopios y microscopios. En efecto, estos artífices, mediante un prolongado frotamiento de un trozo de vidrio contra un plato o vasija cóncava de metal, acaban consiguiendo con dicho rozamiento que ambos cuerpos se toquen entre sí en tantas partes de sus superficies congruentes que se pegarán firmemente el uno al otro, de modo que en ocasiones obligan al artesano a emplear la violencia para separarlos. Y este ejemplo (que no es el único que podría esgrimir) puede bastar para mostrar cómo la cohesión de los corpúsculos se puede producir por la adaptación mutua de sus superficies congruentes. Y si dos corpúsculos más grandes o un gran número de otros menores se ven así llevados a pegarse unos a otros, fácilmente creeréis que su agregación demostrará ser demasiado pesada o inmanejable para la volatilidad. A fin de mostrar que el fuego puede efectuar una pulimentación en las superficies de algunos corpúsculos, en ocasiones he hecho que el minio y algunas otras sales que estimé convenientes se fundiesen durante un tiempo adecuado en un fuego vehemente convenientemente administrado. Gracias a ello, y como era de esperar, lo que antes era un polvo inerte e incoherente se redujo a corpúsculos mucho mayores, muchísimos de cuyos granos aparecían suaves, brillantes y casi especulares como los del litargirio de oro
[183] fino. Las masas compuestas por estos granos eran usualmente bastante sólidas y de difícil fusión. Cuando hacemos vidrio de plomo
per se (que en otro lugar os enseño a fabricar
[184] ), es claro que las partículas de plomo se reducen a una gran lisura, ya que por cualquier parte que se rompa el vidrio, las superficies producidas por la fractura no serán dentadas, sino lisas y considerablemente especulares. Tampoco tengo por imposible que, aunque el fuego no produzca un gran rozamiento de los corpúsculos del cuerpo a fijar, pueda sin embargo hacer que se adhieran unos a otros, pues al voltearlos mucho arriba y abajo de diversas maneras puede, tras multitud de revoluciones y diferentes choques, acabar uniendo aquéllas de sus superficies que por su anchura, suavidad o congruencia de formas resulten adecuadas para la adhesión mutua. Una vez que han llegado a adherirse, ya no es preciso que aquellas mismas causas, que eran susceptibles de hacerlos desprenderse unos de otros cuando su contacto no se operaba más que según una parte despreciable de sus superficies, hayan de tener el mismo efecto ahora que su contacto es pleno; si bien pudiera ocurrir que si se aumentase mucho el grado de calor, entonces la vehemente agitación superase esa adhesión, disipando de nuevo los aglomerados de corpúsculos unidos.
Tal vez parezcan menos extravagantes estas conjeturas si consideráis lo que ocurre en la preparación del azogue precipitado
per se
[185], en la que, poniendo el mercurio fluido en un recipiente de forma adecuada, se expone a un fuego moderado durante un tiempo considerable (pues en ocasiones he comprobado que seis o siete semanas era demasiado poco). Con este grado de fuego, las partes se voltean de diversas maneras, haciendo que muchas de ellas asciendan hasta que, reuniéndose en forma de gotas en las paredes del recipiente, su peso las hace retomar abajo. Mas, a la larga, tras muchos choques mutuos, si no también frotamientos, algunas de las partes comienzan a pegarse formando un polvo rojo al que se adhieren luego más y más partículas mercuriales, hasta que al fin todo el mercurio o su mayor parte se reduce a semejante precipitado que, tornándose más fijo merced a la cohesión de las partes, mediante el mismo grado de calor no será posible obligarlo a ascender y circular como hacía antes el mercurio. Con todo, como señalo en otro lugar, he hallado por ensayo que con un grado de calor mayor y apropiado, este precipitado
per se se reducirá de nuevo fácilmente a mercurio líquido, sin ayuda de ningún aditamento volatilizador. Acaso los químicos y médicos que están de acuerdo en suponer que este precipitado se hace sin ningún aditivo tendrán dificultades para ofrecer una explicación más plausible de la consistencia y grado de fijeza que se obtiene en el mercurio, en el que, ya que no se le añade ningún cuerpo, no parece obrarse ningún cambio que no sea mecánico. Y si bien he de confesar que no he dejado de sospechar que, en rigor filosófico, este precipitado pueda no haberse hecho
per se, sino que puedan haberse asociado con los corpúsculos mercuriales algunas partículas ígneas penetrantes, especialmente salinas, con todo, incluso suponiendo tal cosa, puede decirse que tales partículas no contribuyen al efecto producido más que facilitando o procurando por su oportuna interposición la cohesión mutua de los corpúsculos que de otro modo no se hubieran adherido los unos a los otros.
Quizá no sea del todo improcedente añadir en este contexto que la generalidad de los químicos, no menos que otros, como los helmontianos, quienes sostienen la transmutación de todos los metales en oro mediante la piedra filosofal, considerarán probable, creo yo, que una nueva y adecuada textura de las partes de un cuerpo volátil, al procurar en especial un contacto pleno entre ellas, pueda contribuir notablemente a hacerlo altamente fijo
[186]. En efecto, pasando por alto lo que cuentan los autores menos creíbles, Helmont, quien no fingía disponer del elixir, basándose en sus propios ensayos, cuenta que un grano (0,065 g) del polvo que le dieron transmutó una libra (454 g) (si no recuerdo mal) de mercurio fluido. La proporción del elixir al mercurio era tan despreciable que no se puede suponer razonablemente que cada corpúsculo del mercurio que antes era volátil se tornara extremadamente fijo tan sólo por su coalición con una partícula del polvo, dado que para que un grano baste a tal coalición, las partes en que ha de dividirse deben ser de una pequeñez apenas concebible, por lo que cada una de esas partes no es plausible que sea ella misma fija, o al menos es más probable que sea arrebatada por el mercurio vehementemente agitado que el que se abstenga de volatilizarse. Por el contrario, si suponemos que el elixir ha producido tal conmoción entre los corpúsculos del mercurio (habiéndoles hecho cambiar un tanto tal vez su figura, expulsando algunas partículas inconvenientes), haciéndolos adherirse unos a otros según muy grandes porciones de sus superficies, trabándose unos con otros, entonces no resultará repugnante a la doctrina mecánica de la fijeza que el mercurio soporte el fuego tan bien como el oro en virtud de su nueva textura la cual, suponiendo que la historia sea verdadera, parece haberse introducido mediante el nuevo color, gravedad específica, indisolubilidad en agua fuerte y otras cualidades por las que el oro difiere del mercurio, en especial la maleabilidad que, según nuestras notas sobre dicha cualidad, exige que las partes de cuya unión resulta sean o ganchudas o ramificadas o de algún otro modo aptas y adecuadas para que se sujeten unas a otras rápidamente o para que se enganchen estrechamente entre sí. Dado que en toda la masa de oro artificial, excepto un grano, todo debe ser materialmente el mismo cuerpo que antes de que se realizase la proyección era mercurio, podemos ver cuán gran cantidad de materia volátil puede adquirir, merced a una cantidad despreciable de aditivo fijador, esa nueva disposición de sus partes que la toman máximamente fija. Y sin embargo, este ejemplo concordará mucho mejor con la doctrina mecánica acerca de la fijeza que con esa opinión vulgar de los químicos (con la que no se conformará en absoluto), según la cual si en una mezcla la parte volátil excede con mucho a la fija, entonces arrebatará consigo a ésta o, al menos, una buena porción de ella, y lo contrario. Mas, aunque esta regla valga en muchos casos en los que no se da una peculiar indisposición al efecto al que se orienta, con todo, si las afecciones mecánicas de los cuerpos están mal dispuestas a semejante finalidad, nuestro experimento filosófico demuestra manifiestamente que la regla no se habrá de aplicar, ya que una tan grande multitud de granos de mercurio, en lugar de arrebatar consigo un grano de elixir, se ve detenida por él en el fuego más fuerte. Todo esto por lo que respecta al primer modo de fijar los cuerpos volátiles.
Capítulo III
La segunda manera de producir la fijeza es expulsando, rompiendo o neutralizando de algún otro modo esos corpúsculos volátiles que están demasiado indispuestos a fijarse ellos mismos o son adecuados para arrebatar consigo esas partículas que sin su ayuda no ascenderían. Supongo que no me pediréis solícitamente que demuestre que la expulsión de dichas partes sea un medio adecuado para agregar aquéllas que permanecen más fijas. Tenemos un claro ejemplo de ello en el hollín, en el que, si bien las partes más volátiles arrebatan consigo muchas partes activas mediante la violencia del fuego y la corriente de aire, con todo, cuando el hollín se destila bien en una retorta, concediendo el tiempo suficiente para la liberación y volatilización de las otras partes, quedará en el fondo una substancia que no volará como antes. Permítaseme observar aquí que el receso de los corpúsculos fugitivos puede contribuir a la fijación del cuerpo no meramente porque la materia restante se vea libre de tantas partes fijas, cuando no volatilizantes, sino que, como frecuentemente ocurre, tras su alejamiento, los poros e intervalos que dejan tras de sí se llenan de materia más sólida o pesada y al tornarse el cuerpo más homogéneo se hace también más cerrado y compacto. Si bien es verdad que señalaba que, además de por la expulsión de los corpúsculos inadecuados, éstos pueden verse neutralizados de otro modo en su acción de impedir la fijación de la masa a la que pertenecen, lo hice porque parece muy posible que en algunos casos puedan romperse de tal modo por la acción del fuego que llenen con sus fragmentos los poros o intervalos del cuerpo a que pertenecían; o bien pueden realizar tales coaliciones con fas partículas de un aditivo conveniente, de manera que no puedan impedir la fijeza de toda la masa-aunque permanezcan en ella. Es algo que tal vez consideréis que puede muy bien ocurrir cuando hayáis repasado los ejemplos adjuntados al cuarto modo de fijar los cuerpos.
El tercer medio de fijar o atemperar los cuerpos volátiles consiste en preservar el reposo entre las partes, cuyo contrario es preciso para su volatilización. Eso se puede conseguir evitando o refrenando ese calor u otro movimiento que los agentes externos tratan de introducir en las partes del cuerpo en cuestión. Pero no insistiré más sobre este medio que tiende a estorbar la volatilización actual de una porción de materia o a lo sumo a procurar un abatimiento temporal de su volatilidad más bien que a conferirle una fijeza estable.
La cuarta manera de producir fijeza en un cuerpo es echando en él un aditivo apropiado, sea fijo o volátil, tal que los corpúsculos del cuerpo puedan ponerse entre sí o con dicho aditivo en un estado de complejidad o textura embrollada. Siendo esta la manera usual y principal de producir la fijeza, nos demoraremos un poco más en ella, poniendo ejemplos de diversos grados de fijación, pues aunque no produzcan esa cualidad en la más estricta acepción de la palabra fijeza, con todo, en la investigación que nos ocupa, resulta útil tomar nota de por qué medios la volatilidad llega a mitigarse gradualmente, puesto que ello puede facilitar nuestra comprensión de cómo la volatilidad de un cuerpo llega a mitigarse totalmente, fijándose consiguiente el cuerpo.
Capítulo IV
En quinto lugar, hallamos que un aditivo fijo, si sus partes tienen la forma conveniente, puede conferir fácilmente un grado de fijeza a un cuerpo muy volátil. Así, el espíritu de nitro
[187], que por sí mismo volará bastante fácilmente por el aire, al ver sus partículas salinas asociadas con las del nitro fijo o sal de tártaro
[188], compondrá con el álcali una sal de naturaleza nitrosa que soportará ser fundida en un crisol sin perder ni siquiera sus espíritus. He hallado que los espíritus de nitro que abundan en el agua fuerte se coagulan con la plata que corroen, aunque uno no esperaría que corpúsculos tan sutiles se adhiriesen firmemente a un cuerpo tan compacto y sólido como la plata, y al poner en una retorta los cristales producidos por su coalición, pueden mantenerse un buen rato fundidos antes de que el metal deje escapar los espíritus nitrosos. Cuando vertimos aceite de vitriolo sobre cal de vitriolo
[189], si bien muchas partículas flemáticas y sulfúreas se vieron expulsadas por el calor excitado, con todo las partes salinas que se combinaban con las fijas del colcótar se unían con bastante firmeza a ellas, de manera que no resultaban fáciles de expulsar. Y si se vierte aceite de vitriolo en la debida proporción sobre la sal de tártaro, resulta de ello un
tartarum vitinolatum en el que las partes ácidas y alcalinas se unen con tal fuerza que no podrá desunirlas un grado ordinario de fuego; hasta tal punto es así, que diversos químicos han considerado (aunque muy erróneamente) que esta sal compuesta era indestructible. Pero un líquido menos pesado que el ponderoso aceite de vitriolo se puede detener con un álcali con más fuerza que ese mismo aceite, habiéndome confirmado la experiencia que al echar espíritu de sal hasta la saciedad sobre un álcali fijo (empleé el de nitro o el de tártaro), se produciría una unión tan estricta que, habiendo destilado sin aditivos la sal resultante con un fuego fuerte y prolongado, no parecía haber sido en absoluto afectada, sin fundirse siquiera.
Pero la nueva mixtura o conmixtión de partículas volátiles con fijas (aun cuando las primeras predominen en cantidad) no bastaría para elevar a las últimas, pues a menos que la forma de éstas sea congruente y adecuada para adherirse a las otras, las partes volátiles escaparán en el calor, dejando al resto tan fijo como antes; así, cuando la arena o las cenizas se mojan o empapan de agua, se van rápidamente con ese agua sin abandonar ningún grado de su fijeza. Mas, por otra parte, no es siempre necesario que el cuerpo adecuado para destruir o eliminar en gran medida la volatilidad de otra substancia haya de ser a su vez fijo. En efecto, si se diese una habilidosa o feliz coadaptación de las formas de las partículas de ambos cuerpos, dichas partículas podrían engarzarse de tal manera que compusiesen corpúsculos que ni dividiría el calor por su estricta unión, ni por su tamaño resultante serían elevados ni siquiera por un fuego fuerte o al menos por un grado de calor que hubiera bastando para elevar cuerpos más indispuestos que cualesquiera de los distintos ingredientes de la mistura. Esta observación, de realizarse debidamente,' favorece hasta tal punto nuestra doctrina acerca del origen mecánico de la fijación y puede resultar tan útil no sólo para los químicos en algunas de sus operaciones, sino también para los filósofos al determinar las causas de diversos fenómenos de la naturaleza, que puede merecer la pena ejemplificarla con algunos casos.
El primero de ellos lo tomaré de una práctica usual de los propios químicos, cosa que hago preferentemente para haceros ver que tales experimentos conocidos son con demasiada frecuencia pasados por alto por quienes los realizan, si bien pueden sugerir o confirmar teorías a quienes reflexionen sobre ellos. El caso de que aquí hablo es el que aporta la preparación vulgar del mineral benzoárdico
[190]. En efecto, por más que el aceite o mantequilla rectificada de antimonio y el espíritu de nitro que se unen para producir este precipitado blanco sean ambos líquidos destilados, con todo el copioso polvo que resulta de su unión se fija hasta tal punto por la unión de partes volátiles, que después de haberlo edulcorado con agua, prescriben su calcinación en un crisol durante cinco o seis horas, operación que no habría de soportar de no haber alcanzadlo una considerable fijación.
[191]Capítulo 3
La filosofía mecánico-corpuscular
Introducción
Carlos Solís
Ya señalamos al comienzo el carácter baconiano de la actividad científica de Boyle. La mayoría de sus escritos, siguiendo sus propias recomendaciones, no son largos tratados, sino conjuntos de artículos que contienen diversas investigaciones o historias naturales. En ellas, huyendo de la filosofía libresca que criticaba en Hobbes, se entrega a los experimentos. Siguiendo a Bacon, pensaba que la seguridad de los hechos u obras de la naturaleza debía protegerse de la tergiversación de las doctrinas, dominio en el que toda opinión tajante, favorable o contraría, es dogmática. Lo adecuado es tomar a todas las doctrinas como meras conjeturas probables, actitud que se muestra claramente en la amable consideración de las filosofías opuestas de atomistas y cartesianos, patente en el primer escrito seleccionado en esta parte. Sin embargo, hay una filosofía que Boyle nunca pone en tela de juicio y que parece abrazar sin dudas. Se trata de la filosofía mecánico-corpuscular que preside y orienta todo su trabajo.
El segundo de los escritos seleccionados constituye una larga exposición de dicha filosofía básica.
En la segunda parte vimos que la teoría de la materia de Boyle produjo un programa reduccionista en la química excesivamente prematuro, formulado aún antes de que se supiese qué fenómenos y leyes habría que reducir. El resultado de ello es que, en general, Boyle aporta muy poco al acervo substantivo de la ciencia, a pesar de sus múltiples anticipaciones e intuiciones justas, debiéndose colocar el peso de su contribución en el fomento de la filosofía experimentalista presidida por el programa mecanicista expuesto en el segundo escrito que viene a continuación.
Esta filosofía mecánico-corpuscular, íntimamente asociada a la distinción entre cualidades primarias y secundarias, según la terminología que Boyle es el primero en usar, deriva del atomismo dinámico (: átomos cualitativamente neutros que actúan por el movimiento) reavivado en ese siglo, procedente de la tradición epicureista. El origen de la distinción de dos niveles de cualidades, uno real y otro apariencial que hay que reducir a aquél, proviene ya de Leucipo y Demócrito con su distinción entre el conocimiento legítimo de los átomos y el vacío, fuera del dominio sensorial, y el conocimiento ilegítimo de lo que vemos y que hay que reducir a lo otro: «Por convención lo frío, por convención lo caliente; en realidad sólo átomos y vacío» (Fr. 9).
Esta distinción se replantea en el siglo diecisiete en un marco matemático, gracias a Galileo y Descartes. Para el primero existe una separación entre lo esencial de la naturaleza (el mundo objetivo de la geometría: triángulos, círculos, números, proporciones) y lo subjetivo e inanalizable que, dependiendo no de las cosas, sino de los sentidos, no es objeto de estudio científico
[192]. Para Descartes se trata asimismo de una distinción entre lo que se conoce por inspección mental de modo claro y distinto, al modo matemático, frente a lo que se conoce por los inciertos sentidos.
La doctrina clásica de Boyle (1666), luego refundida por Locke en su
Ensayo sobre el entendimiento humano (1690)
[193], distingue con la mayor perspicuidad conocida hasta el momento las cualidades primarias de las secundarias. Esta distinción deriva de la generalidad con que se concibe la materia entre los atomistas, como una materia universal. Si no hay en el fondo más que ese material común, toda diversificación ha de proceder del modo en que se divide y se mueve esa materia prima, de manera que, en última instancia, toda explicación de un fenómeno, natural ha de hacerse en términos del movimiento de esa materia. Toda cualidad, color, sabor, sonido; toda cualidad disposicional de los cuerpos, toda propiedad química, no es en realidad más que el movimiento o la organización espacial a él debido de la materia católica. Tres son los aspectos principales y últimos de toda explicación: la forma, el tamaño y el movimiento de las partículas últimas de materia que, uniéndose y combinándose en distintas estructuras o
texturas, lo explican todo. Estas son las cualidades primarias de la materia, en cuyos términos debe formularse finalmente toda ciencia.
Frente a esta tesis básica de-la filosofía mecánico-corpuscular, resulta secundario el detalle de si la divisibilidad de la materia es en principio indefinida (en la práctica la división tiene un término hasta para Descartes); o el de si hay o no espacios absolutamente vacíos de corpúsculos, o tan sólo relativamente a los de un determinado nivel «ordinario». Como se ve en la sección 7, tanto para los atomistas como para los cartesianos rige el mismo método filosófico mecánico.
Inicialmente, antes de 1664, Boyle se oponía, por mor de un córpuscularismo de corte baconiano, tanto al epicureismo como al cartesianismo. Por razones religiosas ataca la concepción epicureísta del movimiento como algo innato a los átomos, lo que haría al mundo autosuficiente al eliminar la necesidad de recurrir cada poco a Dios. Esa concepción abría la puerta al ateísmo. Por la misma razón, Boyle critica incluso a Gassendi por conformarse con afirmar meramente que Dios creó el mundo en el principio, sin acompañar luego a su obra mediante una providencia continua. Iniciase así una tradición que exacerbará Newton, consistente en afirmar que el
movimiento es ajeno a la
materia e independiente de ella, a fin de dar cabida a la acción continua de Dios en el mundo y no sólo en el momento inicial de creación. De ahí el desarrollo del mito de Moschus el fenicio, tan común en esta época
[194]. Frente a Descartes, defiende cierta estabilidad práctica de las partículas y cierto vacío compatible con un elevado grado de tarificación. Lo que trata de hacer es corregir mediante experimentos el dogmatismo cartesiano, dejando fuera por el momento la discusión de te mas filosóficos o metafísicos generales así como todo cuanto no sea decidible mediante experimentos.

Dispositivos sensibles para captar la presencia de la materia sutil cartesiana en la campana de vacío.
En con secuencia, lo vemos buscar experimentalmente y sin éxito la
materia subtilis cartesiana
[195].
Finalmente, en 1666, Boyle desarrolla su propia concepción corpuscular a base de una prudente y ecléctica mezcla de epicureismo y cartesianismo, huyendo tanto del ateísmo del primero como del dogmatismo y atrevimiento doctrinal del segundo; combinando explicaciones estáticas y dinámicas de unos y otros, y añadiendo su contribución fundamental al subrayar el papel preponderante del movimiento sobre la materia.
Sin embargo, las explicaciones efectivas en términos mecánico-corpusculares nunca llegaron muy lejos, sobrepasando un nivel programático y plausible. Ya en la sección 3, vimos cómo explicaba conjeturalmente la elasticidad del aire y cómo se las apañaba en la sección 6, con la fijeza. Los ejemplos podrían multiplicarse sin por ello asistir a una conexión más estricta entre principios mecánicos y fenómenos a explicar. Así, en el caso del fuego, se duda entre conferirle unas partículas específicas o considerarlo como las propias partículas del combustible; el calor, aunque se concibe con claridad como un tipo de movimiento, se ve afectado por dificultades de conceptualización escolásticas, similares a las encontradas en la distinción cualitativa entre condensación y expansión, como si el calor y el frío fuesen cualidades diferentes, o el movimiento lento y rápido especies distintas
[196]. No menos dudoso es el caso de la cohesión, explicada con una mezcla de cartesianismo y atomismo
ad hoc (reposo relativo de las partes o átomos con ganchos); etc., etc. Así pues, en la práctica científica, las explicaciones mecánicas no son efectivas, sino que guardan una conexión laxa con los fenómenos a explicar. Por ese motivo, Boyle desarrolla unas piezas intermedias entre los
mínima o prima naturalia de la filosofía corpuscular y los cuerpos de la experiencia. Serían unos principios inmediatos o
prima mixta, formados por la agregación de los corpúsculos primitivos y que incluso actúan como unidades indivisibles en muchas reacciones químicas
[197], de modo que «los
mínima nunca se ejemplifican directamente en la naturaleza. Los
prima mixta desempeñan la función de átomos elementales o moléculas de los diversos cuerpos que se dan en la naturaleza (oro, plata, mercurio, azufre, etc.)
[198] ». De esta manera, aunque
en teoría no haya especies o elementos y todo se resuelva en los cambios físicos continuos que están a la base de las transmutaciones,
de hecho, en el con texto de un problema de laboratorio, Boyle opera con bloques estables (los elementos en sentido moderno que él nunca llegó a definir), que se mantienen inalterados en las combinaciones, pudiendo ser recuperados por análisis a pesar de los cambios de cualidades observados en los cuerpos resultantes. Para esos efectos, los
prima mixta operan como substancias simples e inanalizables con esas peculiares operaciones de laboratorio. Sin embargo, no fue Boyle el que acotó para la química ese nivel de análisis, tal y como veíamos en
La química mecanicista (págs. 107 y sigs.)
El primer escrito es una breve parte del Prefacio a
Algunos especímenes de un intento de hacer los experimentos químicos útiles para ilustrar las nociones de la filosofía corpuscular, que constituye el cuarto escrito de Ciertos ensayos fisiológicos y otros opúsculos escritos en épocas distantes y en diversas ocasiones (1661); en Works, I: 355-6.
El segundo está formado por las tres primeras secciones completas del
Origen de las formas y cualidades según la filosofía corpuscular, ilustrado mediante consideraciones y experimentos, escritos inicialmente a modo de notas sobre un ensayo acerca del nitro, Oxford, 1666; Works, III; 14-37.
§ 7. La filosofía corpuscular: coincidencia entre la filosofía atomista y la cartesiana
Falta una página [...]
... ciertas formas substanciales, que los más ingeniosos de ellos confiesan que son incomprensibles, y de-ciertas cualidades reales que personas doctas de otras convicciones consideran igualmente ininteligibles, tanto los cartesianos como los atomistas explican los mismos fenómenos mediante cuerpos pequeños con diversas figuras y movimientos. Sé que ambas sectas de naturalistas modernos discrepan acerca de la noción de cuerpo en general y consiguientemente acerca de la posibilidad de un verdadero vacío, así como acerca de del origen del movimiento, la indefinida divisibilidad de la materia y algunos otros puntos de menor importancia que éstos
[200]. Mas, a la vista de que algunos de éstos parecen constituir ideas más bien metafísicas que fisiológicas
[201], así como de que otros parecen requerirse para explicar el primer origen del universo más bien que sus fenómenos en el estado en que los hallamos ahora, a la vista de ello, digo, y de algunas otras consideraciones, en especial por la razón de que ambas partes concuerdan en deducir todos los fenómenos de la naturaleza de la materia y el movimiento local, consideré que, a pesar de esas cosas en que discrepan los atomistas y los cartesianos, podría considerarse que coinciden en lo principal, pudiendo una persona de talante conciliador tomar sus hipótesis al respecto como una sola filosofía. La cual, dado que explica las cosas mediante corpúsculos o cuerpos diminutos, puede denominarse (sin gran error) corpuscular, por más que yo la denomine la filosofía fenicia, dado que algunos escritores antiguos nos informan que no sólo antes de
Epicuro y
Demócrito, sino incluso antes de que
Leuápo enseñase en Grecia, un naturalista fenicio
[202] usaba explicar los fenómenos de la naturaleza mediante el movimiento y otras afecciones de las partículas diminutas de la materia. Y puesto que son obvias y poderosísimas en los ingenios mecánicos, en ocasiones la llamo también la filosofía o hipótesis mecánica.
§. Consideraciones y experimentos sobre el origen de las formas y cualidades.
Parte teórica
A fin de poder suministrarte, Pirófilo
[203], antes de descender a los detalles, una idea general de la doctrina (o quizá hipótesis) que ha de cotejarse, siendo confirmada o refutada, con las verdades históricas
[204] que se expondrán relativas a cualidades (y formas) particulares, adoptaré el papel de un corpuscularista y de entrada te daré (de una manera general) una breve explicación de la propia hipótesis tal y como afecta al origen de las cualidades (y formas); y en aras de la claridad, la resumiré en los ocho puntos siguientes los cuales, a fin de que el esquema en su conjunto se pueda comprender mejor, abarcándose por así decir de una ojeada, no haré más que limitarme a exponerlos, de modo que o bien parezcan lo bastante evidentes por su propia luz, o bien puedan sin prejuicio ver postpuestas sus pruebas a los lugares adecuados de la siguiente parte del tratado
[205]. Y aunque haya algunos otros extremos a los que la importancia de los temas y la magnitud de los prejuicios (casi universales) que se levantan contra ellos me obliguen a adjuntar inmediatamente algunas anotaciones (para la oportuna exoneración y justificación de los mismos), con todo, a fin de empañar lo menos posible la coherencia del conjunto del discurso, se incluirá entre corchetes todo cuanto buenamente se pueda
[206].
I. Convengo con la generalidad de los filósofos hasta el punto de aceptar que hay una materia católica
[207] y universal común a todos los cuerpos, y por ella entiendo una substancia extensa, divisible e impenetrable.
II. Pero, dado que esta materia no es más que una en su naturaleza propia, la diversidad que contemplamos en los cuerpos ha de derivar necesariamente de alguna otra cosa distinta de la materia de que constan. Y puesto que no vemos cómo podría haber algún cambio en la materia si todas sus partes (actuales o designables) se hallasen perpetuamente en reposo entre sí, se seguirá que para diversificar la materia católica en una variedad de cuerpos naturales, habrá de poseer movimiento en algunas o en todas sus partes designables; y dicho movimiento ha de poseer diversas tendencias, el de esta parte de la materia tendiendo en una dirección y el de aquélla otra, en otra distinta. Como claramente vemos en el universo o masa general de la materia, hay realmente una gran cantidad de movimiento diversamente diseminado, hallándose con todo en reposo diferentes porciones de la materia.
Que hay movimiento local en muchas partes de la materia es manifiesto a los sentidos, si bien desde antiguo es objeto de encendida disputa cómo se hizo la materia con ese movimiento. En efecto, los antiguos filósofos corpusculares (doctrina a la que más nos inclinamos en la mayoría de los demás puntos, aunque no en todos), al no reconocer un Autor del universo, se vieron por elle reducidos a hacer el movimiento congénito a la materia y consiguientemente contemporáneo suyo. Mas, puesto que el movimiento local o la tendencia a él no se incluye en la naturaleza de la materia, que tan materia es cuando reposa como cuando se mueve, y puesto que vemos que la misma porción de materia puede reducirse del movimiento al reposo, y tras haber permanecido en reposo en tanto en cuanto otros cuerpos no la saquen de dicho estado, puede ponerse de nuevo en movimiento en virtud de agentes externos, yo que no acostumbro a considerar como el peor de los naturalistas a quien no sea ateo, no tendré el menor escrúpulo en decir, siguiendo en ello a un eminente filósofo de la antigüedad, quien propuso entre los griegos (en términos generales) esa opinión que el excelente
Des Curtes ha revivido entre nosotros, que Dios es el origen del movimiento de la materia. Y no sólo eso, sino que, considerando muy impropio creer que la materia simplemente puesta en movimiento y dejada luego a su merced pueda formar por casualidad este bello y ordenado mundo, pienso también que el sabio Autor de las cosas, estableciendo las leyes del movimiento entre los cuerpos y guiando los primeros movimientos de las pequeñas partes de la materia, las hizo reunirse según el modo requerido para componer esas curiosas y elaboradas máquinas, los cuerpos de las criaturas vivas, dotando a la mayoría de ellas del poder de propagar la especie. Mas aunque estoy convencido de estas cosas, dado que no es necesario suponerlas aquí, donde no pretendo ofrecer un discurso completo de los principios de la filosofía natural, sino tan sólo mencionar aquellas nociones precisas para explicar el origen de las cualidades y las formas, pasaré a lo que resta tan pronto como advierta de que el movimiento local parece ser sin duda la principal de las causas segundas
[208] y el gran agente de todo cuanto ocurre en la naturaleza. Si bien el tamaño, forma, reposo, situación y textura concurren en los fenómenos de la naturaleza, con todo, en comparación con el movimiento, parecen en muchos casos ser efectos y, en muchos otros, poco más que condiciones o requisitos o causas
sine quipus non que modifican la operación que una parte efe la materia ejerce sobre otra en virtud de su movimiento. Así, en un reloj, el número, figura y coordinación de las ruedas y demás partes es necesario para marcar las horas y realizar las demás cosas que puede hacer un reloj; mas hasta que estas partes no se pongan de hecho en movimiento, todas sus demás afecciones serán ineficaces. Asimismo, en el caso de una llave, si bien el que sea demasiado grande o demasiado pequeña, o que su forma sea incongruente con la de la cavidad de la cerradura, la tornaría inútil para usarla como llave aunque se pusiese en movimiento, por más que su tamaño y forma fuesen los adecuados, nunca cerraría ni abriría nada si de hecho no interviniese el movimiento; del mismo modo que sin un movimiento actual similar ni un cuchillo ni una navaja cortarían de hecho por más que su forma y otras cualidades pudiesen hacerlos adecuados a tal fin. El azufre, por más que tenga una disposición de sus partes para convertirse en llama, nunca se encenderá a menos que algún fuego actual u otra porción de materia vehemente y diversamente agitada ponga a los corpúsculos sulfurosos en un movimiento muy vivo.
III. Así establecidos estos dos grandes y más católicos principios de los cuerpos, la materia y el movimiento, seguirase no sólo que la materia ha de hallarse de hecho dividida en partes, siendo eso efecto genuino del movimiento diversamente determinado, sino también que cada uno de los fragmentos primitivos u otras masas de materia distintas y enteras han de poseer dos atributos, su propia magnitud o más bien tamaño y su propia figura o forma. Y puesto que la experiencia nos muestra (especialmente la suministrada por las operaciones químicas, en muchas de las cuales la materia se divide en partes demasiado pequeñas como para que se pueda percibir cada una de ellas) que esta división de la materia se realiza frecuentemente en corpúsculos o partículas imperceptibles, podemos concluir que tanto los más diminutos fragmentos como las mayores masas de la materia universal se hallan dotados por igual cada uno de ellos de su peculiar tamaño y forma. En efecto, al ser un cuerpo finito, sus dimensiones han de ser determinadas y medibles, y por más que pueda cambiar de figura, por la misma razón ha de tener necesariamente una u otra figura. Así pues, ahora hemos hallado y hemos de admitir tres propiedades esenciales de cada parte de materia entera o indivisa, aunque imperceptible; a saber, la magnitud (por la que entiendo no la cantidad en general, sino una cantidad determinada que a menudo llamamos en inglés el tamaño de un cuerpo), la forma y sea el movimiento o el reposo (pues entre ambos no se da intermedio). A las dos primeras de ellas podemos denominarlas accidentes inseparables de cada parte distinta de materia; inseparables porque, siendo extensas aunque finitas, resulta físicamente imposible que se hallen desprovistas de uno u otro tamaño y de una u otra forma; y sin embargo, accidentes, pues aunque la forma pueda o no alterarse o subdividirse el cuerpo mediante agentes físicos, con todo mentalmente puede hacerse lo uno o lo otro, permaneciendo intacta la plena esencia de la materia.
No me detendré ahora a considerar si estos accidentes se pueden denominar de manera lo bastante apropiada los modos o afecciones primarias de los cuerpos, para distinguirlas de esas cualidades menos simples (como los colores, sabores y olores) que pertenecen a los cuerpos debido a ellas; ni si, con los
epicureístas, no podrían denominarse los agregados de las menores partes de la materia. Mas hay una cosa que las modernas escuelas usan enseñar sobre los accidentes que repugna demasiado a nuestra presente doctrina como para que la silenciemos aquí; a saber, que en los cuerpos naturales hay un acopio de cualidades reales y otros accidentes reales que no sólo no son modos de la materia, sino que son entidades reales distintas de ella y, según la doctrina de muchos escolásticos modernos, pueden existir separadamente de toda materia cualquiera que sea. Para aclarar un poco este punto, hemos de tomar en cuenta que accidente se usa entre lógicos y filósofos en dos sentidos distintos, pues en ocasiones se opone al cuarto predicable (propiedad), definiéndose entonces como aquello que puede estar presente o ausente sin destrucción del sujeto, a la manera en que un hombre puede estar enfermo o sano y una pared ser blanca o no, siendo con todo el uno un hombre y la otra una pared. Este se denomina en las escuelas
accidem praedicabile para distinguirlo de lo que llaman
accidem praedicamentale que se opone a la substancia, pues cuando los lógicos dividen las cosas en diez predicamentos o géneros superiores de cosas, siendo la substancia uno de ellos, todos los otros nueve son de accidentes. Y así como una substancia se define por lo común como una cosa que subsiste por sí misma, siendo el sujeto de los accidentes (o más sencillamente, una entidad o cosa real que no precisa de ningún ser (creado) para poder existir), así se dice ordinariamente que un accidente es
id cujus esse est in esse [209] ; y así, Aristóteles, quien usualmente llama a las substancias simplemente öντα, entidades, por lo común llama a los accidentes öντοφ öντα, entidades de entidades, precisando éstos la existencia de una u otra substancia en la que puedan ser como en su sujeto de inhesión. Y puesto que los lógicos convierten en la nota que discrimina entre substancia y accidente el que la primera es una cosa que no puede ser en otra como en su sujeto de inhesión, es necesario saber que según ellos se dice que está en un sujeto aquello que posee estas tres condiciones: que aunque (1) esté en otra cosa, (2) no está en ella como una parte y (3) no puede existir separadamente de la cosa o sujeto en que está; así, una pared blanca es el sujeto de inhesión de la blancura que vemos en ella, la cual blancura, aunque no esté en la pared como parte suya, según nuestros lógicos, no puede existir la mismísima blancura en parte alguna fuera de la pared, aunque muchos otros cuerpos puedan tener el grado semejante de blancura. Suponiendo esto, no será difícil descubrir la falsedad de la recientemente mencionada opinión escolástica relativa a las cualidades y accidentes reales, cuya doctrina sobre ellos me parece, he de confesarlo, o ininteligible o manifiestamente contradictoria. En efecto, hablando en sentido físico, si no conceden que esos accidentes sean modos de la materia, sino que han de ser entidades realmente distintas de ella y en algunos casos separables de toda materia, los hacen ciertamente accidentes de nombre, si bien los representan bajo una idea tal que pertenece exclusivamente a las substancias, consistiendo la naturaleza de una substancia en esto, en que puede subsistir por sí misma sin estar en nada más como en un sujeto de inhesión. De manera que decimos que una cualidad u otro accidente puede subsistir sin un sujeto es sin duda, llámenlo como quieran llamarlo, concederle la verdadera naturaleza de la substancia. Sus distinciones sin fundamento no habrán de conseguir otra cosa que impedir que parezcan contradecirse con las palabras, siendo así que las personas no partidistas ven que de hecho lo hacen. Tampoco podría hallar nunca inteligiblemente explicado qué puedan ser estas cualidades reales a las que niegan ser bien materia o modos de la materia, bien substancias inmateriales. Cuando una bola rueda o está quieta, ese movimiento o reposo, o la figura globular de la bola, es algo y, sin embargo, no es una parte de la bola cuya substancia toda permanecería aunque le faltase lo que queráis de esos accidentes. Hacer de ellas entidades físicas y reales (pues no tenemos que habérnoslas aquí con las lógicas ni con las metafísicas) es como si porque podamos considerar al mismo hombre sentado, de pie, corriendo, sediento, hambriento, cansado, etc., hubiéramos de hacer de cada una de éstas una entidad distinta, puesto que les damos a algunas de ellas nombres distintos (como hambre, cansancio, etc.). Por el contrario, el sujeto de todas estas cualidades no es más que el mismo hombre, considerado en circunstancias que lo hacen aparecer en un marco diferente de lo que aparece en otros, pudiendo resultar muy útil para nuestro propósito presente observar que no sólo la diversidad de nombres, sino incluso la diversidad de definiciones, no siempre da lugar a una diversidad de entidades físicas en el sujeto al que se atribuyen, tal y como ocurre en muchos de los atributos físicos de un cuerpo, al igual que en esos otros casos en que un hombre que es un padre, un marido, un amo, un príncipe, etc., puede tener una definición peculiar (como la que permita la naturaleza de la cosa) perteneciéndole en cada una de esas condiciones, si bien el hombre en sí mismo considerado no es sino el mismo hombre que respecto a distintas condiciones o relaciones con otras cosas se denomina con distintos nombres, describiéndose mediante varias definiciones que sin embargo (como estaba diciendo) no implican tantas entidades reales y distintas en la persona tan variadamente denominada.
Una excursión acerca de la naturaleza relativa de las cualidades físicas.[210] Ahora bien, puesto que considero que esta idea tiene una importancia no pequeña para evitar el gran error que hasta ahora se ha producido acerca de la naturaleza de las cualidades, merecerá la pena ilustrarla un poco más. Podemos considerar que cuando
Tubal-Cain, o quien haya sido el herrero que inventó las cerraduras y las llaves, hizo su primera cerradura (pues podemos suponer razonablemente que la fabricó antes que la llave, por más que sea posible recurrir a la comparación sin suponer tal cosa), ésta no era más que un trozo de hierro dispuesto de esa forma. Cuando luego fabricó la llave para dicha cerradura, podemos considerar también que en sí misma no era más que un trozo de hierro con esa forma determinada; pero a la vista de que estos dos trozos de hierro podían ahora aplicarse el uno al otro de determinada manera, existiendo una congruencia entre las muescas de la cerradura y las de la llave, la cerradura y la llave adquirieron ahora cada una de ellas una nueva capacidad, tornándose en parte fundamental de la noción y descripción de la cerradura el ser susceptible de cerrarse o abrirse mediante ese trozo de hierro que llamamos llave, teniéndose por una facultad o virtud peculiar de la llave el ser adecuada para abrir y cerrar la cerradura. Sin embargo, con estos nuevos atributos no se añadía ninguna entidad real o física ni a la cerradura ni a la llave, y cada una de ellas no era ciertamente más que la misma pieza de hierro con la misma forma que antes. Así, cuando nuestro herrero hizo otras llaves de diferentes tamaños o con otras muescas, aunque la primera cerradura no se pudiese abrir con ninguna de estas llaves, tal indisposición, aunque se pudiese considerar como una virtud peculiar de resistir a esta o aquella llave, pudiendo servir para distinguirla suficientemente de las cerraduras a las que pertenecían aquellas llaves, no era en la cerradura nada nuevo o distinto de la figura que poseía antes de que se fabricasen las llaves. Llevando la comparación un poco más lejos, permítaseme añadir que aunque quien hubiese definido la primera cerradura y la primera llave les hubiera dado distintas definiciones, no obstante (como decía) al no darse estas definiciones más que por respecto a ciertas relaciones que los cuerpos definidos mantenían entre sí, ello no implicaría que ambos instrumentos de hierro difiriesen físicamente más que en figura, tamaño o disposición del hierro en que ambas consistían. Y consiguientemente, por lo que respecta a esas cualidades (por ejemplo) que llamamos sensibles, no veo por qué no podemos pensar que, aunque en virtud de cierta congruencia o incongruencia de la figura (o textura u otros atributos mecánicos) con nuestros sentidos las porciones de materia que modifican puedan producir varios efectos en razón de lo cual hacemos que los cuerpos estén dotados de cualidades, no obstante no hay en los cuerpos que están dotados de ellas ninguna entidad real distinta o diferente de la propia materia dotada de dicho determinado tamaño, figura u otras modificaciones mecánicas. Así, aunque los modernos orfebres y refinadores cuenten entre las mis distinguidas cualidades del oro, mediante las cuales las personas pueden asegurarse de que se trata del verdadero y no del falsificado, que sea fácilmente soluble en agua regia y que el agua fuerte no opere sobre él, no obstante esos atributos no son en el oro nada distinto de su peculiar textura, ni es el oro de que ahora disponemos de ninguna naturaleza distinta de la que tenía en época de
Plinio [211], cuando el agua fuerte y el agua regia aún no se habían descubierto (al menos en estas partes del mundo), siendo completamente desconocidas por los orfebres
romanos. He escogido más bien este ejemplo porque me da oportunidad de señalar que, a menos que admitamos la doctrina que he propuesto, hemos de aceptar que un cuerpo puede poseer un número casi infinito de nuevas entidades reales acumulándose en él sin la intervención de ningún cambio físico en el propio cuerpo. Por ejemplo, inmediatamente antes de que se prepararan por vez primera el agua regia y el agua fuerte, el oro era el mismo cuerpo natural que inmediatamente después, por más que ahora se considere una de sus principales propiedades ser disoluble por el primero de estos dos menstruos, no siendo como otros metales soluble o corrosible por el último. Y si se inventase otro menstruo (como posiblemente yo pueda pensar que domino uno de tal carácter
[212] ) que disuelva en parte el oro puro, cambiando una parte de él en otro cuerpo metálico, surgiría entonces otra nueva propiedad con la que distinguirlo de otros metales, y sin embargo el oro no es un ápice distinto ahora de lo que era antes de que se fabricase este último menstruo. Hay algunos cuerpos que no son purgantes ni sudoríficos, algunos de los cuales, al unirse al oro, adquieren una virtud purgativa, mientras que el oro confiere a otros la propiedad sudorífica. En una palabra, la propia naturaleza produce, en ocasiones por azar y en ocasiones no, muchas cosas que establecen nuevas relaciones con otras. El arte, especialmente asistido por la química, al disipar de diversos modos los cuerpos naturales o al componerlos sea a ellos o a sus partes constituyentes entre sí, puede producir tan innumerable compañía de nuevos productos, cada uno de los cuales ejercerá nuevas operaciones o inmediatamente sobre nuestros sentidos o sobre otros cuerpos cuyos cambios podamos percibir, que nadie es capaz de conocer la multitud de cualidades insoñables que pueden presentar los cuerpos más familiares. Ninguna persona reflexiva podrá imaginar que tan numerosa multitud de entidades físicas reales pueda desarrollarse en un cuerpo, cuando a juicio de todos nuestros sentidos permanece inalterado y el mismo que era antes.
Para aclarar esto un poco más, podemos añadir que comúnmente se incluye el cristal molido entre los venenos y recuerdo (dejando de lado lo que menciona
Sanctorio [213] de la disentería producida por sus fragmentos) que
Cardarlo [214] cuenta una historia según la cual en un convento en el que tenía una paciente a punto de morir de dolores en el estómago, ya habían muerto otras dos monjas por culpa de una loca que, habiéndose al acaso escapado, mezclara vidrio molido con unos guisantes que comieron esas tres y algunas otras hermanas (quienes, sin embargo, salieron bien paradas). Ahora bien, aunque los poderes de los venenos no sólo se consideren como cualidades reales, sino incluso como las más abstrusas, no obstante esta facultad deletérea que supuestamente es una entidad peculiar y sobreañadida al vidrio molido, en realidad no es nada distinto del propio vidrio (que, aunque sea un compuesto formado por ingredientes tan inocentes como sal y cenizas, es con todo un cuerpo duro y rígido) dotado de ese determinado tamaño y forma de las partes adquirido por trituración. En efecto, esos fragmentos de vidrio, siendo muchos, rígidos y un tanto pequeños (aunque sin ser tan pequeños como el polvo), dotados además de puntas agudas y aristas cortantes, son capaces mediante esas afecciones mecánicas de horadar y herir las tiernas membranas del estómago y los intestinos, cortando los sutiles vasos con los que allí topan. De ahí, naturalmente, los grandes cólicos y contorsiones de las partes dañadas y frecuentemente las hemorragias provocadas por la perforación de las arterias capilares y la gran irritación de la facultad excretora y en ocasiones también no sólo horridas convulsiones debidas a la concordancia del cerebro y cerebelo con algunas de las partes nerviosas o membranosas que resulten heridas, sino también hidropesías provocadas por la gran pérdida de sangre de la que hablábamos. Con esta conjetura concuerda muy bien el hecho de que se haya observado muchas veces que el cristal molido no ha provocado daño alguno a los animales que lo han tragado, pues no hay razón alguna para que así sea en caso de que los corpúsculos del polvo resulten tan pequeños como para no ser susceptibles de dañar los intestinos que usualmente están recubiertos por una substancia viscosa con la que los polvos muy diminutos pueden forrarse por así decir, viéndose de ese modo imposibilitados para herir los intestinos (a la manera en que se ha observado que un fragmento de vidrio con tres aristas muy afiladas permaneció sin daños durante más de dieciocho meses incluso en una parte nerviosa y muy sensible del cuerpo
[215] ), de los que se pueden expulsar sin daño con los más gruesos excrementos del bajo vientre, especialmente en el caso de algunos individuos cuyos intestinos y también el estómago pueden presentar una contextura mucho más fuerte, hallándose mejor recubiertos o embutidos con materia crasa y viscosa que los de otras personas. De acuerdo con ello, vemos que los médicos usan fragmentos de zafiros, cristales y aun rubíes que son mucho más duros que el vidrio de manera inocua aunque quizá no muy eficaz (muchas veces los he tomado sin inconveniente) en compuestos cordiales, dado que al molerlos se reducen a un polvo demasiado sutil para excoriar o raspar el estómago o los intestinos. Quizá se deba a ello el suceso relatado por
Cardano en el mismo lugar, cual es que si bien las tres monjas de que hablábamos se envenenaron con el vidrio, con todo muchas otras que comieron las demás raciones de los mismos guisantes mezclados no recibieron por ello daño alguno. (Pero sobre este tema hablaremos más en otro lugar.
[216] )
Esto me lleva a añadir que la multiplicidad de las cualidades que se encuentra a veces en los mismos cuerpos naturales no tiene por qué hacer que las personas rechacen la opinión que hemos estado proponiendo, persuadiéndolas de que tantos atributos distintos como los quise pueden encontrar en ocasiones en uno y en el mismo cuerpo natural no pueden proceder de la mera textura y otras afecciones mecánicas de su materia. En efecto, no hemos de considerar a cada cuerpo aisladamente tal y como es en sí mismo, una porción distinta y completa de materia, sino que hemos de considerarlo en cuanto parte del universo, situado por tanto entre un gran número y variedad de otros cuerpos sobre los que puede actuar y que pueden actuar sobre él de diferentes maneras (o bajo muchos respectos), cada una de las cuales los hombres usan concebir como una cualidad o virtud distinta del cuerpo mediante el que se producen esas acciones o en el que se producen esas pasiones. Si consideramos así las cosas, no nos asombrará demasiado que una porción de materia, ciertamente dotada de muy pocas afecciones mecánicas, como tal textura y movimiento determinado, aunque situada entre una multitud de otros cuerpos que difieren de ella y entre sí en esos atributos, sea capaz de presentar un gran número y variedad de relaciones con esos otros cuerpos, viéndose por tanto obligados a pensar que tiene muchas cualidades inherentes distintas aquéllos que consideren esas diversas relaciones o respectos que pueda tener con cuerpos fuera de ella como entidades reales y distintas implantadas en el cuerpo mismo. Cuando un reloj ingenioso se encuentra en marcha, por más que el resorte sea el que pone en movimiento todas las partes, no imaginamos (cosa que quizá haría un
indio o un
chino) que en ese resorte haya una facultad de mover la aguja uniformemente en torno a la esfera, otra de dar la hora y quizá una tercera de hacer sonar el despertador, indicar las fases de la Lima o las mareas, pues la única acción del resorte (que no es más que una pieza flexible de acero enrollada a la fuerza) no consiste más que en tratar de dilatarse o desenrollarse, realizándose el resto gracias a las diversas relaciones que mantiene con los diferentes cuerpos (que componen el reloj) entre los que se halla y a las que éstos mantienen entre sí. Todos sabemos que el Sol posee la virtud de endurecer el barro, ¡ablandar la cera, derretir la mantequilla, fundir el hielo, convertir el agua en vapores y hacer que el aire se expanda en un tubo del tiempo
[217], contribuyendo a blanquear la ropa, a poner morena la piel blanca de la cara, amarilla la hierba cortada, a madurar el fruto, a incubar los huevos de los gusanos de seda, orugas e insectos similares y a realizar no sé cuántas otras cosas distintas, muchas de las cuales parecen efectos contrarios. Sin embargo, no se trata de distintas virtudes o facultades del Sol, sino tan solo de productos de su calor (que no es a su vez sino el movimiento local vivo y confuso de las diminutas partes de un cuerpo) diversificado por las diferentes texturas del cuerpo en el que le toca operar y la situación de los otros cuerpos implicados en la operación. Por tanto, aunque el Sol tenga un influjo distinto de su luz y calor, vemos que todos esos fenómenos que hemos tenido a bien nombrar son producibles por el calor del fuego ordinario de la cocina debidamente aplicado y regulado. Y para poner un ejemplo de otro tipo, cuando hace algunos años, para ensayar algunos experimentos sobre la propagación del movimiento con cuerpos menos susceptibles de abollarse unos a otros que aquéllos que se habían utilizado anteriormente, hice fabricar especialmente unas bolas macizas de hierro habilidosamente endurecidas y exquisitamente conformadas y vidriadas, cada una de esas bolas pulimentadas constituía un espejo esférico que, situado en el centro de una habitación, mostraba las imágenes de los objetos entorno con una perspectiva muy regular y grata. Contraía la imagen de quien la miraba, curvándola, y mostraba dicha imagen como si se hallase detrás de la superficie y en el interior de la substancia sólida de la esfera; en suma, poseía todas esas propiedades claras, y algunas de ellas maravillosas, que tanto los autores antiguos como los modernos sobre catóptrica
[218] han demostrado que corresponden a los espejos esféricos como tales. Sin embargo, el globo dotado de todas estas propiedades y afecciones no era más que el propio hierro reducido por el artífice a una figura esférica (pues el vidrio que lo tornaba especular no era distinto de las partes superficiales del hierro, reducidas todas ellas a una distancia físicamente igual al centro). En un tris se puede hacer gran cantidad de espejos lo bastante esféricos a los sentidos, rompiendo una gota grande de mercurio en varias pequeñas, cada una de las cuales servirá para objetos situados muy cerca de ella, y la menor (que es la menos hundida en el medio por su propio peso, siendo por consiguiente más perfectamente globular) puede proporcionar, con un buen microscopio situado en una ventana, una visión nada desagradable de los objetos vecinos. Pues bien, para reducir una porción del mercurio contenido en el recipiente, que emulará en gran medida a un espejo plano, a muchos de esos pequeños espejos esféricos cuyas propiedades son tan distintas de las de los planos, no hace falta más que la intervención de un ligero movimiento local que, en un abrir y cerrar de ojos, cambie la forma de la mismísima materia.
Todo cuanto he dicho, Pirófilo, está orientado a eliminar el error de que todo cuanto la gente usa llamar una cualidad ha de ser necesariamente una entidad real y física, pues el tema es importante. No obstante, he omitido algunas cosas que podrían haberse añadido oportunamente, en parte porque puedo tener en adelante ocasión de incorporarlas, y en parte por no alargar más esta digresión que, no obstante, no he de concluir hasta haber añadido esta breve advertencia.
He decidido explicar lo que entiendo por cualidades sirviéndome más bien de ejemplos que de definiciones, en parte porque siendo inmediata o reductivamente los objetos de la sensación, las personas comprenden bastante bien qué se quiere decir cuando se les habla de ellas, a la manera en que decir que el sabor de tal cosa es salado o agrio, o que tal sonido es melodioso, estridente o chirriante (especialmente si cuando hablamos de cualidades sensibles añadimos alguna enumeración de objetos particulares en los que residen de manera más prominente) hará que se entienda lo que alguien dice mejor que si se dedicase a dar definiciones lógicas de dichas cualidades; y en parte porque las nociones de las cosas aún no están tan bien establecidas y convenidas, siendo muchas veces difícil asignarles su verdadero género. El propio
Aristóteles no sólo define los accidentes sin establecer su género, sino que además, cuando llega a la definición de las cualidades, nos dice que la cualidad es aquello por lo que se dice que una cosa es
qualis; de donde te llamaría la atención tanto sobre el hecho de que en esta definición omite el género, cuanto sobre que no resulta tan fácil dar una muy buena definición de las cualidades, dado que el que se tiene por el gran maestro de la lógica, cuando pretende damos una, a este respecto define la cosa mediante la misma cosa, ya que supuestamente tanto se ignora lo que es
qualis como lo que es
qualitas. Pienso que hace lo mismo que si yo definiese la blancura como aquello por lo cual una cosa se dice blanca, o la virtud como aquello por lo que se dice que una persona es virtuosa
[219].
Aparte de eso, mucho dudo que esa definición no sea falsa a la par que obscura, pues a la pregunta Qualis res es ti se puede responder a base de algunos, si no todos, de los otros predicamentos de accidentes, y siendo conscientes de ello, algunos de los lógicos modernos, han tratado de salvar el problema con ciertas advertencias y limitaciones que por más que muestren el ingenio de sus inventores, nos siguen dejando, que yo sepa, sin una definición correcta e inteligible de la cualidad en general, por más que dar con ella quizá sea una tarea mucho más fácil que definir muchas cualidades que pueden nombrarse en particular, como lo salado, lo agrio, verde, azul y muchas otras tales que todo el mundo sabe qué se entiende por ellas cuando las oye nombrar, aunque nadie (que yo sepa) haya sido capaz de dar definiciones adecuadas de ellas.
IV. Si concibiésemos que todo el resto del universo fuese aniquilado, excepción hecha de uno de estos corpúsculos enteros e indivisos (de que hablábamos en el tercer punto anterior), es difícil decir qué se le podría atribuir aparte de materia, movimiento (o reposo), tamaño y forma. De donde, dicho sea de paso, se puede colegir que el tamaño, aunque usualmente se tome en sentido comparativo, en nuestra acepción es una cosa absoluta, pues un cuerpo habría de tenerlo aunque no hubiese otro en el mundo. Ahora bien, habiendo de hecho en el universo grandes multitudes de corpúsculos entremezclados, en cualquier porción distinta de materia que componga un cierto número de ellos surgen dos nuevos accidente o eventos: el uno hace más bien referencia a cada corpúsculo particular con relación a los (real o supuestamente) cuerpos estables en torno, a saber, su postura (sea erecta, inclinada u horizontal); y cuando dos o más de dichos cuerpos se colocan juntos, el modo de colocarse, como el uno al lado del otro o uno detrás de otro, se puede denominar su orden. Según recuerdo, Aristóteles en su Metafísica, lib. I, cap. 4, recita este ejemplo tomado de los antiguos corpuscularistas, que A y N difieren en figura y AN y NA en orden, mientras que Z y N lo hacen en situación, y ciertamente la postura y el orden parece ser ambos reductibles a la situación. Cuando muchos corpúsculos se reúnen así para componer un cuerpo distinto, como una piedra o un metal, entonces de sus otros accidentes (o modos) y de estos dos últimamente mencionados emerge una cierta disposición u organización de las partes en el todo que podemos llamar su textura.
V. Y si imaginásemos que todo el resto del universo se aniquilara salvo uno de esos cuerpos, pongamos por caso un metal o una piedra, sería difícil mostrar que haya físicamente en él algo más que materia y los accidentes que acabamos de nombrar. Mas hemos de considerar ahora que de facto hay en el mundo ciertos seres sensibles y racionales que llamamos hombres; y al poseer el cuerpo del hombre diversas partes externas, como el ojo, el oído, etc., cada una de distinta y peculiar textura, con las que es capaz de recibir impresiones de los cuerpos entorno a él, razón por la que se denominan órganos de los sentidos, hemos de considerar, digo, que sobre estos sentidos puede operar la figura, forma, movimiento y textura de los cuerpos externos a ellos según diversos modos, siendo algunos de esos cuerpos externos adecuados para afectar al ojo, otros al oído, otros al olfato, etc. Dado que también cada uno de los órganos de los sentidos, como el ojo o el paladar, puede a su vez ser diversamente afectado por los objetos externos, asimismo el intelecto da a los objetos del mismo sentido distintas apelaciones, llamando verde a un color, azul a otro, y a un sabor dulce, a otro amargo, etc. De donde los hombres se han visto inducidos a tramar un largo catálogo de tales cosas que, al relacionarse con nuestros sentidos, llamamos cualidades sensibles. Y dado que nos hemos familiarizado con ellas antes de alcanzar el uso de razón, y el intelecto humano es proclive a concebir casi cualquier cosa (incluso privaciones, como la ceguera, la muerte, etc.,) bajo la idea de una verdadera entidad o substancia como él mismo es, desde nuestra infancia hemos estado dispuestos a imaginar que estas cualidades sensibles son seres reales en los objetos que denominan, teniendo la facultad o virtud de obrar tales y cuales cosas, a la manera en que la gravedad tiene la virtud de detener el movimiento de una bala disparada hacia arriba, llevando a ese globo sólido de materia hacia el centro de la tierra, siendo así que en realidad (según lo que hemos mostrado por extenso más arriba) nada hay en el cuerpo al que se atribuyen estas cualidades sensibles que sea real y físico, a excepción del tamaño, forma y movimiento o reposo de sus partículas componentes, junto con esa textura del todo que deriva de hallarse dispuestas como lo están. Tampoco es preciso que tengan en ellos algo más, como las ideas que provocan en nosotros, siendo dichas ideas o bien el efecto de nuestros prejuicios o inadvertencias, o bien alcanzándose por la relación que resulta darse entre esos accidentes primarios del objeto sensible y la peculiar textura del órgano que afecta; así, cuando un alfiler se clava en mi dedo provocando dolor, no hay una cualidad distinta en el alfiler que responda a lo que yo pueda concebir que sea el dolor, sino que el alfiler en sí mismo es tan sólo alargado, rígido y agudo, provocando mediante esas cualidades una solución de continuidad en mi órgano del tacto, con lo que, por razón de la estructura del cuerpo y la unión íntima del alma con él, surge ese tipo molesto de percepción que llamamos dolor, y mostraré inmediatamente más en concreto en qué medida eso depende de la peculiar estructura del cuerpo.
VI. Mas preveo aquí una dificultad que, siendo tal vez la principal de aquéllas con las que habremos de topamos en contra de la hipótesis corpuscular, merece la pena que demos cuenta de ella antes de seguir adelante. Es la siguiente, que mientras que explicamos los colores, olores y cualidades sensibles semejantes por relación con nuestros sentidos, parece evidente que poseen un ser absoluto sin relación con nosotros. Así la nieve (por ejemplo) sería blanca y un carbón encendido estaría caliente aun cuando no hubiera ningún hombre u otro animal en el mundo, siendo patente que los cuerpos no sólo operan mediante sus cualidades sobre nuestros sentidos, sino también sobre otros cuerpos esta vez inanimados. Así el carbón no solo calentará y quemará la mano un hombre que lo toque, sino que asimismo calentará la cera (hasta el punto de derretirla haciéndola fluir) y fundirá el hielo en agua aun cuando todos los hombre y los seres sensibles del mundo se hubiesen aniquilado. Para eliminar esta dificultad tengo varias cosas que ofrecer; a saber:
- No digo que no haya otros accidentes en los cuerpos a parte de los colores, olores y similares, pues ya he enseñado que hay afecciones más simples y primitivas de la materia de las que dependen estas cualidades secundarias, si se las puede llamar así; y que las operaciones de los cuerpos los unos sobre los otros surgen de ellas es algo que veremos más adelante.
- Tampoco digo que todas las cualidades de los cuerpos sean directamente sensibles, sino que observo que cuando un cuerpo opera sobre otro, el conocimiento que tenemos de su operación procede sea de alguna cualidad sensible, sea de alguna afección más católica de la materia, como el movimiento, el reposo o la textura generada o destruida en uno de ellos, pues de otro modo es difícil concebir cómo podemos llegar a descubrir que pasa entre ellos.
- No hemos de considerar a todo cuerpo distinto que opere sobre nuestros sentidos como un mero montón de materia del tamaño y forma externa con que aparece, teniendo muchos de ellos sus partes curiosamente dispuestas y quizá también la mayoría de ellas en movimiento. Tampoco hemos de considerar al universo que nos rodea como un montón de materia inmóvil e indistinto, sino como una gran máquina que, al no presentar un vacío entre sus partes o no presentándolo considerable (que sepamos), las acciones de los cuerpos particulares unos sobre otros no han de considerarse meramente como si dos porciones de materia de su tamaño y figura estuviesen situadas en algún lugar imaginario más allá del mundo, sino como situadas en el punto tal y como es ahora, poseyendo consiguientemente la posibilidad de que su acción de una sobre otra sea promovida, estorba- a o modificada por la acción de otros cuerpos además de ellos; a la manera en que, en un reloj, una pequeña fuerza aplicada a mover la aguja hasta el número XII, hará que el martillo golpee frecuente y enérgicamente contra la campana, provocando una conmoción entre las ruedas y pesos mucho mayor de la que ejercería una fuerza mucho mayor en caso de que la textura y disposición del reloj no contribuyese poderosamente a la producción de tan notable efecto. Asimismo, cuando se agita el agua produciendo espuma, la blancura nunca se produciría mediante ese movimiento si no fuera porque el Sol u otro cuerpo luminoso brillase sobre ese agregado de pequeñas burbujas, permitiéndoles reflejar confusamente al ojo una gran cantidad de imágenes pequeñas y por así decir contiguas. Igualmente, dar a un gran espejo metálico una figura cóncava nunca le permitiría prender fuego a la madera, fundiendo incluso los metales con rapidez, si los rayos del Sol que llenan sensiblemente el aire en los días despejados no fuesen lanzados juntos a un punto mediante la concavidad. A fin de mostraros con un ejemplo notable cuán variados y cuán distintos efectos puede producir la misma acción de un agente natural en las diversas disposiciones de los cuerpos sobre los que opera, basta con que consideréis que en dos huevos, el uno fecundado y el otro estéril, antes de la incubación los sentidos no pueden tal vez distinguir diferencia alguna, y con todo estos dos cuerpos externamente tan semejantes difieren en la disposición interna de sus partes, de modo que si ambos se exponen al mismo grado de calor (sea de la gallina o de un horno artificial), ese calor convertirá a uno de ellos en una substancia pútrida y hedionda y al otro en un pollo dotado de una gran variedad de partes orgánicas de muy distintas consistencias y texturas tan curiosas como diversas.
- No niego que se pueda decir en un sentido muy generoso que los cuerpos poseen esas cualidades que denominamos sensibles aun cuando no hubiera animales en el mundo. En efecto, en tal caso un cuerpo puede diferir de aquellos cuerpos que ahora se hallan totalmente desprovistos de cualidad por poseer una disposición de sus corpúsculos constituyentes tal que, en caso de que se aplicase debidamente a los sentidos de un animal, produciría esa cualidad sensible que no habría de producir un cuerpo con otra textura. Si bien en caso de no existir anima- es no habría dolor, con todo, debido a su forma, un alfiler podría ser adecuado para provocar dolor en caso de que se moviese contra el dedo de una persona, siendo así que una bala u otro cuerpo romo movido contra ese dedo con fuerza no superior, no habría de provocar semejante percepción de dolor. Asimismo, la nieve, aunque en caso de no haber en el mundo ningún cuerpo luminoso ni órgano de los sentidos, no habría de exhibir color alguno (pues yo no podría hallar que poseyese alguno en lugares completamente obscuro^), con todo poseería una disposición mayor que el carbón o el hollín para reflejar hacia afuera gran cantidad de luz cuando el Sol brillara sobretodos tres. Y así decimos que un laúd está afinado, tóquese o no, cuando sus cuerdas se hallan todas ellas tensadas de tal modo que pareciese estar afinado en caso dique se tocase. Ahora bien, si se clavase un alfiler en el dedo de una persona un poco antes y un poco después de su muerte, por más que el alfiler sea tan agudo en un caso como en otro, produciendo igualmente en ambos casos una solución de continuidad, con todo, la acción del alfiler producirá dolor en el primero de los casos y no en el último, pues en este caso el cuerpo pinchado carece de alma y, por ende, de facultad perceptiva. De este modo, si no hubiese cuerpos sensibles, esos cuerpos que ahora son los objetos de nuestros sentidos no estarían dotados más que dispositivamente, por así decir, de colores, sabores y similares, no poseyendo de hecho más que esas afecciones más católicas de los cuerpos, figura, movimiento, textura, etc. A fin de ejemplificar esto un poco más aún, supongamos que una persona golpea un tambor a cierta distancia de la boca de una cueva convenientemente situada para devolver el ruido que produce. Pues bien, aunque la gente concluya de hecho que la cueva tiene eco, siendo proclive por ello a imaginar alguna propiedad real en el lugar en el que se dice que hay eco, y aunque ciertamente el mismo ruido producido en muchos otros de los lugares vecinos no se refleje hasta el oído, con lo que esos Tugares mostrarán no tener eco, con todo, hablando físicamente de las cosas, esta propiedad o cualidad peculiar que imaginamos en la cueva no es en ella otra cosa que la concavidad de su forma, mediante la que se halla de este modo dispuesta, como cuando el aire golpea contra ella, a reflejar el movimiento hacia el lugar desde el que comenzó dicho movimiento. Lo que ocurrió en esta ocasión no es ciertamente más que esto, que las baquetas que caen sobre el tambor percuten el aire poniendo a este cuerpo fluido en un movimiento ondulatorio y las ondas del aire, empujándose unas a otras hasta llegar a la superficie cóncava de la cueva, debido a su resistencia y figura, ven su movimiento dirigido en sentido contrario; es decir, hacia atrás, hacia aquel lugar en que se hallaba el tambor cuando fue golpeado. Así pues, en lo que aquí ocurre no interviene más que la figura de un cuerpo y el movimiento de otro, por más que si el oído de una persona viene a estar en el camino de estos movimientos del aire hacia adelante y hacia atrás, le suministran su percepción, que llama sonido. Dado que estas percepciones que se supone proceden de la misma percusión del tambor, y por ende del aire, se realizan en distintos momentos, una después de la otra, se imagina que ese cuerpo hueco, del que se piensa que sale al aire el último sonido, posee una facultad peculiar, motivo por el cual la gente tiende a decir que tal lugar tiene eco.
- Si bien un cuerpo parece a menudo producir en otro diversas cualidades de esas que llamamos sensibles, las cuales por consiguiente no parecen precisar referencia alguna a nuestros sentidos, con todo yo considero que cuando un cuerpo inanimado opera sobre otro, el agente no produce realmente nada en el paciente salvo cierto movimiento local de sus partes o cierto cambio en la textura consiguiente a dicho movimiento. Así, si el paciente llega a poseer alguna cualidad sensible que antes no tenía, la adquiere por la misma razón por la que la poseen otros cuerpos, no siendo más que una consecuencia de este cambio mecánico de textura el que, por medio de sus efectos sobre nuestros órganos de los sentidos, nos veamos inducidos a atribuirle esta o aquella cualidad sensible. En caso de que ocurra que un alfiler se vea llevado por algún cuerpo inanimado contra el dedo de una persona, lo único que hace el agente es poner un cuerpo agudo y fino en tal clase de movimiento; y lo que hace el alfiler es introducirse en un cuerpo con el que topa que no es lo bastante duro como para resistir a su movimiento. El que de ello se siga una cosa como el dolor no es más que una consecuencia que nada añade de real al alfiler que ocasiona el dolor. Así, si merced a la caída de un cuerpo pesado y duro sobre un trozo de hielo transparente, éste se rompe en un polvo grueso que parece blanquecino, el cuerpo que cae no hace al hielo más que romperlo en pequeñísimos fragmentos que yacen confusamente unos sobre otros, por más que, debido a la estructura del mundo y de nuestros ojos, se siguiese durante el día y gracias a dicha trituración ese tipo de copiosa reflexión de la luz incidente hacia nuestros ojos que denominamos blancura. Y cuando el Sol, fundiendo este hielo roto, destruye la blancura de esa porción de materia haciendo que se torne diáfana, cosa que antes no era, no hace más que alterar la textura de las partes componentes poniéndolas en movimiento y por ende en un nuevo orden con el que, debido a la disposición de los poros interpuestos entre ellas, no reflejan más que unos pocos de los haces incidentes de luz, transmitiendo la mayoría de ellos. Así, cuando con un pulidor se bruñe un trozo rugoso de plata, lo único que se produce en realidad es la depresión de las pequeñas partes protuberantes, poniéndolas al mismo nivel que el resto de la superficie. Sin embargo, debido a este cambio mecánico de la textura de las partes superficiales, las personas decimos que ha perdido la cualidad de la rugosidad, adquiriendo la de la lisura, ya que mientras que anteriormente las pequeñas protuberancias resistían un tanto con su forma al movimiento de nuestros dedos, raspándolos un poco, ahora éstos no se encuentran con dicha resistencia desagradable. Es cierto que el fuego funde el hielo y hace también fluida la cera, permitiéndole quemar la mano de una persona; sin embargo, ello no muestra necesariamente que haya en él una cualidad inherente de calor distinta de la virtud que posee de poner las pequeñas partes de la cera en un movimiento tal que su agitación vence a su cohesión. Dicho movimiento, junto con su gravedad, es suficiente para hacerlas pro tempore formar un cuerpo fluido. Asimismo, el agua fuerte sin ningún calor (sensible) hará que el alcanfor arrojado a ella adopte la forma de un líquido distinto de ella, y he experimentado que un fuego fuerte hará también fluido al alcanfor, por no añadir que conozco un líquido que, al poner en él algunos cuerpos, estando él (tanto como ellos) de hecho frío (con lo que no se sospecharía que tuviese un calor inherente actual), no sólo disipará rápidamente en humo muchas de sus partes, sino que además dejará el resto negro y quemado casi como un carbón. Así pues, aunque supongamos que el fuego no hace más que agitar diversa y bruscamente las partes imperceptibles de la cera, ello puede bastar para nacernos pensar que la cera se halla dotada de una cualidad de calor, puesto que si tal agitación es mayor que la del espíritu y otras partes de nuestros órganos del tacto, ello asta para producir en nosotros esa sensación que llamamos calor, la cual es hasta tal punto relativa a los sentidos que la aprehenden, que vemos que la misma agua tibia, esto es, aquélla cuyos corpúsculos están moderadamente agitados por el fuego, parecerá caliente a una mano de una persona si está muy fría, y fría a la otra en caso de que se halle muy caliente, por más que ambas sean las manos de la misma persona. Dicho sea brevemente, si imaginamos que un par cualquiera de los cuerpos que hay entorno nuestro, como una piedra, un metal, etc., nada tiene que ver en absoluto con cualquier otro cuerpo del universo, no es fácil concebir ni que uno pueda actuar sobre el otro si no es mediante el movimiento local (de todo el cuerpo o de sus efluvios corpóreos) ni que mediante el movimiento pueda hacer algo más que poner también en movimiento las partes de otro cuerpo, produciendo de ese modo en ellas un cambio de situación y textura o de alguna otra de sus afecciones mecánicas. Ahora bien, si este cuerpo (pasivo) se coloca entre otros cuerpos en un mundo constituido como lo está ahora el nuestro, viéndose llevado a actuar sobre los curiosísimamente ideados sentidos de los animales, puede por ambas razones exhibir muchos fenómenos sensibles diversos, los cuales, aunque los consideremos como cualidades distintas, no son por consiguiente más que los efectos de las a menudo mencionadas afecciones católicas de la materia, deducibles del tamaño, forma, movimiento (o reposo), postura, orden y la resultante textura de las partes insensibles de los cuerpos. Por consiguiente, si bien en aras de la brevedad no tendré ningún escrúpulo a la hora de usar la palabra cualidades, dado que ya goza de tan general aceptación, no obstante habrá de entenderse que la uso en un sentido conforme a la doctrina arriba expuesta. Como si al decir que la rugosidad puede rozar y dañar la piel quisiese dar a entender que una lima u otro cuerpo, al tener en su superficie una multitud de partes sobresalientes pequeñas y duras, con una figura angular aguda, se halla cualificada para operar el efecto mencionado; así, si dijese que el calor funde los metales, querría decir que esta fusión la realiza el fuego o algún otro cuerpo que, por el diverso y vehemente movimientos de sus partes insensibles, nos parece caliente. Y de ahí (dicho sea de paso) supongo que fácilmente colegiréis qué pienso yo de la controversia con tanto calor disputada últimamente por dos facciones de sabios, en la que una de ellas haría que todos los accidentes operasen tan sólo en virtud de la materia en que residen, haciendo la otra que la materia actuase tan sólo en virtud de sus accidentes; en efecto, considerando que por un lado las cualidades de las que aquí hablamos dependen de tal modo de la materia que sólo pueden tener el ser en y por ella, y considerando por otro lado que no se puede concebir cómo podría operar en absoluto la materia si toda ella se hallase completamente desprovista de movimiento (por no hablar ahora de otros accidentes), considero más seguro concluir que no es ni la materia ni las cualidades separadas, sino ambas conjuntamente, las que realizan lo que vemos que los cuerpos se hacen unos a otros, según la doctrina de las cualidades que ahora acabamos de exponer.
VII.Sobre la naturaleza de una Forma: Podemos avanzar un poco más y considerar que los hombres, habiendo constatado que ciertos accidentes conspicuos se hallarían asociados en algunos cuerpos y otras colecciones de accidentes en otros, por comodidad y para expresar más expeditivamente sus ideas, acordaron separarlos en diversas categorías que denominan géneros o especies, según que los dirijan hacia arriba, hacia una clase de cuerpos más comprensiva, o hacia abajo, hacia una especie más restringida o hacia los individuos. Así, al observar que muchos cuerpos concordaban en ser fusibles, maleables, pesados y similares, dieron a este tipo de cuerpo el nombre de metal, que constituye un género por respecto al oro, la plata, el plomo, aunque es tan sólo una especie por respecto a ese tipo de cuerpos mixtos que denominan
fossilia [220], comprendiendo este género superior tanto a los metales como a las piedras y otras diversas concreciones, por más que no sea a su vez más que una especie respecto a los cuerpos mixtos. Ahora bien, cuando un cuerpo cualquiera se remite a una especie particular (como metal, piedra o similares) debido a que los hombres han decidido por conveniencia designar con un nombre todos los aspectos esenciales requeridos para constituir dicho cuerpo, la mayoría de los autores de física han tendido a pensar que, además de la materia común de todos los cuerpos, hay una sola cosa que distingue esa clase de otras, naciéndola lo que es, cosa que en aras de la brevedad llaman una Forma. Y dado que todas las cualidades y demás accidentes del cuerpo han de depender de ella, imaginan también que es una genuina substancia e incluso una especie de alma que, unida a la materia bruta, forma con ella un cuerpo natural y actúa en ella mediante las diversas cualidades que allí se encuentran y que la gente usa atribuir a la criatura así compuesta. Mas a este respecto he de observar que si (por ejemplo) se le pregunta a una persona qué es el oro, si no puede mostraros un trozo de oro y deciros que esto es oro, os lo describirá como un cuerpo extremadamente pesado, muy maleable y dúctil, fusible y sin embargo fijo en el fuego y de color amarillento; y si ofrecéis cambiarle un trozo de bronce por uno de oro, de inmediato rehusará hacerlo y (si entiende de metales) os dirá que aunque vuestro bronce tenga el mismo color, no es tan pesado ni tan maleable ni resistirá como el oro el máximo fragor del fuego o el agua fuerte. Y si se pregunta a la gente qué entiende por carbúnculo, nitro o perla, seguirá dando respuestas tales que claramente se podrá percibir que por más que las personas hablen en teoría de Formas substanciales, con todo aquello en lo que se-basan para distinguir realmente un cuerpo de otros, remitiéndolo a esta o aquella especie de cuerpos, no es otra cosa que un agregado o reunión de aquellos accidentes que la mayoría de las personas consideran necesarios y suficientes merced a una especie de acuerdo (pues el asunto es más arbitrario de lo que somos conscientes) para hacer que una porción de la materia universal pertenezca a este o aquel determinado género o especie de cuerpos naturales. Por tanto, no sólo la generalidad de los químicos, sino diversos filósofos y, lo que es más, incluso algunos de los escolásticos, mantienen la posibilidad de transmutar los metales más innobles en oro, lo que habla a favor de que si alguien pudiese hacer que una porción de materia fuese amarilla, maleable, pesada, fija en el fuego, indisoluble en la prueba del agua fuerte, poseyendo en suma la reunión de todos esos accidentes mediante los que la gente distingue el oro verdadero del falso, la tomarían sin escrúpulos por verdadero oro. En tal caso, la generalidad del género humano dejaría a los doctores de la escuela la discusión de si, siendo un cuerpo artificial (al ser producido por el arte del químico), posee la forma substancial del oro y, teniendo en cuenta la concurrencia de los recientemente mencionados accidentes, le permitirían circular libremente entre sí, a pesar de que la mayoría de los hombres procuran no verse engañados en asunto de tal naturaleza, poniendo en ello mayor cuidado que en ningún otro. Ciertamente, puesto que a cada especie determinada de cuerpos pertenece más de una cualidad y, en la mayor parte, la concurrencia de muchos es tan esencial para ese tipo de cuerpos que la falta de una cualquiera de ellas basta para excluirlo de la pertenencia a dicha especie, nada más se precisa para discriminar suficientemente cualquier tipo de cuerpos de todos los demás cuerpos del mundo que no son de esa clase. Así, la
luna fixa [221] de los químicos, a la que, según nos dicen, no le falta ni el peso ni la maleabilidad ni la fijeza ni cualquier otra propiedad del oro, excepto el carácter amarillo (lo que les hace denominarla oro blanco), en virtud de la falta de color se distinguirá fácilmente del oro verdadero. Y no resultará esto asombroso si se repara en que, aunque esferas y paralelepípedos no difieran más que en la forma, con todo esa sola diferencia es la base de tantas otras que
Euclides y otros geómetras han demostrado no sé cuántas propiedades de la una que en absoluto pertenecen a la otra. El propio
Aristóteles dice en alguna parte
[222] que una esfera se compone de bronce y redondez. Supongo que se consideraría culpa de la propia persona que ésta no pudiese distinguir una aguja de una lima o una llave de unas tijeras, aunque estando todas ellas hechas de hierro y no difiriendo más que en tamaño y forma, son menos notablemente distintas que los cuerpos naturales, la mayoría de los cuales difieren entre sí en muchos más de dos accidentes. Tampoco tenemos por qué pensar que, al no ser las cualidades más que accidentes, no puedan ser esenciales para un cuerpo natural, pues el accidente, como señalé más arriba, se opone a veces a substancia y a veces a esencia. Y aunque un accidente no pueda menos de ser accidental para la materia que es algo substancial, con todo puede ser esencial para este o aquel cuerpo particular. Así, en el recientemente mencionado ejemplo de
Aristóteles, aunque la redondez no sea más que accidental para el bronce, con todo es esencial para una esfera de bronce, pues aunque el bronce estuviese privado de redondez (como ocurriría si fuese cúbico o de cualquier otra figura) seguiría siendo una substancia corpórea, pero sin dicha redondez no podría ser una esfera. Por tanto, dado que un agregado o reunión de cualidades basta para hacer que la porción de materia en que se halla sea lo que es, denominándola una de estas o aquellas clases de cuerpos, y dado que esas cualidades que ya hemos visto proceden a su vez de esas afecciones de la materia más primarias y católicas, tamaño, figura, movimiento o reposo y la textura que de ahí resulta, por qué no podríamos decir que la Forma de un cuerpo compuesto de esas cualidades unidas en un sujeto consiste asimismo en la reunión de esas recientemente mencionadas afecciones mecánicas de la materia, necesaria para constituir un cuerpo de esa clase determinada. Así, aunque en aras de la brevedad conserve la palabra Forma, con todo se entenderá que con ella me refiero no a una substancia real distinta e la materia, sino tan sólo a la propia materia de un cuerpo natural considerado con su modo peculiar de existencia, que creo que se puede llamar sin inconveniente su estado específico o denominativo, o su modificación esencial, o si se prefiere que lo exprese con una palabra, su sello. En efecto, tal reunión de accidentes es suficiente para realizar los oficios que necesariamente se requieren de lo que la gente llama una Forma, puesto que hace al cuerpo tal como es, haciéndolo pertenecer a esta o aquella especie determinada de cuerpos, distinguiéndolo de todas las demás especies cualesquiera de cuerpos. Así, por ejemplo, el peso, la ductilidad, la fijeza, el carácter amarillo y algunas otras cualidades que concurren en una porción de materia constituyen con ella el oro, haciéndolo pertenecer a esa especie que llamamos metales y a ese tipo de metales que llamamos oro, dándole a la vez el nombre y distinguiéndolo de las piedras, sales, marcasitas
[223] y todos los demás tipos de cuerpos que no son metales, y de la plata, bronce, cobre y todos los metales excepto el oro. Y mientras que hay quienes dicen que la Forma de un cuerpo también debería ser el principio de su operar, más adelante consideraremos en qué sentido tal cosa ha de admitirse o rechazarse; entretanto puede bastamos que incluso en la filosofía vulgar se reconoce que las cosas naturales operan en su mayor parte por sus cualidades, a la manera en que la nieve ofusca los ojos con su blancura y el agua dispersada en gotas de lluvia cae desde las nubes debido a su gravedad. A lo cual añadiré que cuán grande pueda ser el poder que es susceptible de ejercer un cuerpo en virtud de una única cualidad es algo que puede verse por los diversos y a menudo prodigiosos efectos que el niego produce merced a su calor, cuando con él funde los metales, calcina las piedras, destruye ciudades y bosques enteros, etc. Y si varias cualidades activas convienen en un cuerpo (puesto que lo que en nuestra hipótesis se entiende por Forma comprende usualmente varias de ellas), cuán grandes cosas pueden realizarse mediante ellas es algo que puede columbrarse un tanto por las extrañas cosas que vemos hacer a algunas máquinas que estando en cuanto máquinas sin duda desprovistas de Formas substanciales, han de realizar esas cosas extrañas por las que se las admira en virtud de esos accidentes: figura, tamaño, movimiento y disposición de sus partes. Y eso sin mencionar el hecho de que, en nuestra hipótesis, aparte de esas operaciones que proceden de la modificación esencial de la materia, puesto que el cuerpo (compuesto de materia y accidentes necesarios) se considera
per modum unius como un agente corpóreo completo, en diversos casos puede poseer otras operaciones por mor de esos corpúsculos particulares que, por más que concurran en su composición, y respecto al todo no se consideren más que como sus partes, pueden no obstante retener su propia naturaleza particular y varias de las cualidades pealares. Así, un reloj, aparte de esas cosas que el reloj realiza en cuanto tal, las diversas partes de que consta, como el resorte, las ruedas, la cuerda, las claves, etc. pueden poseer cada una de ellas su peculiar tamaño, figura y otros atributos, merced a uno o más de los cuales la rueda o el resorte, etc. pueden hacer otras cosas además de las que hacen como meras partes constituyentes del reloj. Así, en la leche de una nodriza que haya tomado unas horas antes una poción, por más que los corpúsculos de la medicina purgante no aparezcan a los sentidos distintos de otras partes de la leche que en muchísimo mayor número concurren con ellos en la constitución de ese líquido blanco, no obstante, esas partículas purgantes que no parecen ser más que una parte de la materia de que consta la leche retienen sin embargo su propia naturaleza y cualidades hasta tal punto que, al mamarlas el infante con el resto, rápidamente se discriminan y ponen de manifiesto purgándolo. Pero de estas cosas ya hablaremos más adelante.
VIII.De la generación, corrupción y alteración: Resta ahora que declaremos qué es lo que, según el tenor de nuestra hipótesis, ha de entenderse por generación, corrupción y alteración (tres nombres que han ofuscado y dividido muchísimo a los filósofos). En orden a ello, podemos considerar.
- Que hay en el mundo una gran cantidad de partículas de materia, cada una de las cuales es demasiado pequeña como para ser sensible hallándose aislada; y siendo entera o indivisa, no sólo ha de tener su forma determinada, sino que ha de ser muy sólida. Hasta tal punto es así, que aunque sea divisible mentalmente y por la divina omnipotencia, no obstante, por razón de su pequeñez y solidez, la naturaleza casi nunca la divide de hecho; y en ese sentido pueden denominarse mínima o prima naturalia.
- Que hay también multitud de corpúsculos formados por la unión de varios de esos mínima naturalia previos, cuyo tamaño es tan pequeño y su adherencia tan firme y estricta que aisladamente cada una de estas pequeñas concreciones o cúmulos primitivos (si se me permite llamarlos así) de partículas se hallan por debajo del alcance de los sentidos; y aunque no sean absolutamente indivisibles por la naturaleza en los prima naturalia que los componen o quizá en otros pequeños fragmentos, con todo, por las razones recientemente apuntadas, muy rara vez resultan disolverse o romperse de hecho, permaneciendo por el contrario íntegros en una gran variedad de cuerpos sensibles bajo diversas formas y disfraces. De esa manera, para no repetir lo que acabamos de decir de los corpúsculos purgantes de la leche no destruidos, vemos que corpúsculos aún mayores y más compuestos pueden poseer semejante textura permanente, pues el mercurio, por ejemplo, puede convertirse en un polvo rojo a partir de un cuerpo maleable y fusible, o en un humo fugitivo, disfrazándose de no sé cuántas maneras más, a pesar de lo cual sigue siendo mercurio verdadero recuperable. Y estas son, por así decir, las semillas o principios inmediatos de muchos tipos de cuerpos naturales, como tierra, agua, sal, etc.; y esos, aisladamente imperceptibles, cuando se unen, se tornan capaces de afectar a los sentidos. Como he comprobado, si un buen alcanfor se mantiene un rato en espíritu de vino puro, se reducirá a partes tan pequeñas que desaparecerá completamente en el líquido sin hacerlo aparecer menos claro que el agua cristalina; y sin embargo, si se vierte en esta mezcla una adecuada cantidad de agua, en un momento los corpúsculos dispersos del alcanfor, reuniéndose, se tornarán blancos y por ende visibles como antes de su dispersión.
- Que tanto cada uno de los mínima naturalia como cada uno de los aglomerados primarios arriba mencionados, poseyendo su propio tamaño y forma determinados, cuando estos se adhieren unos a otros ha de ocurrir siempre que cambie el tamaño y a menudo la figura del corpúsculo compuesto por su yuxtaposición y cohesión. Además, no es infrecuente que el movimiento de uno u otro o de ambos reciba una nueva tendencia o se altere en lo que atañe a su velocidad o a otro aspecto. Lo mismo ocurrirá cuando los corpúsculos que componen un conglomerado de partículas se disocian o se desgaja algo de la pequeña masa. Y si se añade o quita algo de materia a un corpúsculo, en ambos casos (como acabamos de señalar) su tamaño debe alterarse necesariamente y en su mayor parte también la figura, con lo que adquirirá una congruencia con los poros de ciertos cuerpos (y quizá de algunos de nuestros sentidos) y se hará incongruente con los de otros. Consiguientemente, como mostraré después más detalladamente, se hallará cualificado para operar en diversos casos de manera muy distinta de o que podía hacerlo anteriormente.
- Que cuando muchos de estos corpúsculos insensibles llegan a asociarse en un cuerpo visible, si muchos o la mayoría de ellos se ponen en movimiento, eso mismo puede producir grandes cambios y nuevas cualidades en el cuerpo que componen. En efecto, no sólo el movimiento puede realizar muchas cosas, incluso cuando no produce ninguna alteración visible en él, a la manera en que el aire puesto en movimiento rápido (como cuando se sopla con fuelles) adquiere un nuevo nombre, llamándose viento, y se muestra al tacto mucho más frío que el mismo aire cuando no forma corriente, o a la manera en que el hierro al frotarse rápidamente contra la madera o contra otro hierro ve sus pequeñas partes tan agitadas como para aparecer caliente a nuestros sentidos; sino que además este movimiento a menudo produce alteraciones visibles en la textura del cuerpo que lo recibe, pues las partes movidas siempre tratan de comunicar su movimiento o cierto grado de él a algunas otras partes que antes se hallaban o en reposo o con otro movimiento, y a menudo las mismas partes movidas por ese motivo desunen o rompen algunos de los corpúsculos contra los que chocan, cambiando con ello su tamaño o forma, o ambas cosas, y o bien arrastran algunos de ellos totalmente fuera del cuerpo alojándose quizá en sus lugares, o bien los asocian de nuevo con otros. De donde se sigue usualmente que la textura, a menos que sea muy estable y definitivamente permanente, se ve muy alterada al menos por un momento, especialmente por cuanto que los poros o pequeños intervalos interceptados entre las partículas componentes cambiarán de tamaño y figura o ambas cosas, dejando así de ser conmensurables con los corpúsculos adecuados a ellos con anterioridad, tornándose conmensurables con aquellos corpúsculos de otros tamaños y formas que hasta entonces eran incongruentes con ellos. Vemos así que el agua, al perder la necesaria agitación de sus partes, puede adquirir la firmeza y fragilidad que hallamos en el hielo, perdiendo gran parte de la transparencia que tenía cuando era un líquido. Asimismo, al frotar con mucha fuerza dos trozos de madera resinosa uno contra otro, podemos hacer que emitan varias de sus partes más sueltas, formando exhalaciones y humo visible; y si el frotamiento se prosigue debidamente, puede provocar que la conmoción de las partes cambie de tal modo la textura del todo que luego las partes de la superficie se transformen en una especie de carbón. Así la leche, especialmente en tiempo caluroso, merced al movimiento intestino aunque lánguido de sus partes, se convertirá en poco tiempo en un tipo de líquido más tenue que la leche y en nata, y ésta (últimamente mencionada) con sólo agitarla en una mantequera, se convertirá en breve tiempo en ese cuerpo untuoso y consistente que llamamos mantequilla y en el suero tenue, fluido y agrio. Así (para terminar) cuando se magulla la fruta, ordinariamente cambia hasta tal punto su textura que, como vemos especialmente en las manzanas, la parte machacada se torna pronto de otra naturaleza que la parte sana, distinguiéndose la una de la otra tanto en color como en sabor, olor y consistencia. De este modo (como ya hemos insistido) de todas las afecciones de la materia, el movimiento local posee el mayor interés para su alteración y modificación, ya que de entre las causas segundas no sólo es el gran agente o eficiente, sino que en ocasiones es además una de las principales cosas que constituyen la Forma de los cuerpos. Así, cuando dos palos se incendian mediante una prolongada y vehemente agitación, el movimiento local es no sólo lo que enciende la madera, produciendo así como eficiente el fuego, sino que es lo que principalmente contribuye a dar a la corriente producida de materia brillante el nombre y la naturaleza de llama, concurriendo así también a la constitución de todos los cuerpos fluidos.
- Y que puesto que ya hemos visto que el color, olor, sabor y demás cualidades de los cuerpos han de derivarse del tamaño, forma y movimiento de las pequeñas partes de la materia, así como de la textura que resulta del modo en que se ordenan en cada uno de esos cuerpos, nos será fácil recordar que dichos cambios, si se dan en una porción de materia, varían hasta tal punto su naturaleza, que no hemos de burlamos de los antiguos atomistas por tratar de deducir la generación y corrupción de los cuerpos de las famosas σύγχρισιζ χαι διαχρισιζ, la reunión y disolución, y las alteraciones a partir de la transposición de sus (supuestos) átomos. En efecto, aunque ciertamente la naturaleza usa implicar los tres modos [224] en los cambios que introduce en las cosas corpóreas, tanto en las alteraciones como en las generaciones y corrupciones, con todo si sólo querían decir, como bastante probablemente ocurría, que de los tres modos propuestos el primero usaba ser el principal en la generación e los cuerpos, el segundo en la corrupción y el tercero en las alteraciones, entonces no me opondré mucho a su doctrina, si bien considero que el movimiento local o transposición de las partes en la misma porción de materia tiene una gran importancia tanto para la generación y corrupción como para la alteración, tal y como vemos cuando la leche, la carne o la fruta, sin ninguna notable adición o pérdida de partes, se convierte en cresas u otros insectos; o como podemos observar más conspicuamente en la precipitación del mercurio sin adición, en la vitrificación de los metales y en otros experimentos químicos que mencionaremos posteriormente.
- Dadas estas cosas, no será difícil en pocas palabras incluir tal doctrina relativa a la generación, corrupción y alteración de los cuerpos como concorde con nuestra hipótesis y el discurso anterior. En efecto, si en una porción de materia viene a producirse (no importa mucho cómo) una reunión de todos esos accidentes (sean sólo esos o más) que los hombres por tácito acuerdo han considerado necesarios y suficientes para constituir alguna de las especies determinadas de cosas corpóreas, entonces diremos que se produce de novo un cuerpo perteneciente a esa especie, como pueda ser una piedra o un metal. No es que realmente se produzca algo substancial, sino que esas partes de la materia que preexistían ciertamente con anterioridad, si bien se hallaban dispersas o compartidas entre otros cuerpos, o al menos dispuestas de otro modo, se unen ahora y se ordenan de modo preciso para conceder al cuerpo de ellas resultante una nueva denominación, haciéndolo pertenecer a tal especie determinada de cuerpos naturales; de modo y manera que no se produce o genera ninguna substancia nueva, sino que tan sólo adquiere una nueva modificación o modo de existencia aquello que preexistía. Así, cuando el resorte, las ruedas, la cuerda, el volante, las agujas, etc. precisos para un reloj y que se hallaban en un principio dispersos, unos en un lugar de la tienda del artesano y otros en otro, se montan por vez primera en el orden requerido para formar esa máquina capaz de mostrar cómo pasa el tiempo, se dice que se ha hecho un reloj; no es que ninguna de las partes materiales mencionadas se haya producido de novo, sino que hasta entonces la materia separada no se encontraba montada y dispuesta del modo exigido para constituir una cosa de esas que denominamos reloj. Asimismo, cuando la arena y cenizas se funden bien juntas, y se dejan enfriar, mediante la licuefacción se genera ese tipo de concreción que denominamos vidrio, por más que sea evidente que sus ingredientes no sólo preexistían, sino que tan sólo por su asociación adquieren un nuevo modo e coexistencia. Así, cuando al batir la nata se genera mantequilla y suero, no encontramos que en ninguno de ellos se haya producido nada substancial de novo, sino tan sólo que el suero y los corpúsculos grasos, al ponerse en movimiento local, por sus frecuentes colisiones se desembarazan unos de otros, asociándose de una nueva manera precisa para constituir los cuerpos cuyos nombres reciben.
Del mismo modo que se dice que un cuerpo ha sido generado cuando aparece por vez primera revestido con todas aquellas cualidades en función de las cuales la gente ha tenido a bien llamar piedras a algunos cuerpos, metales a otros, a otros sales, etc., así cuando un cuerpo viene a perder todos o algunos de esos accidentes esenciales y necesarios para la constitución de dicho cuerpo, dícese entonces que se ha corrompido o destruido, no siendo ya un cuerpo de esa clase, perdiendo el título a su primitiva denominación. No es que con este cambio perezca nada corpóreo o substancial, sino tan sólo que se destruye la modificación esencial de la materia; y por más que el cuerpo siga siendo un cuerpo (no siendo capaz de aniquilar la materia ningún agente natural), con todo ya no es el cuerpo que era antes, sino que ha perecido en cuanto cuerpo de ese tipo. Así, si una piedra cae sobre un reloj y lo rompe en pedazos, del mismo modo que cuando se construyó el reloj no se produjo ninguna substancia nueva, al preexistir todas las partes materiales (como el acero, el bronce, la cuerda, etc.) en algún lado (como en las minas de hierro y cobre, en las entrañas de esos animales con cuyas tripas acostumbran los hombres a fabricar cuerdas), de ese mismo modo no se pierde ni la mínima parte de la substancia del reloj, sino que tan sólo se desplaza y dispersa, si bien esa porción de materia deja de ser un reloj como lo era antes. De este modo (resumiendo nuestro último ejemplo), cuando al batir la nata se convierte en mantequilla y en un líquido seroso, las partes de la leche permanecen asociadas en esos cuerpos nuevos, si bien el líquido blanco perece en cuanto leche. Asimismo, cuando el hielo se funde en recipientes herméticamente cerrados, si bien la corrupción se produce tan sólo (al parecer) por la introducción de un nuevo movimiento y disposición en las partes del agua helada
[225], con todo deja por ello de ser hielo, por más que sea tan agua y por ende tan cuerpo como antes de helarse o fundirse. Estos y similares ejemplos pueden enseñarnos a comprender adecuadamente ese común axioma de los naturalistas,
Corruptio unius est generatio alterius; & e contra [226] ; pues ya que todos reconocen que la materia no se puede aniquilar, y ya que, por lo que hemos dicho más arriba, parece que hay algunas propiedades como el tamaño, la forma y el movimiento (o, en su ausencia, el reposo) que son inseparables de las partes actuales de la materia, y dado que también la coalición de cualquier número adecuado de estas partes basta para constituir un cuerpo natural dotado de diversas cualidades sensibles, no puede menos de ocurrir que los mismos agentes que destrozan la trama o destruyen la textura de un cuerpo, al barajar las partes y disponerlas de una manera nueva, las harán formar un nuevo tipo de cuerpos, a la manera en que la combustión que destruye la madera la convierte en llama, hollín y cenizas. Tan sólo dudo de que sea verdadero en general el axioma, si se entiende en el sentido de que toda composición haya de terminar en la generación de un cuerpo perteneciente a alguna especie particular.de cosas; a no ser que tomemos los polvos y cuerpos fluidos indefinidamente por especies de cuerpos naturales, ya que es obvio que existen multitudes de vegetales y otras concreciones que, al pudrirse, no se convierten como otros en gusanos, sino que lo hacen más bien en cierta substancia legamosa o acuosa, o bien (que es lo más corriente) se deshacen en una especie de polvo o tamo que, aunque se considere como la tierra en la que se resuelven en última instancia los cuerpos podridos, dista de poseer una naturaleza elemental, siendo aún un cuerpo compuesto que conserva algunas cualidades, aunque no muchas, que a menudo hacen que el polvo de un tipo de planta o animal difiera mucho del de otro. Esto me suministra el siguiente argumento
ad hominem; a saber, que en esas corrupciones violentas de los cuerpos producidas por agentes externos que los hacen añicos, puesto que si el axioma es verdadero resulta que los nuevos cuerpos que emergen con la disolución del primero han de ser realmente cuerpos naturales (como ciertamente muchos de los modernos sostienen que son), generados según el curso de la naturaleza, como cuando la madera se destruye por obra del fuego convirtiéndose parte en llama, parte en hollín, parte en carbones y parte en cenizas, entonces espero que se nos permita concluir que esas producciones químicas que tantos tendrían por cuerpos artificiales son cuerpos naturales regularmente generados. En efecto, al ser el mismo agente, el fuego, el que opera sobre los cuerpos, expóngase a él en recipientes cerrados o en chimeneas, no veo razón suficiente por la que los aceites químicos, las sales volátiles y las otras cosas que obtienen los espagíricos de los cuerpos mixtos no hayan de tenerse por cuerpos tan naturales como el hollín, las cenizas y el carbón que se obtienen mediante el mismo fuego de la madera prendida.
Mas antes de que dejemos el tema de la corrupción de los cuerpos, he de prestar atención a lo que se llama su putrefacción. Esta no es más que un tipo particular de corrupción que opera en los cuerpos lentamente (por lo que se puede distinguir de la destrucción por el fuego y otros agentes rápidos). En la mayoría de los casos, le sobreviene por medio del aire o algún otro fluido ambiente que, al penetrar en los poros del cuerpo y agitarse en ellos, normalmente arrastra algunas de las partes del cuerpo más ágiles y menos trabadas, desligando y dislocando casi siempre las partes en general, cambiando así la textura y tal vez también la figura de los corpúsculos que lo componen, de manera que el cuerpo así transformado adquiere cualidades inadecuadas para su anterior naturaleza, siendo en su mayor parte desagradable a los sentidos, especialmente el olfato y el gusto. Añado esta última cláusula no sólo porque el vulgo no considera como corrupción, sino como perfección, el cambio de un huevo en pollo, sino además porque no considero improbable que si, mediante esos cambios lentos de los cuerpos que los hacen perder su primitiva naturaleza (y que por lo demás podrían pasar por putrefacción), muchos cuerpos adquiriesen mejores olores y sabores que antes, o si la naturaleza, el hábito o cualquier otra causa alterase mucho la textura de nuestros órganos del gusto y del olfato, quizá no hubiese un acuerdo tan general acerca de qué habría de considerarse putrefacción, puesto que ello implica una alteración perjudicial, sino que la gente hallaría un concepto favorable para tales cambios. En efecto, observo que aunque los nísperos adquieran con el tiempo el color y blandura de las manzanas podres y otros frutos putrefactos, con todo, puesto que su sabor no es entonces tan áspero como antes, llamamos en ellos sazón a lo que de lo contrario llamaríamos putrefacción. Si bien cuando muere un cuadrúpedo generalmente llamamos putrefacción al cambio que se opera en la sangre o la carne, no obstante nos hacemos un juicio más favorable de lo que ocurre a la carne y otras partes más blandas del animal (sea un tipo de conejo grande o un ciervo muy pequeño y sin cuernos) con el que se hace almizcle en China y en el Oriente, pues merced al cambio que sigue a la muerte del animal, la carne no adquiere un olor odioso sino grato. Y vemos que algunas personas, cuyo apetito se gratifica con queso podrido, no consideran que haya degenerado, sino que piensan que ha alcanzado su óptimo estado cuando, tras perder su primitivo color, olor y sabor, y aún más, habiéndose convertido en gran parte en esos insectos llamados ácaros
[227], se halla no sólo corrompido en sentido filosófico, sino también pútrido en estimación de la generalidad de las personas.
Mas dado que muy rara vez ocurre que un cuerpo no adquiera por generación más cualidades que precisamente aquéllas que son absolutamente necesarias para hacer que pertenezca a la especie que le da nombre, consiguientemente en la mayoría de los cuerpos hay otras diversas cualidades que pueden estar o faltar sin cambiar esencialmente al sujeto. Así, el agua puede estar clara o revuelta, olorosa o hedionda, sin dejar por ello de ser agua; igualmente, la mantequilla, sin dejar de ser mantequilla, puede ser amarilla o blanca, dulce o rancia, consistente o fundida. Por tanto, siempre que un trozo de materia adquiera o pierda una cualidad que no es esencial para ella, esa adquisición o pérdida se denomina expresamente alteración (otros la llaman mutación). La adquisición tan sólo de las cualidades que son absolutamente necesarias para constituir su diferencia esencial o específica, o la pérdida de alguna de esas cualidades, constituye uno de esos cambios que no han de denominarse mera alteración, teniendo el nombre particular de generación o corrupción; las cuales, según esta doctrina, no parecen ser más que diversos tipos de alteración tomadas en sentido lato, por más que se distingan de ella en una acepción más estricta y limitada del término.
He aquí una buena ocasión de percatarse de la fecundidad y alcance de nuestra hipótesis mecánica, pues dado que, según nuestra doctrina, el mundo en que vivimos no es una masa de materia inmóvil o desordenada sino un αυόματον o
máquina semoviente, en la que la mayor parte de la materia común de todos los cuerpos se halla siempre (aunque no las mismas partes) en movimiento, y en la que los cuerpos están tan próximos unos a otros que (excepto en algunos escasísimos y extraordinarios casos, por así decir preternaturales
[228] ) o bien no presentan vacíos entre ellos o bien tan sólo los hay aquí y allá intercalados y muy pequeños; y dado también que, según nosotros los diversos modos de coalición de diversos corpúsculos en un cuerpo visible bastan para conferirles una textura peculiar, haciéndolos así aptos para mostrar diversas cualidades sensibles, tomándose en un cuerpo ora de una denominación ora de otra, se seguirá muy naturalmente que de las diversas colisiones de esas innumerables catervas de pequeños cuerpos que se mueven aquí y allí en el mundo, habrá muchos aptos para unirse los unos a los otros componiendo concreciones; otros muchos (aunque no en los mismísimos lugares) se separarán entre sí y se agitarán, y habrá también multitudes que se verán llevadas a asociarse ahora con un cuerpo y ahora con otro. Si consideramos también, por un lado, que los tamaños de las pequeñas partículas de la materia pueden ser muy diversos y sus figuras casi innumerables, y que si una parte de la materia se adhiere a un cuerpo puede quizá conferirle una nueva cualidad, mientras que si se adhiere a otro o choca contra alguna de sus partes puede constituir un cuerpo de otro tipo, o que si una porción de materia se desgaja de otra puede tan sólo por eso dejarla y tornarse de otra naturaleza distinta de la anterior; si, digo, consideramos estas cosas por un lado y, por el otro, que (para usar la comparación de Lucrecio
[229] ) toda esa ¡numerable multitud de palabras contenidas en todos los lenguajes del mundo está formada por las diversas combinaciones de algunas de las veinticuatro letras del alfabeto, no será difícil imaginar que pueda haber una inabarcable variedad de asociaciones y texturas de las diminutas partes de los cuerpos y, por consiguiente, una vasta multitud de porciones de materia dotadas de la suficiente cantidad de diferentes cualidades como para merecer distintas denominaciones, por más que por descuido y falta de palabras adecuadas los hombres aún no se hayan dado mucha cuenta de sus menos obvias variedades como para clasificarlas como se merecen, otorgándoles nombres propios y distintos. Así, aunque yo no diría que una cosa cualquiera pueda hacerse inmediatamente de cualquier cosa, como un anillo de oro de un lingote de oro, o aceite o fuego de agua, sin embargo, puesto que los cuerpos, que sólo tienen una materia común, se pueden distinguir tan sólo mediante los accidentes, todos los cuales parecen ser efectos y consecuencias del movimiento local, no veo por qué habría de ser absurdo pensar que (al menos entre cuerpos inanimados), mediante la intervención de cierta adición o substracción diminuta de materia (que, sin embargo, en la mayoría de los casos apenas será necesaria) y mediante una serie ordenada de alteraciones que dispongan gradualmente la materia a transmutar, casi cualquier cosa puede convertirse a la larga en cualquier cosa
[230], a la manera en que, aunque no se pueda hacer inmediatamente un anillo de un lingote de oro, con todo es algo que se puede hacer fácilmente sea tirando gradualmente ese lingote para hacer alambre, sea fundiéndolo y vertiendo un poco en un molde. Asimismo, aunque el agua no se pueda transmutar inmediatamente en aceite, y mucho menos en fuego, sin embargo, si se alimentan ciertas plantas con agua sola (como yo he hecho) hasta que hayan asimilado una gran cantidad de ella en su propia naturaleza, es posible, entregando a la destilación en recipientes adecuados este agua transmutada (que se puede distinguir y separar de esa parte del vegetal originalmente introducido en ella), obtener entre otras cosas un verdadero aceite y un carbón negro combustible (y por tanto, fuego), pudiendo ser ambos tan copiosos como para no dejar ninguna causa justificada para sospechar que puedan ser ni lejanamente algo suministrado por algunas pequeñas partes espirituosas que pueda suponerse que esa parte del vegetal que se puso originalmente en el agua haya aportado a esa parte mucho mayor entregada a la destilación.
Ahora bien, Pirófilo, veo que la dificultad y fecundidad del tema me ha hecho hasta tal punto más prolijo de lo que pensaba, que no estará ahora de más abreviar el resumen de nuestra hipótesis, ofreciéndoos en pocas palabras sus puntos fundamentales con pocos o ningún ejemplo y sin pruebas particulares.
Así pues, enseñamos (aunque sin afirmarlo perentoriamente):
- Que la materia de todos los cuerpos, naturales es la misma; a saber, una substancia extensa e impenetrable.
- Que concordando así todos los cuerpos en la misma materia común, su distinción ha de provenir de esos accidentes que la diversifican.
- Que el movimiento, al no pertenecer a la esencia de la materia (que conserva su plena naturaleza cuando se halla en reposo) y no siendo originalmente producible por otros accidentes como ellos lo son a partir de él, puede tenerse por el modo o afección primero y principal de la materia.
- Que el movimiento diversamente determinado divide naturalmente la materia a que pertenece en fragmentos o partes actuales, y la obvia experiencia (sobre todo las operaciones químicas) manifiesta que esta división se ha realizado en partes en extremo diminutas y muy a menudo demasiado diminutas como para ser aisladamente perceptibles por nuestros sentidos.
- De ahí ha de seguirse necesariamente que cada una de esas partes diminutas o mínima naturalia (así como cualquier cuerpo particular compuesto mediante la coalición de cualquier número de ellas) ha de poseer su magnitud o tamaño determinado, así como su propia forma. Estos tres, a saber, tamaño, forma y movimiento o reposo (no habiendo tercero entre estos dos), son los tres modos o afecciones primarias o más católicas de las partes insensibles de la materia consideradas cada una por su parte.
- Que cuando varias de ellas se consideran conjuntamente, se seguirá necesariamente en nuestro mundo tanto determinada posición o postura de cada una de ellas por respecto al horizonte (así, levantada, inclinada o a nivel), como un cierto orden o colocación delante, detrás o al lado una de otra, como cuando en una compañía de soldados al estar uno de pié, el otro agachado, yaciendo otro en el suelo, presentan diversas posturas, mientras que situarse uno al lado del otro en columnas y uno detrás de otro en filas son variedades de su orden. Pues bien, cuando muchas de esas pequeñas partes se ven llevadas a reunirse en un cuerpo, de sus afecciones primarias y de su colocación o disposición por lo que respecta a la posición y orden, resulta aquello que con un nombre general denominamos la textura de dicho cuerpo. Ciertamente estos diversos tipos de locación (para usar un término escolástico) atribuidos en este punto a las diminutas partículas de los cuerpos son tan allegados, que todos ellos parecen poderse remitir a la situación o posición (por el mero hecho de su reunión). Estas son las afecciones que pertenecen a un cuerpo considerado en sí mismo sin relación con los seres sensibles u otros cuerpos animales.
- Que habiendo, sin embargo, en el mundo hombres cuyos órganos de los sentidos están organizados de tales modos diferentes que un sentido es adecuado para recibir las impresiones de unos tipos de objetos o cuerpos externos y otros las de otros (sea que actúen como cuerpos enteros, por emisión de sus corpúsculos o por su propagación de algún movimiento a los sentidos), los hombres llaman a las percepciones de esas impresiones mediante diversos nombres, como calor, color, sonido, olor, imaginando ordinariamente que proceden de ciertas cualidades distintas y peculiares de los objetos externos que poseen cierta semejanza con las ideas que su acción sobre los sentidos excita en la mente, por más que no quepa duda de que todas estas cualidades sensibles y todo lo demás que se halla en los cuerpos externos a nosotros no sean sino efectos o consecuentes de las arriba mencionadas afecciones primarias de la materia, cuyas operaciones se diversifican según la naturaleza de los sentidos u otros cuerpos sobre los que actúan.
- Que cuando una porción de materia, sea por aumento o pérdida de corpúsculos, por la transposición de aquéllos de los que constaba anteriormente o por dos cualesquiera de estos modos, o por todos, viene a adquirir la reunión de todas esas cualidades que los hombres comúnmente convienen en que son necesarias y suficientes para denominar al cuerpo que los posee ora un metal, ora una piedra o algo de ese jaez, clasificándolo en cualquier especie peculiar y determinada de cuerpos, entonces dícese que se ha generado un cuerpo de esa denominación.
- Esta reunión de accidentes esenciales, tomándose (no cualquiera de ellos separadamente, sino todos) juntos como la diferencia específica que constituye el cuerpo y lo discrimina de todos los demás cuerpos, se denomina, al considerarse algo colectivo, con un solo nombre: su Forma (como la belleza que se compone de la simetría de las partes y la concordancia de los colores), que no es consiguientemente más que un cierto carácter (como a veces la llamo) o un estado peculiar de la materia o, si se me permite denominarla así, una modificación esencial: una modificación porque ciertamente no es más que un modo determinado de existencia de la materia y, sin embargo, una modificación esencial ya que, por más que las cualidades concurrentes sean accidentales a la materia (la cual con otras de ellas seguiría siendo materia), con todo son esencialmente necesarias para el cuerpo particular que sin esos accidentes no sería un cuerpo de tal denominación, como un metal o una piedra, sino de alguna otra.
Ahora bien, siendo un cuerpo capaz de poseer muchas otras cualidades además de esas cuya reunión es necesaria para componer su Forma, la adquisición o pérdida de alguna de esas cualidades la denominan los naturalistas alteración, en el sentido más estricto de dicho término, como cuando el aceite se congela, cambia de color o se pone rancio. Mas si todas o algunas de las cualidades consideradas esenciales para tal cuerpo llegan a perderse o destruirse, tal cambio notable se denomina corrupción. Así, cuando el aceite al hervir se incendia, no se dice que el aceite se altere en el sentido anterior, sino que se corrompe o destruye, generándose el fuego emergente. Cuando acontece que el cuerpo se corrompe lentamente, adquiriendo también por ello cualidades molestas para nuestros sentidos, especialmente el olfato y el gusto (como cuando la carne o la fruta se pudren), ese tipo de corrupción se llama putrefacción con un nombre más particular. Mas ni en ésta ni en ninguna otra clase de corrupción se destruye nada substancial (pues no se ha producido tal cosa en la generación, y la materia misma todo el mundo la considera incorruptible), sino tan sólo esa conexión especial de las partes o modo de su coexistencia debido al cual la materia (mientras se hallaba en su primitivo estado) era y se denominaba una piedra o un metal, o pertenecía a cualquier otra especie determinada de cuerpos.
Notas:[1] Para el juicio de J. Evelyn, véase su carta a Boyle del 3 de Septiembre de 1659, en T. Birch (ed.),
The Works of the Honourable Robert Boyle (en adelante citado como
Works), 6 Vol, Londres 1772; Vol. VI, pág. 291. Para J. Glanville, véase el capítulo 13 de su
Plus Ultra, Londres, 1668. El juicio de P„ Shaw aparece en la primera página de su edición de
The Philosophical Works of the Honourable Robert Boyle, Esq. Abridged, Methodized, and Disposed under... General Heads by Peter Shaw, M. D., Londres, 1725. El de Bentley puede leerse en el cuarto sermón de sus
Boyle Lectures. [2] Para estas cartas, véase C. Huygens,
Oeuvres Completes, Societé Hollandaise des Sciences, La Haya: Martinus Nijhoft, Vol. 10, págs. 239, 263.
[3] Boyle mantuvo a través de Henry Oldenburg una polémica con Baruch Espinosa entre 1662 y 1663, defendiendo la posibilidad de las pruebas experimentales frente a las lógicas o racionales de los continentales. Para Boyle una argumentación racional equivalía a introducir hipótesis aprióricas en la discusión, extremo en el que Newton demostraría ser un buen discípulo.
[4] Ralph Cudworth a Robert Boyle, 16 de Octubre de 1684; en T. Birch (ed.),
Works, Vol. VI, pág. 511.
[5] Sobre la existencia de una tradición clásica de carácter matemático y la emergencia de una nueva tradición experimentalista, léase el espléndido artículo de T. S. Kuhn, Mathematical versus Experimental Traditions in the Developmen of Physical Science,
Journal of Interdisiplinary History, 7 (1976): 1-31; reimpreso en T. S. Kuhn,
The Essenttal Tension, Chicago, The University of Chicago Press, 1977, traducido al español,
La tensión esencial, México: F. C. E., 1983.
[6] Justamente lo único que hoy recogen de la obra de Boyle los manuales de física, ciencia heredera de k tradición matemática clásica.
[7] Ni siquiera el propio Bacon tenía mucha fe en él, tal y como se desprende del último aforismo, CXXX, del libro I del
Novum Organum «Ha llegado el momento de proponer el arte mismo de interpretar la naturaleza, en el que si bien considero haber dado normas verdaderas y de la mayor utilidad, con todo no pretendo ni que sea absolutamente necesario (como si nada pudiera hacerse sin él) ni que sea perfecto». A continuación expresa su creencia en que «el arte de descubrir progrese a medida que avancen los descubrimientos».
[8] Boyle disponía de recursos propios, por lo que podía practicar su afición de manera absolutamente liberal y desprendida. De hecho, tan liberal y desprendidamente lo hacía que cuantío lograba que alguien se interesase por proseguir alguna de sus investigaciones, se la cedía para ir a escarbar en otro sitio.
[9]Los orígenes intelectuales de la revolución inglesa, Barcelona: Grijalbo, 1980; pág. 31, nota 6. Véase en general el Capítulo II.
[10] Véanse las cartas a Macombes, F. Tallents y S. Hartlib del 22 de Octubre de 1646, del 20 de Febrero de 1646/7 y del 8 de Mayo de 1647 respectivamente, en Birch (ed.),
Works, Vol. I, págs. xxxiv, xxxiv-v y xl.
[12] Carta del 6 de Marzo de 1647,
Iba., pág. xxxvi.
[13] Works, Vol. VI, págs. 54 y sigs.
[15] T. Birch,
The Life of the Honourable Robert Boyle en
Works, Vol.
[17] En Alberto Elena Díaz (ed.) Pascal,
Tratados de Pneumática, Madrid: Alianza Editorial, 1984.
[18] Boyle,
Paradojas hidrostáticas, en
Works, Vol. II, págs. 745-6; el subrayado es mío.
[19] Véase M. Boas, The Establishment of the Mechanical Philosophy,
Osiris, 10 (1952): 412-541, págs. 463-4.
[20] Para las opiniones de Boerhaave y Hughes, cf. M. Boas, Boyle as a Theoretical Scientist,
Isis, 41 (Dic. 1950): 261-8; pág. 267.
[23] Op. cit., pág. 13; Birch,
Works, I: cxlix.
[24] Novum Organum, Libro I, Aforismo cxxx.
[25] Véase el Prefacio a
Experimentos y notas sobre la producibilidad de principios químicos ; Works, I: 591, donde señala:«Por más que algunas veces haya tenido ocasión de expresarme como un escéptico, disto de ser uno de los de esa secta [...]. Yo no propongo dudas como el verdadero escéptico para persuadir a la gente de que todas las cosas son dudosas, habiendo de permanecer así por siempre (al menos) para el entendimiento humano; por el contrario, yo propongo dudas no sólo con la intención, sino también con la esperanza de verme a la larga liberado de ellas al alcanzar la verdad indubitable».
[26] El corpuscularismo de Boyle es al principio más baconiano que epicureísta, pareciendo inspirarse en el Aforismo VIII del Libro II del
Novum Organum: «Tampoco nos dejaremos arrastrar a la doctrina de los átomos, que entraña la hipótesis del vacío y la de la inmutabilidad de la materia (suposiciones falsas ambas), sino que atenderemos exclusivamente a
las partículas reales, tal y como existen de hecho». [27] Véase más abajo el apartado 3, pág. 91 y sigs.
[28] Methodus discendi medicinam, cit. en Biron,
The Life, en
Works, I: cxlv.
[29] No tan fácilmente. Como señala debidamente M. Boas
(Robert Boyle on Natural Philosophy, Bloomington, Ind., 1965; pág. 99), por más que C. Huygens, D. Papin y tantos otros copiasen y siguiesen a Boyle en el diseño de instrumentos y en la realización de experimentos, éste no conoció rival alguno de su talla; sólo él hizo contribuciones originales y abundantes al a pneumática. Por tanto, la idea de que, una vez descubierta la bomba de vacío, los descubrimientos son obvios y simples es sencillamente falsa. Boas apunta a que las dificultades técnicas exigían una habilidad que sólo poseía Boyle. Asimismo, la novedad del método de descubrimiento experimental y de demostración experimental suponía una filosofía y una metodología específica que sólo Boyle parece dominar.
[30] Sobre la distinción de dos tradiciones en la Revolución Científica, cf. más arriba, pág. 5 y nota 5.
[31] Cf. más arriba, págs. 10-11.
[32] M. ’Espinasse
{Robert Hooke, Berkeley: University of California Press, 1962, pág. 46) sugiere que el mérito más que de Boyle es de su ayudante Hooke, el inventor de una bomba de vacío, llegando a afirmar: «Boyle no era ni matemático ni realmente mecánico. Hooke era un buen matemático y un genio mecánico, precisamente lo que Boyle necesitaba. Con su colaboración, Boyle realizó un trabajo cuantitativo al que nunca volvió una vez que Hooke dejó de ser su ayudante en 1662, mientras que Hooke, por otro lado, continuó investigando las propiedades del aire, tanto cualitativamente como cuantitativamente». Cf. más abajo la nota 13 al apartado 2, págs. 39 y sigs.
[33] Consideraciones y demostraciones matemáticas en torno a dos nuevas ciencias, pág. 64 de la edición de Favaro.
[34] Ibid., pág. 121 y sig.
[35] Véanse las cartas a M. Ricci del 11 y 28 de Junio de 1644, en A. Elena, Pascal:
Tratados de Pneumática, Madrid: Alianza, pág. 195 y sigs.
[36] Véase la excelente Introducción de A. Elena a la obra citada en la nota anterior.
[37] Véanse los
Nuevos experimentos sobre el vacío, recogidos en la obra citada en la nota 7, pág. 195 y sigs.
[38] Cf. la carta de Descartes a Mersenne del 13 de Diciembre de 1647 y las dirigidas a Carcabi el 11 de Junio y 17 de Agosto de 1649; en
Blaise Pascal Oeuvres Complétes, ed. por J. Mesnas en 2 Vols., París, 1964-71, Vol. II, págs. 548-550, 655-8 y 716-9.
[39] Recuérdense las críticas que le hará Boyle, mencionadas más arriba. No cabe duda de que la concepción de los experimentos que tenía Pascal está más cerca de Galileo que de Boyle, pues su exposición de los mismos, si no es siempre inventada, está notablemente retocada y embellecida, como si no fuesen serios e importantes para demostrar las teorías, sino tan sólo útiles y elegantes para ejemplificarlas. Contrasta las dificultades que expone Boyle a la hora de purgar de aire sus tubos (véase más abajo, apartado 1) con el dogmatismo de los
Nuevos experimentos sobre el vacío, al afirmar la ausencia siquiera sea de un grano de aire en el vacío torricelliano (edición cit., págs. 32 y anterior)). Pascal no pertenece a la tradición experimentalista y lo vemos renunciar explícitamente a emprender el juego errático de la exploración baconiana: «
me contento con mostrar un gran espacio vacío y dejo a los sabios e iniciados que experimenten lo que sucede en ese espacio; por ejemplo, si los animales viven en él, si el cristal disminuye su refracción y todo lo que se pueda hacer en él ». (Ibid., pág. 31 y sigs.).
[40] Sobre las imperfecciones técnicas de estos experimentos, así como para una estimación del valor de otros experimentos anteriores a Boyle, véase C. Webster, The Discovery of Boyle's Law, and the Concept of the Elasticity of Air
in the Seventeeth Century,
The Archive for History of Exact Sciences, Vol. 2, n° 6: 441-502; págs. 470-84.
[41] Para Boyle parece tratarse de un caso distinto que el del aire condensado. La reciprocidad entre resorte y densidad no se plantea como dependencia funcional entre dos magnitudes, sino como dependencia causal en la que el resorte es el efecto de la densidad (la causa) y no a la inversa, pues la densidad es el estado interno con que el aire resiste a la presión externa. Una vez establecida la ley del aumento del resorte con la condensación, lleva varios meses el descubrimiento de la «otra», relativa a la disminución del resorte con la rarificación.
[42] Antes de 1661-2 Pascal publica sólo los
Nuevos experimentos sobre el vacío; pero se trata de una obra inmadura donde se admite un horror al vacío (con una fuerza limitada, equivalente a la que representa 31 pies de agua) y no se explica la elevación del mercurio por la presión atmosférica. La
Filosofía experimental de Henry Power se publica en 1663; la
Micrografía de Robert Hooke, en 1665, y las cartas de Torricelli aparecieron en 1663 en Cario Dad,
Lettera a Filaleti di Timauro Antiate de la vera storia della cicloide famosissima esperienza desargento vivo, Florencia, 1663.
[43] Bacon, Prefacio a la
Instauratio Magna. [44] T. Sprat,
Historia de la Sociedad Real, 1667, pág. 107-8
[45] Sobre los indeseables efectos de las burbujas, así como los principales métodos de eliminarlas, véase más abajo.
[46] El
diaquilón es un ungüento empleado en medicina para ablandar úlceras y como pegamento. Es un emplasto a base de litargirio (óxido de plomo), aceite de oliva y manteca, siendo básicamente oleato de plomo con glicerina y ácido oleico.
[47] Al aislar el tubo de Torricelli de la atmósfera, encerrando la parte inferior en la campana de la bomba de vacío, la columna de mercurio no puede estar soportada por el peso de la columna de aire atmosférico, sino que ha de verse empujada por la presión (elasticidad) del aire encerrado. De esa manera, se da el primer paso hacia el planteamiento de la ley de Boyle como relación entre la elasticidad y densidad del aire rarificado tras los primeros embolazos de la bomba. Para un planteamiento similar de Torricelli en 1644 (respuesta a la segunda objeción de Ricci; carta del II-VI-1644), abandonado tal vez por motivos religiosos, cf. C. Webster, The Discovery of Boyle’s law, and the Concept of the Elasticity of Air in the Seventeenth Century,
Arch. Hist. Exact. Esciences, Vol. 2, n° 6: 441-502; págs. 467 y sig.
[48] John Wallis (1616-1703), matemático; Seth Ward (1617-1689), astrónomo; Christopher Wren (1632-1723), matemático
y arquitecto. Todos ellos son contemporáneos de Boyle, personajes importantes de la ciencia inglesa del diecisiete, relacionados con la Sociedad Real de Londres.
[49] Al comienzo de este tratado;
The Works of the Honourable Roben Boyle (6 vols.) editadas por T. Birch; Londres 1772; Vol. I, pág. 7.
[50] La formación de una hipótesis sobre la relación funcional entre presión y volumen, o más bien entre elasticidad y densidad del aire, era muy difícil de establecer con este experimento. Primero, porque la altura de la columna de mercurio que da los valores de la elasticidad no se podía observar y determinar adecuadamente y, segundo, porque la densidad del aire (a volumen constante) resultaba ser una magnitud inmanejable, dado que cada golpe de émbolo extrae diferentes cantidades de aire (o iguales volúmenes de diferente densidad), y sin la ley de Boyle no se puede conocer esa variación. Todo ello sin tener en cuenta las entradas de aire en un aparato no plenamente estanco; entradas que aumentaban proporcionalmente al vaciado de la campana.
[51] Los
New Experiments (a los que pertenece el texto) se escribieron a modo de carta dirigida al Honorable Charles, Lord Vizconde de Dungarvan, primogénito del Earl de Corke.
[52] Según la descripción que aparece al comienzo del libro
(Works, I, pág. 8), el cilindro tenía 14” de longitud (35,5 cm) y 3” de diámetro (7,62 cm). Así la primera extracción de aire (unos 850 cm
3) casi vaciaba del todo la pequeña campana de un litro aproximadamente que se menciona en el párrafo anterior, aumentando notablemente los errores derivados de la entrada de aire, proporcional al vacío producido (recuérdese lo dicho al final de la nota 6). De esta manera se echa a perder el método de cómputo de la relación entre el resorte del aire y su densidad (constante antes de la primera succión) usando una sola succión en campanas de diferente tamaño, según el método apuntado a continuación, en el que se restan volúmenes iguales de aire a campanas de diferente capacidad. De ese modo se producirían variaciones de densidad (tal vez computables por personas con mayor capacidad matemática de la que Boyle se atribuía así mismo) que se pondría inmediatamente en relación con las correspondientes variaciones de la columna de mercurio que mide el resorte del aire encerrado.
[53] Como se verá en el siguiente texto (págs. 71 y sigs.), la solución no procedió de una mayor sofisticación matemática, sino de un dispositivo experimental más adecuado, en el que la cantidad de aire se mantiene constante, correspondiendo las variaciones de volumen a cambios de densidad fácilmente computables.
[54] Se trata del Diálogo entre
Cameades y
Eleutherius (los mismos interlocutores de
El químico escéptico) mencionado anteriormente en el Experimento XV. Estos Diálogos acerca del
calor, la
llama y el
fuego se habrían perdido (como corresponde a su perverso contenido) en el gran incendio de Londres de 1666. Boyle nunca se decidió entre el cartesianismo y el epicureismo, abrazando empero lo común a ambos: el mecanicismo o programa consistente en explicar las cualidades y fenómenos naturales por el movimiento de la materia dividida en corpúsculos. (Véase el escrito 7, págs. 188-189, así como
Works, I: 355-356, el comienzo del Prefacio a
Some Specimens of an Attempt to make Chymical Experiments Useful to IIlustrate the Notions of the Corpuscular Philosophy.) Sin embargo, se negaba a dirimir la disputa entre atomistas partidarios del vacío y cartesianos plenistas, pues aunque admitía el vacío, en general —y frente a los franceses— los ingleses (Boyle, Towneley, Hooke, Power) estaban más interesados en la elasticidad que en el vacío. Especialmente, Boyle deseaba mantenerse escéptico en este asunto y reacciona con desproporcionada violencia cuando Hobbes lo identifica como vacuista (quizá debido a la asociación vacuista-epicureísta- ateo); desproporción que puede estimarse a la vista de lo que señala a continuación, donde parece defender claramente un vacío macroscópico (o
disseminatum), cuando no claramente el gran vacío macroscópico (o
coacervatum). Más adelante, en 1669 (
Continuación de los Nuevos experimentos...; Experimentos 38, 39 y 40;
Works, III, págs. 250-259), tratará sin éxito de detectar la presencia de la materia sutil en el «vacío».
[55] Se trata de los cartesianos quienes, al negar el vacío por razones metafísicas, postulaban otros fluidos etéreos para no dejar la campana evacuada de aire ordinario realmente vacía. Véase a modo de ejemplo la Carta de Pascal a Noel en Alberto Elena (ed.) Pascal:
Tratados de Pneumática, Alianza Editorial, 1984.
[56] Fisiología (de
físis) quiere decir relativa a la constitución de la naturaleza y no a la de los seres vivos.
[57] Los ingleses, que conocieron a través de los franceses estos experimentos torricellianos, se engañaron frecuentemente por las medidas francesas, cuyas pulgadas eran mayores que las inglesas. Así le ocurrió a Walter Charleton en su
Physiologica Epicuro-Gassendo-Charltoniana, Londres, 1654; una especie de resumen de la obra de Gassendi, del que toma el valor 27”. (Cf. C. Webster,
op. cit., pág. 458.) Incluso Henry Power, que hizo experimentos originales, dudó en dar su valor en lugar del de los franceses (Ibid., pág. 460).
[58] Con este término italiano, recién introducido entonces en Inglaterra, se designa a las personas cultas e inquietas que se entregan a estudios no tanto útiles cuanto curiosos y raros por motivos más de noble pasatiempo que profesionales.
[59] El siguiente Experimento XVIII versa acerca de las variaciones de la altura de la columna mercurial imputables a variaciones de la presión atmosférica. El efecto parece haber sido ya detectado por Torricelli en la carta a Ricci mencionada en la nota 3, pues al final de ella dice observar que la altura de la columna mercurial cambia según que la atmósfera sea más o menos densa, liviana, pesada o gruesa. Sin embargo, antes de que el tubo de Torricelli y la hipótesis en que se asienta su uso no se vieran ampliamente aceptados, el tubo no se convirtió en un barómetro, cosa que tardó tiempo en ocurrir. El fenómeno se menciona en el Diario de Beekman (1604-1634) sin que nadie se enterase de ello cuando interesaba.
[60] Franciscus Linus, S. J., autor de un
Tractatus de corporum inseparabilitate (Londres, 1661), donde criticaba los
New Experiments Physico-Mechanicall, Touching the Spring of the Air, Oxford, 1660, de R. Boyle. La segunda edición de esta obra,
New Experiments Physico-Mechanicall, Touching the Air. The Second Edition. Whereunto is added a Defense of the Authors Explication of Experiments, Against the Objections of Franciscus Linus, And, Thomas Hobbes, Oxford, 1662, explicita de sobra en el título su objetivo y composición (las críticas de Hobbes aparecieron en su
Dialogus physicus de natura aeris, Londres, 1661). La hipótesis de Linus recurría a la existencia de un cordón de mercurio rarificado, el
funiculum, que sostenía la columna mercurial en el experimento de Torricelli, con lo que se oponía a la hipótesis de la presión atmosférica. Siendo esta tracción lo contrario de la presión de Boyle, éste utiliza el experimento del Puy-de-Dóme como experimento crucial contra Linus en el capítulo IV de la Parte II (el anterior a éste que presentamos aquí).
[61] Sobre el sentido de esta afirmación, véase más abajo.
[62] El deleite deriva de observar el cumplimiento de su hipótesis sobre la relación directa entre elasticidad y densidad. Téngase en cuenta que antes de comenzar a verter mercurio en el brazo largo, el aire encerrado en el corto posee la densidad del aire a presión atmosférica, capaz de soportar un peso de aire equivalente a 29 pulgadas de mercurio. Ahora, al reducirse a la
mitad(doble densidad), soporta la presión atmosférica (equivalente a 29 pulgadas de mercurio) más otras 29 pulgadas de mercurio real; esto es, posee una elasticidad
doble, que es lo que se pretende demostrar. En efecto, en esta hipótesis y experimento de Septiembre de 1661 establece una proporcionalidad directa entre el resorte del aire (resistencia a la compresión) y su densidad. Más abajo se verá la ley y el experimento para la relación inversa entre expansión y presión.
[63] En 1647, Pascal, basándose en su experimento del vacío en el vacío (similar al Experimento XVII de Boyle; véase el escrito anterior) y en el experimento del globo (semejante al de la vejiga de carpa de Roverbal), considera que el aire sufre una compresión proporcional a la presión ejercida sobre él; y aunque no estudia directamente el «resorte» del aire, conecta las diversas alturas de la columna de mercurio con la presión del aire: «Visteis luego que esa altura o suspensión del mercurio aumentaba o disminuía a medida que la presión del aire aumentaba o disminuía y que, en fin, todas esas diversas alturas o suspensiones del mercurio estaban siempre proporcionadas con la presión del aire» (Copia de la carta del Sr. Pascal, dijo, al Sr. Perier, del 15 de XI de 1647; edn. de las
Obras de Pascal, Madrid: Alfaguara, 1981; pág. 778). El autor inglés es Richard Towneley (Véase más abajo la nota 11), o quizá Henry Power, quienes en 1653 habían visto que el aire encerrado ejerce una fuerza diferente del simple peso atmosférico; dicha fuerza se entiende como una resistencia a la compresión por un peso externo y como una tendencia a la expansión: el «elater» o elasticidad del aire. En abril de 1661, excitados en parte por la publicación del libro de Boyle
(New Experiments), iniciaron un estudio experimental con mediciones de la expansión del aire bajo diferentes presiones que desembocó en la hipótesis que conecta el volumen y la elasticidad del aire. Para la descripción de los experimentos de Towneley y Power, así como sobre sus relaciones con Boyle, véase Webster,
op. cit., especialmente §§ VI-IX. Véase asimismo la primera parte del Libro II de la
Experimental Philosophy de H. Power, obra publicada en 1663, si bien en Agosto de 1661 Boyle estaba ya en posesión del manuscrito sobre experimentos mercuriales.
[64] Boyle realizó estos experimentos junto con William Croune, comunicándolos a la Sociedad Real de Londres el 11 de Septiembre de 1661; véase T. Brich,
History of the Royal Society (4 vols., Londres 1756/7; vol. I, pág. 45). La ventaja de este diseño experimental frente al del Experimento XVII (escrito anterior) estriba en que se mide directamente y a la vez la presión y la densidad del aire. Recuérdese que en el Experimento XVII la altura del mercurio era difícil de leer cuando descendía por debajo de la parte superior de la campana, y que la densidad del aire era imposible de determinar. Aquí, en cambio, es inversamente como el volumen, ya que la cantidad de aire comprimido es constante a lo largo de todo el experimento (véase la nota 6 del capítulo anterior). Por otra parte, en este momento Boyle ya conoce los manuscritos de Power, tal y como se señalaba al final de la nota anterior.
[65] Las dos columnas
AA recogen las mediciones de dos experimentos en los que el aire se reduce a 1/4 de su volumen original, de 48 a 12, y de 12 a 3 respectivamente.
[66] Como se ve, el valor del cuadro para esta columna contiene una errata; debería ser 29 1/8”, que es el valor que se suma en la columna D.
[67] Esta formulación de la ley es posterior a Diciembre de 1661, una vez que Boyle conoció a través de Towneley la extensión de la ley de la compresión para el caso de la expansión que se recoge en el segundo experimento de este escrito;
vide infra, págs. 84-85 y sigs.
[68] Boyle no extiende inmediatamente la hipótesis sobre la compresión del aire al caso de la expansión, quizá (según sugiere Webster,
op. cit., pág. 487) porque tomase en consideración la idea escolástica de que compresión y expansión son dos fenómenos cualitativamente distintos. De hecho, establecer la ley de la relación funcional inversa entre expansión y presión exige un experimento distinto del de la ley directa entre compresión y presión.
[69] A esto es a lo que aludía el texto a que corresponde la nota 2.
[70] Richard Towneley (1629-1707), filósofo natural cuyo catolicismo lo impulsó a vivir retiradamente. Como se ha señalado, realizó en 1660-1661 experimentos con H. Power sobre la relación de la presión del aire con el aumento del volumen. Sus
Mercurial Experiments Made at Towneley Hall in the Years 1660-1661, (Septiembre de 1661) no han sobrevivido en ningún ejemplar, aunque su contenido puede colegirse de lo publicado por Power (
op. cit. al final de la nota 4), no pasando desapercibidos gracias a esta mención de Boyle.
[71] El 27 de Abril de 1661, Towneley y Power examinaron la elasticidad del aire expandido mediante el experimento de Torricelli con un tubo que contenía volúmenes iguales de aire y mercurio. La expansión del aire se medía a distintas altitudes, ya que donde él vivía disponía de montes de conveniente altura (unos 600 m.). (Para los detalles, véase H. Power,
op. cit., pág. 127 y sigs.; Webster,
op. cit., págs. 473-476.). Este reconocimiento de Boyle indica que fue Towneley quien le sugirió extender al aire dilatado la hipótesis formulada para el comprimido. Webster
(op. cit., pág. 488) aporta elementos de juicio a favor de un encuentro personal entre Towneley y Boyle en las reuniones de la Sociedad Real de Londres, en el otoño de 1661. Asimismo, Towneley habría sugerido a Boyle la interpretación correcta de sus series de datos (véanse las columnas
A y
B de la Tabla de la rarefacción, más abajo), donde los valores de ambas columnas crecen, ocultando la ley. La obtención de la columna
D, en que se observa el decrecimiento de la presión (inversa de la dilatación), se expresa con palabras (
complemento) semejantes a las utilizadas por Towneley y Power
(Complemento mercurial). [72] Roben Hooke (1635-1702) fue asistente pagado de Boyle desde 1658, cuando desarrolló la bomba de vacío bajo su dirección, hasta 1662. La parte que corresponde a Hooke en el descubrimiento de la ley de Boyle es casi imposible de determinar. Según nos cuenta en su
Micrographia (Londres, 1665, pág. 225; véanse también las 223-228), comenzó hacia mediados de 1660 una serie de experimentos idénticos a los que aquí expone Boyle (realizados por éste a partir de Septiembre de 1661, tras recibir noticias del trabajo de H. Power a través de Croune), que habría repetido para completar los detalles en Agosto de 1661, reconociendo de pasada la influencia de la hipótesis de Towneley en la interpretación de los datos. Dejando de lado la increíble precocidad y claridad de sus experimentos, da la impresión de que su historia es la misma que la que nos cuenta Boyle, haciéndose aparecer a sí mismos respectivamente como únicos protagonistas. Es curioso, sin embargo, que una persona tan poco apocada como Hooke a la hora de reclamar sus prioridades no litigase con Boyle si los experimentos que se atribuye fuesen tan precoces y exactos. Además, en segundo lugar, los registros de la Sociedad Real de Londres no recogen experimentos de Hooke sobre este tema hasta el 10 de Diciembre de 1662. Tal vez ambas cosas se deban al papel subordinado de Hooke, un joven prometedor de 25 años, respecto a su empleador, Boyle, un investigador ya hecho de 33. Su ausencia de los registros de la Sociedad Real quizá se deba a que su trabajo estaba siendo «comprado» y apropiado por Boyle, que era quien lo dirigía. Por otro lado, a pesar de que Hooke no menciona a Boyle en la
Micrographia, éste no lo desautoriza como uno de aquellos innumerables plagiarios que se apropiaban de sus experimentos sin citarlo, y en su testamento le lega el «mejor microscopio y la mejor piedra imán que posea en el momento de mi muerte». Quizá ni ellos mismos podían distinguir sus respectivas responsabilidades en los experimentos. No obstante, se ha insinuado un peso fundamental de Hooke en los aspectos cuantitativos, dado que Boyle nunca más volvería a realizar trabajos de este tipo después de que Hooke dejase de ser su asistente en 1662, mientras que éste continuó con la investigación de leyes funcionales toda su vida, como muestra el descubrimiento de la
ley de Hooke para la elasticidad. Por otro lado, mientras que Boyle no presentaba un talante matemático, Hooke, sin ser un genio de la talla de Huygens, Leibniz o Newton, era un matemático honesto y competente, capaz de iniciar, por ejemplo, uno de los primeros análisis del movimiento armónico simple.
[73] Recuérdese que en este experimento se obtiene un equilibrio entre la presión atmosférica (equivalente a 29 pulgadas de mercurio) por un lado, y la suma de la presión del aire encerrado más la columna de mercurio del tubo, por otro. De ahí que para obtener la presión del aire encerrado haya que restar la columna de mercurio de la columna de aire atmosférico (equivalente a 29 pulgadas de mercurio).
[74] La «parte histórica» quiere decir la parte de historia natural, observacional y experimental, frente a la parte teórica en la que se dan interpretaciones y explicaciones causales de los fenómenos (o «historia»).
[75] Franciscus Linus, S.J.; véase la nota 1 del escrito anterior.
[76] El Experimento IV de los
New Experiments (Works, 1:18-19) es la versión boyleana del de la vejiga de carpa, consistiendo en poner una vejiga de cordero medio desinflada en la campana de la bomba de vacío para ver cómo se hincha a medida que se hace el vacío. El famoso experimento original de la vejiga de carpa es de Giles Persone de Roberval (1602-1675); véase su carta de mayo/junio de 1648 a des Noyers: P. de Roberval de Vacuo Narratio ad Nobilem Virum Dominum des Noyers; en
Oeuvres de Blaise Pascal, ed. C. Bosssut, 5 vols., La Haya, 1779, Vol. II: 310-340. En este experimento se pone la vejiga vacía en un tubo de Torricelli, hinchándose al darle la vuelta y caer el mercurio, provocando un vacío. Se trata de un experimento vistoso que gozó de gran popularidad, conociéndolo Boyle a través de Hartlib en carta del 9 de Mayo de 1648 (Boyle,
Works, VI: 77-78).
[77] Recuérdese que en esta época se distingue entre los vacíos microscópicos entre átomos o vacíos diseminados
(vacuum disseminatum) y el vacío macroscópico (
vacuum coacervatum). [78] Este modelo de Boyle había sido ya sugerido por J. Pecquet
(Experimenta Nova Anatómica, París, 1651), y reexpuesto por H. Power
(Experimental Philosophy, Londres, 1663), así como por W. Charleton
(Physiologica Epicuro-Gassendo-Charltoniana: or a Fabrick of Science Natural, Upon the Hypothesis of Atoms, Londres, 1654).
[79] Aunque en lo que nos ha llegado de Epicuro no hay un tratamiento específico y sistemático de la luz, la sugerencia de su carácter mate rial es relativamente clara. La palabra «luz» sólo se usa cuatro veces, y en la carta a Pitocles. Por ejemplo, en 101, 10 y sig., se adjetiva a la luz como materia sutil (λeπτομeρeστατον φωτός). Más claro es Lucrecio, quien en su
De rerum natura indica la existencia de corpúsculos de luz, Así (libro II: 384-388), habla de la mayor sutiliza de la llama celeste del rayo que, al constar de formas menores, puede pasar a través de determinados poros; asimismo (Libro II: 388 y sigs.) señala que los átomos de luz (
luminis illa corpora) son menores que los del agua, etc. La tradición del siglo XVII interpretó el epicureismo en óptica como una doctrina de la emisión de partículas de luz.
[80] No sé exactamente a qué se refiere Boyle. Bacon (
Natural History, cent. IV, n° 363: Experiment solitary touching congelation of air) expone un experimento consistente en enterrar en tierra o mejor aún en nieve una vejiga llena de aire, observando cómo encoje, de donde deduce «es claro que la frialdad de la tierra o la nieve ha condensado el aire». Sobre la rarefacción en general, véase su
Historia densi et rari(The Works, 4 vols., Londres; printed for A. Millar, 1740; Vol. II), donde se recogen varias
historias, una de ellas sobre la rarefacción de vapores en una vejiga en virtud del calor.
[81] El modo cartesiano de explicación que expone Boyle está inspirado en los
Principia Philosophiae (1644), en cuya Parte II (§§ 4-19) se ataca el vacío, identificando cuerpo y extensión, y explicando la Tarificación por la intrusión de otra materia más sutil entre los corpúsculos del cuerpo rarificado (§§ 6 y 7). En la Parte IV, se explica la naturaleza del aire (§ 45) como conjunto de partículas del tercer elemento (o terreo frente al éter y al fuego; para la teoría de los tres elementos, véase la Parte III, v. g. § 52) desligadas unas de otras y agitadas por los movimientos de la
materia celeste que llena sus intersticios. El aire se dilataría y condensaría por el calor y el frío, debido a que sus partículas son «muelles flexibles como pequeñas plumas o trozos de cuerda muy sutiles, debiendo cada una de ellas extenderse tanto más cuanto que más agitadas se hallan, ocupando de este modo un espacio esférico mayor» (§ 46), lo que explica la fuerza del aire comprimido, (§ 47).
Boyle, como Henry More, Power o Towneley, estaba profundamente inspirado por el cartesianismo y, aunque en ocasiones parezca favorecer la opinión de los atomistas, suele no entrar en la polémica entre unos y otros (separados fundamentalmente por la idea del vacío y de la indivisibilidad de los átomos). Boyle se interesa más por estudiar la elasticidad y proponer plausibles modelos mecánicos, filosofía en la que coinciden fundamentalmente ambas escuelas. Véase más abajo el escrito 7, págs. 192 y ss., así como la introducción al Experimento I de los
Experiments Physico-Mechamicall (Works, 1:11-12), donde, tras señalar la existencia de ambos modelos, declara «no deseo inclinarme por ninguno de ellos en contra del otro. (...) declinaré enzarzarme en un tema mucho más difícil de explicar de lo necesario para aquél cuyo objetivo no es (...) asignar una causa adecuada del resorte del aire, sino tan sólo manifestar que el aire posee resorte, haciendo relación de algunos de sus efectos»
(Ibid., pág. 12).
[82] Otto von Guericke (1602-1686), el primero en utilizar una bomba de vacío para realizar experimentos sistemáticos, recogidos en el Libro III de su obra
Experimenta Nova Magdeburgica(ut vocantur) de Vacuo Spatio, Amstelodami, Apud Joannem Jausforium, 1672. El experimento de la vejiga a que alude el texto aparece en el Capítulo XXXIII (Experimenta de Aéris dilatatione & condensatione seu compressione).
[83] Ibid., libro III, v.g., capítulo XVIII, donde se describe la irrupción del agua en el recipiente vacío.
[84] Para Descartes, la materia se halla dividida en tres grandes tipos de partículas (no atómicas, aunque relativamente estables): el primer elemento o fuego, que compone el cuerpo solar; el segundo elemento o materia sutil o éter, que llena los espacios interplanetarios; y el tercer elemento o materia crasa, que forma los cuerpos de los planetas. (Véase
Le Monde). [85] «Estas cosas demuestran cumplidamente que la rarefacción en absoluto se puede explicar mediante tales corpúsculos».
[86] La
rota aristotélica o rueda de Aristóteles aparece en el libro atribuido a Aristóteles,
Cuestiones mecánicas. La rueda plantea la cuestión paradójica de que cuando una rueda da una vuelta, su circunferencia marca en el suelo una trayectoria igual a su longitud, mientras que el centro traza una línea en el aire igual a la anterior, a pesar de que sería el desarrollo de un solo punto. Galileo había recurrido a este ejemplo (
Discorsi, pág. 68 y sigs.) para demostrar que en una extensión continua y finita puede haber infinitos vacíos infinitamente pequeños intercalados. Sin embargo, Linus se hace un lío no menguado con sus indivisibles extensos que ejemplifica con los movimientos de los ángeles.
[87] Cf. M. Boas,
Robert Boyle and the Seventeenth Century Chernistry, Cambridge: Cambridge University Press, 1958.
[88] «Si la combinación ha tenido lugar, el compuesto ha de poseer una textura plenamente uniforme, siendo cualquier parte de tal compuesto igual que el todo».«En la medida en que los constituyentes se presen- ven en pequeñas partículas no diremos que se hallan combinados».
De generatione et corruptione, cap. 10, 328a, 6-19.
[89] Recuérdese con qué soltura se mueve Boyle entre ambas tradiciones en el apartado 3.
[90] The Works, I: 354 y sigs.
[91] T. Birch,
The Life of the Honourable Rohert Boyle, Works, I: cxxx.
[92] P. Shaw dice, hablando de la «química filosófica» de Boyle: «...una parte considerable de las obras del Sr. Boyle caen bajo el título de física, pues descubrió gran cantidad de propiedades nuevas en los cuerpos que se habían tomado en poca consideración, o al menos no se habían considerado antes mecánicamente». Cit. en M. Boas, The Establishment of the Mechanical Philosophy,
Osiris, 10 (1952): 412-541, pág. 496.
[93] Experimentos y notas sobre la producibilidad de los principios químicos (Apéndice a la segunda edición de
El químico escéptico; Works, I: 587.
[94] M. Boas,
op. cit. en la nota 6, pág. 497.
[95] Ibid., pág. 413 y sig.
[96] El químico escéptico, Works, I: 562; el subrayado es mío.
[97] Véase
Examen del origen y doctrina de las formas substanciales; Works III: 50.
[98] Final de
El químico escéptico, Works I: 583; el subrayado es mío.
[99] Véase más abajo, la introducción del Capítulo IV, pág. 189-
[100] Vide T. S. Kuhn, Robert Boyle and Structural Chemistry in the Seventeenth Century,
Isis, Vol. 43, n° 131 (Abril de 1952): 12-36; pág. 32 y sigs. Se trata de un artículo breve que vale por docenas de páginas.
[101] Los cuatro elementos aristotélicos son
agua, aire, tierra y
fuego. Más que elementos en sentido actual son las cuatro primeras determinaciones de la informe
materia prima según los dos pares de cualidades: frío/caliente y seco/húmedo. Se consideraba que
todos los cuerpos contenían estos cuatro elementos en diversas proporciones. Paracelso (1493-1591) y sus seguidores, llamados «químicos», consideraban que esos elementos aparecían en los cuerpos como una
tria prima: sal, azufre y mercurio. Estos elementos, que no se identifican con las substancias ordinarias de ese nombre, son los principios de la fijeza, solidez e incombustibilidad (sal); de la fusibilidad y volatilidad (mercurio), y de la inflamabilidad (azufre).
[102] Esta definición de los elementos no se corresponde, como alguna vez se ha dicho, con el concepto de elemento de la química moderna (: aquellas substancias en las que se detiene el proceso de descomposición del análisis químico), sino que son los
principios hipostáticos y universales que entran,
todos ellos, en la composición de
todos los cuerpos. La definición de Boyle apareció publicada de manera fundamentalmente idéntica en
El químico escéptico (Works, I, págs. 468 y 562), siendo a menudo malinterpretada como la definición del concepto moderno de elemento, cuando, por el contrario, es la explicitación de la concepción clásica que se critica; véanse las
Conclusiones del final de este escrito, pág. 147 y sig.
[103] Como se sabe, el talco se caracteriza por su resistencia a las temperaturas elevadas. Aún en 1768 (fecha de la iniciación de la edición primera de la
Encyclopaedia Britannica) se pensaba que era capaz de soportar la fuerza de un fuego violento sin calcinarse, por lo que Boyle está expresando aquí su incapacidad para descomponerlo por el fuego.
[104] La
flema (o agua) es una destilación acuosa, fluida, insípida y volátil; el
espíritu es cualquiera de las muy diversas substancias que constituyen líquidos destilados volátiles, no insípidos como la flema ni inflamables como los aceites (Lemery lo identifica con el
mercurio filosófico, esto es, el principio de la volatilidad y fusibilidad); el
aceite es cualquiera de esos cuerpos untuosos que arden con llama y humo, no solubles en agua, que se interpretarán normalmente como una tierra fija más
azufre (el principio de la combustibilidad); la
sal es un cuerpo sólido y no combustible, de fijeza intermedia entre la de la tierra y la del agua, y que aparece como residuo de la destilación; la
tierra es un cuerpo fijo capaz de resistir al fuego en un estado puro (difícil de obtener).
[105] El asta de ciervo se usaba mucho en farmacia, ya que su análisis producía, entre otras cosas, un líquido impregnado de una sal volátil llamada
espíritu de asta de ciervo, útil para los desmayos por su olor penetrante (sales amoniacales).
[106] El guayacán o guayaco es un árbol cigofiláceo tropical (g.
officinal, g.
sametum) de cuya resina se obtiene el guayacol y cuya madera, dura y densa, se conoce como palosanto,
lignum vitae, etc.
[107] Las
flores son un polvo finísimo producido por condensación o sublimación que queda adherido a la parte superior del alambique.
[108] La benzoina es una resina balsámica obtenida de árboles del genero
Styrax de Sumatra, Java, etc. Se comercializa en forma de lágrimas amarillo-ocre de olor fragante, usadas para las irritaciones de la piel, como expectorante, como fijador en perfumería o como incienso
[109] El baño es un procedimiento para tratar a los cuerpos con un calor más suave que el suministrado por el fuego directo. Se coloca el pro ducto en un recipiente que se introduce en otro que contiene el baño, éste puede ser de arena
(balneum arenosum o siccum), de agua
(balneum marine, llamado así por María la judía), de vapor
(balneum vaporis), etc.
[110] Residuo seco tras la destilación.
[111] Los seguidores de Paracelso, quienes tenían al fuego por el instrumento universal del análisis químico.
[112] Recuérdese que el fuego se tenía por una de las substancias elementales. La referencia a
átomos de fuego, aunque Boyle fuese reverenciado más tarde como el reinstaurador de la filosofía mecánico corpuscular, no indica aquí necesariamente un compromiso con el atomismo, ya que (como señala M. Boas,
his, 45, pág. 156n), en la época, «átomo» podía significar sencillamente «partícula diminuta». El tono empírico, poco teórico y prudentemente escéptico de este escrito no permite tomar esta referencia como indicio de un compromiso teórico; véase la nota 15 más abajo.
[113] Empireuma es el olor y sabor desagradable típico de los cuerpos sometidos a un excesivo tratamiento ígneo.
[114] Glauber (1604-1670). Aunque su libro
Nuevos hornos filosóficos se publicó originalmente en alemán (Ámsterdam, 1646-9), Boyle citaría la traducción al latín y al inglés de 1651. M. Boas
(loc. cit. en la nota 12, pág. 154 y nota) toma esta cita como prueba de que estas
Reflexiones se escribieron después de esa fecha de 1651.
[115] En
El químico escéptico (Works, I, pág. 488) dice que la función real del fuego es «poner en movimiento», efectuando con él la disociación de los cuernos: otra prueba de que ahora aún no se halla comprometido con la filosofía mecánico-corpuscular; recuérdese lo dicho en la nota 12.
[116] El carácter compuesto del agua no se conoce hasta los «Experiments on Air» de Cavendish,
Philosophical Transactions, lxxiv, 119, 1784
[117] Oxido de mercurio. El procedimiento empleado en su obtención consistía en exponer el mercurio a) mayor calor posible sin que se sublimara, obteniendo tras un período de unos tres meses el polvo rojo conocido como
mercurius precipitatus per se o mercurio precipitado por sí mismo.
[118] Aunque el colcótar es fundamentalmente óxido férrico (Fe
2O
3), usado como pigmento bajo la denominación de
rojo de Veneáa, Boyle designa con este nombre no sólo los vitriolos de hierro, sino también los de cobre. Esta sublimación se discute mis ampliamente en
La utilidad de la filosofía natural; Works, Vol. II, pág. 217.
[119] Según Plinio y Dioscórides, en la antigüedad el amoniaco se oh tenía en las posadas donde se alojaban peregrinos (y sus camellos) que iban al templo de Amón (de donde proviene el nombre de amoniaco). Al parecerías deyecciones de camello egipcio eran de excelente calidad para este tipo de fines. En tiempos modernos, la sal de amoniaco seguía manufacturándose en Egipto a partir de los preciado humores de tan noble animal, mezclados con hollín y sal marina e introducidos en largos recipientes cuyos cuellos se tapaban con algodón. Tras mantenerlos dos días y una noche enterrados en el fuego, los vapores impregnaban el algodón, formando unas pastillas que se exportaban a Inglaterra. Las flores (véase la nota 7) de amoniaco se obtenían sublimando la sal
[121] Véase más abajo la sección 8, y nota 19, especialmente el pasaje de la obra allí mencionada.
[122] Kenel Digby (1603-1665) era católico, filósofo natural y adicto a las ciencias ocultas; coleccionaba libros y manuscritos, así como recetas médicas, químicas y caseras que intercambiaba con otros estudiosos como Boyle, con quien se hallaba emparentado políticamente.
[125] Según la
Encyclopaedia Británica (1768-71) la piedra
osteocola (cola de huesos) «es un espato adulterado con tierra y por tanto no transparente»; tiene forma tubular y superficie rugosa, usándose en osteología y como diurético.
[126] La reverberación es una calcinación en el homo de reverbero
[127] Los tres principios hipostáticos de Paracelso: azufre, sal y mercurio.
[128] Se trata de la supuesta «sal» de plata o mercurio, que en realidad no es más que la cristalización de las sales que estos metales forman por su disolución en el agua fuerte y otros disolventes. Cf.
El químico escéptico, Works, Vol. I, pág. 513.
[129] Rectificar es purificar por destilaciones sucesivas.
[130] En inglés
wormwood. [131] En inglés
eyebright. [132] La digestión en una cocción lenta
[133] El régulo de antimonio (el metal) se une fácilmente con el azufre formando un compuesto, el azufre de antimonio, que presenta un débil brillo metálico y forma unas agujas largas, tal y como se halla usual mente en el mineral (cf.
Encyclo. Brit., II, pág. 88). Se usaba para se parar el oro de otros metales por la mayor afinidad de éstos con el azufre, quedando en el fondo el oro y el régulo de antimonio, del que aquél se separaba fácilmente volatilizando el antimonio.
[134] Se trata del azufre obtenido de la destilación de los aceites de vitriolo y trementina, que se consideraban cuerpos simples hasta Boyle; cf.
El químico escéptico, Works, Vol. I, pág. 525
[135] Los «químicos» consideraban que uno de los tres principios de to dos los cuerpos era el mercurio (filosófico, no ordinario), por lo que en principio podía obtenerse de todos los cuerpos fuesen metales, vegetales o animales. Aunque era un elemento, difería según las substancias de que se obtenía, (Cf. Paracelso,
De mineral. Tract. I, pág. 141, citado por Bovle,
Works, Vol. I, pág. 542). Asimismo era el ingrediente fundamental de las transmutaciones, si bien Boyle se muestra escéptico acerca de los diversos procesos de extracción de este mercurio filosófico tan codiciado (véase
Works, Vol. I, pág. 541).
[136] La flema, un líquido más o menos transparente e insípido, era a veces tenida por agua elemental. Sin embargo, Boyle critica esta opinión dado que diversas flemas presentan diversas propiedades según los cuerpos de que se extraen o según los procedimientos utilizados (cf.
Works, Vol. I, págs. 651 y sig.).
[137] La flema de saturno (plomo) disolvería perlas y corales.
[138] Dulcificar era hacer perder causticidad, acritud, etc. a una substancia impregnada de «sales» mediante lavados con agua.
[139] Como señalábamos en la nota 18, Boyle incluye bajo la denominación de colcótar no sólo los vitriolos de hierro, sino también los de cobre. La caparrosa o vitriolo azul era básicamente sulfato de cobre. En los
Experimentos y notas sobre la producibilidad de los principios químicos (Works, Vol. I, pág. 659), Boyle dice que un conocido suyo, familiarizado con las minas de Hungría, extrajo del caput mortuum del colcótar de vitriolo húngaro no sólo cobre, sino plata y aun oro. Sin embargo, alude aquí a una fuente más clásica, Angelus Sala (1576-1637), químico paracelsiano heterodoxo y práctico, autor de una Anatomía vitrioti (Ginebra, 1609), quien dominó el análisis y composición del vitriolo azul. [140] El mercurio dulce se preparaba mezclando mercurio con sublima do corrosivo (o «mercurio combinado con espíritu de sal»; cloruro mercúrico, HgCl) y sublimándolos una segunda vez. De este modo «se producirá otro compuesto que contiene más mercurio y es menos acre, por lo que se denomina
sublimado dulce de mercurio, mercurius dulas u
aquila alba (cf.
Encycl. Brit. cit., Vol. II, pág. 87). Se usaba en medicina como purgativo o emético, según la dosis.
[141] Plomp. Recuérdese lo dicho en la nota 35 sobre el mercurio de los cuerpos.
[142] Johan Baptista van Helmont (1579-1644), infatigable investigador en los comienzos de la química, a la que aplica un cuidadoso enfoque cuantitativo convencido de la indestructibilidad de la materia, tal como ejemplifica su famoso experimento del sauce resumido por Boyle más abajo. Aunque hizo estudios sobre gases (y de él procede la palabra) no se percató de la función del aire en el crecimiento del sauce, que atribuía al otro elemento que aceptaba además del aire: el agua. Los otros dos elementos clásicos, tierra y fuego, se rechazan; éste porque no es más que humo ardiente y aquélla porque es reducible a agua. De ahí la siguiente afirmación de Boyle en el sentido de que van Helmont reduce todos los compuestos a agua. La cita bíblica en apoyo de esta tesis que menciona Boyle más abajo procede de van Helmont.
[143] Las marcasitas (piritas) son sulfuras de hierro. Se usaban en Alemania para la obtención de azufre y vitriolo, desconociéndose que contuvieran hierro, metal difícil de beneficiar a partir de ellas. Su color amarillo, plateado o blanco inducía la sospecha de que contuviesen metales preciosos. Esta fascinación y carácter misterioso hada que figurasen como categoría independiente en las clasificaciones de las substancias del mundo inorgánico.
[144] El piadoso lector recordará el inicio del
Génesis, I, 1-2: «En el principio creó Dios los cielos y la tierra.
La tierra era algo caótico y vacío y las tinieblas cubrían la superficie del abismo, mientras
el espíritu de Dios aleteaba sobre la superficie de las aguas » (los subrayados son míos). Estando la tierra, caótica y vacía, cubierta de agua (o compuesta por agua), todo lo demás se crearía a partir de esta materia prima. La referencia de más abajo a las hembras criando procede, como es bien sabido, del
Deuteronomio, XXXII, 11 (canto de Moisés) que reza así: «Como un águila incita a su nidada,/ revolotea sobre sus polluelos,/ así él despliega sus alas, lo toma/ y lo lleva sobre su plumaje». Véase también
El químico escéptico, Works, Vol. I, pág. 498, donde se explícita algo este extremo y se fortalece más aún si cabe aludiendo a
Jeremías XXIII, 9, donde se habla, empero, más bien de vino que de agua. (Ignoro si se trata de una indirecta.) Recuérdese que no es rara en este siglo la adhesión a la
prisca theologia que conecta el arcano saber antiguo con la revelación mosaica, a través de Moschus el fenicio. Véase más abajo la nota 4 a la sección 7, pág. 193.
[145] El disolvente universal de Paracelso, capaz de convertir los cuerpos en agua. Van Helmont lo llamó
ignis aqua, siendo posiblemente ácido nítrico.
[147] El tártaro es una sal (KHC
2O
6H) que se precipita cuando se mezcla una disolución de ácido tartárico con otra que contiene el ión potasio. En esta época, el tártaro era propiamente el formado en la fermentación del vino, si bien se extendía a otros muchos depósitos semejantes, como los calcáreos de los dientes. Se consideraba un compuesto salino con panes oleosas, térreas y especialmente ácidas. Se pensaba que la calcinación consumía las panes oleosas y parcialmente las ácidas, uniéndose el ácido restante y la tierra para formar un álcali fijo llamado
sal de tártaro. Al calentar plenamente esa sal, atraía la humedad del aire, fundiéndose en un líquido alcalino y untuoso llamado
aceite de tártaro per deliquium. (El deliquio es el proceso de pasar de sólido a fluido por absorción de la humedad del aire). [148] Bálsamo producido a base de «dulcificar» la sal caustica de tártaro (cenizas blancas a que se reduce el aceite de tártaro por calcinación) con alcohol (o, en este caso, con vinagre) recomendado por van Helmont para las úlceras. Proviene de Paracelso. Se supone que la sal retiene las partes sulfurosas o balsámicas del vino o vinagre, convirtiéndolos en agua.
[149] Las obras de van Helmont se publicaron póstumamente en 1648,
Ortus medicinale, traduciéndose al inglés en 1662,
Oriatrike or Physick Refined. Boyle cita la edición latina.
[150] Indias occidentales.
[151] Panspermia; semillas de todas las cosas.
[152] En
El químico escéptico (Works, Vol. I, 564) señala la dificultad de estos experimentos debido al largo tiempo que exige la formación de minerales y otros «fósiles» en las entrañas de la tierra. A la
Sociedad Real de Londres llegaban frecuentes informes sobre la formación de piedras preciosas en determinados pozos en pocos años. Véase la selección de informes de la
Historia de Sprat; véase también la carta de H. Oldenburg del 2-X-1666 sobre la generación de diamantes, no menos que el escrito de Boyle
La utilidad de la filosofía natural. Parte I, Ensayo IV
(Works, Vol. II, pág. 44); etc.
[153] Se refiere a las indias occidentales y, por supuesto, está confundiendo el fruto del cacao con el coco (o quizá se trate de un error de la copia).
[154] Ante nuestros ojos. En
El químico escéptico (Works, Vol. I, pág. 564), menciona las
Caves Goutieres de Francia.
[155] Petrificadores. La existencia de aguas con un excelente espíritu petrificador se menciona frecuentemente en informes de viajes presentados a la
Sociedad Real de Londres. Habría ríos, por ejemplo, (en Oriente, por supuesto) que convertirían en piedra los troncos de árboles introducidos en ellos. Para la creencia de Boyle en los principios plásticos causantes del endurecimiento y petrificación (lapidescencia), aunque no sepa como operan, véase su
Historia de la fluidez y la firmeza (Works, Vol. I, pág. 434).
[156] Las Gorgonas eran personajes femeninos mitológicos con sierpes por cabellos, cuya mirada convertía en piedra.
[157] El agua fuerte (ácido nítrico diluido en agua) disuelve la plata y no el oro, de donde procede el nombre tan extendido de agua de separación (
eau de départ, Scheiderwasser). [158] El
mercurius vitae (mercurio de la vida) se preparaba a partir de la
manteca de antimonio (SbCl
3). Esta se obtenía destilando sal marina
y régulo de antimonio (o bien estibinita, Sb
2S
3) mezclado con sublimado corrosivo (cloruro mercúrico, HgCl
2). En la sublimación, surgía una materia blanca, espesa y poco fluida que no es sino «régulo de antimonio combinado con el ácido de sal marina» (
Encycl. Brt., 1ª edn., 1768-1771, Vol. II, pág. 88), conocida como manteca de antimonio, siendo extremadamente corrosiva. Pues bien, cuando esta manteca se disuelve en agua, ésta se toma turbia y lechosa, precipitándose la parte metálica separada sólo en parte del ácido, por lo que constituye un emético violento llamado por razones obvias
mercurio de la vida. [159] La cabeza o casco es la parte superior del alambique, donde se condensan los vapores de las substancias calentadas en la cucúrbita.
[160] Se trata de los paracelsianos, designados también con el nombre de espagíricos por su dedicación al arte espagírica de extracción de los metales.
[161] En lo que sigue, hasta el capítulo IV, se expresan las críticas más o menos conocidas a los paracelsianos, sin hacer mucho hincapié en el modelo mecánico-corpuscular alternativo, por lo que pasamos directa mente al capítulo V donde se se alude claramente al nuevo modelo.
[162] No pudiendo ser, por tanto, la explicación última de las cualidades, ya que las suyas, precisando a su vez explicación, conducen a un regreso infinito, sólo evitable alcanzando una explicación en términos de algo que no posea a su vez esas cualidades. Como se verá, el mecanicismo corpuscular satisface este requisito metodológico, pues los átomos sólo pueden presentar propiedades espaciales y no afecciones cualitativas. Véase más adelante la sección 8.
[163] Las alecciones o cualidades primarias de los cuerpos, «las afecciones que pertenecen a un cuerpo considerado en sí mismo sin relación con los seres sensibles u otros cuerpos animales» (véase más abajo, páginas 214 y sigs.; 243, § 7), son las ordenaciones de sus corpúsculos (o
prima naturalia) que Boyle denomina su textura. De ella derivan las cualidades o afecciones secundarias que no son sino el efecto que las primarias producen sobre los sentidos, como el color, olor, calor, etc. De este modo, se pueden producir nuevas cualidades en los cuerpos como mero resultado de inducir en ellos nuevas texturas, tal y como se ejemplifica, v. g., en la Parte Histórica de las
Consideraciones y experimentos sobre el origen de las cualidades y formas (Works, Vol. III, págs. 66 y sigs.). De ahí la posibilidad teórica incluso de las transmutaciones, pues las cualidades que definen, por ejemplo, el oro pueden producirse en otro metal manipulando la organización de sus átomos. (Véase, por ejemplo,
Nuevos experimentos y observaciones realizados sobre la Noctiluca glacial, especialmente § 7:
Una paradoja química basada en nuevos experimentos que hacen probable que los principios químicos sean transmutables, de modo que puedan producirse otros a partir de uno; Works, Vol. IV, págs. 495 y sigs.)
[164] Este texto es el capítulo 6 de un tratado mayor (
Experimentos, no tas, etc. sobre la producción u origen mecánico de diversas cualidades particulares, entre los que se inserta un discurso sobre la imperfección de la doctrina del químico acerca de las cualidades... etc.), en el que se reducen mecánicamente las cualidades, v. g., del frío y el calor (§ 1), los sabores (§3), los olores (§5), la acidez y alcalinidad (§7), la volatilidad y la fijeza (§§8,9), la corrosividad (§11), la precipitación (§12) y hasta el magnetismo y la electricidad (§§13, 14). [165] Vidrio de superior calidad fabricado con los mejores cristales. Era especialmente famoso el veneciano (Murano).
[166] El esmalte azul se conseguía con cal de latón y zafre (óxido de cobalto y cuarzo pulverizados); el verde, con cal de latón y
crocus martis o
azafrán de Marte (tierra amarillento-rojiza obtenida de la calcinación del hierro); el blanco, con manganeso.
[167] Seguidores de la filosofía hermética, la cual resuelve los fenómenos a base de la
tria prima: sal, mercurio y azufre.
[168] Los puntos de fusión de la plata y el cobre son respectivamente 960,5 ºC y 1.083 ºC.
[169] En el Experimento XLVII de la Parte III de
La historia experimental de los colores (Works, Vol. I, pág. 775), señala Boyle que cuando el agua fuerte corroe el estaño hasta la saturación, se pone extremadamente blanca y consistente, pudiéndose comparar con la leche cuajada o con la clara de huevo coagulada con la que, según él, pueden confundirla los inexpertos.
[170] Preparado alquimista que constituye el ingrediente crucial para convertir en oro puro la parte mercurial de los metales. Los adeptos de esta obra se llamaban a sí mismos
filósofos por la profundidad de su injerencia en los arcanos de la naturaleza.
[171] La «proyección» es el nombre dado por los alquimistas a la rápida transmutación en oro obrada por una pequeña cantidad de materia, cuya composición era, obviamente, secretísima. (Sobre el secreto del polvo, aplicado esta vez a un antielixir, véase
Narración histórica de una degradación de oro; Works, Vol. IV, págs. 371-379.) La substancia que provoca la transmutación, o polvo de proyección, se denomina también
elixir (del árabe
aliksir, quizá a su vez del griego ξηριον, cosmético), correspondiendo a lo que los magos llamaban más comúnmente
piedra filosofal o también
tintura, pues el color dorado era la cualidad mas importante.
[172] En sentido etimológico: universales.
[173] El original dice
«bulk, size & motion», cuando lo usual sería
«bulk, shape & motion»: tamaño, forma y movimiento.
[174] Nunca llegó a publicarse, conservándose un sólo algunas notas manuscritas, como la página en que se enumera una lista de requisitos v que quizá constituyera el índice del tratado. (Vol. XXXV de los Escritos de Boyle de la Sociedad Real; reproducido en M.A. Stewart,
Selected Philosophical Papen of R. Boyle, Barner & Noble, 1979, pág. 119; véase también la pág. xx.) Aunque la obra nunca debió de hallarse en un estado de redacción muy avanzado, la mención de un ejemplo i m concreto como el que sigue indica que se habría redactado algo más le lo que ha llegado hasta nosotros, perdiéndose tal vez en alguna de las catástrofes periódicas que se abatían sobre los manuscritos de Robert Boyle. (Birch menciona este escrito entre los manuscritos no publicados : Works, Vol. I, pág. ccxxxvii.)
[175] Véase, v. g., el capítulo 1, sección II, de este tratado
(Works, Vol. IV, págs. 244 y sig.), donde se crítica la doctrina peripatética de la antiperistasis (cf. también los
Nuevos experimentos relativos al frío, 6;
Works, Vol. II, pág. 659), proponiendo a cambio el origen mecánico de la naturaleza del odor, que «consiste fundamentalmente, si no efusivamente, en esa afección mecánica de la materia que llamamos movimiento local», con las características de rapidez (mayor que la que explica la fluidez), desorden (en todas direcciones) y carácter diminuto e insensible de las partículas en movimiento
(ibid., págs. 244-245).
[176] La cal de antimonio, procedente de la calcinación del metal a fuego moderado, se funde expuesta a un fuego violento, cristalizándola.
[178] Término con que se designaban los que habrían hallado la piedra filosofal.
[179] Nombre con que Boyle se dirigía en muchos de sus escritos a su sobrino Richard Jones, hijo único del Lord Vizconde Ranelagh. (Cf.
Ciertos ensayos filosóficos; Works, Vol. I, pág. 298.)
[180] El capítulo 1, omitido aquí, expresaba en general y sin ejemplos las causas del carácter fijo de los cuerpos, enumeraba a continuación los dos modos de fijar los volátiles (la acción del fuego y la asociación con otras substancias), y terminaba señalando: «mas estos dos instrumentos, no siendo sino generales, propondré cuatro o cinco más particulares». Son estos los que recogemos aquí para ejemplificar la reducción mecánico-corpuscular de las propiedades químicas.
[181] La cohesión de las superficies bien pulimentadas de mármol era un fenómeno sobradamente conocido en la edad media y que Galileo utiliza en defensa de su idea de que la cohesión de los cuerpos se debe a la resistencia natural al vacío que habría de producirse con la separación de las partes (cf. las
Consideraciones y demostraciones matemáticas sobre dos nuevas ciencias, Madrid: Editora Nacional, pág. 80). Boyle recurre frecuentemente a este ejemplo sobre el que polemiza con Hobbes; véase el experimento 31 de sus
Nuevos experimentos (Works, Vol. I, págs. 69 y 273); véase también
La historia de la firmeza (Works, Vol. I, págs. 407, 409), obra que se cita a continuación.
[182] Obra citada al final de la nota anterior. La
fijeza que aquí se discute no es lo mismo que la
firmeza, aunque frecuentemente vayan juntas: la firmeza se opone a la fluidez, mientras que la fijeza se contrapone a la volatilidad.
[183] El óxido de plomo (litargirio), de color amarillo vivo, se obtiene calentando plomo al aire libre por encima de la temperatura de fusión. Si se calienta más allá del punto de fusión del óxido, éste forma escamas amarillo-rojizas de lustre vítreo. La similitud con el oro puede acrecentarse mezclando el litargirio con algo de plomo rojo (minio, Pb
3O
4), lo que se llamaba litargirio de oro.
[184] Según la primera edición (1768-71) de la
Encyclopaedia Britannica, el vidrio de plomo se hacía con dos partes de litargirio (PbO) y una de arena cristalina pura, mezclando bien ambos ingredientes con un poco de nitro y sal marina. Se calienta paulatinamente la mezcla en un crisol y se eleva la temperatura hasta fundir la mezcla, dejándola un cuarto de hora en ese estado. Al romper luego el crisol, aparece en el fondo un pequeño botón de plomo y sobre él un vidrio transparente de un amarillo ambarino. Boyle explica en la Parte III de su
La historia experimental de los colores (Works, Vol. I, pág. 781) cómo imitar amatistas con él.
[185] Oxido de mercurio. Véase la nota 17 de la sección 4
[186] Sobre las razones mecánicas y racionales de la creencia de Boyle en la posibilidad teórica de la transmutación, véase más abajo, las páginas 239 y sigs.: las cualidades sensibles que definen las diversas especies de metales no son más que determinadas disposiciones espaciales de los átomos que, al ser susceptibles de manipulación mecánica, se pueden cambiar. Asimismo, en la Parte Histórica del
Origen de las cualidades y las formas (Works, Vol. III, págs. 93-94), dice; «...suponiendo que todos los metales (...) están hechos de una materia universal común a todos ellos, no difiriendo más que en forma, tamaño, movimiento o reposo y textura de las pequeñas partes de que constan, de las cuales afecciones de la materia resultan las cualidades que diferencian los cuerpos particulares, no veo imposibilidad alguna en la naturaleza por la que un tipo de metal no haya de transmutarse en otro (no siendo ello, en efecto, más que el que una parte de la materia universal en la que concuerdan todos los cuerpos pueda ver producida en ella una textura como la de otra parte de la materia común a ambos»).
[187] El espíritu de nitro es ácido nítrico.
[188] El nitro fijo o sal de tártaro (carbonato potásico) era el álcali fijo que queda tras la deflagración del nitro (nitrato potásico o salitre) en presencia de carbón, perdiendo así el ácido.
[189] El aceite de vitriolo es ácido sulfúrico; los vitriolos en general son sulfatos metálicos (de hierro, de cobre); en este caso de hierro. El colcótar a que se alude a continuación (llamado también
crocus martis) es peróxido de hierro en forma de polvo rojizo que queda en la retorta tras la destilación del ácido sulfúrico (aceite de vitriolo) a partir del sulfato ferroso (vitriolo).
[190] Los bezoárdicos eran medicinas de varia composición, siendo un ingrediente fundamental el antimonio, cuyo poder laxante y emético se atemperaba, tomándose diaforético y desopilantivo, por su mezcla con hierro, plata, oro, sublimado corrosivo y otras cosas por el estilo.
[191] Sigue un par de páginas de ejemplos similares que omitimos por no parecer prolijos.
[192] He aquí un pasaje citadísimo de
El Ensayador, Le Opere, VI: 350-1: «Hay muchas sensaciones que por más que se consideren cualidades residentes en los objetos, no tienen existencia real más que en nosotros, no siendo fuera de nosotros más que nombres. Afirmo que me inclino a pensar que el calor sea de este jaez. Los materiales que producen calor en nosotros (...) serían una multitud de pequeñísimas partículas con determinadas formas y moviéndose con determinadas velocidades (...). No creo que en el fuego haya otra cualidad que no sea su forma, número, movimiento y tacto (...)».
[193] Locke deriva su filosofía de Boyle (y de Gassendi, a quien mucho leía y nunca citaba). El
Ensayo está lleno de ideas de Boyle (procedentes sobre todo del
Origen de las formas) a quien conoció en Oxford y para quien hizo las observaciones meteorológicas citadas en la pág. 27 izquierda y derecha. Concretamente, el Capítulo VIII del Libro II expone una versión poco original de la filosofía corpuscular de Boyle.
[194] Véase la nota 4 de la sección 7; más abajo, pág. 193.
[195] Véanse los Experimentos 38 y 39 de la
Continuación de los nuevos experimentos físico-mecánicos sobre el resorte y el peso del aire, etc.,
Works, III: 250 y sigs.
[197] Véase más abajo, el apartado 2 del punto VIII, pág. 208;
Work, III: 30.
[198] T. S. Kuhn, Roben Boyle and Structural Chemistry,
Isis, 131 (1952), pág. 25.
[200] Mientras que los atomistas conciben que el mundo se compone de átomos en el vacío, los cartesianos, al identificar cuerpo y extensión, se obligan a concebir un universo lleno de materia. De ahí que se les conociese como
vacuistas y plenistas respectivamente. Los otros dos grandes puntos de desacuerdo son más importantes en teoría que en la práctica, pues sea que el movimiento resulte original e ínsito a los átomos (epicureístas) o constituya algo comunicado por Dios en el inicio del mundo, intercambiándose luego según un principio de conservación de la cantidad total de movimiento (Descartes), el caso es que hay
movimiento-, y sea que los corpúsculos resulten indivisibles (átomos) o divisibles en principio, aunque en la práctica sean
estables (cartesianos), el caso es que tanto unos como otros explican los fenómenos por el movimiento (sea cual sea su origen) de corpúsculos estables y diminutos (sean o no divisibles en principio).
[201] Fisiológicas se entiende en el sentido de relativas a la ciencia natural. La fisiología no era simplemente el estudio de la constitución del cuerpo de los animales, sino que se entendía más en general como el estudio de la naturaleza
(fisis); como aquella parte de la filosofía natural que estudia los fenómenos naturales desde una perspectiva especulativa más bien que práctica o artesanal.
[202] Se trata de
Moschus el fenicio, personaje teórico que actuaría como eslabón perdido entre la sabiduría de los griegos y la verdadera ciencia y teología revelada a Moisés. El sistema atomista de Leucipo y Demócrito provendría de este fenicio, no menos que la tesis hidráulica de Tales de Mileto, que vendría a derivar, a través de Moschus, del libro primero del
Génesis. Véase más arriba, la sección 4; ver también
El químico escéptico, págs. 498-499 del Vol. I de las
Works El origen de esta historia fabulosa arranca de una noticia atribuida a Posidonio por Estrabón (L.XVI, pág. 757) y por Sexto Empírico
(Adv- math., IX, 363) véase Diels-Kranz,
Fragmente der Vorsokratiker, Vol. 11, pág. 98, § 55.) Durante el siglo XVII la historia se enriquece con un intento de ennoblecer la filosofía atomista de carácter impío y ateo. Este carácter espurio sería producto de la corrupción griega, pues Moschus, además de los átomos y el vacío, aceptaba la intervención divina La versión más perfeccionada de la fábula (compartida por Boyle y Newton, entre otros) se puede ver en Ralph Cudworth,
True Intellectual System of the Universe, 1678, quien parece haber sido convertido al atomismo por Boyle.
[203] Pirófilo, a quien se dedica este tratado y a quien se dirige Boyle con frecuencia en diversos escritos, es un sobrino suyo, Richard Jones, futuro Earl de Ranelagh.
[204] Las verdades
históricas son verdades de hecho
(historia se toma aquí etimológicamente como reseña, informe, noticia). A la
Parte Teórica de este tratado (que figura como subtítulo más arriba) se opone una
Parte Histórica (aquí omitida;
Works, III: 66 y sigs.) cuya sección primera consta de observaciones y la segunda, de experimentos.
[205] De hecho Boyle no pudo contener su farragosidad y el breve esquema planeado ocupó demasiadas páginas. Al final del escrito (véase más abajo) aparece un resumen de estos puntos en pocas páginas que tal vez debieran leerse en primer lugar.
[206] Nunca recurre a este expediente, lo que prueba que Boyle ni cumplía sus planes ni se molestaba en corregir los manuscritos.
[207] En sentido etimológico; esto es,
universal. [208] La primera causa de todo es Dios, como acaba de dejar muy ciato Boyle. Pero éste no se ocupa directamente de todo cuanto ocurre en el mundo (excepto con esa providencia general con que mantiene a todo en su ser), sino que entrega el funcionamiento de la obra a los intermediarios, llamados justamente
segundas causas.
[209] Aquello cuyo ser es ser-en.
[210] Se trata de un largo
excursus dentro del punto III, que se extiende hasta la página 211, donde comienza el punto IV. El Tubal-Cain al que se alude inmediatamente fue hijo de Lamek y Sil-lá, de la descendencia de Caín. Se supone que vivió allí por el año 2975 a.C. y se le tiene por el inventor del arte de trabajar los metales: «Sil-la engendró a Tubal-qayn, forjador de toda herramienta de cobre y de hierro».
Génesis, 4, 22. En alguna ocasión se le consideró el antecesor de Vulcano.
[211] Siglo II d.C., (23-79).
[212] Se trata sin duda del
menstruum peracutum descrito en el Experimento VII de la Sección II de la Parte Histórica
(Works, III: 94). El otro metal que extrae del oro refinadísimo sería plata.
[213] Santorio Santorio (1561-1636), médico famoso por adaptar el termoscopio galileano al uso clínico.
[214] Girolamo Cardano (1501-1576). Boyle indica en una nota que se trata de su obra
Contradicentes Medid, libro II, tratado 5, contradict. 9 (la referencia se habría tomado de Schenk, médico y botánico del siglo XVII).
[215] En una nota a pie de página comenta Boyle: «Este memorable accidente le ocurrió a un senador de
Berna que fue curado por el experto
Fabricio Hildano, quien en una larga relación al sabio
Horstius, entre cuyas observaciones se cuenta (libro II, observación 35), atribuye la ausencia de dolor de esa parte, cuando no se apretaba, a algún jugo viscoso (bastante similar a aquellas partes tendinosas) en el que ese fragmento vítreo se hallaba, por así decir, engastado». Johan Daniel Horst era protomédico de Hesse-Darmstadt.
[216] «En aquellas notas sobre cualidades ocultas -señala Boyle en una nota- donde se considera la facultad deletérea atribuida a los diamantes». Véase
Un ensayo sobre el origen y virtudes de las gemas (Work, III: 516 y sigs.), donde se tratan con escepticismo las cualidades curativas de las piedras preciosas.
[217] Se trata de un instrumento para observar el tiempo que consta de un tubo, usualmente terminado en una ampolla, que contiene aire y un líquido. Estos «termoscopios» fueron los antecesores de termómetros y barómetros, pues eran obviamente sensibles tanto a la temperatura como a los cambios de presión atmosférica. Sobre las limitaciones de los «tubos del tiempo» y las ventajas de los «termómetros herméticos», véase Boyle,
New Experiments and observations touching Cold (Londres 1665), especialmente
Discourse II (Works, II: 462 y sigs.).
[218] La
catóptrica es el estudio de las reflexiones, mientras que la dióptrica lo es de las refracciones.
[219] Boyle comenta este pasaje en una nota: «Desde que escribió esto, el autor ha hallado que algunos de los propios escolásticos modernos más eminentes se han sentido tan insatisfechos como él con la definición
aristotélica de cualidad, respecto a la cual (sin mencionar a
Revius, un erudito protestante anotador de
Suarez) dice
Amaga (disp. 5, sect. 2, subsec. 1 (Rodrigo de Arriaga, 1592-1667, fue un escolástico razonable autor de unas
Disputationes en 8 vols. (1643-1655)),
Per hancni- hil explicatur; nam de hoc quaerimus, quid sit esse quale, dices habere qualitatem; bonus circulas: qualitas est id, quo quis fit qualis, & esse qualem est habere qualitatem. (Con esto nada se explica, pues si preguntamos qué es ser cual, respondes que tener cualidad. Bonito círculo: la cualidad es aquello por lo que algo es cual y ser cual es tener cualidad), Incluso el famoso jesuita Suarez (Francisco Suarez, 1548-1617, autor de unas
Dispitaciones metafísicas, traducidas al español por Sergio Rábade et al. en Madrid: Guadarrama, 1960-1966.), aunque trata de excusarlo, confesaba dejamos la noción propia de cualidad tan obscura como antes:
(Quae definitio, dice,
licet ea ratione essentialis videatur, quod detur per habitudinem ad effectum formalem, quem omnis forma essentialiter respicit, tamen quod ad nos spectat, eaque obscura nobis manet propria ratio qualitatis. (Hay que considerar que aunque esa definición lo sea en sentido esencial, ya que se da por respecto al efecto for mal, considerado esencialmente por toda forma, por lo que a nosotros respecta, el sentido propio de la cualidad sigue siendo para nosotros igual de obscuro).).
Suarez, Disputat. metaphys. 42 (Trad. española citada, disp. 42, sección I, subsecc. 1, pág. 119). Pero
Hurtadas (en sus disputaciones metafísicas) habla con más audacia, diciéndonos rotundamente que es
non tam definitio, quam inanis nugatio (no es tanto una definición cuanto una quimera inane), lo que me hace admirar más que un famoso cartesiano (que me abstengo de nombrar) se contente con darnos tan insignificante o al menos superficial definición de cualidad». Tanto Revius como Hurtadus fueron escolásticos de renombre en su día.
[220] Fósiles en esta época tiene un sentido general próximo al etimológico (lo que se excava), sin que se aplique a seres vivos petrificados. Fósil es, pues, el género que incluye metales, minerales, piedras, marcasitas, sales y cualesquiera cuerpos extraños hallados en las entrañas de la tierra. Constituye aún una categoría en el
Systema naturae de Linneo para el reino mineral.
[221] La
luna o plata fija es, según los alquimistas, el metal al que sólo le falta el color del oro, pasando incluso la prueba del agua fuerte. Se puede obtener al extraer del oro su «tintura», responsable del color amarillo. Un amigo de Boyle fabricó un agua fuerte (para su desgracia no sabía exactamente cómo la había hecho) que extraía la tintura del oro y con una parte de ella «teñía» o convertía en oro 1,5 partes de plata ordinaria. Véase la noticia que da de todo ello Boyle al comienzo del segundo ensayo de
Two Essays Concerning the Unsuccesfulness of Experiments... (Works, I: 334-5).
[222] Como señala Boyle en una nota, se trata de la
Metafísica, libro 7 capítulo 8.
[223] Sulfuro de hierro o pirita; mineral que se emplea para preparar dióxido de azufre pero no para la obtención del hierro, pues el óxido que resta después del tostado contiene azufre como impureza demasiado perturbadora. Así, en esta época se desconocía que las marcasitas contuviesen hierro, si bien eran muy conocidas (entrando comúnmente en las clasificaciones de los «fósiles» como una categoría propia), distinguiéndose la plateada, la dorada y la blanca, de las que se pensaba que podían contener oro y plata. Se usaban en Alemania para la obtención de azufre y vitriolo.
[224] Esto es, la reunión, separación y transposición de átomos.
[225] Otras veces Boyle conjeturaba que las partículas sutiles del fuego penetraban en la substancia calentada a través de los poros del recipiente. Véase por ejemplo 12 de la sección 4 y el texto al que corresponde la nota, pág. 123
[226] La corrupción de uno es la generación de otro y al contrario.
[227] En realidad no son insectos, sino arácnidos.
[228] No se entiende por preternatural lo que cae fuera de las leyes de la naturaleza, violándolas, sino tan sólo lo que se aparta del curso usual de la misma, siendo algo poco corriente, como la enfermedad, las monstruosidades, los vientos de inusitada violencia, etc. Cf.
A Free Inquiry into the Vulgarly Received Notion of Notare, § VII, 2;
Works, V: 220. Así, no se está negando el vacío
coacervado o macroscópico, ni mucho menos el
diseminado o microscópico.
[229] Véase Lucrecio,
De rerum natura, Libro II, 688-699.
[230] Esta es la base teórica de la creencia en la transmutación en oro de otros metales cuyas Formas son ya bastante semejantes a la buscada. Sobre la justificación del programa corpuscular transmutacionista, véase la sección 6, nota 7, pág. 173.