En los capítulos II y III se reseña la curiosidad científica que ha tenido el hombre desde tiempos inmemoriales por las propiedades de la electricidad por un lado y del magnetismo por otro.
En los capítulos IV-VI se relata el descubrimiento de la relación entre estos dos campos, resaltando el hecho de que no son independientes. Se habla de los trabajos de Christian Oersted, André-Marie Ampere y Michael Faraday, algunas de las figuras señeras de la ciencia en el siglo pasado.
El conocimiento científico de la relación entre electricidad y magnetismo dio lugar, inmediatamente, a aplicaciones tecnológicas importantes. Éstas se detallan en los capítulos VII-X e incluyen al telégrafo, con el que el hombre pudo comunicarse por medios eléctricos, y a las máquinas eléctricas, o sea, motores eléctricos y generadores de electricidad. De esta forma, el hombre tuvo a su disposición fuentes de corriente eléctrica de gran intensidad, hecho que cambió drásticamente la vida, dando lugar a una revolución en la forma de vida de la humanidad, cuyas consecuencias fueron la iluminación eléctrica y el teléfono, entre otras.
Otra novedad importante que se dio en el desarrollo de estas aplicaciones de la electricidad y el magnetismo fue la creación de los primeros laboratorios industriales, que desempeñaron un papel primordial en los subsiguientes avances.
Por otro lado, la historia dio un vuelco inesperado. James Glerk Maxwell realizó una gran síntesis teórica de los trabajos de Ampere y Faraday sobre la electricidad y el magnetismo, lo que le condujo al sorpresivo descubrimiento de que la luz era de origen eléctrico y magnético. Además, como consecuencia de la teoría que desarrolló predijo la existencia de las ondas electromagnéticas. El contexto en que trabajó Maxwell se presenta en los capítulos XI a XIII y su contribución se relata en el capítulo XlV. Basado en el trabajo de sus antecesores, Maxwell construyó uno de los pilares de la física, comparable con la mecánica desarrollada por Newton. Hemos de mencionar que la teoría electromagnética de Maxwell sirvió para el futuro desarrollo de la teoría de la relatividad de Einstein.
Años después de que Maxwell hiciera la predicción de las ondas electromagnéticas en forma teórica, Hertz llevó a cabo un notable experimento, que es un ejemplo de la forma en que se hace ciencia. Se propuso indagar si en la naturaleza efectivamente existen ondas electromagnéticas. Su trabajo verificó en forma brillante las predicciones de Maxwell.
Después de los experimentos de Hertz no quedó ya ninguna duda, desde el punto de vista conceptual, acerca de la realidad física de los campos, idea que Faraday había propuesto originalmente y que Maxwell elaboró en su forma matemática. Esta idea ha sido de crucial importancia en la física posterior, tanto para la relatividad de Einstein como para las teorías modernas de las partículas elementales.
Otra consecuencia de los trabajos de Maxwell y Hertz fue el inicio de las comunicaciones inalámbricas. Los antecedentes y trabajos más importantes se presentan en los capítulos XVI a XVIII.
A principios del presente siglo, los trabajos de Marconi solamente habían dado por resultado el telégrafo inalámbrico. La necesidad de desarrollar la radiotelefonía precipitó el inicio de la electrónica moderna. De hecho, esta rama del electromagnetismo consolidó el importante papel de los laboratorios industriales. En el capítulo XX se describe la relación entre la parte científica y sus aplicaciones prácticas. Una vez logrado el entendimiento fundamental del funcionamiento de los tubos al vacío hubo una nueva irrupción de grandes novedades: la radio, que dominaría la vida humana durante varias décadas, y posteriormente la televisión, que tanta repercusión ha tenido. Esto lo reseñamos en los capítulos XXI y XXII.
En el capítulo XXIII presentamos en forma breve la introducción y aplicaciones de la electricidad en México.
En los capítulos XXV y XXVI se detalla la invención del radar y el papel determinante que desempeñó en la victoria de los ingleses en la llamada Batalla de Inglaterra. Ésta, que tuvo en sus momentos culminantes en el otoño de 1940, fue decisiva en la posterior derrota de la Alemania nazi y pudo lograrse gracias a que los ingleses contaban con el radar, primitivo, pero funcional. Éste fue una aplicación importante de la teoría electromagnética. Para mejorar su funcionamiento y reducir su tamaño fue necesario trabajar con microondas, que se lograron generar por medio del magnetrón.
Como se reseña en el capítulo XXVII, hacia 1946 se terminó de construir un dispositivo que llegaría a tener gran influencia en la vida humana: las computadoras electrónicas.
Otra revolución se lleva a cabo en la segunda parte de la década de 1940: la invención del transistor. En el capítulo XXVIII se presenta el trabajo científico que se realizó para lograr esta novedad; en particular, la base cuántica fue indispensable para hacer una descripción correcta de la estructura microscópica de los sólidos. De esta manera, como se puede leer en el capítulo XXIX, se inició un torrente de aplicaciones y de mejoras cada vez más interesantes, lo que hizo posible la miniaturización de los aparatos electrónicos.
De hecho, a partir de la década de 1950 se ha vivido en una revolución continua. Los avances científicos en la comprensión de la estructura de la materia han dado lugar a un sinfin de aplicaciones del electromagnetismo. Una de ellas fue el láser, cuyo principio se basó en un mecanismo que Einstein propuso en 1917 para explicar la distribución de radiación encontrada por Planck en 1900. En el capitulo XXX se detalla la base del funcionamiento de este dispositivo, que tiene una cantidad impresionante de aplicaciones, algunas de las cuales presentamos.
Finalmente, en el último capítulo, el XXXI, se indican algunos de los avances que se están dando en la actualidad, así como las tendencias hacia el futuro. La fotónica, o sea la transmisión de señales, ahora por medio de ondas electromagnéticas y usando fibras ópticas, está ahora al frente del desarrollo, con la posibilidad real de reemplazar a los dispositivos electrónicos. De hecho, se vislumbra que en el siglo venidero los aparatos no sean ya electrónicos sino fotónicos, convirtiéndose en realidad un sueño de excitantes posibilidades, sólo concebido en la ciencia ficción.
Por limitación de espacio el autor ha elegido sólo algunos de los más importantes avances tecnológicos del electromagnetismo; aun así ha sido necesario abreviar la información, ya que varios de ellos requerirían un libro completo.
En esta obra se plantea el hecho de que, en el caso del electromagnetismo, la frontera entre la ciencia y la tecnología no está bien delimitada; de hecho, es difícil hablar de frontera. Y es que las dos están tan interrelacionadas que no puede avanzar una sin la ayuda de la otra. Esta mancuerna ha sido la base de la civilización moderna.
2. La electricidad hasta el año 1800
Desde tiempos inmemoriales el hombre se dio cuenta de que después de frotar con paño un tipo de resina llamada ámbar, ésta adquiría la capacidad de atraer algunos objetos ligeros, como trozos de papel. La historia registra a Tales de Mileto, filósofo y matemático griego, que vivió hace unos 2 600 años, como el primero que hizo experimentos de esta naturaleza, aunque es bastante probable que desde antes se conociese este tipo de fenómeno.En griego, ámbar se dice elektron y de esta palabra se deriva electricidad. Durante muchos siglos este tipo de experiencias no fueron sino meras curiosidades.
Hacia principios del siglo XVIII se inició la investigación detallada de los fenómenos eléctricos. Entre 1729 y 1736 dos científicos ingleses, Stephen Gray (1696-1736) y Jean Desaguliers (1683-1744) dieron a conocer los resultados de una serie de experimentos eléctricos muy cuidadosos. Encontraron que si unían por medio de un alambre metálico un tubo de vidrio previamente frotado con un trozo de corcho, éste se electrificaba. Comprobaron que el corcho se electrificaba ya que al acercarle trozos de papel éstos eran atraídos por él. Este fenómeno persistía aun si el vidrio y el corcho se separaban a distancias de 300 metros. Si en lugar de efectuar la unión con un alambre metálico empleaban un hilo de seda, el corcho no se electrificaba. Además descubrieron que si la línea de transmisión hacía contacto con el suelo, o sea con la tierra, el corcho dejaba de electrificarse.
Con todos estos experimentos llegaron a la conclusión de que la electrificación era un efecto que se presentaba en la superficie de los cuerpos, en donde aparecía lo que llamaron una "virtud" o "fluido" eléctrico al que en la actualidad se le llama carga eléctrica. Encontraron que la carga eléctrica podía moverse libremente de un cuerpo a otro a través de ciertos materiales que llamaron conductores (el cuerpo humano, los metales, el aire húmedo, etc.). También existen materiales que no conducen electricidad, a los que se llama aisladores o no-conductores (la madera, la seda, la cerámica, etcétera).
Un científico francés, Franfois du Fay (1698-1739), hizo otro tipo de experimentos que reportó entre 1733 y 1734. Frotó con tela de seda dos tubos de vidrio iguales. Al acercar los tubos vio que siempre se repelían. Así concluyó que dos materiales idénticos se repelan cuando se electrifican en formas idénticas. Como cada uno de los tubos adquiere el mismo tipo de carga se puede afirmar que cargas iguales se repelen.
El mismo Franfois du Fay hizo muchos otros experimentos con diferentes materiales y llegó a la conclusión de que existen dos tipos de electricidad; a una la llamó vitrosa (la que aparece cuando se frota con seda el vidrio) y a la otra resinosa (la que aparece cuando se frota al hule con piel).
Durante la siguiente década, Benjamín Franklin (1706-1790)) realizó estos mismos descubrimientos en Estados Unidos, sin conocer los trabajos del francés. Según él, el vidrio electrificado había adquirido un exceso de fluido (carga) eléctrico, y le llamó a este estado positivo. Al estado de la seda con la que frotó el vidrio lo llamó negativo, pues consideraba que había tenido una deficiencia de fluido (carga) eléctrico. Esta terminología de Franklin es la que se utiliza hasta hoy en día, aunque no se acepten las ideas con que la concibió este científico.
En resumen, existen en la naturaleza dos tipos de cargas eléctricas: positiva y negativa. Además, se puede concluir de una multitud de resultados experimentales que dos cargas eléctricas del mismo tipo (negativa-negativa o positiva-positiva) se repelen, mientras que dos cargas de tipos distintos (positiva-negativa) se atraen.
No fue sino hasta fines del siglo XVIII, en 1785, que el ingeniero militar francés Charles Auguste Coulomb (l736-1806) pudo medir con bastante precisión las características de las fuerzas entre partículas eléctricamente cargadas. Para ello utilizó un péndulo de torsión (Figura 1) que consiste en una barra AB que está sujeta por medio de un alambre vertical. Cuando uno de los extremos experimenta una fuerza, la barra gira y hace que el alambre se tuerza. Midiendo el ángulo que gira el alambre se puede determinar la magnitud de la fuerza que experimentó el extremo de la barra. Coulomb colocó en el extremo A de su péndulo una carga y acercó otra carga C. Cambiando los valores de las cargas y manteniendo la distancia entre A y C fija, encontró que mientras más grande es cada una de las cargas, mayor es la magnitud de la fuerza entre ellas (ya sea de atracción si las cargas son opuestas, o de repulsión si son iguales). De hecho, si una las cargas aumenta al doble, la fuerza aumenta al doble, si la carga aumenta al triple, la fuerza aumenta al triple y así sucesivamente. Además, mientras más separadas estén las cargas, menor será la fuerza. Así si la distancia entre A y C aumenta al doble, la fuerza disminuye a la cuarta parte; si la distancia aumenta al triple, la fuerza disminuye a la novena parte, etc. Este conjunto de resultados recibe el nombre de ley de Coulomb.

Figura 1. Aparato diseñado por Coulomb para medir la fuerza entre cargas eléctricas. Regresemos al año de 1663, cuando Otto von Guericke (1602-1686) de Magdeburgo, Alemania, construyó el primer generador de electricidad. Este aparato producía cargas eléctricas por medio de fricción. Sobre un armazón de madera Von Guericke montó una esfera de azufre sobre un eje. Mientras con una mano hacía girar la esfera, con la otra la presionaba. Así obtenía cargas eléctricas sobre la esfera, que atraían diversos objetos cercanos. El funcionamiento de esta máquina estaba basado en el experimento arriba descrito en que se frotaba una sustancia con otra. El famoso científico inglés Isaac Newton (1642-1727) propuso usar una esfera de vidrio en lugar de una de azufre. Al transcurrir los años se diseñaron diferentes variantes, gracias a lo cual se construyeron máquinas cada vez con mayor capacidad de producir carga eléctrica.
Así, en las primeras décadas del siglo XVIII ya existían máquinas que producían cargas eléctricas por medio de fricción. Funcionaban esencialmente a base de discos que se hacían girar por medio de manivelas. Al girar se friccionaban con otra superficie y se cargaban, de la misma forma en que un trozo de vidrio se carga al frotarlo con un paño. Estas máquinas producían cantidades respetables de carga eléctrica y al acercarlas a otras superficies se producían chispas. Era muy frecuente encontrar estas máquinas en salones de juegos, pues hacían que los cabellos de las señoras se pusieran de punta al ser atraídos por las cargas generadas.
Hacia 1746 Pieter van Musschenbroek, en Leiden, Holanda, construyó el primer dispositivo para almacenar cargas eléctricas. Se trataba de una botella de vidrio que estaba recubierta, tanto en sus paredes interiores como exteriores, de una capa muy delgada de estaño. En esta famosa botella de Leiden se pudieron almacenar considerables cantidades de carga eléctrica, producidas por las máquinas de fricción. Posteriormente se diseñaron otros dispositivos más prácticos y cómodos para almacenar carga eléctrica, a los cuales se llamó condensadores.
Hacia mediados del siglo XVIII , mientras efectuaba algunos experimentos, Benjamín Franklin se dio cuenta de que durante las tormentas había efectos eléctricos en la atmósfera, y descubrió que los rayos eran descargas eléctricas que partían de las nubes. Franklin logró juntar cargas eléctricas de la atmósfera por medio de varillas muy picudas. A la larga, esto dio lugar a la invención del pararrayos, que consistía en una varilla metálica picuda conectada a la tierra; las cargas eléctricas del rayo eran atraídas a la varilla y conducidas a la tierra. Con esto se evitaba que un rayo cayera sobre una casa, pues era conducido a tierra sin causar ningún daño. Posiblemente ésta Por otro lado, hacia la última parte del siglo XVIII un gran número de personas empleó animales para estudiar las descargas eléctricas y utilizó como fuentes máquinas generadoras y botellas de Leiden. Una de estas personas fue Luigi Galvani (1737-1798), profesor de anatomía en la Universidad de Bolonia, Italia. Sus discípulos se dieron cuenta de que cuando se sacaban chispas de un generador y se tocaban simultáneamente las patas de una rana con un bisturí, éstas se contraían. Galvani estudió con más detalle este curioso fenómeno. En primer lugar, unió una extremidad de la rana a un pararrayos y la otra la fijó a tierra por medio de un alambre metálico. Descubrió que los músculos se estremecían cuando había tormenta, pues las cargas que recogía el pararrayos se transportaban a través del músculo hasta la tierra. La conexión la realizó de la siguiente manera: en un extremo de la pata conectó un alambre de cobre, mientras que en el otro extremo conectó uno de hierro (Figura 2). En cierto momento, y de manera accidental, juntó los alambres y se dio cuenta de que la pata se contraía. De sus experiencias anteriores sabía que esta contracción ocurría solamente cuando una carga eléctrica pasaba por la pata, pero ¡no había conectado ningún extremo a ninguna fuente de carga eléctrica! Así llegó a la conclusión de que si se formaba un circuito cerrado entre dos metales que pasara por la pata, se generaba una corriente eléctrica que circulaba por el circuito. Sin embargo, Galvani no estaba en lo cierto, ya que creyó que la fuente de la electricidad estaba en lo que llamó "electricidad animal". Galvani se dedicó a hacer experimentos con diferentes animales creyendo que había descubierto y confirmado la veracidad de la electricidad animal. Con el tiempo se comprobó que sus hipótesis no eran correctas.

Figura 2. Si los metales hierro y cobre se unen, el anca de la rana se contrae debido al paso de una corriente eléctrica.

Figura 3. Esquema de una de las primeras baterías eléctricas de Volta.
La explicación de las reacciones químicas que ocurren en la pila o celda voltaica se dio muchos años después, ya que en la época de Volta la química apenas empezaba a desarrollarse como ciencia moderna. Solamente diremos que, por un lado, el zinc adquiere un exceso de electrones, mientras que por el otro, el ácido con el cobre da lugar a cargas eléctricas positivas. Al unir el cobre con el zinc por medio de un alambre conductor, los electrones del zinc se mueven a través del alambre, atraídos por las cargas del cobre y al llegar a ellas se les unen formando hidrógeno.
Desde entonces se han construido diferentes tipos de pilas o baterías. Un avance importante fue la pila con el electrolito sólido, o sea, la llamada pila seca, como las que usamos hoy en día en los aparatos eléctricos portátiles.
El descubrimiento de Volta se expandió como reguero de pólvora. Muy pronto en muchos países europeos se construyeron pilas voltaicas de diferentes tipos, que fueron un acicate para los estudios de las propiedades y efectos electroquímicos, térmicos, magnéticos, etc., de la electricidad.
Volta recibió en vida muchos premios y agasajos. En 1881 el Congreso Internacional de Electricistas decidió honrarlo dando su nombre a la unidad de diferencia de potencial: el volt, a la que se suele también llamar de manera más familiar, voltaje.
La posibilidad práctica de construir pilas voltaicas produjo una revolución en el estudio de la electricidad. Hemos de mencionar que en muchos laboratorios era muy poco factible construir las máquinas de electricidad por fricción, ya que eran bastante caras; sin embargo, las pilas eran relativamente baratas. Permitieron el avance de la ciencia química ya que estaban al alcance de muchos laboratorios; de otra manera no se hubieran podido realizar muchas investigaciones científicas. Gran parte de los primeros descubrimientos electroquímicos fueron hechos precisamente con pilas voltaicas. Poco después de haber recibido una carta de Volta en la que explicaba cómo construir una pila, William Nicholson (1753-1825) y Anthony Carlisle (1768- 1840) construyeron en Londres uno de estos dispositivos, y con el fin de conseguir una mejor conexión eléctrica, conectaron cada una de las terminales de la pila a un recipiente con agua. Se dieron cuenta de que en una de las terminales aparecía hidrógeno y en la otra, oxígeno. Fue así como descubrieron el fenómeno de la electrólisis, en el que, por medio de una corriente eléctrica, se separan los átomos que componen la molécula del agua. Humphry Davy (1778-1829), también en Inglaterra, descompuso por medio de la electrólisis otras sustancias, y así descubrió los metales sodio y potasio al descomponer electroquímicamente diferentes sales minerales, como la potasa cáustica, la soda fundida, etc.
También obtuvo electroquímicamente los elementos bario, calcio, magnesio y estroncio. Poco después Faraday descubrió, también con las pilas voltaicas, las leyes de la electrólisis.
3. El magnetismo hasta el año 1800
En el caso del magnetismo, al igual que en el de la electricidad, desde tiempos remotos el hombre se dio cuenta de que el mineral magnetita o imán (un óxido de hierro) tenía la propiedad peculiar de atraer el hierro. Tanto Tales de Mileto como Platón y Sócrates escribieron acerca de este hecho.En el periodo comprendido entre los años 1000-1200 d.C. se hizo la primera aplicación práctica del imán. Un matemático chino, Shen Kua (1030-1090) fue el primero que escribió acerca del uso de una aguja magnética para indicar direcciones, que fue el antecedente de la brújula. Este instrumento se basa en el principio de que si se suspende un imán en forma de aguja, de tal manera que pueda girar libremente, uno de sus extremos siempre apuntará hacia el norte. Más tarde, después del año 1100, Chu Yu informó que la brújula se utilizaba también para la navegación entre Cantón y Sumatra.
La primera mención europea acerca de la brújula fue dada por un inglés, Alexander Neckham (1157-1217). Hacia 1269 Petrus Peregrinus de Maricourt, un cruzado francés, hizo una descripción detallada de la brújula corno instrumento de navegación.
En el año 1600 el inglés William Gilbert (1544-1603), médico de la reina Isabel I, publicó un famoso tratado, De magnete, en el que compendió el conocimiento que se tenía en su época sobre los fenómenos magnéticos. Analizó las diferentes posiciones de la brújula y propuso que la Tierra es un enorme imán, lo que constituyó su gran contribución. De esta forma pudo explicar la atracción que ejerce el polo norte sobre el extremo de una aguja imantada. Asimismo, Gilbert se dio cuenta de que cada imán tiene dos polos, el norte (N) y el sur (S), que se dirigen hacia los respectivos polos terrestres. Descubrió que polos iguales se repelen, mientras que polos distintos se atraen, y que si un imán se calienta pierde sus propiedades magnéticas, las cuales vuelve a recuperar si se le enfría a la temperatura ambiente.
El científico francés Coulomb, el que había medido las fuerzas entre cargas eléctricas (véase el capítulo II), midió con su balanza las fuerzas entre los polos de dos imanes. Descubrió que la magnitud de esta fuerza varía con la distancia entre los polos. Mientras mayor sea la distancia, menor es la fuerza: si la distancia aumenta al doble, la fuerza disminuye a la cuarta parte; si la distancia aumenta al triple, la fuerza disminuye a la novena parte y así sucesivamente, ¡igual que en el caso de las cargas eléctricas que él mismo había descubierto!
4. ¿Hay relación entre electricidad y magnetismo?
Las personas que en diferentes épocas investigaron y estudiaron las propiedades de la electricidad no concibieron que hubiera alguna relación entre este tema y el magnetismo. Hasta fines del siglo XVIII estos dos campos fueron completamente ajenos.Sin embargo, desde principios del mencionado siglo se inició la búsqueda de una posible relación entre electricidad y magnetismo. Por ejemplo, como Franklin sabía que cuando caía una tormenta había efectos eléctricos en la atmósfera, trató infructuosamente de magnetizar una aguja de hierro en una tormenta. Por otro lado, en el año de 1774 la Academia Electoral de Baviera, en Alemania, ofreció un premio para la persona que resolviera la siguiente cuestión: ¿Hay una analogía real y física entre las fuerzas eléctricas y magnéticas? En vano se trató de encontrar una respuesta afirmativa. Incluso Coulomb, que había medido las fuerzas entre cargas eléctricas por un lado y entre polos de imanes, por el otro, en la década de 1780 afirmó que estas fuerzas eran de naturalezas físicas distintas, a pesar de que sus magnitudes dependían de la distancia de la misma forma (véanse los capítulos II y III). Fue un profesor danés quien en 1820 obtuvo por primera vez una respuesta afirmativa a la cuestión propuesta.
Hans Christian Oersted (1777-1851), profesor de filosofía natural en la Universidad de Copenhague, inició en 1807 sus investigaciones sobre los efectos de la electricidad en la aguja magnética de una brújula. En ese año, y posteriormente en 1812 publicó varios ensayos en los que argüía, apoyado en consideraciones filosóficas, que la electricidad y el magnetismo deberían estar relacionados. Sus argumentos se basaban en la creencia de la unidad de todas las fuerzas de la naturaleza. Sin embargo, no presentó ningún resultado experimental que verificara sus conclusiones. Oersted estuvo consciente de esta falla en su argumentación y trató de verificarla realizando una serie de experimentos con corrientes eléctricas. Durante muchos años Oersted no obtuvo ningún resultado positivo, en gran parte debido a que las fuentes de corriente de que disponía eran pilas voltaicas de muy baja intensidad.
Después de muchos años, en 1820, durante una clase en que estaba presentando a sus alumnos ciertos experimentos eléctricos, encontró que una corriente eléctrica sí tiene un efecto sobre un imán. La experiencia de Oersted fue la siguiente.
Colocó un alambre por el que circulaba corriente eléctrica encima de una brújula y observó que la aguja se desviaba hacia el oeste.
En seguida colocó este alambre debajo de la brújula y vio que la aguja también se desviaba, pero ahora, hacia el este.
Oersted entonces concluyó que para que la aguja imantada de la brújula se pudiera mover tuvo que experimentar una fuerza magnética, y que la corriente eléctrica del alambre tuvo que generarla. Por lo tanto, una corriente eléctrica produce un efecto magnético. Ahora bien, este efecto magnético de la corriente eléctrica no puede quedar confinado dentro del alambre conductor, sino que tiene que estar esparcido en todo el espacio a su alrededor, para que llegue, por así decirlo, hasta donde está la aguja. Esta fue la primera vez que alguien mencionó la idea de que el efecto magnético debe estar disperso en todo el espacio, y como veremos más adelante constituye la idea básica del campo magnético.
Oersted publicó estos resultados en un pequeño folleto de seis páginas en latín, como se acostumbraba en ese entonces, que envió a las diferentes sociedades científicas europeas. Este trabajo causó inmediatamente sensación, dio lugar a muchas interrogantes y estimuló una ráfaga de investigaciones, principalmente en Francia.
Los experimentos de Oersted se repitieron en muchos lugares, en particular en el Congreso de Investigadores Suizos que se llevó a cabo en Ginebra, Suiza, en el verano de 1820, al que asistió el científico francés Franfois Arago (1786-1853).
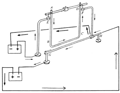
A su regreso a París, Arago reportó a la Academia de Ciencias lo que presenció en Ginebra. Sus miembros oyeron estos resultados pero se mostraron muy escépticos, y sólo se convencieron hasta que presenciaron una demostración directa el 11 de septiembre. Una persona que estuvo presente en esa sesión fue André-Marie Ampere (1775-1836), amigo de Arago, profesor suplente en la Sorbona y gran matemático.
Ampere empezó a investigar el efecto en su casa. Para empezar se dio cuenta de que Oersted no había entendido correctamente el fenómeno, ya que no había tomado en cuenta el efecto del magnetismo terrestre. Ampére diseñó entonces un experimento en el que éste fuera neutralizado. Así encontró el verdadero efecto que tenía la corriente eléctrica sobre la aguja imantada: ésta siempre se alinea en una dirección perpendicular a la dirección de la corriente eléctrica.
Una semana después de haber presenciado la demostración de Arago, el 18 de septiembre, Ampére presentó a la Academia la primera de una serie de memorias de gran importancia: hizo sus presentaciones semanalmente hasta el 2 de noviembre y en cada ocasión anunció nuevos resultados. Además de la corrección a los experimentos de Oersted, informó lo siguiente el 18 de septiembre (figura 4):
Arreglé dos partes rectas de dos alambres conductores que están unidos en sus extremos con dos pilas voltaicas, en direcciones paralelas. Un alambre estaba fijo y el otro suspendido sobre puntos, de manera que pudiera moverse hacia el alambre fijo o separarse de él, pero siempre paralelo a él. Observé entonces que cuando hacía pasar una corriente de electricidad en ambos alambres simultáneamente, se atraían cuando las corrientes tenían el mismo sentido y se repelían cuando tenían sentidos opuestos.

Figura 4. Esquema del experimento con el que Ampére descubrió que dos alambres (el GH y el BC) que conducen electricidad ejercen fuerza entre sí.
A partir de sus experimentos Ampére encontró que las fuerzas entre los alambres dependen de la magnitud de las corrientes que circulan por ellos. A mayor corriente en cada alambre, mayor será la magnitud de la fuerza.
Posteriormente, Ampére descubrió que aun si los alambres no eran paralelos también había fuerzas entre ellos si ambos conducían corriente eléctrica, y que las características de estas fuerzas dependían de la colocación geométrica en que se encontraran. Ampére encontró cómo calcular la fuerza electromagnética entre dos conductores de electricidad que tuvieran posiciones y formas arbitrarias. Esto se ha llamado la ley de Ampére y es una de las leyes fundamentales del electromagnetismo. Hemos de mencionar una salvedad para la aplicación de esta ley: corno posteriormente Maxwell apreció, la ley de Ampére está restringida para el caso en que las corrientes que circulan por los alambres no cambien con el tiempo.
Maxwell pudo ampliar la ley de Ampere para que se pudiera aplicar en el caso de que las corrientes sí varíen al transcurrir el tiempo (véase el capítulo XIV).
Este descubrimiento de Ampere ha tenido una repercusión muy importante; como veremos más adelante, este efecto es la base del funcionamiento de los motores eléctricos.
En la misma serie de experimentos del otoño de 1820 Ampere se dio cuenta de que una aguja de imán podía detectar una corriente eléctrica, y basándose en esta idea construyó un instrumento al que llamó galvanómetro, nombre que conserva hasta el día de hoy. Esta invención de Ampere ha sido primordial ya que toda la ciencia y tecnología del electromagnetismo no se hubieran podido desarrollar sin tener un instrumento que midiera corrientes eléctricas. En su comunicación a la Academia, Ampere dijo:
[...] faltaba un instrumento que nos permitiera detectar la presencia de una corriente eléctrica en una pila o en un conductor y que indicara su intensidad y sentido. El instrumento ya existe; todo lo que se necesita es que la pila, o alguna porción del conductor, se coloque horizontalmente, orientado en la dirección del meridiano magnético (N) y que la aguja de la brújula se coloque sobre la pila, ya sea arriba o abajo de la porción del conductor [...] Creo que a este instrumento se le debería dar el nombre de "galvanómetro" y que debería ser usado en todos los experimentos con corrientes eléctricas, [...] para poder ver en cada instante si existe una corriente e indicar su intensidad.Antes de esta invención de Ampere, la forma en que los experimentadores decidían si había corriente era haciéndola pasar por sus cuerpos: así, mientras más fuerte fuera la sensación que tenían, concluían que mayor era la intensidad de la corriente. Es claro que de esta forma la ciencia del electromagnetismo no hubiera llegado muy lejos.
El galvanómetro inventado por Ampere se convirtió rápidamente en un instrumento vital en la investigación de fenómenos eléctricos y magnéticos. Posteriormente se mejoró y adicionó, pero las bases de su funcionamiento se han conservado.
Al enrollar un alambre conductor en forma cilíndrica, con muchas vueltas, obtenemos un dispositivo que se llama solenoide o bobina. Si en seguida se conectan los extremos de la bobina a una pila voltaica, empieza a circular por el alambre una corriente eléctrica. Resulta que la bobina produce un efecto magnético que no se puede distinguir del efecto producido por las barras de imán. Si se colocan dos barras de imán debajo de una cartulina que tenga esparcidas homogéneamente limaduras de hierro, entonces cada una de éstas se imanta y empieza a moverse hasta que forman una configuración característica. Si se repite el experimento pero en lugar de la barra se coloca una bobina por la que circula corriente eléctrica, entonces se observa que las limaduras de hierro empiezan a moverse y terminan en una configuración idéntica a la que habían formado con la barra de imán. Esto indica que la bobina se comporta como una barra de imán.
Con base en estas experiencias, Ampere llegó a la convicción de que todos los fenómenos magnéticos tienen su origen en el movimiento de cargas eléctricas, incluyendo el magnetismo que produce un imán. La hipótesis que formuló fue que el magnetismo no es más que una corriente eléctrica que se mueve en círculo. Para el caso de un imán, supuso que estas corrientes ocurren, hablando en el lenguaje de hoy en día, dentro de las moléculas que forman al imán mismo.
En resumen, como consecuencia de los trabajos de Oersted y Ampere se descubrió que una corriente eléctrica tiene efectos magnéticos idénticos a los que produce un imán. Además, de la misma forma en que hay fuerzas entre imanes, también existen fuerzas entre alambres que conducen corrientes eléctricas.
A partir de 1822 Ampere se dedicó a formular matemáticamente, con mucha precisión y elegancia, todos los descubrimientos que había hecho. En el año de 1826 publicó un libro, Teoría de fenómenos electrodinámicos deducidos del experimento en donde presenta, de manera muy elaborada, los resultados de sus investigaciones.
En capítulos posteriores trataremos varias aplicaciones que se hicieron de los descubrimientos de Ampere, pero antes veremos otro descubrimiento de fundamental importancia.
5. Faraday. La inducción electromagnética
Los trabajos de Ampére se difundieron rápidamente en todos los centros activos de investigación de la época, causando gran sensación. Un joven investigador inglés, Michael Faraday (1791-1867) se empezó a interesar en los fenómenos eléctricos y repitió en su laboratorio los experimentos tanto de Oersted como de Ampére. Una vez que entendió cabalmente el fondo físico de estos fenómenos, se planteó la siguiente cuestión: de acuerdo con los descubrimientos de Oersted y Ampére se puede obtener magnetismo de la electricidad, ¿será posible que se obtenga electricidad del magnetismo? De inmediato inició una serie de experimentos para dar respuesta a esta pregunta.
Faraday fue uno de los más ilustres científicos experimentales del siglo XIX. Hijo de un herrero y con estudios de educación elemental, ya que no tuvo oportunidad de enseñanza de mayor nivel, empezó a trabajar como aprendiz de librero en 1808, dedicándose a la encuadernación. Como pasatiempo leía los libros que le traían los clientes, en particular los de química y electricidad, lo que abrió ante sus ojos un nuevo mundo, despertándose en él un gran interés por aumentar sus conocimientos. Así empezó a estudiar cursos nocturnos que ofrecía en la Royal Institution (Institución Real para el Desarrollo de las Ciencias) el científico Humphry Davy. Esta institución había sido fundada en 1799 y desde 1801 su director era Davy, uno de los científicos más prestigiados de Inglaterra. Faraday escribió flotas del curso que llevó con Davy.
En 1812 Davy recibió una solicitud de trabajo de Faraday, cuyo empleo de aprendiz como encuadernador estaba por concluir. Mandó al profesor, como prueba de su capacidad, las notas que había escrito en el curso que el mismo Davy había dictado. Faraday fue contratado como asistente de laboratorio en 1813, comenzando así una ilustre carrera en la Royal Institution, que duró hasta su retiro, en 1861. De asistente pasó a reemplazante temporal de Davy, y finalmente fue su sucesor.
Faraday publicó su primer trabajo científico en 1816 y fue elegido miembro de la Royal Institution en 1827. Se dedicó durante mucho tiempo al estudio de los fenómenos químicos. Entre los logros de Faraday se pueden mencionar el reconocimiento de nuevos compuestos químicos, el trabajo sobre la licuefacción de los gases, el descubrimiento de las leyes de la electrólisis, la demostración de que sin importar cómo se produjera la electricidad siempre era la misma ya que producía en todos los casos los mismos efectos. Posiblemente sus mayores descubrimientos fueron la inducción electromagnética y la idea de campo. En este capítulo hablaremos de la primera y dedicaremos otro capítulo al concepto de campo.
Faraday inició en 1825 una serie de experimentos con el fin de comprobar si se podía obtener electricidad a partir del magnetismo. Pero no fue sino hasta 1831 que pudo presentar sus primeros trabajos con respuestas positivas.
Después de muchos intentos fallidos, debidamente registrados en su diario, Faraday obtuvo un indicio en el otoño de 1831. El experimento fue el siguiente. Enrolló un alambre conductor alrededor de un núcleo cilíndrico de madera y conectó sus extremos a un galvanómetro G; ésta es la bobina A de la figura 5. En seguida enrolló otro alambre conductor encima de la bobina anterior. Los extremos de la segunda bobina, B en la figura, los conectó a una batería. La argumentación de Faraday fue la siguiente: al cerrar el contacto C de la batería empieza a circular una corriente eléctrica a lo largo de la bobina B. De los resultados de Oersted y Ampére, se sabe que esta corriente genera un efecto magnético a su alrededor. Este efecto magnético cruza la bobina A, y si el magnetismo produce electricidad, entonces por la bobina A debería empezar a circular una corriente eléctrica que debería poder detectarse por medio del galvanómetro.
Sus experimentos demostraron que la aguja del galvanómetro no se movía, lo cual indicaba que por la bobina A no pasaba ninguna corriente eléctrica.
Sin embargo, Faraday sé dio cuenta de que en el instante en que conectaba la batería ocurría una pequeña desviación de la aguja de galvanómetro. También se percató de que en el momento en que desconectaba la batería la aguja del galvanómetro se desviaba ligeramente otra vez, ahora en sentido opuesto. Por lo tanto, concluyó que en un intervalo de tiempo muy pequeño, mientras se conecta y se desconecta la batería, si hay corriente en la bobina B. Siguiendo esta idea Faraday descubrió que efectivamente se producen corrientes eléctricas sólo cuando el efecto magnético cambia, si éste es constante no hay ninguna producción de electricidad por magnetismo.
Al conectar el interruptor en el circuito de la bobina B de la figura 5 el valor de la corriente eléctrica que circula por él cambia de cero a un valor distinto de cero. Por tanto, el efecto magnético que produce esta corriente a su alrededor también cambia de cero a un valor distinto de cero. De la misma manera, cuando se desconecta la batería la corriente en el circuito cambia de un valor no nulo a cero, con el consecuente cambio del efecto magnético.

Figura 5. Esquema del experimento de Faraday con que descubrió la inducción electromagnética.
Por otro lado, cuanto está circulando una corriente con el mismo valor todo el tiempo, hecho que ocurre cuando la batería está ya conectada, el efecto magnético que produce la bobina también es constante y no cambia con el tiempo.
Recordemos que la intensidad del efecto magnético producido por una corriente eléctrica depende del valor de la corriente: mientras mayor sea este valor mayor será la intensidad del efecto magnético producido.
Faraday realizó diferentes experimentos en los cuales el efecto magnético que producía y atravesaba una bobina daba lugar a que se produjera una corriente eléctrica en esta bobina. Otro experimento que realizó fue el siguiente: enrolló una bobina A en un anillo de hierro dulce circular y sus extremos los conectó a un galvanómetro. Enrolló otra bobina B en el mismo anillo y sus extremos los conectó a una batería. Al conectar el interruptor de la batería empezó a circular una corriente por la bobina B. Esta corriente generó un efecto magnético a su alrededor, en particular dentro del anillo de hierro dulce. Como consecuencia, el anillo se magnetizó y el efecto magnético producido cruzó también a la bobina A. Faraday se dio cuenta, nuevamente, que sólo había movimiento de la aguja del galvanómetro cuando se conectaba y desconectaba la batería. Cuando fluía por la bobina B una corriente de valor constante, la aguja del galvanómetro no se movía, lo que indicaba que por la bobina A no había corriente alguna.
Después de muchos experimentos adicionales Faraday llegó a una conclusión muy importante. Para ello definió el concepto de flujo magnético a través de una superficie de la siguiente forma: supongamos que un circuito formado por un alambre conductor es un círculo. Sea A el área del círculo. Consideremos en primer lugar el caso en que la dirección del efecto magnético sea perpendicular al plano que forma el círculo (Figura 6) y sea B la intensidad del efecto. El flujo magnético a través de la superficie es el producto de B con el área del círculo, o sea, (BA). En segundo lugar consideremos el caso en que la dirección del efecto magnético no sea perpendicular al plano del círculo. Si proyectamos la superficie del círculo perpendicularmente a la dirección del efecto, se obtiene la superficie A'. El flujo magnético es ahora igual a (BA'). Llamaremos al área A' el área efectiva. El flujo es, por tanto, igual a la magnitud del efecto magnético multiplicada por el área efectiva.

Figura 6. A través de la superficie hay un flujo magnético.
Sin embargo, Faraday descubrió otra cosa muy importante. Lo que realmente debe cambiar con el tiempo para que se induzca una corriente eléctrica es el flujo magnético a través de la superficie que forma el circuito eléctrico. Por supuesto que si el efecto magnético cambia con el tiempo, entonces el flujo que produce también cambiará. Pero puede ocurrir que el flujo cambie sin que el efecto cambie. En efecto, si el área efectiva de la superficie cambia, manteniéndose el valor del efecto constante, entonces el flujo cambiará. El descubrimiento de Faraday indica que en este caso también se inducirá una corriente eléctrica en el circuito. Una manera de cambiar el área efectiva del circuito es, por ejemplo, haciendo girar la espira del circuito (Figura 7) alrededor del eje LL, perpendicular al efecto magnético. En este caso el flujo magnético cambia con el tiempo y se induce una corriente en el circuito, sin que el efecto magnético hubiese cambiado. Vemos claramente que se puede cambiar el área efectiva de muchas otras maneras. Además, puede ocurrir que cambien simultáneamente tanto el valor del efecto como el área efectiva con el consecuente cambio del flujo magnético.

Figura 7. Se puede lograr que el flujo a través de la superficie cambie con el tiempo, haciéndola girar alrededor del eje LL.
Mientras mayor sea el cambio del flujo, mayor será el valor de la corriente eléctrica que se inducirá en el alambre conductor. De esta forma nos damos cuenta de que se pueden lograr valores muy altos de corriente eléctrica con sólo cambiar el flujo magnético rápidamente. Así, gracias a la ley de inducción de Faraday se puso a disposición de la humanidad la posibilidad de contar con fuentes de corrientes eléctricas intensas. La manera de hacerlo fue por medio de generadores eléctricos. Recuérdese que hasta el descubrimiento de Faraday, las únicas fuentes de electricidad disponibles eran la fricción entre dos superficies y por medio de batería o pilas voltaicas. En cualquiera de estos dos casos las cantidades de electricidad que se obtenían eran muy pequeñas.
Como veremos en otros capítulos, la ley de inducción ha tenido aplicaciones prácticas que han cambiado el curso de la vida de la humanidad.
Antes de morir Humphry Davy dijo:
"Mi mayor descubrimiento fue Michael Faraday." Para finalizar este capítulo queremos destacar algunos aspectos importantes de la investigación científica. En primer lugar, Faraday pudo hacer su descubrimiento porque tenía a su disposición dos elementos fundamentales: la batería o pila voltaica, inventada por Volta no muchos años antes, y el galvanómetro, inventado por Ampere hacía poco tiempo. Sin estos aparatos no hubiera podido hacer ningún descubrimiento. En segundo lugar, Faraday pudo plantearse la pregunta acerca del efecto del magnetismo sobre la electricidad después de que entendió los descubrimientos tanto de Oersted como de Ampere. Si no hubiera conocido éstos, ni Faraday ni ninguna otra persona hubiese podido plantear dicha cuestión. Estos aspectos son muy importantes, pues el avance de los conocimientos ocurre como la construcción de un edificio: se construye el segundo piso después de haber construido el primero y así sucesivamente. Se va avanzando en el conocimiento de la naturaleza basándose en descubrimientos e invenciones hechos con anterioridad. Por ello, Isaac Newton una vez expresó: "Pude ver más lejos que otros porque estaba encima de los hombros de gigantes."
6. Campo eléctrico y campo magnético
Además de sus notables descubrimientos experimentales Faraday hizo una contribución teórica que ha tenido una gran influencia en el desarrollo de la física hasta la actualidad: el concepto de línea de fuerza y asociado a éste, el de campo.Oersted había escrito que el efecto magnético de una corriente eléctrica que circula por un alambre conductor se esparce en el espacio fuera del alambre. De esta forma la aguja de una brújula lo podrá sentir y girar debido a la fuerza que experimenta.
Por otro lado, ya desde tiempos de Gilbert se habían hecho experimentos como el mencionado en el capítulo IV, el de una barra magnética con limaduras de hierro, donde se puede apreciar que las limaduras se orientan a lo largo de ciertas líneas.
Asimismo, desde la época de Newton se trató de encontrar el mecanismo por medio del cual dos partículas separadas cierta distancia experimentan una fuerza, por ejemplo, la de atracción gravitacional. Entre los científicos de esa época y hasta tiempos de Faraday se estableció la idea de que existía la llamada acción a distancia. Esto significa que las dos partículas experimentan una interacción instantánea. Así, por ejemplo, si una de las partículas se mueve y cambia la distancia entre ellas, la fuerza cambia instantáneamente al nuevo valor dado en términos de la nueva distancia entre ellas.
Antes de Faraday la idea de las líneas de fuerza se había tratado como un artificio matemático. Estas líneas de fuerza ya se habían definido de la siguiente forma: supongamos que hay una fuerza entre dos tipos de partículas, por ejemplo, eléctricas. Sabemos que si son de cargas iguales se repelen, mientras que si sus cargas son opuestas se atraen. Consideremos una partícula eléctrica positiva (Figura 8(a)), que llamaremos 1. Tomemos ahora otra partícula, la 2, también positiva, pero de carga mucho menor que la 1. A esta partícula 2 la llamaremos de prueba, pues con ella veremos qué pasa en el espacio alrededor de la partícula 1. La fuerza entre ellas se muestra en la figura. Ahora dejemos que la partícula de prueba se mueva un poco. Debido a que es repelida por la 1 se alejará y llegará a una nueva posición que se muestra en la figura 8(b). Si se vuelve a dejar que la partícula de prueba se mueva un poco llegará a otra posición, y así sucesivamente. La trayectoria que sigue la partícula de prueba al moverse en la forma descrita es una línea de fuerza. Nos damos cuenta de que la fuerza que experimenta la partícula de prueba es siempre tangente a la línea de fuerza. Ahora podemos repetir la experiencia colocando la partícula de prueba en otro lugar y así formar la línea de fuerza correspondiente. De esta manera podemos llenar todo el espacio que rodea a la partícula 1 de líneas de fuerza, y nos percatamos de que todas ellas salen de la partícula 1.
Si la partícula 1 fuera de carga negativa, las líneas de fuerza tendrían sentido opuesto a las anteriores, pues la partícula 1 atraería a la 2.
De esta forma se pueden encontrar las líneas de fuerza de cualquier conjunto de cargas eléctricas. En general éstas son líneas curvas que empiezan en cargas positivas y terminan en cargas negativas.

Figura 8. Forma en que se define la línea de fuerza del campo eléctrico.
Podemos por tanto afirmar que para cualquier distribución de carga la(s) partícula(s) crea(n) una situación en el espacio a su alrededor tal, que si se coloca una partícula de prueba en cualquier punto, la fuerza que experimenta la partícula de prueba es tangente a la línea de fuerza. Se dice que cualquier distribución de carga eléctrica crea a su alrededor una situación que se llama campo eléctrico.
De manera completamente análoga se pueden definir las líneas de fuerza magnéticas. Al colocar una limadura de hierro ésta se magnetiza y se orienta en una dirección tangente a la línea de fuerza. Las limaduras de hierro desempeñan el papel de sondas de prueba para investigar qué situación magnética se crea alrededor de los agentes que crean el efecto magnético. En el capítulo anterior hablamos del efecto magnético que se produce en el espacio. Este efecto es el campo magnético.
Al cambiar la disposición de las cargas eléctricas, imanes o corrientes eléctricas, es claro que las líneas de fuerza que producen en el espacio a su alrededor también cambian. El efecto que se produce en el espacio constituye un campo. Así tenemos tanto un campo eléctrico como uno magnético. Por tanto, un campo es una situación que un conjunto de cargas eléctricas o imanes y corrientes eléctricas producen en el espacio que los rodea.
Fue Faraday quien proporcionó una realidad física a la idea de campo, y basándose en ello se dio cuenta de que si se cambia la posición física de cualquier partícula eléctrica en una distribución, entonces el campo eléctrico que rodea a ésta también deberá cambiar y por tanto, al colocar una partícula de prueba en cualquier punto, la fuerza que experimenta cambiará. Sin embargo, a diferencia de la acción a distancia, estos cambios tardan cierto intervalo de tiempo en ocurrir, no son instantáneos. Otro ejemplo es cuando una corriente eléctrica que circula por un alambre cambia abruptamente. Faraday se preguntó si el cambio en el campo magnético producido ocurría instantáneamente o si tardaba en ocurrir, pero no pudo medir estos intervalos de tiempo ya que en su época no se disponía del instrumental adecuado. (Incluso hizo varios intentos infructuosos por diseñar un instrumento que le sirviera a este propósito al final de su vida.) Sin embargo, no tuvo la menor duda de que en efecto transcurría un intervalo finito de tiempo en el que se propagaba el cambio. Así, Faraday argumentó que la idea de acción a distancia no podía ser correcta.
Hemos de mencionar que no fue sino hasta el año de 1887 cuando se midió en un laboratorio por primera vez, y se comprobó que este tipo de propagación ocurre en un tiempo finito. El experimento fue hecho por Heinrich Hertz y lo describiremos más adelante.
Faraday dio otro argumento para rechazar la idea de acción a distancia. La fuerza entre dos partículas eléctricamente cargadas no solamente depende de la distancia entre ellas sino también de lo que haya entre ellas. Si las partículas están en el vacío, la fuerza tendrá cierto valor, pero si hay alguna sustancia entre ellas el valor de la fuerza cambiará. Faraday realizó varios experimentos para confirmar sus afirmaciones. Escribió que el medio que se encuentre entre las partículas causa una diferencia en la transmisión de la acción eléctrica, lo que ocasiona que no pueda haber acción a distancia. Por lo tanto, la acción entre las partículas se debe transmitir, punto a punto, a través del medio circundante.
Fue en 1837 que Faraday propuso la idea de que la línea de fuerza tenía realidad física. Con ello demostró tener una gran intuición física para entender los fenómenos electromagnéticos. Hay que mencionar que debido a que no tenía preparación matemática adecuada, por no haber asistido a una escuela de enseñanza superior, Faraday no pudo desarrollar la teoría matemática del campo electromagnético, hecho que tuvo que esperar hasta Maxwell. Sin embargo, tuvo el genio extraordinario para describir esta idea de manera gráfica.
7. El electroimán. Motores y generadores de electricidad
Los descubrimientos de Ampére y Faraday tuvieron inmediatas aplicaciones prácticas que cambiaron la faz de la civilización moderna.Usando el descubrimiento de Oersted, de que una corriente eléctrica produce un campo magnético en el espacio alrededor del cable que la conduce, tanto Ampére como Arago lograron magnetizar agujas de hierro. Lo hicieron de la siguiente forma: enrollaron un cable alrededor de la aguja y luego conectaron los extremos de aquél a una batería. Al pasar la corriente por el cable crea un campo magnético en el espacio dentro de la bobina; este campo magnético a su vez magnetiza la aguja. de la misma forma que un imán permanente magnetiza una limadura de hierro.
En 1825 el inglés William Sturgeon (1783-1850) enrolló 18 espiras de alambre conductor alrededor de una barra de hierro dulce, que dobló para que tuviera la forma de una herradura (Figura 9). Al conectar los extremos del cable a una batería el hierro se magnetizó y pudo levantar un peso que era 20 veces mayor que el propio. Este fue el primer electroimán, es decir, un imán accionado por electricidad.

Figura 9. Primer electroimán construido por Sturgeon en 1825.
El descubrimiento de Ampére sentó las bases para la invención del primer motor eléctrico. Su funcionamiento es el siguiente. Supóngase que se enrolla una bobina alrededor de un cilindro de hierro (Figura 10) y que ésta se fija en un eje LL, alrededor del cual puede girar. Si metemos la bobina dentro de los polos de un imán permanente, como se muestra en la figura, y se hace pasar una corriente eléctrica por ella, ésta se vuelve un imán que puede girar dentro del imán permanente. Los polos de los imanes ejercen fuerzas entre sí; por consiguiente, la bobina experimenta fuerzas que la hacen girar alrededor del eje LL. Si se conecta adecuadamente el eje, por medio de poleas y bandas, se puede aprovechar el giro de la bobina y realizar trabajo mecánico, como por ejemplo subir cuerpos o moverlos, etc. De esta manera es posible transformar la energía eléctrica que la batería entrega al hacer circular la corriente por la bobina, en energía mecánica para mover algún objeto. Al dispositivo que funciona de esta forma se le llama motor eléctrico.

Figura 10. Esquema de un motor eléctrico.
Por otro lado, en 1832, o sea un año después del anuncio del descubrimiento de Faraday, Hippolyte Pixii en Francia, a sugerencia de Faraday, construyó el primer generador de electricidad. En forma breve, su comportamiento es el siguiente. Tomemos el mismo aparato mostrado en la figura 10 y en lugar de conectar los extremos del cable de la bobina a una batería como en el motor, los conectamos entre sí e intercalamos en el circuito un galvanómetro. Ahora, por medio de una manivela hacemos girar la bobina alrededor del eje LL, con la bobina dentro del imán permanente. De esta manera, el flujo magnético del imán permanente a través del plano de cada espira de la bobina varía con el tiempo. Por lo tanto podemos decir que, según la ley de Faraday, se induce una corriente eléctrica a través del alambre conductor. En efecto, se puede observar que la aguja del galvanómetro se empieza a mover. De esta manera se produce electricidad que se puede, por así decirlo, recoger de los extremos del alambre de la bobina, por ejemplo, conectándolos a un foco. Con este aparato la energía mecánica que se desarrolla al girar la bobina por medio de la manivela se ha convertido en energía eléctrica que tiene la corriente que se induce. Este aparato se llama generador (o dínamo) de electricidad.
Desde la década de 1830, hasta 1880, se fueron añadiendo diferentes dispositivos tanto al motor como al generador para hacerlos más eficientes. Sin embargo, el uso de estos aparatos en forma masiva no se dio sino hasta la década de 1880. El motivo principal no fue técnico sino económico. En efecto, la industria europea de mediados del siglo XIX estaba basada en unidades productoras de fuerza motriz muy grandes, como las máquinas de vapor estacionarias en las fábricas, y en las locomotoras y motores marinos para el transporte. La creciente mecanización de las industrias menores dio lugar a la construcción de pequeñas unidades también accionadas por vapor. Hacia la octava década del siglo se empezaron a usar máquinas que utilizaban gas y luego gasolina. Estos fueron los primeros motores de combustión interna. Sin embargo, para la industria, el motor eléctrico era un medio más flexible y práctico para disponer de fuerza motriz que los motores de vapor, gas o gasolina. Pero la posibilidad de utilizar masivamente el motor eléctrico dependía de que se contara con una amplia red de abastecimiento de energía eléctrica, la cual solamente se pudo construir cuando se creó una necesidad más fuerte que la pura demanda industrial. Esta necesidad surgió con la evolución de los servicios domésticos, en particular el de la iluminación eléctrica, tema que trataremos en un capítulo posterior.
Con los descubrimientos del electromagnetismo, las únicas aplicaciones que tuvieron demanda inicial fueron en primer lugar las relacionadas con las comunicaciones, como el telégrafo; luego hubo demanda en la galvanoplastia (operación mediante la cual se deposita una capa de metal sobre un objeto determinado) y ya posteriormente en la iluminación y en la fuerza motriz.
El telégrafo eléctrico fue uno de los primeros inventos que surgieron de las aplicaciones de los descubrimientos de Ampere y Faraday. El telégrafo moderno, que empezó a usarse a partir de 1837, es un aparato que transmite mensajes codificados a larga distancia mediante impulsos eléctricos que circulan a través de un cable conductor. Anteriormente ya se habían usado diferentes sistemas para comunicarse a larga distancia, desde las señales de humo hasta las ópticas. Sin embargo, no fue sino hasta el advenimiento de los descubrimientos electromagnéticos, hechos en el primer tercio del siglo XIX, que se dispuso de un método económico y seguro para la telecomunicación.
Un esquema del telégrafo se muestra en la figura 11. Se trata de una batería que tiene una de sus terminales conectada a un extremo de un manipulador o llave, que al accionarlo cierra el circuito eléctrico. La otra terminal de la batería se conecta a tierra. El otro extremo del manipulador se conecta al cable que se unirá a la otra estación del telégrafo, en donde el cable se conecta a un electroimán. Un extremo de la batería del electroimán se conecta a tierra; de esta manera se cierra el circuito eléctrico. Al cerrar el circuito bajando el manipulador, la bobina se acciona y se vuelve un electroimán (véase el capítulo VII) y atrae a un estilete que puede imprimir una marca en una hoja de papel que gira. En lugar del estilete se puede colocar algún dispositivo que produzca sonido. Es así como se puede transmitir una señal de un extremo al otro del sistema.

Figura 11. Esquema del telégrafo eléctrico.
El telégrafo se utilizó primero para transmitir mensajes a distancias relativamente cortas, digamos dentro de una ciudad. Al transcurrir el tiempo hubo necesidad de aumentar la distancia de operación. De hecho, muchos inventores como Morse, Charles Wheatstone y otros, mejoraron y ampliaron los sistemas telegráficos, debido al valor monetario que representaba transmitir las noticias acerca de los precios de las mercancías, y para difundir diferentes sucesos. Las noticias significaban dinero y el telégrafo eléctrico permitió obtenerlas con rapidez.
Hacia mediados de siglo se presentó la necesidad de ampliar la red telegráfica entre Europa y América. Fue gracias al gran talento de uno de los más eminente físicos de la época, el inglés William Thomson, lord Kelvin (18211907), que se hicieron los estudios necesarios para instalar en 1866 el primer cable trasatlántico que conectó a Wall Street en Nueva York con la City en Londres.
El desarrollo del telégrafo creó la necesidad de contar con electricistas hábiles, por lo que se crearon escuelas técnicas y superiores de las que egresarían los que posteriormente se llamarían ingenieros electricistas. Los diferentes problemas técnicos que se presentaron en el tendido de los cables, en el mejoramiento de los equipos telegráficos, y en el desarrollo de la teoría de la transmisión de señales fueron materia de investigación en departamentos científicos de las universidades.
9. Desarrollo de las máquinas eléctricas. La iluminación eléctrica. El tranasformador
Entre 1845 y 1870 se hicieron diversas modificaciones a los generadores y motores eléctricos, con lo que se mejoró sustancialmente su funcionamiento. Cuando en un principio se construyeron estas máquinas presentaban diferentes problemas como baja eficiencia, inestabilidad en el funcionamiento, etc. Se requirió un gran esfuerzo de investigación e ingenio para sortear los obstáculos. De esta manera, por ejemplo, en 1870 el francés Zénobe Théophile Gramme alcanzó voltajes muy altos en un generador eléctrico.En 1881, por medio de una ingeniosa combinación, Charles Brush logró que el voltaje del generador tuviese siempre un valor constante, sin importar cuánta corriente proporcionara el aparato.
Entre los primeros en reconocer los factores que causaban pérdidas en un generador se encuentran los estadounidenses Edward Weston y Thomas A. Edison, quienes aumentaron la eficiencia de los generadores del 50 al 90 por ciento.
Hacia principios de la década de 1890 se empezaron a utilizar conjuntos de generadores conectados en paralelo, con lo que se logró producir grandes cantidades de electricidad.
Para mover los generadores se usaban máquinas de vapor, y ocasionalmente fuentes hidráulicas.
En octubre de 1879, después de muchas experiencias infructuosas y de haber gastado la considerable cantidad para ese entonces de 40 000 dólares, el estadounidense Thomas Alva Edison (1847-1931) logró construir una lámpara incandescente en la que un filamento de carbón emitía luz al hacerle pasar una corriente eléctrica por más de 40 horas. El famoso inventor colocó su filamento dentro de un bulbo de vidrio que estaba al vacío en su interior.
Edison logró fabricar este tipo de focos de una manera muy eficiente y con este invento se abrió un campo extraordinario de aplicación que creó la necesidad de construir generadores eficientes de electricidad.
Otra contribución decisiva que Edison hizo en 1881 fue la estación eléctrica, o sea, una planta en la que se generaba electricidad y de allí se distribuía. Esto ocurrió en la ciudad de Nueva York. De su estación, que contenía un generador de corriente continua, salió una red de líneas que distribuyeron la electricidad en muchas partes de la ciudad, tal como en ese entonces ya se hacía con el gas y el agua. Al ofrecer el servicio de la luz eléctrica al público, Edison dejó atrás a todos sus competidores.
Una vez que la electricidad pudo ser generada y distribuida para la iluminación, se aprovechó para ser utilizada como fuerza motriz por medio de motores eléctricos. Se puso así a disposición de la industria y de los transportes un nuevo medio universal y barato de distribución de energía que dio un gran impulso a la utilización de los motores eléctricos. Así se creó la industria eléctrica pesada. Como se puede apreciar la industria eléctrica, en contraste con otras más antiguas, tuvo un carácter científico desde sus inicios.
Otro hecho de gran trascendencia se dio entonces: el inicio del laboratorio de investigación industrial, en el que la investigación científica se entrelazó estrechamente con los avances tecnológicos y con la producción. Uno de los primeros laboratorios de esta naturaleza fue el que creó Edison en Menlo Park, que en sus orígenes fue un pequeño cobertizo para ensayar inventos.
A pesar de los extraordinarios logros de Edison hubo problemas con la corriente eléctrica que utilizaba, que como vimos era corriente directa. Esto ocasionó problemas. En efecto, en primer lugar, la utilización de circuitos en paralelo requirió que los cables fueran muy gruesos, lo cual generaba costos altos. En segundo lugar, y de mas importancia, al aumentar la demanda de iluminación se necesitaron cargas cada vez más altas que implicaban corrientes eléctricas enormes. Por lo tanto, se estaba ante la alternativa de enviar corrientes muy altas a través de grandes cables de cobre, lo cual era muy ineficiente, o de construir muchas plantas generadoras de electricidad cercanas a los usuarios, con el respectivo aumento considerable de los costos.
Además, rápidamente quedó en evidencia que el sistema de corriente directa que se ramificaba dos kilómetros fuera la planta estaba cerca de su límite de crecimiento.
Por otro lado, la transmisión de corriente eléctrica de alto voltaje a largas distancias, por medio de alambres relativamente delgados, podría ser muy eficiente. La objeción era que un generador de corriente directa produce corriente con un voltaje determinado que no se puede modificar y por tanto, no habría forma de reducir el voltaje al valor que se necesitara, en particular en el uso doméstico. Hemos de mencionar que cuando hablamos de alto voltaje nos referimos a decenas de miles de volts, mientras que los valores para los usuarios son de 125 a 250 volts.
La solución a estos dilemas se encontró con la construcción de generadores de corriente alterna por un lado, y la invención del transformador por el otro. Estos dos dispositivos basan su funcionamiento en la ley de inducción de Faraday. Veamos un poco de su historia.
Desde que Faraday descubrió la inducción electromagnética se construyeron los primeros generadores que producían corriente eléctrica que variaba o alternaba al transcurrir el tiempo; el número de veces que el valor de la corriente cambia en un segundo es la frecuencia de la corriente y se mide en hertz (Hz); así, una corriente de 60 Hz es aquella que varía 60 veces en un segundo. En 1888 Nikola Tesla obtuvo una patente por un generador polifásico alterno que producía gran potencia eléctrica; muy pronto este tipo de máquina fue la más usada. Hoy en día se emplean generadores que son versiones muy mejoradas del generador polifásico de Tesla. Los primeros generadores fueron diseñados para que produjeran corrientes que tenían diferentes valores de sus frecuencias: los de 25, 33.5, 40, 50, 60, 90, 130, 420 Hz fueron los más usados. Con el tiempo se ha convenido en utilizar 60 Hz.
Por otro lado, un inventor francés, Lucien H. Gaulard, y un ingeniero inglés, John D. Gibbs, obtuvieron en 1882 una patente para un dispositivo que ellos llamaron generador secundario. De esta manera incorporaron a un sistema de iluminación la corriente alterna. El sistema que ellos patentaron fue una versión poco práctica de lo que hoy en día llamamos un transformador.
El primer transformador fue, de hecho, construido por Faraday cuando realizó los experimentos en los que descubrió la inducción electromagnética (véase el capítulo V). Como ya vimos, el aparato que usó fueron dos bobinas enrolladas una encima de la otra (Figura 5). Al variar la corriente que circulaba por una de ellas, cerrando o abriendo el interruptor, el flujo magnético a través de la otra bobina variaba y se inducía una corriente eléctrica en la segunda bobina. Pues bien, este dispositivo es precisamente un transformador. Faraday no puso mayor atención en este aparato ya que estaba interesado en otras cuestiones. En el transcurso de los años varios experimentadores trabajaron con diferentes versiones de transformadores.
Un transformador funciona de la siguiente forma: supongamos que se construye un núcleo de hierro como se muestra en la figura 12. Si en un extremo del núcleo se enrolla un cable para formar una bobina A, y por ésta circula una corriente eléctrica, entonces resulta que el campo magnético producido por esta corriente (según la ley de Ampere) queda confinado dentro del núcleo de hierro; prácticamente no hay campo fuera del núcleo. Esto ocurre si el núcleo está construido de sustancias llamadas ferromagnéticas, como el hierro, cobalto, etc. Ahora bien, si la corriente que circula por la bobina varía con el tiempo, entonces el campo magnético producido también variará, y por tanto también cambiará el flujo de este campo a través del núcleo. Si ahora se enrolla otra bobina, la B, en otra parte del núcleo, entonces, de acuerdo con la ley de inducción electromagnética de Faraday sabemos que se inducirá una corriente a lo largo de la segunda bobina. A la bobina A se le llama el primario y a la B el secundario. Las características de la corriente inducida en B dependen del número de espiras que hay en cada una de las bobinas. Mientras mayor sea el número de espiras en el secundario, mayor será el voltaje inducido en él. Por ejemplo, si el voltaje en el primario es de 125 V, y en el primario hay 100 espiras, mientras que en el secundario hay 2 000 espiras, entonces la relación es:
espiras en el secundario 2 000 / espiras en el primario 100 = 20
Por lo tanto, el voltaje inducido en el secundario será 20 veces el voltaje del primario, o sea 20 x 125 V = 2 500 V.
Figura 12. Esquema de un transformador.
Este ejemplo nos ilustra las características de un transformador: si el voltaje inducido aumenta en el secundario entonces la corriente inducida disminuye en la misma proporción, e inversamente, si el voltaje disminuye, la corriente aumenta en la misma proporción.
Un dato muy importante es que un transformador solamente funciona con corrientes que varían con el tiempo, pues es en estas circunstancias que el flujo magnético cambia y se puede inducir una corriente en el secundario. Por tanto, con corriente directa no funciona el transformador.
Regresemos ahora a nuestra historia del desarrollo de la electricidad. Como vimos arriba, después de haber patentado una versión de un transformador, Gaulard y Gibbs inventaron un sistema de iluminación en el cual usaron corriente alterna y lámparas incandescentes, del tipo que inventó Edison. Demostraron su sistema en Inglaterra en 1883 y en Italia en 1884. Sin embargo, su transformador no era muy práctico.
Entre los visitantes a sus exposiciones estuvieron tres húngaros: Otto T. Bláthy, Max Déri y Karl Zipernowski.
Ellos mejoraron el diseño del transformador y en mayo de 1885, en la Exposición Nacional Húngara en Budapest presentaron lo que resultó ser el prototipo del sistema de iluminación que se utiliza hasta hoy en día. Su sistema tenía 75 transformadores conectados en paralelo que alimentaban 1 067 lámparas incandescentes del tipo de Edison, todo esto alimentado por un generador de corriente alterna que proveía un voltaje de 1 350 V. Los transformadores que usaron los húngaros proveían voltajes bajos y eran muy eficientes, pero su construcción resultaba muy laboriosa y por tanto, muy cara. Sin embargo, lograron su objetivo: operar un sistema de lámparas a bajo voltaje a partir de un tema de distribución de corriente operado a alto voltaje.
Fue Bláthy primero en usar la palabra "transformador".
Otra persona que también presenció la demostración de Gaulard y Gibbs en Italia fue el estadunidense George Westinghouse (1846-1914). Éste era un industrial que conocía el sistema construido por Edison en Nueva York, del cual no era partidario, ya que estaba consciente de sus desventajas. En 1884 Westinghouse contrató a un joven ingeniero eléctrico, William Stanley, quien tenía algunas ideas para utilizar el transformador. Hacia 1885 Stanley ya había diseñado varios tipos de transformadores superiores a los de los científicos húngaros. Con ayuda de otros ingenieros, Oliver B. Sehallenberger y Albert Schmid, construyeron transformadores como el que se muestra en la figura 12, con laminillas de hierro que evitaban las pérdidas de energía. En marzo de 1886 entró en operación una planta construida bajo la dirección de Stanley en el pueblo de Great Barrington, Masachusetts. Esta planta operó con corriente alterna, con un generador que produjo una corriente de 500 V y que aumentó un conjunto de lámparas a una distancia de alrededor de 2 km. Por medio de transformadores redujeron el voltaje a 100 volts, que es el valor que se requiere para hacer funcionar las lámparas. Para demostrar que se podía transmitir la electricidad a distancias mayores por medio de un transformador elevaron el voltaje a un valor de 3 000 volts, y luego lo redujeron a 100 volts. El resultado fue un gran éxito y de inmediato Westinghouse inició la manufactura y venta de equipos para distribuir electricidad por medio de corriente alterna. Al mismo tiempo Schallenberger inventó un medidor de energía eléctrica consumida, para poder cobrarla en forma precisa. Todo esto, aunado al hecho de que el costo de la transmisión era relativamente barato, dio inicio a la utilización de la energía eléctrica por medio de corriente alterna, sistemas que aún utilizamos en la época actual.
Edison y sus asociados pelearon contra la utilización de la comente alterna tanto en la prensa como en los tribunales. Sin embargo, su lucha estaba perdida. Muy pronto la corriente directa cedió su lugar a la alterna debido a su flexibilidad, conveniencia y bajo costo. Tres años después del éxito con su planta Edison quedó desplazado.
En la década de 1890 el crecimiento de los sistemas de corriente alterna fue muy vertiginoso. En las cataratas del Niágara, EUA, se instalaron generadores inmensos que iniciaron su servicio en 1895 y alimentaron de electricidad a lugares bastante lejanos, algunos situados a centenares de kilómetros. De esta manera muy pronto se establecieron sistemas de transmisión en muchos países, tendencia que continúa hasta la fecha.
En la figura 13 se presenta el esquema de un sistema de distribución de energía eléctrica que nace de una planta generadora y que va hasta una ciudad muy alejada. A la salida de la planta un transformador eleva el voltaje para iniciar la distribución. En la cercanía de la meta se inicia el descenso del voltaje por medio de transformadores que se encuentran en subestaciones, descenso que se va realizando de manera gradual para poder alimentar a usuarios con diferentes necesidades.

Figura 13. Esquema de un sistema de distribución de electricidad, desde la planta generadora hasta los diversos consumidores. Este sistema es posible gracias a los transformadores.
La idea de Bell fue inventar un dispositivo que transformara las ondas de sonido que se emiten cuando uno habla en variaciones de una corriente eléctrica, y que la corriente así generada siguiese fielmente las variaciones producidas por el sonido. Una vez lograda, esta corriente podía llegar al lugar receptor a través de un cable conductor. El receptor tendría un aparato que invirtiera el proceso: transformar las variaciones de una corriente eléctrica en sonido.
Bell concibió su transmisor de la siguiente forma. Pensemos en una porción de un circuito eléctrico en que una batería está conectada a una resistencia. El valor de la corriente eléctrica que circulará por el circuito dependerá del valor de la resistencia: si ésta aumenta, entonces la corriente disminuye y viceversa. Si de alguna manera se conecta una resistencia cuyo valor varíe, entonces el valor de la corriente por el circuito también variará en la misma forma que el valor de la resistencia. Por lo tanto, el problema de Bell se redujo a diseñar un dispositivo que desempeñara el papel de resistencia variable. Después de varios intentos con diferentes tipos de sistemas finalmente utilizó lo que es la base de los micrófonos actuales. Se trata de una membrana conectada a una diafragma (Figura 14) que se puede mover horizontalmente. En el extremo derecho del diafragma se encuentra un recipiente con granos de carbón que ofrecen una resistencia al paso de la corriente eléctrica. El valor de la resistencia depende de qué tan comprimidos estén los granos. Si el diafragma se mueve a la derecha, por ejemplo, entonces comprime los granos, y al variar la densidad de los granos varía su resistencia. Si ahora se conecta el recipiente con los granos al circuito eléctrico mencionado al inicio del párrafo, en el lugar de la resistencia, se logra el dispositivo que buscaba Bell.

Figura 14. Esquema del micrófono inventado por Bell.

Figura 15. Sistema telefónico inventado por Bell.
La primera central telefónica se instaló en 1878 en New Haven, Connecticut, EUA, con 21 abonados. Antes de proseguir con nuestra narración revisaremos el concepto de onda, que será de mucha importancia.
Imaginemos una cuerda que está fija en uno de sus extremos a una pared (Figura 16) y que la sostenemos con la mano en su otro extremo. En el instante inicial la cuerda está en reposo y en posición horizontal. Ahora subamos la mano; al hacerlo moveremos la parte AB de la cuerda. En un instante posterior la porción BC de la cuerda empezará a subir. Posteriormente, CD empezará a subir y después, DE también lo hará, y así sucesivamente. De hecho, cuando la parte AB sube arrastra hacia arriba la porción BC; al subir BC arrastra a su vez hacia arriba a CD, etc. Es decir, al moverse cada parte de la cuerda arrastra la porción que está a su lado. En todo esto hay que darse cuenta de que nuestra mano solamente movió la porción AB; nuestra mano NO movió las porciones BC, CD, DE, etc. De hecho, ni siquiera las ha tocado.

Figura 16. Al perturbar la cuerda en el punto A los demás puntos de la cuerda llegan a perturbarse. Esta perturbación es una onda.
En general, una onda es una perturbación que se propaga en un medio.
Otro ejemplo de creación de una onda ocurre cuando lanzamos una piedra a un estanque de agua. La piedra mueve el agua cuando toca su superficie. En instantes posteriores, partes adyacentes a la porción de agua en que cayó la piedra empiezan a moverse; nótese que estas partes no fueron tocadas por la piedra. Más tarde aún, otras partes del agua que tampoco fueron tocadas por la piedra empiezan también a moverse. La piedra causó una perturbación en el agua y esta perturbación se propagó. Es decir, se creó una onda. En este ejemplo la onda se propagó en el agua, o sea que el agua fue el medio.
Otro tipo de onda es el siguiente: consideremos un recipiente con aire en su interior; supongamos que la parte superior del recipiente está cubierta con una membrana elástica que no deja pasar el aire hacia afuera. Ahora apretemos la membrana para comprimir el aire dentro del recipiente. Para empezar, el aire adyacente a la membrana se comprime. Al transcurrir el tiempo esta región deja de estar comprimida, pero el aire que ocupa la región adyacente, dentro del recipiente, se comprime a su vez. De esta forma la compresión se va propagando a lo largo de todas las regiones del aire dentro del recipiente. Es decir, la perturbación que aplicamos al apretar la membrana, que comprimió el aire en la región AB, se fue propagando al resto del aire. Por tanto se generó una onda. En este caso la onda es de compresión del aire y el medio en que se propaga es precisamente el aire.
Otra posibilidad es que en lugar de apretar la membrana la estiremos hacia arriba. En este caso el aire que queda junto a la membrana ocupa un volumen mayor que el que tenía originalmente. Como las cantidades de aire son las mismas, ahora el aire queda diluido, es decir, rarificado. Este efecto es el opuesto al de compresión. Por lo tanto, al estirar la membrana la región adyacente a ella experimenta una rarefacción. En instantes posteriores las diversas regiones del gas se van rarificando. Es decir, la perturbación, que ahora es la rarefacción, se ha propagado en el aire. Es este caso, la onda así creada es de rarefacción.
También se puede generar una onda en que se propague tanto una compresión como una rarefacción. En efecto, supóngase que primero empujamos y luego jalamos la membrana. Al empujar comprimimos el aire y al jalar lo rarificamos. Lo que ocurre es lo siguiente: en primer lugar, la región adyacente a la membrana se comprime. Posteriormente, la región adyacente a la anterior se comprime. Si ahora la membrana se jala, entonces la región adyacente a la membrana se rarifica. Estas compresiones y rarefacciones se van propagando en el gas. De esta manera se ha generado una onda de compresión y de rarefacción. El sonido es justamente este tipo de onda.
Cuando hablamos emitimos sonidos. Nuestra garganta, a través de las cuerdas vocales perturba el aire que está a su alrededor comprimiéndolo y rarificándolo. Estas perturbaciones se propagan a través de la atmósfera que nos rodea, constituyendo una onda de sonido.
Cuando se toca algún instrumento musical lo que se está haciendo efectivamente es hacerlo vibrar. Por ejemplo, al tocar un violín se hace vibrar la cuerda con el arco; ésta a su vez hace vibrar el cuerpo de violín. Al vibrar la madera de que está hecho, el violín comprime y rarifica al aire que está junto a él. Estas perturbaciones se propagan y forman un sonido. Lo mismo ocurre con cualquier otro instrumento musical.
Cuando un objeto se rompe o choca con algún cuerpo, perturba el aire que está a su alrededor y genera una onda sonora.
Las ondas de compresión y rarefacción se propagan no solamente en el aire sino en cualquier otra sustancia. Es claro que para que esta onda se propague la sustancia debe poder comprimirse y rarificarse. Esto ocurre con cualquier sustancia, unas en mayor grado y otras en menor grado. Por tanto, una onda sonora se propaga en un medio, por ejemplo el agua, un sólido como el hierro, etcétera.
Si no hay medio entonces una onda no se propaga; así, no puede propagarse en una región en que no haya nada, en el vacío. Por ejemplo, en la Luna no hay atmósfera, es decir, no hay aire y por tanto no se propaga el sonido.
Una característica de una onda es la longitud de onda, denotada por l (Figura 17). Esta cantidad es la distancia entre dos máximos sucesivos de la onda. La longitud de onda se mide en metros, centímetros, kilómetros, etcétera.

Figura 17. La longitud de onda es la distancia entre dos máximos sucesivos.
Hay una relación entre la longitud y la frecuencia de una onda; en efecto, resulta que su producto es igual a la velocidad v con que se propaga la onda.
f · λ = U
En vista de que en un medio dado la velocidad v es una cantidad constante, si la frecuencia f aumenta, para que el producto (f · λ) sea constante, necesariamente la longitud de onda λ debe disminuir, e inversamente. Por lo tanto:

El ejemplo anterior ilustra un caso general. Cuando un sistema puede oscilar (o vibrar) entonces tiene una, o varias, frecuencias características. Estas frecuencias dependen de las propiedades del sistema. Por ejemplo, en el caso del columpio la frecuencia depende de la longitud del columpio. Hay muchos sistemas que pueden vibrar: un resorte, una placa delgada sujeta en uno de sus vértices, una construcción, etc. Cada uno de estos sistemas tiene su(s) frecuencia(s) característica(s) de vibración.
Regresemos al caso del columpio con el niño. Supongamos que ahora lo vamos a empujar para que siga oscilando. Para ello tenemos que impulsarlo en determinados instantes. Supongamos que la frecuencia del columpio fuera de 2 Hz, o sea, que realizara dos vueltas completas en un segundo; por lo tanto, su periodo sería (1/2) seg = 0.5 seg. Si empujamos el columpio cada 0.2 seg. (o sea, aplicamos una fuerza), la amplitud con la que oscila el columpio no será muy grande. Si alguna vez hemos empujado a un niño en un columpio sabemos que se puede lograr una amplitud bastante grande si lo impulsamos cada vez que termina un ciclo, que en nuestro caso sería cada 0.5 seg. Por tanto, si hacemos esto último estaremos aplicando sobre el columpio una fuerza también periódica con una frecuencia igual a 2 Hz, que es precisamente la frecuencia característica de oscilación del columpio. Si empezamos aplicando la fuerza en cada periodo de 0.2 seg., o sea, con una frecuencia de 1/0.2 = 5 Hz, entonces no logramos una amplitud grande, aun si la fuerza es grande.
Lo anterior ilustra un hecho muy importante. Si a un sistema que oscila se le aplica una fuerza externa también periódica, entonces la amplitud de la oscilación del sistema dependerá de la frecuencia de la fuerza externa.
Si la frecuencia de esta fuerza es distinta de las frecuencias características del sistema, entonces la amplitud de la oscilación resultante será relativamente pequeña.
Si la frecuencia de la fuerza externa es igual a alguna de las frecuencias características del sistema, entonces la amplitud resultante será muy grande. En este caso se dice que la fuerza externa ha entrado en resonancia con el sistema.
En la resonancia la amplitud de la oscilación es muy grande. Esto quiere decir que el sistema se aleja mucho de la posición de equilibrio. Por ejemplo, en el caso de un resorte, si se le aplica una fuerza periódica que tenga la misma frecuencia que la característica del resorte, éste se estirará tanto que llegará un momento en que se destruirá.
Esta destrucción también puede ocurrir en cualquier sistema mecánico que pueda oscilar. Si el sistema entra en resonancia con una fuerza externa, su amplitud de oscilación aumenta tanto que el sistema se puede destruir. Un ejemplo impresionante de lo anterior ocurrió en el año de 1940 en un puente en Tacoma, EUA. Unos meses después de haber sido completado, un temporal azotó la región, y una de las componentes de la fuerza del viento fue de frecuencia justamente igual a una de las frecuencias características del puente. El puente entró en resonancia con el viento y empezó a oscilar con una amplitud muy grande que lo destruyó.
Cuando se diseñan estructuras es importante hacerlo de manera que sus frecuencias características sean tales que estén lo más lejanas posibles de las frecuencias de las perturbaciones a las que la estructura pueda estar sujeta, como por ejemplo vientos, terremotos, etcétera.
Este hecho es general: si un sistema mecánico entra en resonancia puede ocurrir que se destruya.
Cuando un pelotón de soldados está marchando y va a cruzar un puente, rompe la marcha. De no hacerlo, los golpes que dan al marchar podrían tener componentes con una frecuencia igual a alguna de las frecuencias características del puente. Al romper la marcha evitan que haya resonancia.
Otro caso desafortunado fue el del terremoto que sacudió a la ciudad de México en 1985. Esta perturbación tenía una frecuencia de 0.5 Hz, y como un buen número de edificios de alrededor de seis pisos tenían entre sus frecuencias naturales una de valor de alrededor de 0.5 Hz, entraron en resonancia con el terremoto; sus amplitudes de oscilación crecieron a tal grado que se destruyeron.
Por otro lado, existen otros fenómenos en los que la resonancia se utiliza de manera ventajosa. Por ejemplo, el sintonizador de un aparato de radio o de televisión es un circuito electrónico formado básicamente por un condensador y una bobina. Este tipo de circuito es oscilatorio y tiene una frecuencia característica que depende de los valores de la capacidad del condensador y de la inductancia de la bobina.
Las ondas eléctricas que emiten las estaciones de radio o televisión son captadas por la antena del aparato receptor (véase el capítulo XVII) y son conducidas al sintonizador. Pero estas ondas tienen la frecuencia de la estación. Cuando damos vuelta a la perilla del sintonizador lo que se está haciendo es cambiar el valor de la capacidad de su condensador y así modificar la frecuencia característica del circuito para que llegue a tener el mismo valor que la frecuencia de la onda que se desea recibir. Al ser iguales las frecuencias de la estación y la característica del circuito, éste entra en resonancia y su respuesta es muy grande. De esta forma se logra seleccionar una onda determinada de todas las que emiten las estaciones de la localidad.
En capítulos posteriores veremos que el fenómeno de resonancia es muy frecuente en las aplicaciones de la electricidad y el magnetismo. Antes de seguir narrando el desarrollo de la electricidad y el magnetismo, haremos otro paréntesis para entender el contexto en que se hicieron los descubrimientos cruciales de Maxwell. Necesitaremos entender qué es lo que se sabía a mediados del siglo XIX sobre la naturaleza de la luz.
Desde la antigüedad el hombre se preguntó qué es la luz. Esta cuestión dio lugar a una serie de problemas muy sutiles.
El italiano Galileo Galilei (1564-1642) ya sabía que un rayo de luz se propaga en línea recta y que, si su velocidad es finita debería tener un valor muy grande. En 1675 el danés Olaf Roemer, al observar eclipses de las lunas del planeta Júpiter hizo la primera medición de la velocidad de la luz y obtuvo el extraordinario número de alrededor de 300 000 km/s. En esa época también se conocían otros fenómenos que experimentaba la luz: la reflexión y la refracción.
La reflexión ocurre cuando un rayo de luz llega a una superficie que está pulida y se regresa. Si i es el ángulo con que incide el rayo sobre la superficie, como se muestra en la figura 18, entonces resulta que el rayo reflejado forma un ángulo r de reflexión igual al incidente i. Este resultado se llama la ley de la reflexión. Un ejemplo bien conocido ocurre con un espejo.

Figura 18. Cuando la luz incide sobre una superficie pulida se refleja.
Sin embargo, el rayo dentro del agua cambia la dirección de su propagación. Este fenómeno constituye la refracción. En ella, los ángulos de incidencia i y de refracción j (Figura 19) no son iguales. La relación entre estos ángulos depende de las características de las dos sustancias en que se propagan los rayos. La ley de Snell explica el comportamiento del rayo transmitido, en términos del rayo incidente y de propiedades de los medios. Por este fenómeno, cuando un lápiz está metido parcialmente dentro de un vaso de agua lo vemos como si estuviera partido.

Figura 19. Cuando la luz pasa de un medio a otro cambia su dirección de propagación, se dice que se refracta.
Una propiedad muy importante de la luz es el color. Newton descubrió que la luz blanca estaba compuesta en realidad de varios colores. Hizo un sencillo experimento en el que una luz blanca, por ejemplo la del Sol, se hacía pasar a través de un prisma. Se dio cuenta de que la luz que emergía del otro lado del prisma estaba compuesta de rayos que tenían los colores del arco iris. Así descubrió que al atravesar el prisma, un rayo de luz de un color se desvía, o refracta, de manera distinta a un rayo de otro color.
Otro fenómeno que estudió Newton fue el siguiente: cuando un haz de luz blanca incide sobre una burbuja de jabón se forman regiones oscuras intercaladas con regiones iluminadas. Esto mismo ocurre cuando un haz incide sobre un vidrio esférico que se coloca sobre una placa plana de vidrio, dejando una capa de aire muy delgada entre ellos. Se forma un patrón de luz como el mostrado en la figura 20. Newton hizo mediciones muy precisas en las que relacionó los anchos de las regiones, tanto iluminadas como oscuras, con la curvatura del vidrio. Encontró que para cada color se tenía una región iluminada de un ancho distinto. Newton llegó la conclusión de que, hablando en terminología moderna, había algo periódico en el comportamiento de la luz, pero no pudo determinar su naturaleza.

Figura 20. Anillos de Newton.
La difracción fue otro fenómeno que reforzó la idea de Newton de que había algo periódico en el comportamiento de la luz. Sin embargo, estas periodicidades no le hicieron cambiar su idea de que la luz estaba compuesta de corpúsculos, pues creyó que las periodicidades eran efectos secundarios causados por los distintos medios con los que la luz entraba en contacto, más que una propiedad intrínseca de la luz.
El prestigio inmenso de que gozó Newton hizo que los científicos de todo el siglo XVIII aceptaran el modelo corpuscular de la luz.
A principios del siglo XIX el físico inglés Thomas Young (1773- 1829) inició un trabajo de análisis y experimentación muy amplio con rayos de luz. Llegó a la conclusión de que todos los fenómenos luminosos conocidos se podían explicar basándose en la idea de que la luz estaba compuesta por ondas. Explicó que los anillos de Newton se formaban por la interferencia de ondas. Así, la banda oscura se debía a que en ese lugar dos ondas se componían destructivamente: una onda tenía un signo y otra tenía el signo inverso (Figura 21), mientras que en otro lugar ocurría que las dos ondas tenían los mismos signos, o sea, se componían constructivamente y daban lugar a una zona muy iluminada (Figura 22). Comprobó sus ideas haciendo diversos experimentos. Uno de los más notables fue la interferencia con dos rendijas. Este consiste en hacer incidir un haz de luz sobre una pantalla opaca (Figura 23) con una rendija. La luz que pasa por esta rendija se hace incidir sobre otra pantalla que tiene dos rendijas. En una tercera pantalla se forma un patrón como el mostrado en la figura 24, donde vemos bandas iluminadas alternándose con bandas oscuras. La explicación dada con respecto a las figuras 21 y 22 se aplica a este patrón observado.

Figura 21. Dos ondas fuera de fase interfieren destructivamente, creando zonas oscuras.

Figura 22. Dos ondas en fase interfieren constructivamente, creando zonas iluminadas.

Figura 23. Arreglo experimental de Young para estudiar la interferencia de la luz que pasa por la placa con dos rendijas.

Figura 24. Fotografía del patrón de interferencia obrenido por Young.
Las ideas de Young fueron atacadas fuertemente e ignoradas durante más de una década. Fueron retomadas en Francia por Augustin Fresnel (1 78 827), quien mejoró la concepción ondulatoria de la luz y pudo explicar el fenómeno de difracción.
En Francia se generó una gran controversia sobre la hipótesis de que la luz era una onda. El famoso científico S. D. Poisson, con su gran dominio de las matemáticas, hizo diversos cálculos basados en la teoría de Fresnel y concluyó que tenía una consecuencia que le pareció absurda. Según Poisson, si se hacía caso a esta teoría, en ciertas circunstancias bien determinadas, cuando se proyectara un haz de luz, en el centro de la sombra de un disco opaco circular, ¡debía haber una zona iluminada! (Figura 25). Decía que esto no era posible ya que iba contra el sentido común. Preocupado, Fresnel realizó un experimento en las mismas condiciones de los cálculos de Poisson y observó, para su sorpresa, que efectivamente en el centro de la sombra se formaba una región iluminada. Esto se muestra en la figura 26.

Figura 25. Poisson hizo ver que, según la teoría ondulatoria de la luz, en ciertas condiciones bien determinadas debería haber una zona iluminada en el centro de la sombra de un disco opaco.

Figura 26. Resultado del experimento de Fresnel en las condiciones propuestas por Poisson. En el centro de la sombra sí hay una región iluminada. Nótese que también hay una zona iluminada en el centro del alambre que sostiene el disco. En esta fotografía se percibe además el patrón de difracción en los bordes de la sombra.
Más tarde se descubrieron otros tipos de fenómenos luminosos, como la polarización y la dispersión, que solamente se pudieron explicar con base en la hipótesis ondulatoria. Hacia los años de la década de 1830 la hipótesis de Newton sobre la naturaleza corpuscular de la luz ya había sido prácticamente abandonada en favor de la ondulatoria.
Sin embargo, una cuestión crucial todavía quedaba sin resolver. Cuando hay una onda, algo es lo que ondula. En el ejemplo de la cuerda, ésta era la que ondulaba: en el caso del estanque, el agua es la que ondula, y cuando se propaga una onda sonora, el aire es el que ondula. La cuestión que no se pudo responder es: en el caso de la luz, ¿qué es lo que ondula? Como veremos en el próximo capítulo este problema fue resuelto, sin proponérselo, por Maxwell.
14. Maxwell. La síntesis del electromagnetismo. Otra vez la luz
El escocés James Clerk Maxwell (1831-1879), alumno de Faraday, fue posiblemente el más imaginativo de los físicos del siglo XIX. En 1873 publicó la monumental obra Tratado de electricidad y magnetismo, en la que presentó una síntesis de los conocimientos de este tema. Maxwell formuló matemáticamente la ley de Faraday. La síntesis fue hecha en términos de un conjunto de ecuaciones, conocidas como las ecuaciones de Maxwell, que contenían corno fondo físico los descubrimientos de Oersted, Ampere, Faraday y otros científicos que describimos en capítulos anteriores. El gran físico vienés Ludwig Boltzmann exclamó al leer las ecuaciones de Maxwell: "¿Fue un Dios quien trazó estos signos?", usando las palabras de Goethe.Maxwell estudió con mucho detenimiento los trabajos que sus predecesores habían hecho sobre electricidad y magnetismo. En particular analizó muy incisivamente la ley de Ampere y su formulación matemática, y llegó a la conclusión de que contenía una contradicción. Revisemos la ley de Ampere.
Consideremos una línea curva cerrada, arbitraria como la que se muestra en la figura 27 con la letra C. Ahora supóngase que una superficie como la S, que no es cerrada, tiene sus extremos precisamente en la línea C. Fuera de esta restricción la superficie S puede ser la que sea. La ley de Ampere se puede formular diciendo que el campo magnético a lo largo de la línea C depende solamente de la corriente eléctrica que cruce la superficie S.

Figura 27. La superficie S tiene sus extremos en la línea cerrada C.
Maxwell resolvió esta contradicción de la siguiente forma: sabía que la existencia de una corriente eléctrica a lo largo del cable se debe a que hay un voltaje entre los extremos, causado por la batería, que produce un campo eléctrico dentro del cable. Este campo hace que partículas cargadas se muevan y produzcan una corriente eléctrica. Por otro lado, cuando las placas del condensador tienen cargas eléctricas se genera entre las placas un campo eléctrico. En el intervalo en que se está cargando el condensador, el valor de las cargas en sus placas está cambiando con el tiempo, con la consecuente variación del campo eléctrico. Una vez que el condensador se ha cargado a su máximo valor y las cargas en sus placas ya no cambian, entonces el campo entre ellas tampoco cambia y adquiere un valor constante con el tiempo. Maxwell formuló la siguiente hipótesis: si entre las placas del condensador el campo eléctrico varía con el tiempo, esta variación es equivalente a la existencia de una corriente eléctrica, a la cual llamó de desplazamiento. De esta forma, durante el intervalo en que se cargan las placas del condensador, a la superficie S' de la figura 28 sí la atraviesa una corriente, la de desplazamiento, y por tanto sí se genera un campo magnético a lo largo de la línea C. Basándose en su hipótesis, y a partir de un detallado análisis matemático, Maxwell encontró que el campo magnético que se obtiene al usar S es el mismo que resulta cuando se emplea la superficie S'; por lo que la contradicción desaparece.

Figura 28. La superficie S, para obtener el campo magnético que crea el alambre conductor, cruza el alambre. La superficie S' no cruza el alambre conductor sino que se cierra dentro del condensador.
La hipótesis hecha por Maxwell tuvo consecuencias trascendentales. En primer lugar, se sabe de los trabajos de Faraday que si un campo magnético cambia con el tiempo se induce un campo eléctrico. Además de la hipótesis de la existencia de la corriente de desplazamiento se desprende que si un campo eléctrico varía con el tiempo entonces se induce un campo magnético. De esta manera, los fenómenos eléctricos y magnéticos adquieren una bella simetría. Por lo tanto, si de alguna manera en una región del espacio llega a existir un campo, digamos eléctrico, que varíe con el tiempo, por fuerza tiene que existir simultáneamente el otro campo, en este caso el magnético. Los dos campos deben existir al mismo tiempo, es decir, debe existir el campo electromagnético. No puede existir un campo que varíe en el tiempo sin la existencia del otro campo. En el caso estacionario, o sea que no depende del tiempo, sí puede existir un campo sin que exista el otro. Por ejemplo, el campo magnético producido por un imán es constante en el tiempo y no lleva un campo eléctrico.
En segundo lugar, a partir de sus ecuaciones, que incluyen las leyes de Ampére y de Faraday, encontró que cada uno de los dos campos, tanto el eléctrico como el magnético, debe satisfacer una ecuación que ¡resultó tener la misma forma matemática que la ecuación de onda!, o sea precisamente el tipo de ecuaciones que describen la propagación de ondas mecánicas como la que se propaga en un cable, en un estanque, en el sonido, etc. (véase el capítulo XI). Esto significa que si en un instante el campo eléctrico tiene un valor determinado en un punto del espacio, en otro instante posterior, en otro punto del espacio, el campo eléctrico adquirirá el mismo valor. Lo mismo ocurre con el campo magnético. Por consiguiente, los campos eléctrico y magnético se propagan en el espacio, y como no pueden existir separadamente, el campo electromagnético es el que realmente se propaga. Maxwell también encontró que sus ecuaciones predecían el valor de la velocidad con la que se propaga el campo electromagnético: ¡resultó ser igual a la velocidad de la luz! Este resultado se obtiene de una combinación de valores de cantidades de origen eléctrico y magnético. Para Maxwell esto no podía ser una casualidad y propuso que la onda electromagnética era precisamente una onda de luz, o como él mismo escribió: "Esta velocidad es tan similar a la de la luz, que parece que tenemos fuertes razones para concluir que la luz es una perturbación electromagnética en forma de ondas que se propagan a través del campo electromagnético de acuerdo con las leyes del electromagnetismo." De esta manera, Maxwell contestó la cuestión pendiente desde tiempos de Young y Fresnel (véase el capítulo XIII) sobre qué es lo que ondula en una onda de luz: es un campo electromagnético.
Sin embargo, una vez publicado su trabajo, la comunidad científica lo recibió con frialdad. Esto se debió, en primer lugar, a que su teoría tenía una presentación matemática muy complicada que poca gente de su época pudo entender. En segundo lugar, la formulación en términos de campos representó un cambio revolucionario de las interpretaciones que prevalecían entonces en términos de acción a distancia de la teoría de Newton. Además, la noción de corriente de desplazamiento no se entendió bien. Finalmente, no había confirmación experimental ni de la existencia de la corriente de desplazamiento ni de las ondas electromagnéticas. Por lo tanto, no era de extrañar que pocos físicos entendieran el fondo profundo y la importancia de la formulación teórica de Maxwell. Para esto se hubo que esperar varios años; fue ocho años después de la muerte de Maxwell que se realizó la primera confirmación experimental de la existencia de ondas electromagnéticas, como veremos en el siguiente capítulo.
15. Hertz. Ondas electromagnéticas
Heinrich Hertz (1857-1894), profesor de la Escuela Politécnica de Karlsruhe, en Alemania, se interesó en la teoría electromagnética propuesta por Maxwell. La reformuló matemáticamente logrando que las ecuaciones fueran más sencillas, y simétricas. Desde 1884 Hertz pensó en la manera de generar y detectar en un laboratorio las ondas electromagnéticas que Maxwell había predicho. Después de mucho trabajo y de experiencias sin éxito, en 1887 construyó un dispositivo con el que logró su fin. El experimento que realizó fue a la vez genial y sencillo.Utilizó un carrete o bobina de Ruhmkorff; que es un transformador que produce un voltaje muy alto. En seguida conectó el carrete a un dispositivo formado por dos varillas de cobre (Figura 29); en uno de los extremos de cada varilla añadió una esfera grande y en el otro una pequeña. Cada una de las esferas grandes servía como condensador para almacenar carga eléctrica. Una vez hecha la conexión, en cierto instante el voltaje entre las esferas chicas era lo suficientemente grande para que saltara una chispa entre ellas. Hertz razonó que al saltar estas chispas se produciría un campo eléctrico variable en la región vecina a las esferas chicas, que según Maxwell debería inducir un campo magnético, también variable. Estos campos serían una perturbación que se debería propagar, es decir, debería producirse una onda electromagnética. De esta forma, Hertz construyó un radiador de ondas electromagnéticas. Efectivamente, al conectar el carrete de Ruhmkorff a su dispositivo; Hertz observó que saltaban chispas entre las esferas chicas de manera intermitente. Así logró construir un generador de ondas electromagnéticas.
El siguiente paso fue construir un detector de las ondas electromagnéticas que supuso eran emitidas por su dispositivo. Para este fin construyó varios detectores. Uno de ellos era simplemente otro dispositivo similar al radiador; otro tipo fue una espira metálica en forma circular que tenía en sus extremos dos esferas, también conductoras, separadas una pequeña distancia. El argumento de Hertz fue el siguiente: si en efecto existen ondas electromagnéticas, al ser emitidas por el circuito se propagarán en todo el espacio circundante. Al llegar las ondas al detector, se inducirá en él un campo eléctrico (además del magnético) y por tanto, en las varillas conductoras o en la espira se inducirá una corriente eléctrica. Esto hará que a través de sus extremos se induzca un voltaje, que si llega a tener un valor suficientemente grande, dará lugar a que salte una chispa entre las esferas. Mientras mayor sea el valor de la amplitud de la corriente eléctrica en el circuito emisor, mayor será la magnitud del campo eléctrico inducido y por lo tanto, mayor será la diferencia de potencial entre los extremos de la espira del receptor. Esto es precisamente lo que encontró Hertz en su experimento. Con su detector situado a una distancia de alrededor de 30 m del radiador, observó que saltaba una chispa entre las esferas del detector, con lo que demostró que las ondas electromagnéticas ¡efectivamente existen! Más tarde, el mismo Hertz pudo demostrar que estas ondas se reflejan, se refractan y se comportan como las ondas de luz (véase el capítulo XIV), hecho considerado por la teoría de Maxwell. Así lo reportó Hertz en 1888: "Es fascinante que los procesos que investigué representan, en una escala un millón de veces más amplia, los mismos fenómenos que se producen en la vecindad de un espejo de Fresnel, o entre las delgadas láminas para exhibir los anillos de Newton." Con esto, Hertz se refería a que la longitud de onda de las ondas que su aparato produjo eran un millón de veces la longitud de onda de la luz visible.

Figura 29. Esquema del aparato generador de ondas electromagnéticas construido por Hertz.
v = f · λ = (3 · 107 Hz) · (10 m) = 3 · 108 m/s = 300 000 km/s
igual que el valor predicho por Maxwell, o sea, la velocidad de la luz.De esta manera se realizó en forma brillante la primera demostración experimental de la existencia de ondas electromagnéticas, generadas para una frecuencia (y por tanto, longitud de onda) particular. Recordemos que como hay una relación entre la frecuencia y la longitud de onda dada por la ecuación antes mencionada, si se conoce una se puede obtener la otra.
No había motivo por el cual no se pudiesen generar ondas con diferentes frecuencias, desde las más bajas hasta las más altas. Al conjunto de posibles valores de la frecuencia (o de la longitud de onda) se le llama el espectro electromagnético. Posteriormente, con diferentes tipos de técnicas electrónicas ha sido posible generar, detectar y analizar casi todo el dominio de valores de las ondas electromagnéticas. En la figura 30 se muestra, esquemáticamente, un diagrama del espectro electromagnético, con los nombres que reciben los diferentes dominios. Se presentan tanto los valores de la frecuencia como de su longitud de onda.

Figura 30. El espectro de ondas electromagnéticas Dentro del espectro electromagnético hay una región, entre las longitudes de onda de 4 x 10-5 cm hasta 7 x 10-5 cm, que constituye la luz visible (Figura 31). La retina humana es sensible a ondas electromagnéticas dentro de este dominio. Al llegar ondas de estas longitudes de onda a nuestros ojos nos dan la sensación de luz. El ojo humano no ve las ondas electromagnéticas que están fuera de este dominio.

Figura 31. El espectro de la luz visible. A cada color le corresponde una longitud de onda.
Nótese que las longitudes de onda de la radiación de la región visible son extremadamente pequeñas. Así, la de uno de los amarillos arriba mencionados es de 5.7 x 10-5 cm = 0.000057 cm. En el caso del experimento de Hertz, la longitud de onda fue de 10 m, que está fuera de la región visible, por lo que él no pudo verla con sus ojos. La pudo detectar con el receptor que ya describimos.
El experimento de Hertz fue muy bien recibido y dio lugar a que se aceptara rápidamente el trabajo de Maxwell. La teoría se aplicó a una gran variedad de fenómenos, todos con gran éxito. De esta forma, a principios del siglo XX la teoría electromagnética de Maxwell ocupó una posición equivalente a la de la mecánica de Newton, como una parte de las leyes fundamentales de la física.
Además, con base en la teoría de Maxwell se iniciaron posteriormente aplicaciones prácticas espectaculares, como las comunicaciones inalámbricas, campo que se desarrolló a partir de fines del siglo pasado y que ha logrado extraordinarios avances y aplicaciones en nuestro siglo, convirtiéndose en una de las características de la civilización contemporánea. En los siguientes capítulos hablaremos de estos logros.
16. Heaviside. Un poco de excentrismo. La lucha de la "Teoría vs. la "Práctica"
Oliver Heaviside (1850-1925) nació en Londres, Inglaterra, y adquirió en su temprana juventud gran experiencia práctica como operador de telégrafo; sin embargo, nunca recibió una educación formal. A pesar de ello, después de abandonar la escuela a la edad de 16 años emprendió una labor de autoeducación en ciencia y matemáticas, con la cual adquirió puntos de vista muy personales sobre cómo se debía proceder en el campo de las matemáticas. En 1872 y 1873 publicó dos trabajos sobre electricidad; en el segundo de ellos analizó un circuito eléctrico muy importante, el llamado puente de Wheatstone (por cierto, pariente suyo), que mereció ser citado por Maxwell en la segunda edición de su famoso libro Tratado de electricidad y magnetismo.En 1874 Heaviside conoció esta obra de Maxwell, y lo impresionó de tal forma que decidió renunciar a su trabajo y dedicarse completamente a su estudio. Esto fue algo notable para un joven de 24 años sin medios para vivir; se retiró y nunca más buscó trabajo, su familia lo sostuvo. Heaviside se dio cuenta de que a pesar de las pesadas matemáticas con que Maxwell presentó su teoría, había una notable simplicidad física en los fenómenos electromagnéticos expuestos. Aun antes del espectacular experimento de Hertz, que demostró la existencia real de las ondas electromagnéticas predichas por Maxwell, Heaviside nunca dudó de su existencia, ya que estaba convencido de que la teoría electromagnética era "obviamente verdadera", ya que su tratamiento matemático era sólido. Consideraba a Maxwell un "genio nato". En 1918 Heaviside escribió sobre sus impresiones iniciales del Tratado de Maxwell: "Percibí que era grandioso, muy grandioso, extraordinariamente grandioso, con posibilidades prodigiosas en su poder. Decidí dominar el libro y empecé a trabajar[...] Me llevó varios años entender todo lo que pude haber entendido. Entonces dejé a Maxwell a un lado y seguí mi propio camino. Y progresé mucho más rápidamente." En primer lugar, con el concepto de vector y las formas de manejarlo, Heaviside simplificó enormemente las ecuaciones de Maxwell. En Estados Unidos, John Willard Gibbs también empleó el concepto de vector, sin saber del trabajo de Heaviside. Las matemáticas que desarrolló éste se llaman hoy en día cálculo operacional. Por cierto, un dato curioso es que su trabajo sobre este tema no fue aceptado para su publicación en la revista de la Royal Institution por su "falta de rigor matemático". Heaviside replicó: "Bien, ¿y qué? ¿Dejaré de cenar porque no entiendo con todo detalle el proceso de la digestión?" Heaviside se dio cuenta de que tanto el campo magnético como el eléctrico se pueden describir como vectores y expresó las ecuaciones de Maxwell en términos de estos dos vectores. En su trabajo original presentó 20 ecuaciones en 20 variables. Con la reformulación de Heaviside, el panorama se iluminó como por encanto y las ecuaciones de Maxwell adquirieron sencillez, simetría y belleza notables. Como se mencionó en el capítulo XV, Hertz también simplificó las ecuaciones de Maxwell, y lo hizo casi al mismo tiempo que Heaviside. Hertz reconoció en su libro sobre electricidad: "El señor Heaviside tiene la prioridad." En los libros de texto se incorporaron los vectores en la teoría de Maxwell, y es así como se trabaja con esta teoría hoy en día. En la actualidad, los estudiantes piensan que los vectores son obvios, sin embargo, hemos de mencionar que durante varios años hubo una gran disputa científica entre lleaviside y Gibbs por un lado, y el físico escocés Peter Guthrie Tait por el otro, sobre que concepto utilizar. Tait peleó por el uso de los cuaterniones y hubo agrias discusiones publicadas en la revista inglesa Nature. Al final, los vectores ganaron de manera tan contundente que en los libros de texto se dejó de hacer referencia a sus creadores. Asimismo, se usaron los vectores en otros campos de la física, como la mecánica. En la actualidad son un instrumento matemático cotidiano en el desarrollo de la física, la ingeniería, la química y las matemáticas.
Heaviside entró en otra fuerte disputa con el más formidable de sus enemigos, William H. Preece, quien era el experto técnico de la Oficina Postal Británica. Preece se proclama a si mismo como "un hombre práctico" sin ningún respeto para los teóricos, quienes, según él, enmascaraban su trabajo en las matemáticas. Hemos de mencionar que la Oficina Postal manejaba (y lo sigue haciendo) todo el tráfico telegráfico y telefónico en la Gran Bretaña. Preece tenía ideas fijas sobre cómo construir un circuito de comunicación a larga distancia. Asimismo, Heaviside tenía sus ideas sobre el asunto, y eran completamente opuestas a las de Preece. Se suscitó una polémica por escrito en la que intercambiaron con mucha frecuencia sarcasmos y se llegó a extremos de violentos ataques.
Puede parecer curioso que hacia 1880 se generara un violento debate sobre los principios eléctricos fundamentales, ya que hacia 1870 existía tanto en Gran Bretaña como en varios países una red bastante extensa de líneas telegráficas, y en la década de 1880 se inició la instalación de los cables telefónicos. Las telecomunicaciones habían adquirido una capacidad impresionante, aun si las consideramos desde la perspectiva de nuestros días. Hacia 1850 se inició la colocación del cable telegráfico bajo el Océano Atlántico, entre Europa y América, y fue una obra de extraordinarias proporciones. Gran parte de esta infraestructura se desarrolló en forma "práctica", es decir, casi sin sustento teórico. El único análisis teórico fue hecho por el extraordinario físico inglés William Thomson (posteriormente lord Kelvin), quien estudió el flujo de electricidad a lo largo de cables de longitud muy grande. En este caso los cables presentan dos efectos: uno capacitivo (se comportan como condensadores) y otro inductivo (se comportan como bobinas). Sin embargo, para poder lograr sus desarrollos Kelvin despreció los efectos inductivos. Esta restricción implica que la frecuencia de las corrientes debería ser muy baja. Esta teoría funcionó muy bien para el caso de la telegrafía que entonces se usaba, ya que se transmitían unas cuantas palabras por minuto. El cable interoceánico que se colocó tenía la característica, justificada en ese entonces, de comportarse en forma capacitiva.
Kelvin estaba consciente de las limitaciones de su teoría, pero no se preocupó mucho ya que el tipo de transmisión sólo necesitaba bajas frecuencias. El éxito que tuvo Kelvin hizo que su idea se adoptara casi como dogma entre la gente que no conocía los fundamentos teóricos y las suposiciones restrictivas de Kelvin. Sin embargo, al transcurrir el tiempo se presentaron graves problemas cuando surgieron otras necesidades, como la telegrafía multiplex, en la que un solo cable transporta varios mensajes simultáneamente, o la transmisión de mensajes hablados por teléfono, que implica frecuencias altas. Al transmitir mensajes que contenían altas frecuencias las señales se distorsionaban, y una parte muy importante de la distorsión se debía a efectos inductivos. Por ejemplo, si se transmite una señal que contenga frecuencia de muy alto valor por un circuito muy largo, esencialmente capacitivo, la señal se va degradando y el receptor no capta el mensaje original.
Preece no llegó a entender estos fenómenos. Para él la inducción magnética era mala y opinaba que con un diseño apropiado de los circuitos se podría eliminar. Además, no entendía por qué Heaviside quería aumentar el alcance del teléfono, y declaró en una ocasión: "[...]tengo un aparato telefónico en mi oficina, pero más que nada como decoración porque no quiero usarlo. Si deseo enviar un mensaje a otra habitación utilizó un timbre o un mensajero." En un trabajo que publicó Preece en 1887 pretendió obtener una ecuación para calcular la máxima distancia que debería tener un circuito telefónico para que un mensaje transmitido no experimentara distorsión. Se considera que este trabajo impidió el desarrollo de las telecomunicaciones inglesas por 20 años. La ecuación que obtuvo Preece estaba basada en un resultado de Kelvin, que era solamente válido para circuitos sin inducción magnética, hecho que Preece ignoró. Por supuesto que Kelvin había expuesto claramente esta restricción en su resultado. En la práctica, la ecuación de Preece no podía dar cuenta de lo que verdaderamente ocurría, ya que en los mensajes telefónicos, que involucran señales de altas frecuencias, no se pueden despreciar los efectos de inducción magnética del circuito.
Heaviside atacó fuertemente el trabajo de Preece en un artículo que apareció tres meses después, el 3 de junio de 1887, en la revista TheElectrician. En él Heaviside afirmó que una señal de alta frecuencia podía transmitirse sin distorsión si se aumentaba la inducción magnética a lo largo del cable transmisor. Como además Heaviside tildó a Preece de "cienticulista", la conclusión enfureció doblemente a Preece. Heaviside propuso que se añadieran bobinas a lo largo del cable, que proveería la inducción magnética necesaria, sin aumentar mucho su resistencia, para así evitar la distorsión.
Heaviside planteó a un hermano suyo, que trabajaba en ese entonces en la Oficina Postal Británica, la posibilidad de construir estas bobinas e incluirlas en sus cableados. Sin embargo, después de enterarse de que Preece tenía poder de veto en las proposiciones técnicas hechas a la Oficina, olvidó el asunto. En 1899, más de una década después de la aparición del trabajo de Heaviside, en Estados Unidos Michael I. Pupin, profesor de la Universidad de Columbia, Nueva York, "redescubrió" lo que ya había descubierto Heaviside y patentó la idea. (Irónicamente, Pupin se basó en la formulación vectorial que había hecho Heaviside de las ecuaciones de Maxwell.) Casi inmediatamente después George A. Campbell, empleado de la American BeIl Telephone, también en Estados Unidos, construyó la primera bobina de inducción y la utilizó en cables de telefonía, con lo cual consiguió que las señales de alta frecuencia no se distorsionaran. Fue así como se lograron desarrollar las comunicaciones telegráficas y telefónicas de larga distancia en Estados Unidos. La bobina de inducción hizo posible que, por ejemplo, en 1913 se comunicaran telefónicamente por medio de cables subterráneos las ciudades de Boston y Washington, vía Nueva York, a lo largo de una distancia aproximada de 3 500 kilómetros.
Debido a la influencia de Preece, Inglaterra no desarrolló su sistema de telecomunicaciones sino hasta alrededor de 1910. Heaviside no recibió ni remuneración ni reconocimiento en esta aplicación. Para finalizar la historia hemos de mencionar que los ingleses no tuvieron más remedio que utilizar las bobinas mencionadas, pero como la idea estaba patentada en EUA tuvieron que pagar las regalías correspondientes.
Heaviside fue una de las primeras personas que entendió la importancia del conocimiento de la teoría electromagnética. La disputa que se dio entre Preece y Heaviside, la "práctica contra la teoría", nos ilustra lo erróneo y costoso de este tipo de enfrentamientos.
Además, Heaviside tuvo muchas dificultades para que sus trabajos fueran aceptados en las revistas más prestigiadas de Inglaterra, debido a la forma poco ortodoxa en que resolvía los problemas. Por lo tanto, en 1892 publicó sus trabajos en dos volúmenes, con el título Teoría electromagnética. En esta obra trató gran número de problemas de aplicación práctica, como la telegrafía multiplex, la inducción electromagnética entre cables paralelos, la resistencia e inducción a alta frecuencia de cables coaxiales, etcétera.
Para finalizar mencionaremos que en 1891 Heaviside fue nombrado miembro de la Royal Institution, y en 1896, a instancia de varios prominentes científicos británicos, recibió un estipendio estatal. En 1908 se mudó a Torquay, en la costa sur de Inglaterra, donde trabajó en diferentes problemas, como el de la edad de la Tierra, la ionósfera como medio para las telecomunicaciones, etc. Allá vivió aisladamente y de manera muy extravagante. En febrero de 1925 murió en esa localidad.
17. Emisión de ondas electromagnéticas. Antenas
Una vez que Maxwell predijo la existencia de ondas electromagnéticas se presentó la importante cuestión de cómo generarlas. Hertz fue el primero que estudió este problema y lo resolvió. Para ello desarrolló un formalismo matemático con el cual pudo encontrar las características de estas ondas a partir de las ecuaciones de Maxwell. De este trabajo se desprendió la predicción de que si una partícula eléctricamente cargada se mueve en forma acelerada, entonces emite ondas electromagnéticas. Así, por ejemplo, en el experimento de Hertz la chispa que salta de una esfera a la otra (Figura 29) está compuesta de electrones acelerados que emiten ondas electromagnéticas.Cuando una corriente eléctrica se establece a lo largo de un cable se están moviendo partículas cargadas. Sin embargo, no siempre ocurre que estas partículas se aceleren; por ejemplo, si la corriente es de valor constante como la corriente directa que se establece cuando la fuente es una batería conectada a un foco de una linterna, entonces las partículas que dan lugar a la corriente eléctrica se mueven con velocidad constante y por tanto no se están acelerando. Una partícula experimenta una aceleración cuando su velocidad cambia al transcurrir el tiempo. En consecuencia, solamente en una corriente eléctrica que varía al transcurrir el tiempo, las partículas se aceleran. Esto sucede, por ejemplo, con la corriente alterna.
Supóngase que una varilla metálica se conecta a una fuente de corriente alterna. Los electrones que circulan por la varilla llegarán a su extremo y se regresarán; por consiguiente, su velocidad cambia y hace que se aceleren, y en consecuencia emiten ondas electromagnéticas. Esta onda así emitida tendrá la misma frecuencia de los electrones que oscilan en la varilla.
El elemento que produce las ondas se llama antena emisora. En el caso anterior la antena es la varilla.
Además de varillas las antenas pueden tener otras configuraciones. Las características que tengan las ondas emitidas dependerán de la forma geométrica y de la longitud de la antena. Así, en el caso de una varilla, las ondas emitidas tienen la misma frecuencia que la corriente que las induce. A esta frecuencia f le corresponde un longitud de onda l dada por (u /f), siendo v la velocidad de la luz ( ecuación antes mencionada). Por otro lado, la potencia de la onda emitida depende tanto de la longitud de onda l como de la longitud L de la varilla. La potencia que emite adquiere un valor máximo cuando la longitud de la varilla es igual a la mitad de la longitud de onda. En consecuencia, conviene construir la antena con esta longitud. Este hecho es una manifestación del fenómeno de resonancia.
La antena no emite la misma potencia en todas las direcciones; a lo largo de la antena (Figura 32) no hay emisión. En una dirección perpendicular a la varilla se alcanza la potencia máxima; de hecho, alrededor de la dirección perpendicular se forma un cono dentro del cual la emisión es apreciable; en direcciones fuera del cono prácticamente no hay radiación. A este tipo de antenas se les llama direccionales.

Figura 32. Una antena de varilla emite ondas electromagnéticas direccionalmente; la máxima potencia se envía en dirección perpendicular a la varilla.
La anchura del cono es una medida del ancho del haz que se emite. Mientras más pequeño sea el haz, más direccional será la emisión de la antena. El ancho del haz depende de la frecuencia de la onda: mientras menor sea ésta, menor será el ancho del haz.
Cuando a una varilla le llega una onda electromagnética, ésta induce en la varilla una corriente eléctrica que tiene la misma frecuencia que la de la onda incidente. Cualquier dispositivo, como la varilla, que transforma una onda electromagnética en una corriente eléctrica se llama antena receptora.
Las antenas, ya sean receptoras o emisoras, funcionan con las mismas características. Así, las propiedades direccionales de la recepción en una antena receptora son las mismas que si funcionara como emisora. Además, una antena receptora absorbe la máxima potencia cuando su longitud es igual a la mitad de la longitud de onda que tiene la onda incidente.
El tipo de antena que se use, ya sea para emisión o recepción, depende de la aplicación que se quiera hacer. Por ejemplo, en el caso de una estación de radio o de televisión se requiere que pueda llegar a receptores situados en todas las direcciones con respecto a la antena; además, la señal emitida debe llegar lo más lejos posible. En consecuencia, una antena emisora de una estación debe poder manejar potencias altas y radiarlas en todas direcciones. En contraste, la antena receptora maneja potencias muy pequeñas, ya que está relativamente lejos de la emisión. Además, la antena receptora debe ser muy direccional, pues debe captar la señal de la emisión que viene de una dirección determinada. Por esto, las antenas emisoras tienen formas geométricas diferentes de las antenas receptoras.
18. Inicio de las comunicaciones inalámbricas. Marconi
Una vez que Hertz demostró que en la naturaleza existen realmente las ondas electromagnéticas que Maxwell había anticipado, se inició una serie de estudios teóricos y experimentales para encontrar sus diversas propiedades. En la parte teórica fue necesario desarrollar una serie de métodos matemáticos para poder extraer las propiedades de las ecuaciones de Maxwell. Las predicciones teóricas que se obtuvieron de esta manera fueron consistentemente verificadas en el laboratorio.En Estados Unidos Nikola Tesla logró hacer varias demostraciones usando descargas de alto voltaje y de alta frecuencia, para lo cual inventó una bobina, llamada bobina de Tesla, que posteriormente fue de utilidad para las comunicaciones inalámbricas.
En 1892 William Crookes publicó un trabajo en la revista inglesa Fortnightly Review, en el que proponía las bases para utilizar ondas electromagnéticas como medio para transmitir señales telegráficas a través del espacio, es decir, telegrafía sin hilos o inalámbrica.
Fue en 1894 cuando el físico inglés Oliver Lodge, basándose en el trabajo de Crookes, desarrolló el primer sistema de comunicación inalámbrica. Con los aparatos que construyó demostró la recepción de una señal a través de una distancia aproximada de 100 m, para lo cual usó un circuito sintonizador. Avances posteriores le permitieron ampliar la distancia a un kilómetro.
En 1894 el ingeniero italiano Guglielmo Marconi (1874-1937) leyó la biografía de Hertz e inmediatamente empezó a trabajar en la idea de usar las ondas electromagnéticas para transmitir señales. Construyó los aparatos descritos por Hertz, a los cuales les añadió un cohesor, que es un tubo de vidrio que contiene limaduras de hierro, y conectó tanto el transmisor como el receptor a una antena. Una señal eléctrica que pase por el cohesor hace que las limaduras se unan durante el intervalo que dura la señal; de esta manera este dispositivo detecta ondas electromagnéticas. En 1895 Marconi probó sus aparatos, con los cuales logró enviar señales hasta distancias de un par de kilómetros.
Marconi ofreció sus inventos al gobierno italiano, pero como la respuesta tardó en llegar decidió ir a Inglaterra, donde en 1896 obtuvo la primera de sus muchas patentes.
Marconi afirmaba que sería posible enviar señales a distancias de 150 km. Sin embargo, muchos científicos rechazaron su pretensión con el argumento de que, si las señales se propagaban en línea recta, entonces se perderían en el espacio antes de poder seguir la curvatura de la Tierra.
Marconi realizó muchos experimentos, y fue aumentando poco a poco la distancia de la transmisión. Descubrió que si conectaba a tierra uno de los extremos del transmisor, y el otro extremo a una varilla larga, entonces las ondas parecían ser guiadas alrededor de la superficie terrestre; de esta manera logró transmisiones a través de distancias increíbles para su época. En 1898 transmitió señales a través del Canal de la Mancha y en 1901 logró una transmisión a través del Océano Atlántico: de Polhu en Cornualles, Inglaterra, hasta San Juan de Terranova, Canadá.
El transmisor utilizado por Marconi fue muy sencillo, pues consistía en un transformador con un extremo de su secundario conectado a una varilla o antena y el otro a tierra. En la figura 33 vemos un esquema del circuito usado. El primario del transformador forma parte del circuito. Al cerrar el interruptor la corriente que circula por él varía con el tiempo, por lo que el primario del transformador induce en el secundario una corriente. La relación de vueltas en el transformador es tal que en el secundario se genera un alto voltaje, dando lugar a que la antena radie ondas electromagnéticas. Al llegar estas ondas al receptor (Figura 33) son captadas por la antena, por lo que circula una corriente variable por el primario del transformador del receptor, que a su vez induce una corriente en el secundario. Pero este secundario forma parte de un circuito que contiene una bocina que transforma la corriente en una señal sonora. Así se pueden transmitir señales codificadas, por ejemplo por medio de la convención de Morse, que fue lo que hizo Marconi.

Figura 33. Esquema de los circuitos emisor y receptor utilizados por Marconi.
El 2 de enero de 1909 se hundió el barco inglés Republic. Afortunadamente contaba con un aparato de Marconi, por lo que pudo solicitar auxilio, y se salvó casi toda la tripulación. En los años sucesivos los barcos, en particular los de guerra, fueron provistos de aparatos de radiotelegrafía. Así durante sus travesías los barcos podían recibir noticias de tierra, y en 1904, por ejemplo, los trasatlánticos imprimían periódicos a bordo con noticias recibidas de tierra firme.
El éxito obtenido por Marconi en sus transmisiones a larga distancia hizo que varios investigadores se pusieran a pensar cuál era el motivo de que las ondas electromagnéticas siguieran la curvatura de la Tierra. Fueron A. E. Kenelly y nuestro conocido Heaviside quienes, en forma independiente, desarrollaron una teoría en la que proponían que en la atmósfera había una capa formada por partículas eléctricamente cargadas que reflejaba las ondas electromagnéticas. Al enviar una señal de A (Figura 34) la onda se reflejaba y regresaba a la superficie en el punto U; la Tierra reflejaba nuevamente esta señal a la ionósfera y se volvía a repetir esta sucesión hasta que la señal llegaba a su destino en R. Hemos de mencionar que ya en 1882 Balfour Stewart, en un contexto completamente distinto había propuesto la existencia de la ionósfera para poder explicar los cambios sistemáticos que ocurrían en el campo magnético terrestre. Fue hasta 1925 cuando se empezaron a medir directamente las características de la ionósfera. Se encontró que esta capa está situada entre 80 y 300 km de altura sobre la superficie terrestre y la componen electrones. La ionósfera controla las comunicaciones por medio de ondas electromagnéticas, y establece los límites, tanto superior como inferior, al valor de las frecuencias que se pueden usar; las ondas deben tener longitudes de onda relativamente pequeñas (entre 1 y 10 m). Estas comunicaciones ocurren en la llamada banda de onda corta.

Figura 34. La ionosfera permite que las ondas de radio puedan llegar de un lugar a otro sobre la tierra.
A pesar de lo maravilloso que resultó esta aplicación del electromagnetismo, lo único que se podía transmitir era un serie de zumbidos de duración variable; es decir, telegrafía. No era posible enviar palabras o música, o sea que no era todavía telefonía. Para lograr esto último hubo que esperar al inventó de los bulbos o válvulas termiónicas, que describiremos en el capítulo XX.
Marconi obtuvo el Premio Nobel de Física en 1909 y murió en 1937, después de haber recibido muchos honores.
19. Un alto en el camino (1830-1890)
Hemos relatado el desarrollo de la electricidad y el magnetismo durante el siglo XIX. El aspecto práctico de este desarrollo se mantuvo continuamente en interacción con el avance de la teoría. Es a partir de 1830 que la electricidad empezó a intervenir directamente en la vida económica de algunos países, principalmente Gran Bretaña y Francia, primero en las comunicaciones, luego en la galvanoplastia, en la iluminación, en la fuerza motriz y finalmente en el nuevo método de comunicaciones sin hilos. Por primera vez en la historia, como consecuencia del estudio científico de un campo del conocimiento, la electricidad y el magnetismo, se creó una industria independiente de las tradicionales.Sin embargo, a pesar de que hubo notables éxitos como ya relatamos en capítulos anteriores, el proceso real de industrialización eléctrica fue bastante lento. La introducción de cada idea nueva planteó siempre grandes dificultades prácticas que tuvieron que ser resueltas antes de que la idea pudiera producir un beneficio económico. Tanto los científicos académicos como los inventores independientes siempre tuvieron, en general, que pasar estrecheces económicas para poder financiar la realización de sus ideas. Les resultó más eficaz producir algún artículo que se pudiera vender con suficiente rapidez y así financiar los nuevos desarrollos. Muy pocos lograron superar todas las dificultades inherentes a la introducción de alguna aplicación importante. La mayoría quebró o se desanimó antes de alcanzar su objetivo y fueron muchos los fracasos iniciales.
En el campo de la electricidad y el magnetismo podemos distinguir cinco etapas principales en el proceso en que un descubrimiento científico se convierte en producto de una industria lucrativa. Cada una de estas etapas se relaciona con una determinada aplicación práctica de los nuevos principios eléctricos. Estas aplicaciones fueron el telégrafo con alambres, la galvanoplastia, la luz de arco, la lámpara de filamento y finalmente el telégrafo inalámbrico.
El telégrafo con alambres, como necesita poca corriente eléctrica, condujo al perfeccionamiento de las pilas eléctricas y de los instrumentos receptores, así como al desarrollo de la teoría eléctrica.
La galvanoplastia requirió corrientes eléctricas más intensas, lo cual se resolvió al aplicar el descubrimiento de Faraday. Así surgieron los primeros generadores de electricidad. En estas máquinas se usaron únicamente imanes permanentes, por lo que eran poco eficaces. La industria de la galvanoplastia no fomentó la mejora de los generadores eléctricos pues su demanda no fue muy amplia.
La luz de arco amplió el campo de la industria de la iluminación y planteó la necesidad de construir generadores más eficientes. Esto se logró con la utilización del electroimán, que permitió construir generadores que produjeron cantidades importantes de corriente eléctrica a costos relativamente bajos. Como consecuencia se multiplicaron sus usos, principalmente domésticos y comerciales.
La invención de la lámpara de filamento, provista primero de carbón y luego de metal en un bulbo al vacío, trajo consigo el difícil problema técnico de construir una lámpara barata y duradera. Para que las lámparas se pudieran producir comercialmente se requirió de sistemas de bombeo al vacío muy eficientes, que se consiguieron en el curso del siglo. Sin embargo, el punto clave del éxito de este nuevo tipo de iluminación fue la distribución de la electricidad. Esto se logró con la estación eléctrica de Edison en 1881, con su red de líneas que distribuían electricidad en diversas partes de una ciudad, como ya se hacía con el gas y el agua.
El intervalo de cincuenta años que pasó entre el descubrimiento de Faraday y la aplicación de Edison no se debió a motivos científicos o técnicos, sino a causas esencialmente económicas y sociales. A mediados del siglo XIX no fue posible establecer la explotación organizada y lucrativa de una idea científica, ya que este concepto era novedoso. Pero una vez que se alcanzó la etapa de la luz eléctrica y de la fuerza motriz, la velocidad con que se propagó fue mucho mayor que la del caso de las máquinas de vapor a fines del siglo XVIII y principios del XIX.
La última etapa, la del telégrafo inalámbrico, fue una aplicación directa de la predicción de Maxwell de la existencia de ondas electromagnéticas y la subsecuente verificación experimental hecha por Hertz.
Todas las aplicaciones de la electricidad y del magnetismo que hemos mencionado fueron elaboraciones de los experimentos originales que llevaron a cabo Oersted, Ampere y Faraday, sintetizados en forma matemática por Maxwell. La industria eléctrica que se derivó en el siglo XIX es un ejemplo de una industria puramente científica en la cual se utilizaron unos cuantos principios básicos, con destreza e ingenio, para encontrar un número creciente de aplicaciones prácticas.
La historia de la electricidad y el magnetismo constituye el primer ejemplo de un conjunto de teoría y experimentos puramente científicos que se transformó en una industria en gran escala. Esta industria ha sido necesariamente científica. Éste es un ejemplo del modo en que la investigación científica se convirtió en ingeniería práctica. Las personas que idearon los sistemas telegráficos y su implantación no tuvieron necesariamente el mismo rango científico que los inventores de telégrafos. Así surgieron los ingenieros de telégrafos, que se asociaron en Gran Bretaña en 1871, y poco después, en 1889, cambiaron su denominación por la de ingenieros electricistas. En el curso de cincuenta años la ingeniería eléctrica adquirió gran experiencia práctica y se hizo de una tradición importante. Los problemas de diseño y producción, de economía en el funcionamiento y de facilidad en la reparación, se sobrepusieron a los principios científicos fundamentales de la teoría electromagnética.
20. Nace la electrónica. Tubos al vacío.
Una vez que quedó claro que era posible utilizar las ondas electromagnéticas para transmitir señales telegráficas se intentó usarlas para transmitir la voz, es decir, se intentó usar la telefonía inalámbrica.En los primeros años del presente siglo se hicieron diferentes intentos para lograrla. Como hacia el fin de siglo XIX ya se había inventado el micrófono, que transforma una señal acústica en una eléctrica, la forma más directa de proceder fue conectar la señal producida por el micrófono a un alambre, que sirve como antena para emitir ondas electromagnéticas. La señal que alimentaba a la antena producía en el metal una corriente eléctrica variable, que es la que produce las ondas electromagnéticas que emite la antena.
Por otro lado, ya se había inventado el audífono, aparato que transforma una señal eléctrica en una acústica. Lo que se hizo fue construir un receptor con un alambre que sirviera como antena, o sea el receptor de las ondas electromagnéticas emitidas por el transmisor. Las ondas electromagnéticas que inciden sobre el alambre inducen en él una corriente eléctrica que tiene las mismas características de frecuencias que las ondas incidentes. Esta corriente se introduce en un audífono que la transforma en una onda acústica.
Este tipo de sistema era poco eficiente; las voces se distorsionaban mucho y además, resultó que la energía con que se emitía la onda era muy pequeña. Además, el hecho de que la fracción de energía que llegaba al receptor era muy pequeña, hacía muy difícil lograr el funcionamiento de este tipo de aparatos para distancias grandes.
Hubo diferentes intentos para resolver este tipo de problemas. La solución más satisfactoria fue lograda una vez que se inventó el tubo al vacío. Este dispositivo fue la culminación de un serie de descubrimientos y experimentos que empezaron a hacerse sin que se pensara en su posible utilización práctica en las comunicaciones inalámbricas. Esto no es nuevo, pues hay muchos ejemplos en la historia del desarrollo de la civilización moderna en que los avances en un campo del conocimiento resultan ser útiles para otro campo aparentemente independiente. Relataremos en seguida el desarrollo del tubo al vacío.
Desde el siglo XVIII algunos investigadores habían descubierto que si se calienta una superficie metálica, ésta emite cargas eléctricas. Mientras mayor sea la temperatura que alcance la superficie, mayor será la cantidad de carga eléctrica que emita. Sin embargo, fue Thomas A. Edison quien volvió a "desenterrar" este efecto en 1883, cuando trataba de mejorar su lámpara incandescente. Este efecto, que se llamó "efecto Edison", también recibe el nombre de termiónico. Fue el mismo Edison quien inventó un dispositivo en el cual la carga eléctrica emitida por la superficie metálica caliente (llamada cátodo) es recogida por otra superficie fría (llamada ánodo), lográndose de esta forma una corriente eléctrica. En la figura 35(a) se muestra cómo Edison construyó su dispositivo, mientras que en la figura 35(b) aparecen los circuitos con que se obtiene la corriente entre el cátodo y el ánodo. En primer lugar, un circuito alimentado por la batería A hace pasar corriente por la resistencia R, y hace que ésta se caliente.
Si se coloca la resistencia muy cerca del cátodo, entonces éste se calienta, aumenta su temperatura y emite carga eléctrica. Tanto el ánodo como el cátodo se conecta a otra batería, la B, formando un circuito que es independiente del que alimenta la resistencia que calienta el cátodo. Sin embargo, este segundo circuito está abierto y por tanto antes de calentar el cátodo, no circula por él ninguna corriente eléctrica. Al calentar el cátodo se desprende carga eléctrica y como el ánodo está a un voltaje diferente atrae a la carga y ésta se mueve a través del espacio entre el cátodo y el ánodo, es decir, se genera una corriente eléctrica que al llegar al ánodo circula hasta la batería. De esta manera se logra que en el segundo circuito circule una corriente. Edison encerró los dos electrodos, el ánodo y el cátodo, dentro de un tubo de vidrio al vacío que también utilizaba para elaborar sus lámparas de iluminación.

Figura 35. (a) Dispositivo ideado por Edison. Posteriormente recibió el nombre de diodo. (b) Circuito para lograr una corriente eléctrica con el dispositivo de Edison.
En el mismo año de 1883 Edison solicitó una patente de este dispositivo, aunque no conocía los principios físicos del fenómeno. Esta fue una característica de Edison, pues aun cuando inventó y patentó un buen número de dispositivos, en muchos de ellos no entendió las bases físicas de su funcionamiento. Así llegó a 1 033 patentes en su ida. De hecho, a pesar de haber patentado el dispositivo, Edison no tuvo una idea clara de cómo darle una aplicación práctica, ni le encontró ningún potencial comercial, así que lo abandonó.
Por otro lado, en el año de 1897 el físico inglés J. J. Thomson (1856-1940) descubrió la existencia de una partícula eléctricamente cargada, el electrón. Thomson demostró experimentalmente que el electrón tenía carga eléctrica negativa y una masa que era 1 836 veces menor que la del átomo de hidrógeno. Asimismo demostró que la mínima carga que se podría lograr en la naturaleza, ya fuera positiva o negativa, era de la misma magnitud que la del electrón. Esto significa que cualquier carga eléctrica, del signo que sea, está formada por unidades discretas de carga. En el año de 1906 Thomson recibió el Premio Nobel de Física por su descubrimiento.
En 1899 J.J. Thomson estableció que las cargas que se liberaban al calentar la superficie metálica eran electrones, es decir, partículas con carga negativa.
Al describir el funcionamiento del tubo al vacío de la figura 35 se vio que en el segundo circuito había una corriente eléctrica si la terminal positiva de la batería se conecta al ánodo. Al invertir la conexión, es decir, si la terminal negativa se conecta al ánodo, entonces, dado que las cargas que desprende el cátodo son negativas, serán repelidas por el ánodo y por tanto no se establecerá una corriente eléctrica en el segundo circuito.
En 1903 el físico británico John Ambrose Fleming (1849-1945) fue el primero en encontrar una aplicación práctica del efecto Edison. Fleming era asesor de la compañía telegráfica que había formado Marconi en Inglaterra, y le habían encomendado la tarea de encontrar un mejor detector de ondas electromagnéticas. Recuérdese que Marconi utilizó como detector de ondas un cohesor, que no era muy eficaz, ya que las limaduras se magnetizaban y quedaban unidas después de que desaparecía la señal electromagnética. Además, a partir de 1900, en algunos diseños de receptores, se usaban cristales de galena o de pirita de hierro como detectores que por cierto fueron las primeras componentes de estado sólido empleadas en electrónica. Sin embargo, estos detectores no fueron muy eficientes, de allí la necesidad de encontrar algo mejor. Fleming recordó su trabajo anterior sobre el efecto Edison, que había hecho como consultor en la filial inglesa de la compañía de Edison y escribió: "Para mi deleite yo [...] encontré que teníamos una solución en este tipo peculiar de lámpara eléctrica..." FIeming concluyó de sus observaciones experimentales que si el ánodo se conecta a la terminal positiva de la batería, entonces la carga, y por tanto la corriente, se mueve del cátodo al ánodo. Esto es claro ya que los electrones, que son negativos, al desprenderse del cátodo son atraídos por la carga eléctrica positiva depositada en el ánodo. Asimismo, si conectaba el ánodo a la terminal negativa de la batería, no circulaba ninguna corriente.
Fleming usó el tubo al vacío de Edison de la siguiente forma: conectó una fuente de corriente alterna a los extremos del tubo intercalando una resistencia eléctrica. En el circuito de la figura 35(b) remplazó la batería B por la fuente de corriente alterna. Como se recordará, esta corriente va cambiando de sentido; en la primera parte de su ciclo es corriente que circula en un sentido, mientras que en la otra mitad del ciclo tiene el sentido opuesto. Esto se representa gráficamente en la parte superior de la figura 36. Este hecho significa que el voltaje que adquiere el ánodo tiene un signo en una mitad del ciclo y adquiere el signo contrario en la segunda mitad. Por tanto, en la parte del ciclo en que el ánodo tiene voltaje positivo sí habrá corriente, mientras que en la otra, cuando adquiere voltaje negativo, no habrá corriente. Por tanto, la corriente en el circuito circula en un sólo sentido, pero únicamente cada medio ciclo, como se muestra en la gráfica inferior de la figura 36. Este efecto se llama la rectificación de una corriente alterna. Así, este dispositivo solamente permite el paso de corriente eléctrica en un solo sentido, y puede funcionar como un detector de ondas electromagnéticas. Fleming patentó este dispositivo, al que posteriormente se le dio nombre de diodo.

Figura 36. Si por un diodo pasa una corriente como la que se muestra en la parte superior, sale una corriente como la que aparece en la parte inferior. Este acción se llama rectificación.
El triodo funciona en un circuito como el que se muestra en la figura 37(b). El ánodo se conecta a una batería a través de una resistencia, que constituye la carga (no se muestra el circuito que calienta el cátodo). La intención del triodo es alimentar la carga con la señal externa que se le inyecta a través de la rejilla. Supongamos que en cierto instante la señal que recibe la rejilla sea de voltaje positivo (con respecto al cátodo). Los electrones que desprende el cátodo serán atraídos por la rejilla, como ocurre en el diodo; al llegar a ella poseen cierta velocidad y como la rejilla tiene aperturas que permiten el paso de las partículas, éstas la cruzan y siguen su curso hasta el ánodo, ya que éste también está a un voltaje positivo. Ahora bien, mientras mayor sea el voltaje de la batería, mayor será la atracción que ejerza el ánodo sobre los electrones, y por tanto se moverán a mayor velocidad; esto ocasiona que la corriente que llega al ánodo sea mayor. El valor de esta corriente depende, por tanto, de dos factores: del valor del voltaje de la señal en la rejilla y del voltaje de la batería del ánodo. Ahora bien, si el valor del voltaje de la rejilla cambia, entonces la corriente en el ánodo también cambiará. Por otro lado, aumentando el valor del voltaje de la batería se puede lograr, dentro de ciertos límites, que se incremente la corriente en el ánodo. En consecuencia, el voltaje a través de la carga, que depende de la corriente que circula por el circuito del ánodo, será mayor que el voltaje que hay en la rejilla. Así, el triodo logra incorporar la señal y amplificar su intensidad. Además, la rejilla controla la corriente que circula a través del ánodo, sirviendo de elemento de control. Esta teoría fue desarrollada por De Forest.<

Figura 37. (a) Forma del triodo. (b) Esquema de un circuito amplificador.
Al tratar de vender acciones de su empresa, De Forest fue procesado por fraude. Decía el fiscal que su activo principal parecía ser "un extraño dispositivo parecido a una lámpara incandescente que él llamó audión, dispositivo que ha resultado ser inútil".
Hacia 1912 De Forest había alcanzado cierto control en el comportamiento del triodo. Para esto redujo la amplificación, o sea redujo el voltaje de la batería del ánodo como aparece en la figura 37(b). Esta reducción la compensó conectando varios triodos, de tal forma que la salida de uno alimentara el siguiente, multiplicando así el efecto y logrando una amplificación neta.
Al ver que sí se podía construir un amplificador, De Forest se entusiasmó y propuso su venta a la ATT. Esta empresa, en su intento por mejorar las señales telefónicas de larga distancia, había establecido sin gran éxito un laboratorio especial para el desarrollo de un amplificador electrónico. Cuando De Forest hizo la demostración de su amplificador a la ATT en octubre de 1912, los físicos de la empresa, Harold D. Arnold, Frank Jewett y Edwin Colpitts inmediatamente se percataron de que ese sistema era lo que buscaban. La ATT le compró los derechos.
Dirigido por Arnold, la ATT inició un proyecto de investigación para entender y dominar los principios físicos del funcionamiento del triodo y así poder construirlo eficazmente. Para este fin Arnold consideró primero el fenómeno general de conducción de electricidad a través de gases y en el vacío. Partió de la suposición, no aceptada de manera general en esa época, de que una corriente eléctrica podía fluir en el vacío; posteriormente la verificó con experimentos. En el transcurso de dos años Arnold y un grupo de 25 investigadores y asistentes de la ATT transformaron el débil y no muy confiable audión, en un amplificador muy potente y seguro. Para lograrlo crearon el máximo vacío posible dentro del tubo. Encontraron que si dentro del tubo de vidrio no había vacío, los electrones del cátodo que son atraídos hacia el ánodo chocan con las moléculas del gas interior y en consecuencia no llegan al ánodo, disminuyendo así el valor de la corriente, y por ende la amplificación del tubo. Si hay vacío, los electrones no chocan con ninguna molécula, pues no las hay, y llegan al ánodo. De Forest no había entendido estos hechos, por lo que su dispositivo funcionaba erráticamente. Los investigadores de la ATT introdujeron dispositivos para recoger los últimos residuos de los gases que se evaporaban del filamento caliente, para evitar que perturbaran el vacío dentro del tubo.
El triodo así mejorado hizo posible que el servicio telefónico abarcara de costa a costa a Estados Unidos, y todavía más. Además de amplificar, los tubos hicieron que la generación de ondas fuese de frecuencia precisa y controlable, lo que evitó que se mezclaran ondas de diferentes transmisores.
A pesar de que la ATT trató de mantener en secreto los resultados de sus investigaciones, otras compañías hicieron progresos significativos y la electrónica con tubos al vacío se desarrolló de manera impresionante de 1912 a 1932.
En muy pocos años se lograron construir triodos capaces de detectar y amplificar señales muy débiles.
Entre 1910 y 1915 se inventaron circuitos muy ingeniosos que transforman el voltaje constante suministrado por una batería, en una corriente alterna con frecuencias muy altas, mucho mayores que las logradas con máquinas eléctricas rotatorias. Estos dispositivos se llaman osciladores. Con ellos se incorporó de forma muy satisfactoria una señal a una onda electromagnética. Este logro dio lugar al nacimiento de la radio, que se describirá en el siguiente capítulo.
Durante la primera Guerra Mundial se usó mucho la radio y se construyeron tubos al vacío en grandes cantidades. La técnica se mejoró cada vez más e hizo posible construir tubos de gran potencia, que se utilizaron en 1915, en la radiotelefonía trasatlántica, para comunicar a Francia y Estados Unidos.
Para finalizar el presente capítulo mencionaremos que a principios de la década de 1930 se construyeron tubos al vacío con más elementos entre el cátodo y el ánodo; éstos fueron el tetrodo, el pentodo, etc. Con estos tubos se amplió la gama de posibilidades de diseño de circuitos para diferentes aplicaciones. Un hecho de crucial importancia es reconocer que las ondas acústicas que creamos cuando hablamos tienen frecuencias relativamente bajas: nuestro oído es sensible a ondas acústicas cuyas frecuencias están comprendidas entre 20 y 20 000 Hz. Estas frecuencias son pequeñas si las comparamos con las frecuencias de la luz visible, por ejemplo, que son del orden de 10 14 Hz (un uno seguido de catorce ceros).
Supongamos que se hacen interferir dos ondas, una de baja y otra de alta frecuencia (Figura 38). Si la diferencia de frecuencias es muy grande, entonces la onda resultante tiene la misma frecuencia que la onda de alta frecuencia, pero su amplitud va cambiando con la misma frecuencia que la onda de baja frecuencia. Se dice que la onda resultante está modulada en amplitud. Por tanto, si la señal es una onda de baja frecuencia, es posible incorporarla en una onda de alta frecuencia haciéndolas interferir.

Figura 38. Al interferir una onda de baja frecuencia (audio) con una de alta frecuencia (radio) se obtiene una onda modulada en su amplitud.
Con base en lo anterior se diseñó un aparato transmisor que se muestra esquemáticamente en la figura 39. En primer lugar, un oscilador produce una corriente eléctrica de muy alta frecuencia, llamada radiofrecuencia, cuyos valores están entre 30 000 y 300 000 000 Hz. En segundo lugar, esta corriente se amplifica y se alimenta a un modulador. Una señal con frecuencias acústicas como las de una voz o las de la música, se transforma por medio de un micrófono en una corriente eléctrica. Ésta tiene frecuencias de valor muy pequeño, comparada con la radiofrecuencia generada por el oscilador. Después de amplificar la señal que sale del micrófono, se alimenta al modulador. Éste hace interferir las dos corrientes con baja y alta frecuencia, produciendo una corriente de alta frecuencia modulada en su amplitud; esta corriente lleva incorporadas las características de la señal acústica. La corriente se hace pasar por la antena que emite ondas electromagnéticas con la misma frecuencia y amplitud que tiene la corriente que la alimentó: en particular, la amplitud de las ondas emitidas va cambiando con la misma frecuencia de la señal de baja frecuencia. De esta forma, el aparato emite ondas electromagnéticas en las que va incorporada la señal de la voz. La frecuencia de la estación de radio que emite de esta manera es precisamente la frecuencia que produce el oscilador. De hecho, los gobiernos asignan a cada estación una frecuencia de emisión, que es la frecuencia de la onda portadora de la señal.

Figura 39. Diagrama de bloques de un emisor de amplitud modulada.

Figura 40. Diagrama de bloques de un receptor de amplitud modulada.
Este tipo de transmisión y recepción se dio hacia la tercera década del presente siglo. La radiotelefonía resultó ser muy útil para conversaciones privadas. El primer programa público de radio fue emitido en Inglaterra el 23 de febrero de 1920. Así nació una nueva industria que ha tenido un explosivo crecimiento aun hasta nuestros días.
En 1933 Armstrong inventó otro tipo de emisión de señales de radio: el de frecuencia modulada (FM). En este sistema la frecuencia emitida por el oscilador se cambia de acuerdo con el valor de la amplitud de la onda sonora que se desea transmitir. Mientras más intensa sea la onda acústica, mayor será el valor de la frecuencia de la onda emitida. En la figura 41(a) se muestra la onda producida por el oscilador; en la figura 41(b) vemos dos pulsos que se quieren transmitir; nótese que los pulsos tienen amplitudes diferentes. En la figura 41(c) vemos la onda modulada en frecuencia: de izquierda a derecha están, sucesivamente, en I la onda del oscilador, en II la onda modulada en frecuencia por el primer pulso, en III otra vez la onda del oscilador, ya que en este intervalo no hay señal, en lV la onda modulada en frecuencia por el segundo pulso, etc. Nótese que la frecuencia de la región II es menor que la de la región IV, ya que la amplitud del primer pulso es menor que la del segundo; además, la amplitud de la onda en la figura 41(c) es siempre la misma.


Figura 41. La señal modula la frecuencia de la onda de radiofrecuencia.
La transmisión por FM, iniciada comercialmente en Estados Unidos en febrero de 1941, comparada con la forma arriba descrita de amplitud modulada (AM), tiene la ventaja de que sus transmisiones no se alteran con las perturbaciones, ya sean atmosféricas o producidas por el hombre, que afectan la amplitud de la onda pero no su frecuencia. En el sistema de FM no se presenta el llamado fenómeno de "estática", que es un ruido sistemático que se oye en emisiones de AM.
La radio como la conocemos en la actualidad fue la creación de tres hombres de genio, visión, determinación y de gran complejidad: Lee de Forest, autonombrado "padre de la radio", cuya invención del triodo hizo posible el nacimiento de la electrónica moderna; Edwin Howard Armstrong, inventor del circuito retroalimentador (y del oscilador) así como de la frecuencia modulada, que forman la base de la transmisión y recepción de los sistemas actuales de radio (y de televisión); finalmente, David Sarnoff, quien encabezó la Radio Corporation of America (RCA), sucesora de la filial estadounidense de la compañía establecida por Marconi, a quien se le debe que las invenciones mencionadas fueran llevadas a sus fases tanto industrial como comercial.
Los creadores de la radio experimentaron derrotas pasmosas así como victorias extraordinarias. Desafortunadamente la historia de las relaciones entre estas tres personas fue muy trágica. De Forest hizo y perdió tres veces fortuna, vio quebrar a la mayoría de sus compañías y casi fue a la cárcel por acusaciones de fraude. Armstrong demandó a Forest por los derechos del circuito retroalimentador. A pesar de que Armstrong lo inventó, perdió en 1934 el juicio que duró más de 20 años y que llegó a la Suprema Corte de Justicia de Estados Unidos. Armstrong, que durante varios años fue el más grande accionista de la RCA, perdió casi toda su fortuna demandando, a partir de 1948, a la compañía por los derechos de la FM. En este otro juicio fue víctima de las maquinaciones de la corporación encabezada por Sarnoff. En 1954, acosado y empobrecido, Armstrong se suicidó. Sin embargo, su viuda logró, a fines de 1954, que la RCA llegara a un acuerdo fuera del juicio y recibió 1 050 000 dólares por derechos. Asimismo logró por medio de acuerdos fuera de la corte que casi todas las demás compañías electrónicas que usaban el sistema de FM le pagaran los derechos correspondientes. La única que se negó y fue llevada a juicio fue la Motorola, que finalmente perdió por una decisión dada en 1967 por la Suprema Corte de Justicia de Estados Unidos. Así, después de 53 años los litigios judiciales sobre los inventos de Armstrong, finalmente terminaron 13 años después de su muerte, con su reinvidicación. Una vez que se pudieron enviar tanto señales telegráficas, voz y música a través del teléfono, hace alrededor de un siglo, varias personas empezaron a considerar la posibilidad de enviar imágenes por medios eléctricos (o sea, lo que hoy en día hace la televisión). Sin embargo, había mucho escepticismo al respecto. Un editorial de la revista técnica inglesa, The Electrician se preguntaba "¿Veremos alguna vez mediante la electricidad?" En 1884, el alemán Paul Nipkow solicitó una patente para un sistema de televisión que él denominó "telescopio eléctrico". Este burdo aparato era en esencia un dispositivo electromecánico que utilizaba una fotocelda para transformar luz en corriente eléctrica. La imagen era muy burda, sin que se pudiesen reproducir los detalles finos. Variaciones de este dispositivo se diseñaron hasta 1930 sin que realmente tuviesen éxito.
En una reunión de la Sociedad Roentgen, efectuada en Inglaterra en 1911, el ingeniero eléctrico A. A. Campbell Swinton presentó un esquema de sistema de televisión, que es el que se usa en la actualidad. La escena que se desea transmitir se enfocaría sobre una placa hecha de material no conductor de electricidad, por ejemplo de mica, la cual se encuentra dentro de un tubo de rayos catódicos. Este tubo fue inventado a mediados del siglo XIX por William Crookes para estudiar las propiedades de las corrientes eléctricas a través de gases y tiene la forma que se muestra en la figura 42. Consiste en un tubo de vidrio al vacío, dentro del cual hay un cátodo frente a un ánodo. La diferencia entre este arreglo y el de los tubos al vacío usados para triodos, es que el ánodo ahora tiene en su centro una pequeña abertura que permite el paso de partículas. Cuando el filamento calienta el cátodo, éste desprende electrones que son atraídos por el ánodo, y un haz de ellos lo cruza para finalmente chocar contra el extremo opuesto del tubo en el punto L. i ahora se añade un par de placas paralelas, las UVy WZ (Figura 42), que ejerzan determinada fuerza sobre los electrones, en lugar de llegar al punto L se desviarán y llegarán a otro punto, como el M. Esta fuerza puede ser de naturaleza eléctrica si UV y WZ son las placas de un condensador. De la magnitud del campo eléctrico que se genere entre las placas dependerá la magnitud de la desviación del haz, y éste incidirá no en L sino en M. Por supuesto, esta fuerza se controla exteriormente, aunque en la figura no se muestra el circuito del que forman parte las placas UV y WZ. Además de este conjunto de placas se puede añadir otro que sea perpendicular o paralelo al plano de la figura 42; estas placas desviarán el haz lateralmente, es decir, fuera del plano de la misma figura. Al conjunto de ánodo, cátodo y placas se le llama cañón electrónico, y por medio de éste se puede hacer incidir el haz de electrones en cualquier punto del fondo del tubo.

Figura 42. Esquema del tubo de rayos catódicos de Crookes.
Para el receptor, Campbell Swinton escogió un tubo de rayos catódicos diseñado en 1897 por Ferdinand Braun, de la Universidad de Estrasburgo, en ese entonces parte de Alemania. Este tubo, llamado cinescopio, es similar al que aparece en la figura 42; es de vidrio al vacío y tiene en su fondo una pantalla de material fluorescente, como fósforo, que emite luz cuando un haz de electrones incide sobre él. Mientras más intenso sea el haz, mayor será la intensidad de la luz emitida. En el cuello del tubo se coloca un cañón de electrones que va barriendo todos los puntos de la pantalla, siguiendo un patrón de líneas horizontales desde arriba hasta abajo. La señal que se transmitió desde la cámara controla la posición y la intensidad del haz, de tal forma que al incidir sobre la pantalla, los electrones producen en un punto un centelleo de la misma intensidad del haz luminoso que incidió sobre el islote correspondiente en la cámara emisora.

Figura 43. Esquema de un dispositivo que puede transformar una señal luminosa en una señal eléctrica.
Esta fue una idea extraordinaria de Campbell Swinton que casi describe la actual tecnología de la televisión. Sin embargo, él nunca construyó parte alguna de este sistema, aunque sí estaba consciente de sus dificultades, según expresó: "No creo por un solo instante que este sistema pueda funcionar sin una gran cantidad de experimentación y probablemente muchas modificaciones." Campbell Swinton creó el diseño conceptual sobre el que otras personas trabajarían. Fue Vladimir Zworykin (18891982), un ingeniero ruso inmigrado a Estados Unidos en 1919 quien construyó la primera cámara práctica. En 1924 mostró a la compañía Westinghouse una versión primitiva, pero que funcionaba, de un sistema de televisión. Las imágenes eran débiles y vagas, casi sombras. Los directivos de la empresa no se impresionaron tampoco cuando Zworykin les mostró una versión mejorada en 1929.
A quien sí impresionó Zworykin fue a David Sarnoff, director de otra compañía, la RCA Victor, quien creía en la promesa comercial de la televisión. En 1923 Sarnoff había dicho a la mesa directiva de la RCA: "Puede ser que, en el futuro, cada aparato de radio para uso doméstico esté equipado con una televisión[...] que, además de oír, hará posible ver lo que ocurre en la estación emisora." En su primera reunión con Zworykin, Sarnoff le preguntó cuánto costaría perfeccionar el sistema de televisión. "Alrededor de unos cien mil dólares", respondió Zworykin. Años después Sarnoff relataba que la RCA llegó a gastar 50 millones de dólares en el proyecto de la televisión antes de ver un centavo de ganancia.
Zworykin fue contratado en 1930 por la RCA como director de investigación electrónica y en 1933 finalmente convenció a Sarnoff de que su cámara, a la que llamó iconoscopio (del griego iekon, imagen, y skopon, ver), y su cinescopio eran satisfactorios. La clave del éxito del iconoscopio de Zworykin fue su método de depositar más de un millón de islotes fotosensibles aislados en la placa de la cámara. Campbell Swinton había propuesto que fueran de rubidio, pero Zworykin descubrió que era mejor cubrir plata con óxido de cesio. Inventó un método para hacer el mosaico de islotes que arriba mencionamos.
La RCA probó por primera vez un sistema completo en 1933. Transmitió imágenes de 240 líneas a una distancia de siete kilómetros en Colligswood, Nueva Jersey. Después aumentaron el número de líneas; actualmente se usan 525. En 1938 la RCA, después de mejorar varios detalles, tuvo listo un sistema de televisión en funcionamiento. Sin embargo, por problemas burocráticos el gobierno no aprobó la licencia de funcionamiento sino hasta julio de 1941. Varios aparatos de televisión se produjeron y vendieron, pero con la entrada de Estados Unidos en la segunda Guerra Mundial se detuvo su producción. Durante los años de la guerra, un grupo de científicos e ingenieros dirigidos por Zworykin desarrollaron una cámara 100 veces más sensible que el iconoscopio y al terminar la guerra, la RCA reinició sus trabajos en el campo de la televisión.
En el otoño de 1946 un aparato de televisión con una pantalla de 10 pulgadas se ofreció a la venta por 375 dólares. A partir de ese momento la vida en todo el mundo inició un cambio drástico. En el año de 1849 el gobierno mexicano otorgó a Juan de la Granja la primera concesión para el uso del telégrafo eléctrico, según decreto del 10 de mayo, como privilegio exclusivo y por un plazo de diez años, bajo la condición de que construyera, en los primeros 24 meses, cuando menos 40 leguas (alrededor de 223 km) de la línea entre la ciudad de México y el puerto de Veracruz. Sin embargo, en este lapso sólo pudo tender el tramo hasta Nopalucan, estado de Puebla, el cual empezó a funcionar el 5 de noviembre de 1851. Seis meses después, el 19 de mayo de 1852 terminó la obra con un entronque a Jalapa. En 1853 se inauguró la línea México-Guanajuato, pasando por León y para 1854 ya existían en el país 608 km de alambrado telegráfico; había oficinas en las ciudades de México, Orizaba, Jalapa, Veracruz, Guanajuato y León, que transmitían 50 000 mensajes. El 10 de mayo de 1859 se prorrogó la concesión al sucesor de Juan de la Granja y a Hermenegildo de Viya y Cosío, con las líneas que se construyeran o iniciaran dentro de los siguientes 10 años.
Hacia 1867, después de la restauración de la República, el gobierno federal volvió a otorgar concesiones para el tendido y funcionamiento de líneas telegráficas a diversas empresas particulares y a los gobiernos de los estados. Para 1885 ya existían 15 570 km de líneas tendidas.
El 8 de diciembre de 1880 los telégrafos quedaron sujetos a la autoridad federal, con lo cual creció considerablemente la longitud de las líneas. En 1885 se creó la Dirección de Telégrafos Federales que regularizó el servicio en el país.
En 1887 se inició el servicio internacional con Guatemala y en 1897 con Estados Unidos. A fines del siglo XIX se realizó la primera conferencia internacional entre México y Estados Unidos por medios telegráficos.
El 28 de octubre de 1879 el Congreso de la Unión aprobó un contrato entre la compañía estadunidense Western Union y el gobierno nacional, para tender un cable submarino de Veracruz a Estados Unidos, pasando por Tampico. El 10 de marzo de 1881 quedó inaugurada la línea telegráfica entre Veracruz, Tampico y Brownsville. En julio de 1882 se inició la comunicación por cable subterráneo entre Salina Cruz, en el estado de Oaxaca, y las repúblicas centro y sudamericanas. En 1898 la extensión de este tipo de líneas era aproximadamente de 2 200 kilómetros.
El 15 de marzo de 1878, dos años después de que Alexander Graham Bell lograra la primera comunicación telefónica, se realizó una prueba con éxito entre la ciudad de México y la población cercana de Tlalpan.
Por otro lado, en 1879 empezó a funcionar la primera planta eléctrica en la República en una fábrica textil en León, estado de Guanajuato.
En 1881 se inició el servicio público de electricidad en la ciudad de México, cuando la Compañía Knight instaló 40 lámparas eléctricas incandescentes, lo que desplazó hacia 1890 el alumbrado público a base de aceite de nabo, que estuvo en servicio justamente un siglo. En 1889 en el mineral de Batopilas, estado de Chihuahua, Alejandro Shepard acopló a los molinos de trituración dos turbinas hidroeléctricas de 15 caballos de potencia. En 1892 se utilizaba la electricidad, generada por vapor, para el desagüe del mineral de Catorce en Matehuala, estado de San Luis Potosí. Los bosques que cubrían completamente la sierra fueron talados para usar esa madera como combustible. Por esa época se formó la Compañía de Luz y Fuerza de Pachuca, que abastecía de energía eléctrica las minas de Real del Monte y El Oro. En 1897 la empresa cuprífera de El Boleo, cerca de Santa Rosalía, en Baja California, instaló un generador eléctrico accionado por vapor destinado a las tareas de bombeo, ventilación, alumbrado y molienda; las ventajas económicas fueron de tal magnitud que para 1906 la empresa ya contaba con un generador de 1 000 caballos, el más moderno y eficiente de esa época. El desarrollo de la producción eléctrica suscitó el auge de la minería: se aprovecharon las vetas de baja ley, se redujeron los costos, se facilitó el desagüe a niveles más profundos y disminuyó la mano de obra.
En la industria textil la electricidad fue también un importante factor de progreso. Hacia 1900 el 44% de la capacidad eléctrica instalada proveía a los fabricantes de telas, especialmente en las regiones de Orizaba, Monterrey y Atlixco. Los excedentes se vendían para alumbrado público y uso doméstico. En la última década del siglo XIX operaba en la ciudad de México la Compañía Mexicana de Gas y Luz Eléctrica, que tenía una planta de San Lázaro, unos dínamos en Reforma y un gasómetro en la Calle de la Escobillería, que proporcionaba servicio a particulares.
Alberto Best, regidor del ramo, lanzó la convocatoria y la ganó la Compañía Mexicana de Electricidad, filial de la alemana Siemmens Halske. La compañía instaló un generador en Nonoalco y dotó a la ciudad de arbotantes semejantes a los que existían en Berlín. En 1895 el francés Arnold Vaquié adquirió la concesión para utilizar los recursos hidráulicos del río Necaxa, en el estado de Puebla, para generar electricidad, pero la transfirió en 1902 a la Mexican Light and Power Co., empresa canadiense que montó en 1905 una unidad de 5 000 kw. A su vez, la Weren Beit and Co. de Londres constituyó la Compañía Limitada de Tranvías que a partir de 1900 utilizó energía eléctrica para la tracción de sus vehículos. Entre 1887 y 1911 se formaron en México 199 compañías de luz y fuerza motriz que dieron servicio en diferentes estados de la República. Se estima que en 1911 México disponía de 165 000 kw de electricidad instalados, producidos por diferentes medios.
La radiotelegrafía se introdujo en México en 1910 con la instalación de 15 estaciones transmisoras marca Telefunken, que comunicaban las ciudades de ambos litorales, como Tampico y Veracruz con Guadalajara y Hermosillo. En 1930 se estableció el servicio entre México y Madrid, para enlazar con Europa, y en 1933 con Oriente, vía Tokio.
En octubre de 1921 el ingeniero Constantino de Tárnava transmitió de Monterrey a la capital del país lo que se ha considerado el primer programa de radio, captado solamente por una persona. En el mismo año José de la Herrán y el general Fernando Ramírez montaron una estación experimental, la J-H, bajo los auspicios de la Secretaría de Guerra. Hacia 1923 ya existían en el país aparatos receptores de galena, con precio de 12 pesos. El 14 de agosto de 1923 entró en servicio la difusora del periódico El Mundo, dirigido por Martín Luis Guzmán, y a través de sus micrófonos dictaron conferencias, entre otros, José Vasconcelos, entonces secretario de Educación Pública; Antonio Caso, rector de la Universidad Nacional; el poeta Carlos Pellicer y el compositor Manuel M. Ponce. El 14 de septiembre de 1923, con motivo de la pelea de box entre Firpo y Dempsey, se inauguró una estación que emitía con 500 watts de potencia. Al día siguiente inició sus transmisiones la estación CYB, con 500 watts, propiedad de la compañía cigarrera El Buen Tono; en el acto inaugural se transmitió la ceremonia del Grito de Independencia que dio el presidente Álvaro Obregón. En esas fechas había alrededor de 5 000 hogares dotados con aparatos receptores. En 1925 operaban en el país 11 estaciones radiodifusoras.
La etapa experimental de la televisión en México se inició en 1933, cuando el ingeniero Guillermo González Camarena hizo los primeros ensayos con un equipo rudimentario que él mismo construyó. En ese mismo año el Partido Nacional Revolucionario trajo a México un equipo de televisión mecánica, en blanco y negro, e hizo varias demostraciones públicas. En 1939 González Camarena inventó un sistema de televisión a colores que patentó en México y en Estados Unidos. El 19 de agosto de 1946 González Camarena inició una serie de transmisiones sabatinas experimentales en blanco y negro desde el laboratorio Gon Cam, que recibían en la Unión de Radioexperimentadores. En 1948 y 1949, en la Exposición Objetiva Presidencial, instalada en el Estadio Nacional, el público capitalino pudo observar las transmisiones originadas en el estudio de la Secretaría de Comunicaciones por medio de un transmisor de 20 watts de potencia y captadas en siete aparatos receptores instalados en el estadio y en diferentes almacenes de la ciudad. La primera emisión comercial de televisión ocurrió el 26 de julio de 1949, de las 17 a las 19 horas en el Canal 4. El 1 de septiembre se televisó desde la Cámara de Diputados el informe presidencial presentado por Miguel Alemán.
24. Otro alto en el camino (1890-1949)
A partir de las últimas décadas del siglo XIX se empezaron a delimitar diferentes campos en el desarrollo de la industria eléctrica:- La industria eléctrica pesada que se dedicó al diseño y construcción de generadores y motores eléctricos, así como a la instalación de redes de distribución de corriente eléctrica.
- La industria de comunicaciones basada fundamentalmente en la telegrafía y telefonía, que usaba tanto la conexión alámbrica como las ondas electromagnéticas.
- La industria electrónica que se dedicó al diseño de tubos al vacío y de diferentes circuitos.
Por supuesto, las ramas que se fueron delineando no eran independientes entre sí, pues existía una activa interrelación que se da hasta la actualidad.
Los sistemas tecnológicos se han desarrollado por pequeños pasos, limitados por el terco obstáculo ocasional y por un sinnúmero de descubrimientos. En ciertas ocasiones estos descubrimientos se patentan por individuos, pero más a menudo son innovaciones sociales hechas por personas cuyos nombres pronto se han olvidado. En los inicios de un sistema tecnológico, como el de la energía eléctrica, los inventores desempeñaron un papel prominente. A medida que el sistema maduró y se expandió a redes urbanas y regionales, otras personas contribuyeron en su desarrollo. Los sistemas de energía eléctrica actuales no son simplemente versiones gigantescas de la primera estación que Edison construyó en 1882. Ya a principios de siglo fue el gerente de la planta, y no el inventor ni el ingeniero, quien fue la pieza clave para extender el servicio tanto diurno como nocturno a muchos tipos de clientes: el turno nocturno a la planta química, así como a los tranvías eléctricos a la "hora pico" del tráfico.
La evolución del sistema telefónico, desde la operadora que hacía las conexiones hasta el actual sistema de centros automáticos, también fue determinada por una serie de soluciones pequeñas que desarrollaron la tecnología más allá de lo que pudo imaginar Graham Bell.
Una de las razones por las cuales se dio el progreso en el crecimiento de los sistemas tecnológicos fue la producción en masa y la consiguiente reducción de costos unitarios. Al invertir más capital y reducir costos, el sistema se extiende a un mercado cada vez más grande y diversificado.
Ilustramos este crecimiento tecnológico con lo ocurrido en la industria de la energía eléctrica.
Edison dio un paso importante al diseñar una planta de generación de electricidad y una carga de luz eléctrica concentrada en un distrito de Nueva York (el distrito alrededor de Wall Street). En 1882 este sistema distribuía una carga eléctrica que llegaba a su máxima capacidad solamente durante las primeras horas del anochecer, cuando el distrito comercial estaba activo. Esto se traducía en un costo muy elevado de la luz eléctrica. Si este sistema no hubiese evolucionado el mundo no tendría hoy electricidad como la conocemos.
Muy pronto, a los tres años de su inicio, el sistema de Edison de corriente eléctrica directa fue sobrepasado y se empezó a usar corriente alterna. Hacia 1890 este nuevo sistema había suministrado electricidad a barrios poco poblados y a regiones rurales.
Pero pronto los motores de corriente alterna empezaron a mostrar sus limitaciones. Para mejorar este motor se requirió otro cambio en el método de transmitir y distribuir corriente eléctrica. En unos cuantos años el estadounidense de origen serbio Nikola Tesla, con el científico italiano Galileo Ferraris, el alemán Friedrich Haselwander y el estadounidense C. S. Bradley propusieron un sistema polifásico con el que se logró un motor eléctrico mucho más eficiente. Para 1896 ya se contaba con máquinas polifásicas.
Para el año de 1910, ciudades completas se alimentaban con energía proveniente de sistemas interconectados de plantas generadoras que utilizaban corriente polifásica. Las compañías aprovecharon la diversidad de demanda en las ciudades que estaban en crecimiento, pues tenían cada vez más necesidades: tranvías, plantas químicas e industriales, consumo en casas-habitación, etc. De esta forma aumentó de manera notable el beneficio económico por este sistema. Sin embargo, con el desarrollo del sistema polifásico aparecieron otros problemas que de no resolverse hubieran congelado el desarrollo de la industria eléctrica en una fase muy lejana a la que conocemos hoy en día. Los gerentes de las compañías se dieron cuenta de que, por ejemplo, si se aumentaba el tamaño de la planta de energía también aumentaba el espacio para albergar más equipo, lo que generó a su vez un incremento no proporcional en el precio de los bienes raíces. Este problema se resolvió con el advenimiento de las turbinas de vapor, que producen electricidad, obra de los inventores Charles Parsons, inglés, Carl G. P. de Laval, sueco y Charles Curtis, estadunidense. Estas turbinas se adaptaron a generadores de electricidad más avanzados que los existentes. Una de las grandes ventajas del uso de las turbinas fue que concentraron la producción de corriente eléctrica y así los sistemas eléctricos continuaron ofreciendo ventajas económicas y se transformaron de citadinos a regionales.
Los inventos científicos y técnicos fueron los que estimularon la industria eléctrica en sus primeros 25 años. Los cambios técnicos subsecuentes tendieron a ser graduales y rutinarios.
Otro elemento importante en la evolución del sistema de energía eléctrica fue la modificación en los sistemas de administración de las compañías eléctricas. Por ejemplo, a partir de 1892 Samuel Insull, gerente de la compañía que surtía electricidad a la ciudad de Chicago, en Estados Unidos, introdujo novedosos métodos contables en la empresa para determinar cuáles costos unitarios resultaban exorbitantes para después reducirlos, ya fuera con alguna invención o con cierta innovación en el sistema. Este gerente aumentó su sistema de distribución absorbiendo pequeñas compañías ineficientes. Cuando en 1896 se introdujo la corriente polifásica, transformó las plantas generadoras que quedaron obsoletas en subestaciones, logrando gran ahorro de dinero. Insull ayudó a mejorar el concepto de factor de carga, que fue un avance crítico ya que definía precisamente la eficiencia económica del sistema como la razón del uso de la planta a su capacidad total en un periodo especificado. Introdujo la graficación de una curva de 24 horas de la cantidad de electricidad que salía de la planta, elemento que permitió a los administradores señalar valles y picos en la carga. De esta manera, el sistema pudo uniformar la salida de electricidad haciendo más nivelada la curva de carga, los valles de las 6 A.M. y los picos de 5 P.M., combinando cargas de varios consumidores. Así, por ejemplo, con ayuda de subestaciones transformadoras pudo bajar los voltajes a valores requeridos tanto para plantas industriales como para consumidores domésticos, y proporcionar corriente directa de bajo voltaje para el sistema tranviario y de ferrocarril urbano. Con este sistema la oficina de despacho de carga, que era realmente el centro de control, podía anticipar demandas pico. También manipuló cargas sin aumentar plantas y equipo, logrando grandes ahorros que se manifestaron en reducciones de tarifas y por tanto más consumidores. Con ayuda de estas políticas administrativas, entremezcladas con mejoras técnicas, se pudo producir electricidad en masa y extender la red de energía a regiones geográficas muy grandes.
El centro de despacho de carga fue un avance gerencial muy importante en la industria eléctrica, que después del inicio del siglo se usó en muchos países del mundo. Este centro permitió conectar plantas generadoras de electricidad que usaban diferentes fuerzas motrices, como vapor e hidroeléctricas, en una red de transmisión con diferentes cargas. En Alemania, el sistema incluyó plantas motrices de carbón que se encontraban en la región del Ruhr con plantas hidroeléctricas de los Alpes.
En lo que respecta al desarrollo de la electrónica y de las comunicaciones, se dio un gran adelanto. Una vez que se demostró la eficacia de los tubos al vacío, con lo cual se inició la época de las transmisiones radiales a principios de la década de 1920 hubo una actividad inuy intensa de investigación, tanto básica como aplicada, para mejorar los tubos y los circuitos electrónicos. Este avance se tradujo en una serie notable de aplicaciones: el microscopio electrónico, el control electrónico de maquinaria y el inicio de otra época: la de las computadoras electrónicas.
Durante la segunda Guerra Mundial se consolidaron los avances en la electrónica y las comunicaciones electromagnéticas. Las necesidades militares generaron diversos desarrollos, como el radar y la electrónica de microondas. Una vez terminada la contienda, la aplicación de los tubos al vacío llegó a un grado muy alto de complejidad.
El invento social que fue de los más importantes para el mundo científico y tecnológico ya había llegado hacia 1920: el laboratorio de investigación orientada, también llamado laboratorio industrial. En esta época investigación y desarrollo ya se habían convertido en una institución sistemática que solucionó los principales problemas de los sistemas de energía eléctrica de esa época. Ejemplos de estos laboratorios fueron los que establecieron las compañías estadounidenses General Electric, ATT y Bell Telephone. En general, hubo una relación bastante estrecha entre el laboratorio industrial y los centros de investigación académica de las universidades.
De esta manera, en el siglo XX se formaron enormes conglomerados que englobaron investigación, desarrollo, administración y financiamiento en una industria. La historia del siglo XX incluye de manera importante la historia del desarrollo de este tipo de conglomerados. Hemos de mencionar que estas corporaciones surgieron principalmente en Estados Unidos, algunos países de Europa como Francia, Alemania, Gran Bretaña, Italia, Holanda, Bélgica, así como en Japón. De hecho, una característica que distingue a un país desarrollado es que cuente con laboratorios industriales.
Así como evolucionó la industria de la energía eléctrica, otras ramas científico-tecnológicas, como la telefónica, la electrónica, la automotriz, la química, etc., siguieron un patrón similar.
25. El radar y la batalla de Inglaterra.
Revisemos un poco la historia para poner en contexto el descubrimiento y desarrollo del radar. Desde principios de la década de 1980, tanto la Gran Bretaña como Francia continuaban un programa muy importante de desarme que habían empezado la década anterior; en contraste, Alemania, contraviniendo lo estipulado en el Tratado de Versalles inició, con el advenimiento del régimen nazi, un amplio programa de rearme. Los ingleses y franceses creyeron que con una política pacifista controlarían las ambiciones expansionistas alemanas. En pocos años se desarrolló un arma muy poderosa para su época, el bombardero aéreo. El primer ministro británico, Stanley Baldwin, había pronunciado ya en 1932: "Creo que el hombre común debería darse cuenta de que no hay poder sobre la Tierra que lo pueda proteger del bombardeo aéreo. Sea lo que sea lo que se diga, el bombardero siempre pasará." Ante este hecho se presentó una alternativa: o cada país desarrollaba un cuerpo de bombarderos aéreos, de tal manera que otros países se disuadieran de atacar ante la posibilidad de también ser bombardeados; o se llevaba a cabo un desarme general. Gran Bretaña optó por esto último, pero no Alemania. Por otro lado, en la misma década de 1930 fue muy popular el concepto del rayo de la muerte en muchas versiones: podía causar incapacidad física, mental o de otro tipo, y aun la muerte. En un sinnúmero de cuentos, de tiras cómicas, de películas se presentaron rayos desintegradores, rayos caloríficos, rayos que aturdían, etc., cuya popularidad se basaba, en parte, en la creencia de que había más verdad que fantasía en los dispositivos que los producían; sin embargo, no tenían fundamento científico.A pesar de esto, durante dicha década hubo un buen número de personas que pretendieron haber inventado y construido dispositivos que producían diferentes tipos de rayos. Pero análisis detallados invariablemente mostraban que siempre había algún truco en ellos. El ministro del aire británico llegó a ofrecer una recompensa de mil libras esterlinas al que inventara un dispositivo que pasara la prueba científica. Nadie ganó este dinero.
Como se ha visto en el capítulo XX, existen los rayos catódicos, que son electrones que se emiten de una placa metálica al ser calentada. Sin embargo, un haz de estas partículas no pueden tener las consecuencias que se asignan popularmente al rayo de la muerte.
El interés del gobierno británico por este rayo fue muy grande en 1935. Esto se debió a que después de una serie de maniobras militares para probar las defensas de Londres se convenció de que no tenía defensa contra ataques de bombarderos aéreos. Como una ola pacifista había invadido al país, mucha gente no puso atención a esto, a pesar del rearmamento de Alemania. Sin embargo, un pequeño grupo dentro del Ministerio del Aire sí se preocupó por esta situación y se creó un centro científico para investigar la forma de mejorar las defensas aéreas de la capital inglesa.
Se probaron diferentes tipos de localizadores de bombarderos. Por ejemplo. se construyó un pequeño sistema acústico, que daría una señal cuando recibiera los sonidos producidos por los aviones atacantes. Muy pronto se dieron cuenta de que este sistema no era funcional ya que no podía distinguir entre el ruido producido por el atacante y otros sonidos, automóviles, animales, etcétera.
El centro analizó todo tipo de propuestas, en particular revisó la bibliografía existente al respecto pero no encontró nada que le sirviera. Parecía que la única salida sería construir más y más bombarderos para disuadir a los posibles enemigos. Esta salida no tenía futuro en la Gran Bretaña de los treintas, ya que entonces nadie quería saber nada de un rearme.
Algunas de las pocas personas que se daban cuenta del peligro que representaba la Alemania nazi, como Winston Churchill, temían que la población de la isla, sin tener hacia dónde escapar, sufriera un ataque aéreo impune. La única fuerza efectiva que tenían entonces, la Marina Real, era cada vez más vulnerable a posibles ataques aéreos; por tanto, estaban desesperados pues creían que si nada se hacía perderían la siguiente guerra.
Algunas de estas personas preocupadas iniciaron algunos movimientos dentro del Ministerio del Aire, pero debido al ambiente pacifista existente, debieron hacerse de manera secreta. De esta forma, después de una serie de memoranda que se enviaron a diferentes jefes y directores, finalmente H. E. Wimperis, jefe de Investigadón Científica e Industrial del Ministerio, llamó al doctor Robert Watson Watt, físico y director del Laboratorio de Investigación de Radio y le preguntó sobre el prospecto de desarrollar algún rayo de la muerte. Watson Watt regresó a su laboratorio y propuso el siguiente problema al doctor Arnold Wilkins, también físico y ayudante suyo: calcule la cantidad de potencia de radiofrecuencia (la que emiten los aparatos de radio) que es necesario radiar para elevar la temperatura de 4 litros de agua de 35.5° C a 41°C a una distancia de 5 km y a una altura de 1 kilómetro.
La idea de Watson Watt, que no le dijo a Wimperis, fue que en algunas discusiones sobre los rayos de la muerte, el énfasis había pasado, de la capacidad de causar muertes misteriosas, a la posibilidad bien precisa de enviar un haz que contuviese suficiente energía al cuerpo del piloto del avión bombardero para "hacer hervir su sangre". Watson Watt se dio cuenta de que esto era mucho pedir y que sólo sería necesario elevar la temperatura del piloto atacante a 41°C aproximadamente, para que, al provocarle fiebre, quedara incapacitado.
Wilkins pensó inteligentemente que, como el cuerpo humano contiene alrededor de 4 litros de sangre y químicamente hablando es casi agua, un rayo que elevara su temperatura a 41°C por radiación de radiofrecuencia sería equivalente a uno de la muerte. Como lo escribió el propio Wilkins:
Mi cálculo mostró que, como era de esperarse, se necesitaba generar una potencia enorme a cualquier frecuencia de radio para producir fiebre en el cuerpo de un piloto de avión, aun en el improbable caso de que su cuerpo no estuviera protegido por el metal del fuselaje [...] Como nada cercano a dicha potencia se podía producir, era claro que no era factible un rayo de la muerte por medio de la radio.Esta última observación, hecha en enero de 1935, dio lugar al inicio de una serie de hechos que culminaron con la invención del radar.
Le dije esto a Watson Watt al darle mi cálculo y me respondió, "Bien, si un rayo de la muerte no es posible, ¿cómo podemos entonces ayudarles?" Yo contesté que los ingenieros de la Oficina de Correos se habían dado cuenta de perturbaciones en la recepción de muy altas frecuencias cuando algún avión volaba en la vecindad de sus receptores y que este fenómeno podría ser útil para detectar aviones enemigos.
Los hechos relacionados con la Oficina Postal a los que Wilkins se refirió habían sido observados en muchos otros lugares y en todos ellos se consideró esta perturbación como una molestia, un estorbo que mucha gente había tratado de eliminar. De hecho, en 1932 la Oficina Postal Británica publicó un informe en el que sus científicos documentaron los diferentes fenómenos naturales que afectaban la intensidad de la señal electromagnética recibida: tormentas eléctricas, vientos, lluvia y el paso de un aeroplano en la vecindad del laboratorio. El informe contenía un capítulo intitulado "Interferencia por aeroplanos". Wilkins lo había leído y se acordó de él cuando dio su respuesta a Watson. Wilkins conoció este informe de manera accidental, en una conversación de café con la gente que trabajaba en la Oficina Postal, que se quejaban de la interferencia de los aviones, como alguien se queja de los mosquitos. A nadie se le había ocurrido utilizar este hecho, hasta que Wilkins se acordó de él a raíz de la pregunta de Watson Watt.
Los científicos que escribieron el informe de la Oficina Postal estaban estudiando la capa ionosférica de Heaviside-Kenelly (véase el capítulo XVIII); que refleja ondas de radio, para utilizarla en telecomunicaciones. Por ello enviaban ondas hacia la atmósfera, y cuando algo interfería con la recepción de la señal reflejada se molestaban. En forma casual mencionaron en el informe, a manera de explicación, que al interferir un aeroplano con la señal de radio, el avión la absorbe y la vuelve a emitir, reflejándola. No habían puesto mayor atención al hecho, y se lo mencionaron en una ocasión a Wilkins, cuando éste tomaba un café con ellos, en una visita que les hizo para probar un aparato de radio en su laboratorio.
En varios lugares y en distintas épocas, diferentes investigadores e ingenieros ya habían detectado la interferencia mencionada. En muchos casos no se le dio mayor importancia y mucho menos se pensó en alguna aplicación. En otros casos, a pesar de que las personas que lo descubrieron pensaron en una posible aplicación, las oficinas gubernamentales que hubieran podido apoyarlos no se interesaron. Por ejemplo, en Alemania, la falta de interés se debió a que los militares alemanes nunca creyeron en que alguien tendría la capacidad y la osadía de atacar las ciudades alemanas, por lo que no vieron la necesidad de un instrumento defensivo. Los conceptos e ideas físicas que harían surgir al radar "estaban en el aire" hacia 1935. Si no hubiesen sido trabajados y desarrollados por Wilkins y Watson Watt seguramente otros lo hubieran hecho, pero la idea fructificó en la Gran Bretaña, y justo a tiempo para los ingleses, como veremos más adelante.
Cuando Wilkins sugirió la posibilidad de utilizar el fenómeno de interferencia de ondas de radio para detectar la llegada de aviones enemigos, Watson Watt lo comisionó inmediatamente para trabajar en el cálculo de los aspectos cuantitativos. Wilkins calculó la intensidad de la señal de radio que regresaría, dada la intensidad de la señal enviada por el detector, y concluyó que el resultado dependía de la longitud de onda que se utilizara. Sabía que un objeto dispersa y refleja ondas electromagnéticas de la manera más efectiva cuando su tamaño es igual al de la longitud de onda. De hecho, ésta es una manifestación de la resonancia (véase el capítulo XVII). Wilkins supuso qué un bombardero típico de la época, tomando en cuenta las posibilidades previstas de cambios, tenía una envergadura (o sea, la distancia del extremo de una ala al otro) de aproximadamente 25 m, por lo que al reflejar las ondas el avión de hecho sería una antena igual a una varilla con una longitud de onda resonante fundamental al doble de su longitud, o sea de 50 metros.
Wilkins partió del supuesto de que contaba con un emisor de la potencia disponible (1 kilowatt) y de longitud de onda de 50 m. Si la antena emisora fuera una varilla de 25 m colocada a 18 m sobre el suelo, calculó la intensidad del campo electromagnético que llegaría a un avión que estuviese a una altura de 6 km y a una distancia horizontal de 6 km. Con esta intensidad calculó la corriente eléctrica que el campo incidente induciría en las alas del avión, que sería aproximadamente de 1.5 miliamperes. En seguida calculó la intensidad de la onda electromagnética que produciría esta corriente eléctrica, al actuar las alas como antena emisora de ondas. Finalmente obtuvo la potencia de la onda que recibiría de regreso la antena terrestre. Encontró que esta potencia era diez mil veces mayor que la requerida para comunicaciones por radio, por lo que sí podría ser detectada con los aparatos existentes en la época. En otras palabras, la idea podría funcionar. Nótese que Wilkins pensó en que se emitiera una onda y se detectara el eco que produjera el avión.
Al terminar sus cálculos, a Wilkins le pareció increíble que el efecto deseado pudiera detectarse; revisó sus cálculos y no encontró ningún error y se los dio a Watson Watt, a quien le parecieron fantásticos y nuevamente verificó los cálculos matemáticos. Al no encontrar ningún error, sólo dos semanas después de su conversación con Wimperis, le envió un memorándum informándole los resultados. El hecho de que un rayo de la muerte no fuera factible no le sorprendió a Wimperis, sin embargo sí le atrajo la idea de poder detectar un avión. Como no estaba muy convencido de que la idea funcionara revisó los cálculos, sin encontrar ningún error; pero como aún desconfiaba los hizo revisar nuevamente por su asistente, que tampoco encontró objeción alguna.
En vista de lo anterior se inició la verificación experimental, que se encomendó a Wilkins. Éste utilizó un aparato que solamente emitía ondas de 49 m, que consideró útil para la prueba. Se arregló que un avión militar volara en determinado curso, desconocido por Wilkins. Con su rudimentario equipo Wilkins pudo detectar y dar la trayectoria que había seguido el avión. El éxito fue notable y con ello se obtuvieron las primeras partidas presupuestarias para realizar un proyecto de gran importancia que duró de 1935 a 1940.
La idea del funcionamiento del radar es la siguiente: si se emite una onda hacia un objeto, y se sabe la velocidad con que se propaga la onda, midiendo el tiempo que tarda en regresar la onda reflejada, el eco, se puede saber la distancia a la que se encuentra el objeto. Una gran ventaja de utilizar ondas electromagnéticas es que, como se propagan a una velocidad extremadamente grande, la de la luz, es instantánea la detección para todos los propósitos prácticos.
Uno de los primeros aspectos que resolvieron fue la presentación visual de la información recibida. Para ello emplearon el tubo de rayos catódicos que se utilizaba en física (véase el capítulo XXII). El grupo modificó este tubo para utilizarlo en el radar. Usaron dos conjuntos de placas desviadoras del haz de electrones (Figura 44). Un conjunto desvía el haz horizontalmente de manera continua y sirve para marcar el tiempo desde el instante en que se emite la onda; este tiempo es proporcional a la distancia del objeto, por lo que la traza horizontal en la pantalla es una medida de la distancia. El otro conjunto está conectado a la antena receptora de la señal reflejada por el objeto; cuando se recibe la señal en el tubo el haz marca en la pantalla un pulso. En la figura, el primer pulso, el de la izquierda, indica la señal emitida por la estación, mientras que el segundo pulso, el menor, es el reflejado por el objeto. La posición en el tubo del segundo pulso da una medida de la distancia.

Figura 44. Esquema de un tubo de radar.
En esa época se instalaron las primeras cinco estaciones que funcionaron las 24 horas. Para ese entonces ya se había colocado un gran número de torres con antenas en parte de la costa inglesa frente al continente. Otro problema que también se resolvió fue la incapacidad de distinguir entre un avión enemigo y uno propio, o sea la llamada dentificación-amigo-enemigo. La solución fue relativamente sencilla. Se instalaron en los aviones ingleses dispositivos electrónicos que al recibir la onda enviada desde tierra emitían a su vez una señal especial que los identificaba como amigos.
Debido a la gran velocidad de propagación de las ondas electromagnéticas, cuando recibían la señal de que se aproximaba un avión enemigo, los ingleses tenían tiempo suficiente para enviar sus cazas a esperarlos.
La forma de operación fue la siguiente: una vez detectado un avión enemigo por el radar, la estación transmitía telefónicamente la información a un centro situado en Londres. Este decidía qué escuadrones debían hacer frente al ataque y mandaba la orden con los datos obtenidos a la base correspondiente.
De esta manera, en agosto de 1939, tres semanas antes del inicio de la segunda Guerra Mundial, Gran Bretaña contó con un sistema de detección de aviones. La guerra empezó en el verano de 1940 y cuando los bombarderos alemanes llegaron al cielo británico encontraron pequeños grupos de cazas esperándolos. Con ayuda del radar, los ingleses podían detectar la salida de los aviones alemanes desde sus bases situadas en países conquistados, como Francia y Bélgica, lo que les daba tiempo suficiente para despegar y esperarlos sobre el Canal de la Mancha.
Debido a la política de desarme seguida por Gran Bretaña, el número de cazas disponibles era pequeño, pero el radar hizo posible que el ataque a los bombarderos alemanes fuera preciso, adquiriendo así gran eficiencia en la defensa aérea inglesa.
Los alemanes sabían que los ingleses contaban con pocos aviones cazas y creyeron que iba a ser tarea fácil destruirlos e invadir la isla. En consecuencia, en el verano de 1940, después de la caída de Francia, con sus primeros ataques aéreos se proponían acabar con los aviones en sus bases. Sin embargo, lo que destruyeron fueron solamente edificios, ya que con el aviso proporcionado por el radar los aviones no estaban en tierra cuando los alemanes llegaban, sino en el aire, y en muchos casos esperándolos.
Las esperanzas de los alemanes se desvanecieron. Posteriormente, a fines de 1940, cometieron un tremendo error estratégico; empezaron a bombardear Londres y otras ciudades británicas, con lo que dieron un importante y vital respiro al abastecimiento y reconstrucción de las bases aéreas. Como consecuencia la llamada Batalla de Inglaterra fue ganada por los aviones ingleses, ayudados de manera esencial por el radar.
Mucho tiempo después, cuando ya habían perdido la Batalla de Inglaterra, el alto mando alemán se percató de que fue el radar el que ayudó a los cazas ingleses a descubrir por anticipado dónde se efectuaría un ataque. Si se hubiesen dado cuenta de ello durante la batalla hubiese sido relativamente fácil destruir las torres que tenían las antenas del radar y que estaban a lo largo de la costa, frente al continente. De hecho, sí las habían detectado pero no sabían su función y no les dieron ninguna importancia.
La disponibilidad del radar surgió justo en el momento oportuno para los ingleses. Si el radar hubiese llegado a ser operacional algunos años antes, mantener en secreto su propósito hubiese sido difícil, y con toda seguridad los alemanes lo habrían descubierto e integrado dentro de sus cálculos militares; la destrucción de las antenas hubiese sido un asunto muy fácil. Por otro lado, si se hubieran tardado unos meses más en perfeccionar su eficiencia, los ingleses habrían perdido la Batalla de Inglaterra, con lo que los alemanes habrían invadido la isla y el mundo hubiera sido otro.
Nunca antes en la historia una invención había tenido un papel tan significativo en el resultado de una batalla, al grado de que cambió el curso de la segunda Guerra Mundial. Podría decirse que el radar fue inventado no una sino varias veces en varios países y en distintas épocas, pero fue en una sola ocasión cuando se pudo hacer efectiva la diferencia entre la derrota y la victoria.
26. El magnetrón. Las microondas.
A pesar de que el radar ayudó a los ingleses a ganar la Batalla de Inglaterra, desde el inicio sus inventores se dieron cuenta de que tenía serias desventajas, que se hicieron manifiestas durante las batallas de 1940.En primer lugar, por su tamaño, el radar no se podía llevar en avión; como se recordará, la antena necesitaba una longitud de 25 m aproximadamente.
En segundo lugar, el haz de ondas electromagnéticas emitidas por las antenas tenía cierta anchura y lo único que se podía informar a los pilotos es que dentro de esa anchura se había detectado un enemigo. Sin embargo, esta anchura abarcaba una distancia de alrededor de 100 m, tanto hacia arriba como hacia abajo, a partir del centro. Durante el día no había problema, ya que una vez situado el avión en el centro de la pantalla del radar el aviador podía buscar visualmente dónde se encontraba el enemigo. Pero en la noche esto no funcionaba, la única forma de atacar un avión enemigo era tenerlo a una distancia muy pequeña y no a cien metros.
Para vencer este obstáculo era necesario utilizar ondas electromagnéticas de longitudes de onda que no fueran de decenas de metros, sino de algunos metros, o todavía mejor, de centímetros, es decir, longitudes de onda extremadamente pequeñas, lo que significa ondas de muy altas frecuencias. Con estas longitudes de onda es posible detectar objetos muy cercanos. A estas ondas se le llama microondas.
Había varias ventajas si se usaban longitudes de onda más pequeñas: una era que la anchura del haz disminuye con la longitud de onda y por tanto se podría detectar con más precisión al enemigo; otra, que la antena sería mucho más pequeña y que el radar podría llevarse en el avión.
Por otro lado, con el equipo de que se disponía en esa época, a medida que se disminuía la longitud de onda, disminuía también la potencia de la onda emitida, lo cual era muy inconveniente.
Trataron de resolver este problema de una forma completamente distinta. Después de sortear varios obstáculos políticos que no viene al caso discutir aquí, se asignó el proyecto de investigación al profesor Mark Oliphant, del entonces recién creado Departamento de Física de la Universidad de Birmingham. Éste a su vez invitó al profesor John Randall y al estudiante Henry Boot. El grupo empezó a analizar el problema en el verano de 1939.
Necesitaban inventar un dispositivo que pudiera generar ondas de muy altas frecuencias.
Encontraron que en 1916 un joven estadounidense, Albert W. Hull, que había estudiado física y literatura griega en la Universidad de Yale, había inventado el magnetrón cuando trabajaba en el laboratorio de investigación de la General Electric. Se encontraba en ese proyecto porque como la compañía ATT había demandado judicialmente la patente del tubo al vacío que había presentado la General Electric, esta última quería encontrar alguna opción, en tanto se dirimía el problema legal.
Como se recordará (véase el capítulo XX) en un triodo el flujo de electrones entre el cátodo (donde se generan los electrones) y el ánodo (que los recibe) se controla por medio de la carga eléctrica aplicada en la rejilla que se encuentra entre los elementos mencionados. Según el voltaje que se aplique a la rejilla, el flujo puede pasar, inhibirse o suspenderse completamente. Hull pensó en la posibilidad de controlar este flujo por medio de un campo magnético. Se le ocurrió un dispositivo con un cátodo formado por un cilindro metálico (Figura 45) en el centro, y el ánodo formado por otro cilindro hueco, también metálico, concéntrico con el anterior, entre los que se establece un voltaje por medio de una batería. El campo magnético lo estableció paralelo al eje del conjunto. Así, un electrón que saliera del cátodo, en lugar de seguir una línea directa hacia el ánodo, como ocurre en el triodo, seguiría, debido al campo magnético, una trayectoria en espiral. Dependiendo de las características del campo, como su intensidad y la forma en que varíe con el tiempo, estas espirales pueden tomar muchas formas. Puede que algunas partan del cátodo pero no lleguen al ánodo, con lo que, en este caso, el flujo de electrones será suspendido. Vemos así que la corriente eléctrica entre los elementos puede ser controlada por el campo magnético, y por tanto, este dispositivo, al que se le llamó magnetrón, funciona como un triodo.

Figura 45. En un magnetrón un campo magnético a lo largo del eje modifica la trayectoria de los electrones que se emiten del cátodo.
En 1939 el grupo de Birmingham encontró un trabajo sobre el magnetrón. Se basaron en el principio de este dispositivo pero le añadieron otra idea ingeniosa fundamentada en el fenómeno de resonancia (véase el capítulo XII). Para entender lo que hicieron consideremos lo que ocurre cuando soplamos un silbato. Dentro del silbato hay un pequeño objeto duro que está suelto en la cavidad y al soplar se mueve de un lado a otro, choca con las paredes, y así genera ondas sonoras de muchas frecuencias. Sin embargo, debido a la resonancia, solamente aquellas ondas que tienen longitudes de onda comparables con las de la cavidad sobreviven, mientras que las otras se amortiguan. El resultado es que se oyen sonidos de ciertas frecuencias que quedan determinadas por las dimensiones de la cavidad. Así, un silbato con una cavidad grande emite ondas de longitud de onda grande, o sea de frecuencia pequeña, y oímos sonidos graves. Un silbato pequeño produce longitudes de onda pequeñas que corresponden a frecuencias grandes, así oímos un sonido agudo.
Boot y Randall aplicaron esta idea. Para ello construyeron en un pequeño bloque de cobre un magnetrón, pero dentro del ánodo hicieron cavidades de dimensiones muy precisas (Figura 46). Al aplicar una corriente eléctrica entre el cátodo y el ánodo, y además un campo magnético a lo largo del eje del magnetrón, lograron que los electrones se movieran dentro del espacio de interacción. Estos electrones rebotan por el campo magnético y por tanto se aceleran. En consecuencia emiten ondas electromagnéticas de muchas frecuencias. Sin embargo, debido a que estas ondas entran en las cavidades, por resonancia solamente perduran las que tienen longitudes de onda comparables con las dimensiones de las cavidades, mientras que las otras desaparecen; todo esto ocurre en forma análoga al funcionamiento de un silbato. Construyeron las cavidades con dimensiones de centímetros, por lo que produjeron ondas centimétricas, o sea microondas, que corresponden a frecuencias muy altas. Al emitir radiación, los electrones pierden energía; la energía que tienen las microondas proviene de estos electrones, que a su vez la adquieren de la fuente externa que provee el voltaje entre el cátodo y el ánodo. Este voltaje puede ser continuo y el aparato produce una radiación que varía con el tiempo.

Figura 46. Esquema de un aparato que produce microondas.
El magnetrón fue el dispositivo clave para desarrollar un sistema de radar que pudiera ser transportado en un avión. Sin embargo, la producción industrial de este aparato se realizó dos años más tarde. Con este nuevo radar desaparecieron las objeciones antes mencionadas. Los cazas ingleses pudieron enfrentar cada vez con más éxito los ataques nocturnos, hasta que llegó un momento en que las pérdidas alemanas fueron tan grandes que suspendieron los ataques a la isla.
En 1940 Gran Bretaña y Estados Unidos habían convenido en intercambiar y participar de manera conjunta en el desarrollo de diferentes proyectos de carácter científico-industrial-militar. Los ingleses propusieron que se desarrollaran en Estados Unidos diferentes tipos de radar, para lo cual se abrió el Radiation Laboratory en el Instituto Tecnológico de Massachusetts, en noviembre de 1940. De esta manera se pudo desarrollar y posteriormente construir un gran número de tipos de radar.
La palabra radar es una sigla de la expresión en inglés: radio detection and ranging, que quiere decir detección de radio y alcance. Este nombre se lo pusieron los estadounidenses, pues originalmente los ingleses lo llamaron de otra forma.
Después de la guerra se han utilizado las microondas en muchas aplicaciones, una de ellas muy conocida en la actualidad es la de los hornos. Su funcionamiento se basa en el hecho de que la radiación electromagnética de muy alta frecuencia tiene mucha energía, por lo que hay una transferencia de calor muy grande a los alimentos en poco tiempo.
27. Las primeras computadoras electrónicas
Desde tiempos inmemoriales el hombre tuvo necesidad de realizar diferentes operaciones aritméticas así como de guardar información. Poco a poco se fue ingeniando para que estas necesidades, en muchas ocasiones rutinarias, fueran realizadas en formas mecánicas. Así, inventó el ábaco y posteriormente, ya en el siglo XVII, las primeras máquinas mecánicas que podían efectuar sumas y restas.En las últimas dos décadas del siglo pasado diversos gobiernos realizaron censos de la población que diferían de los anteriores, en los que simplemente contaban el número de individuos que vivían en un país. Sin embargo, para finales del siglo XIX, esto se hizo difícil en vista de las grandes cantidades de habitantes. Pero además de contar, los gobiernos también querían saber la forma en que la población estaba distribuida en diferentes categorías, como por ejemplo sexo, edades, ocupaciones, etc. Herman Hollerith (1860-1929), un ingeniero de minas y además estadístico estadounidense, inició la mecanización del conteo de los censos. Utilizó tarjetas perforadas que eran contadas por un dispositivo que hacía pasar una corriente eléctrica a través de la tarjeta. Si había una perforación entonces se cerraba un circuito y se operaba un contador electromecánico. Este sistema fue utilizado por primera vez para estadísticas de mortalidad en Baltimore en 1886 y posteriormente en el censo de Estados Unidos de 1890.
Hacia la década de 1930 ya se habían construido máquinas calculadoras completamente automáticas; eran electromecánicas y usaban tarjetas perforadas como fuentes de información.
No obstante una gran desventaja de las máquinas electromecánicas era que tenían muchas partes móviles que hacían lentos los cálculos y además eran muy ruidosas. Mucha gente intentó construir una calculadora con componentes electrónicos.
No fue sino hasta 1946 cuando se completó la primera computadora electrónica que no tenía ningún elemento movible. Este aparato, construido en el Moore School of Electrical Engineering de Filadelfia, EUA, por J. P. Eckert y J. W. Mauchly, tenía 18 000 tubos al vacío y recibió el nombre de ENIAC, las iniciales de su designación en inglés, "Electronic Numerical Integrator and Calculator", que significa calculadora e integradora numérica electrónica. El ENIAC podía almacenar solamente 20 números de 10 dígitos y realizaba 7.5 operaciones por segundo, 180 veces más rápida que las más veloces calculadoras electromecánicas de su época.
Entre 1946 y 1951 se construyeron 20 computadoras electrónicas tanto en Estados Unidos como en Gran Bretaña, que usaban tambores magnéticos como dispositivos para almacenar información.
28. Una revolución. Se inventan los transistores
Una vez que se acabó la segunda Guerra Mundial se inició en los Bell Laboratories, en Estados Unidos, un programa de investigación básica sobre teoría de sólidos. Uno de los resultados de este esfuerzo fue el transistor. En esa época la teoría cuántica, es decir, la teoría física que describe los fenómenos microscópicos ya estaba bien establecida.[1]La teoría cuántica había abierto la posibilidad de entender las propiedades de los sólidos a partir de su estructura atómica. La dirección de los laboratorios Bell esperaba que a través de un proyecto de investigación interdisciplinaria se adquirieran suficientes conocimientos acerca de los sólidos para diseñar y fabricar materiales que se utilizaran en el desarrollo de nuevos y mejorados componentes y elementos para sistemas de comunicaciones.
Se formó el grupo para investigar los semiconductores, que estuvo integrado por los físicos Walter H. Brattain (1902- ), William Schockley (1910-1990), John Bardeen (1909- ), Gerald Pearson y el físico-químico Robert Gibney. Tanto Shockley como Barden habían estudiado a fondo la teoría cuántica mientras que Brattain había llevado un curso de posgrado en la materia.
En 1945 formaron otros grupos de estudio de semiconductores para estar al día en el campo. Se dieron cuenta de que durante la guerra se habían logrado notables avances en la utilización de los semiconductores silicio y germanio como detectores para el radar. Se había tenido que recurrir a estos semiconductores porque en el radar se empleaban señales eléctricas de muy alta frecuencia que los tubos al vacío, con todos los adelantos logrados, no podían manejar adecuadamente. Recordemos que en la primera parte del presente siglo ya se habían usado semiconductores (la galena, por ejemplo) como detectores de ondas electromagnéticas antes del invento del tubo al vacío. Durante la guerra varios laboratorios habían logrado progresos en la comprensión del comportamiento de los semiconductores, así como en la preparación de muestras de silicio y germanio.
Las propiedades eléctricas de las sustancias dependen del grado de libertad que tengan sus electrones. Para esto baste decir que los electrones de los átomos están acomodados alrededor del núcleo en capas, y en cada una hay un número máximo de electrones: dos en la primera capa, ocho en la segunda, 18 en la tercera, etc. Los electrones de un átomo van ocupando sucesivamente las capas, a partir de la interior, hasta llegar a agotar los electrones. Entonces, si un átomo tiene, digamos, ocho electrones (que corresponde al elemento oxígeno), dos ocupan la primera capa y los seis restantes ocupan la segunda; por lo tanto, en el oxígeno la última capa no queda completa. En la figura 47 se muestra un diagrama esquemático de la estructura de capas de los primeros once átomos de la tabla periódica. Así, el litio (Li) tiene solamente un electrón en su capa externa; el boro (B) tiene tres; el carbón, cuatro; el neón, ocho, o sea que queda completa. Con base a estos hechos se construye la tabla periódica de los elementos. Hemos de mencionar que en el siglo pasado el ruso Dimitri Mendeléev (1834-1907) ideó esta tabla en forma empírica, y que sólo pudo ser explicada con fundamento una vez que se aplicó la mecánica cuántica a la estructura atómica en el presente siglo.

Figura 47. Estructura de las capas electrónicas de algunos átomos.
Los átomos que tienen capas externas llenas de electrones ejercen una fuerte atracción sobre ellos y por tanto no son buenos conductores de electricidad. Para que sirvieran a este propósito se requerirían fuerzas muy elevadas sobre los electrones externos, que implicaría aplicar voltajes muy altos a la sustancia. Los elementos que tienen sus capas externas completas son el helio, el neón, el argón, etc., llamados gases nobles.
Los átomos y moléculas son entes que tienen niveles de energía bien definidos para cada uno de ellos. El estado que tiene el valor más bajo de la energía se llama base, mientras que los estados con valores mayores de la energía se llaman excitados (Figura 48). A la secuencia de niveles mostrada en la figura se le llama el espectro de energía del átomo en cuestión. Distintos átomos tienen diferentes espectros de energía. En cualquier instante el átomo solamente puede tener una de las energías de sus niveles, es decir, el átomo no puede poseer una energía que tenga un valor que se encuentre entre dos valores de sus niveles. Se dice que la energía está cuantizada. Si el átomo experimenta determinado proceso es posible que cambie su energía, por ejemplo, a causa de una colisión con otro átomo, de una descarga eléctrica, de calentamiento, etc. En este caso, el átomo puede pasar del nivel de energía en que se encuentra a otro nivel, por ejemplo pasar del estado base al primer estado excitado, o al segundo, etc., pero solamente puede empezar y terminar en él alguno de sus niveles permitidos. Esto significa que en las transiciones del átomo, los cambios de energía que puede experimentar son iguales a las separaciones (DE)1, (DE)2 etc., que corresponden a las diferencias de las energías entre cualquier pareja de sus niveles (Figura 48). Así, se dice que hay una transición entre los niveles involucrados. Por otro tipo de motivos que no vienen al caso, puede ocurrir que alguna de estas transiciones esté prohibida.

Figura 48. Espectro de energía de un átomo.
Hasta este momento hemos hablado solamente de átomos aislados, que no experimentan ninguna fuerza. Sin embargo, cuando los átomos forman un sólido ocurren fenómenos colectivos entre ellos puesto que sus densidades son muy altas, lo que significa que están muy juntos, por lo que las fuerzas que ejercen unos sobre otros son de gran consideración; como consecuencia, los niveles de energía de los electrones se modifican considerablemente. Ahora, en lugar de tener un conjunto de valores bien precisos, se forman intervalos de energías permitidas separados por valores de energía que son prohibidos. En la figura 49 se muestra un diagrama de la energía de un sólido hipotético. En este caso, los electrones pueden tener energías entre los valores E1 y E2, entre E3 y E4 etc. Sin embargo, no pueden tener energías entre E2 y E3. Al dominio de energías que sí pueden ser adquiridas se les llama bandas permitidas y al dominio en que no pueden tenerlas se les llama bandas prohibidas. Se dice que los sólidos tienen una estructura de bandas. Ahora bien, los electrones que tienen los átomos de un sólido van ocupando las bandas permitidas de abajo hacia arriba consecutivamente, de manera análoga a como lo hacen en átomos aislados. Una vez que se ocupa una banda, los electrones restantes, si es que los hay, empiezan a ocupar la siguiente banda permitida.

Figura 49. En un sólido, el espectro de energía forma bandas tanto permitidas como prohibidas.
A las bandas que se ocupan completamente se les llama bandas de valencia y a las que se ocupan parcialmente se les llama de conducción.
Otra posibilidad es que los electrones de un sólido llenen completamente las bandas permitidas y al completar la última ya no haya más electrones disponibles. Por la tanto la siguiente banda permitida, que sería de conducción, queda vacía. Pueden ahora darse dos casos.
- En el primero, la separación de DE entre la última banda de valencia (completa) y la de conducción (vacía) es muy grande. En este caso, para que un electrón que está en la parte superior de la banda de valencia pueda pasar a la de conducción tiene que adquirir por lo menos la energía DE, que en general es muy difícil de dar externamente. Hay varias maneras de proporcionar esta energía: por medio de un voltaje, que en nuestro caso sería extremadamente alto, o bien, aumentando la temperatura del sólido, que también tendría que ser un aumento desproporcionado. En consecuencia, los electrones quedan bien unidos a los átomos y no pueden dar lugar a una corriente eléctrica. Este es el caso de un aislador.
- El segundo caso es cuando la separación entre la última banda de valencia (completa) y la de conducción (vacía) es muy pequeña. Si la temperatura es relativamente baja no hay electrones en la banda de conducción y por consiguiente la sustancia se comporta como un aislador. Sin embargo, con una energía muy pequeña que se le proporcione, por ejemplo, con un pequeño voltaje o bien con un ligero aumento de temperatura, varios electrones pasarán a la banda de conducción sin llenarla, y por tanto, la sustancia se comportará como un conductor. A este tipo de sólidos se les llama semiconductores. En su fase sólida el germanio y el silicio son ejemplos de semiconductores.

Figura 50. La última capa de un semiconductor (en este caso germanio, Ge) tiene cuatro electrones, que son compartidos con el átomo vecino. Esto es la covalencia. Los circulos negros denotran electrones.

Figura 51. Una impureza de fósforo (P) permite que haya un electrón libre, que sirve para conducir la electricidad.

Figura 52. Una impureza de boro (B) da lugar a un déficit de un electrón, que equivale a un agujero positivo.

Figura 53. Al moverse las monedas hacia la izquierda, el agujero se mueve a la derecha.
Juntemos dos bloques, uno de semiconductor P y otro N. La magnitud de la corriente eléctrica que fluya depende del sentido del voltaje aplicado. Si el bloque P se conecta a la terminal positiva de una batería (Figura 54) y el N a la terminal negativa, entonces ocurre lo siguiente: como en el bloque P hay agujeros positivos, éstos son repelidos hacia el bloque Ny atraídos hacia la terminal negativa B; por tanto, hay una corriente de agujeros de A a B, es decir, a través del dispositivo y llegan a la batería. Por otro lado, en el bloque N hay electrones negativos que son repelidos por B y atraídos por A; en consecuencia, los electrones fluyen de B a A cruzando el dispositivo y llegando a la batería. En resumen, hay una doble corriente eléctrica: de electrones negativos de B a A y de agujeros positivos de A a B. Estas corrientes son, en general, apreciables.

Figura 54. Un bloque N y otro P unidos permiten el paso de corriente eléctrica si están conectados a la batería como se muestra.
En resumen, en el dispositivo mostrado en la figura 54 solamente circula electricidad cuando la polaridad de la batería es la que se muestra en la figura, mientras que si se invierte la polaridad, no hay corriente. Se puede también pensar que este fenómeno ocurre debido a que la resistencia del dispositivo no es la misma cuando la corriente circula en un sentido que cuando circula en el opuesto. En un sentido la resistencia es muy pequeña y por tanto es fácil que circule electricidad, mientras que en el sentido opuesto la resistencia crece enormemente impidiendo la corriente eléctrica. De esta forma se consigue un dispositivo que funciona de manera similar al diodo construido con un tubo al vacío (descrito en el capítulo XX) y recibe el nombre de diodo semiconductor; debido a sus propiedades descritas se utiliza como rectificador de corriente (véase de nuevo el capítulo XX).
Supóngase ahora que construimos otro dispositivo como el que aparece en la figura 55, que consiste en dos bloques semiconductores tipo N y uno extremadamente delgado de tipo P; el bloque P, llamado base (denotado por B), queda entre los dos N. Si ahora se conecta uno de los bloques N, llamado emisor (denotado por E), a la terminal negativa de una batería, y el otro bloque N, llamado colector (denotado por C), a la positiva, entonces los electrones del emisor son repelidos por A y atraídos por D, por lo que cruzan la base y llegan al colector, dando lugar a que haya una corriente en el circuito a través de la batería (y si hubiera una carga como una resistencia, la corriente la atravesaría). La magnitud de la corriente que llegue a circular depende de varios factores. uno de ellos es el voltaje de la batería; mientras mayor sea éste, mayor será la corriente. Otro de los factores es la polaridad de la base. Si la base es positiva, los electrones que vienen del emisor serán atraídos por la base y se acelerarán, por lo cual habrá mayor corriente a través del dispositivo. Si por otro lado la base es negativa, entonces cierto número de electrones que vienen del emisor serán rechazados y se regresarán, disminuyendo la corriente neta; en el caso extremo en que la polaridad de la base, siendo negativa, tenga una magnitud muy grande, rechaza todos los electrones y prácticamente no hay corriente. Así, la polaridad de la base controla y modifica la corriente que circula a través del dispositivo. Asimismo, la corriente puede intensificarse, dependiendo del voltaje de la batería. En consecuencia, este dispositivo amplifica la señal que muestre la base. Pero este comportamiento es precisamente el que tiene el triodo construido con un tubo al vacío, como se vio en el capítulo XX. Si comparamos las figuras 37 (b) y 55 vemos que: el cátodo equivale al emisor, el ánodo equivale al colector, la rejilla equivale a la base.
El dispositivo descrito se llama triodo NPN.

Figura 55. Esquema de un triodo semiconductor NPN.
A los dispositivos que se construyen con combinaciones de bloques formados de semiconductores N y P se les llama genéricamente transistores.
Durante 1945 a 1949 el grupo de la compañía Bell desarrolló la teoría de los transistores, la verificó experimentalmente y construyó diodos y triodos. En el año de 1956 Bardeen, Shockley y Brattain recibieron el Premio Nobel de Física por el brillante trabajo que desembocó en la invención del transistor. Hemos de mencionar que Bardeen recibió en 1972 nuevamente el Premio Nobel de Física, ahora en compañía de J. R. Schrieffer y L. N. Cooper, por haber desarrollado la teoría de la superconductividad.
Los transistores tienen varias ventajas sobre los tubos al vacío. Mencionaremos algunas de ellas. En primer lugar, para que funcione un tubo al vacío su cátodo debe calentarse, y esto se logra pasando una corriente cercana a él. El voltaje típico que se requiere para lograr esto es de 250 V. Una vez conectado este voltaje se necesita esperar determinado tiempo hasta que se caliente el cátodo. Por tanto, cualquier aparato que use tubos al vacío no funciona inmediatamente después de haberse conectado. El transistor no requiere este calentamiento, por lo que empieza a funcionar inmediatamente después de su conexión. En consecuencia, el uso de un transistor en lugar de tubos al vacío ahorra mucha energía, y por tanto, resulta más económico.
En segundo lugar, la respuesta del transistor a señales de frecuencias muy altas es muy efectiva, lo cual no ocurre con los tubos al vacío.
Como el tamaño de un transistor es mucho menor que el de los tubos al vacío, con él se inició la miniaturización de los aparatos electrónicos.
El invento del transistor abrió una nueva era en la civilización moderna, ya que se le pudo utilizar de manera muy general en una gran variedad de aparatos. En las décadas de 1950 y 1960 se construyeron radios, computadoras electrónicas, aparatos de control industrial, etc., que gracias a los transistores fueron de tamaños relativamente pequeños, portátiles, con requerimientos de energía muy reducidos y de larga vida.
En gran medida, en las décadas mencionadas los transistores sustituyeron a los tubos al vacío. Sin embargo, para ciertas aplicaciones muy específicas los tubos han tenido ventajas sobre los transistores. Así, se emplean para transmisores de radio de potencia alta y mediana, para amplificadores de microondas y osciladores, para tubos de rayos catódicos como los que se usan en las televisiones, monitores, pantallas de diversos aparatos, etcétera.
29. La época moderna. Integración: chips, micro-todo, computadoras y todas esas cosas
EL TRANSISTOR, que se empezó a utilizar a finales de la década de 1940, se consideró en su época como una maravilla de lo compacto, comparado con el tamaño de los tubos al vacío. Sin embargo, a partir de 1950 el tamaño de los dispositivos electrónicos se ha reducido en un factor de alrededor de 10 veces cada cinco años. En 1960, cuando se empezó a usar la palabra microelectrónica, un bloque (chip) de silicio de un área de 0.5 cm2 podía contener de 10 a 20 transistores con varios diodos, resistencias y condensadores. Hoy en día tales bloques pueden contener varias docenas de miles de componentes.Gran parte del estímulo para miniaturizar circuitos electrónicos provino de los programas de cohetes balísticos, dada la limitada capacidad de carga que tenían. A medida que la microtecnología electrónica se desarrolló, se aplicó muy rápidamente a computadoras comerciales, reduciendo enormemente el tamaño de sus procesadores.
Más tarde se diseñaron diferentes dispositivos portátiles como las calculadoras y otros que han invadido la casa, la oficina, la escuela, las carreteras, etc. La vida actual ha experimentado un notable vuelco debido a estos avances.
Hasta el advenimiento del transistor, más precisamente, de la utilización de materiales semiconductores, cada tipo de componente que se usaba en un circuito electrónico estaba hecho de materiales particulares que tuviesen las características requeridas para su funcionamiento. Así, se utilizó el tungsteno para los cátodos de un tubo al vacío, cerámica para condensadores, carbón para resistencias, etc. Estas componentes se usaron a su vez como "ladrillos" en la construcción de circuitos electrónicos con determinadas características. Estos circuitos se combinaron para construir sistemas como receptores de radio, radar, televisión, etcétera.
Por otro lado, desde sus inicios la electrónica desarrolló una tecnología de conexiones muy complejas, pues había que conectar, de acuerdo con los diseños, un buen número de componentes eléctricas.
Una gran desventaja de usar materiales semiconductores es que se dejó de trabajar con materiales separados como carbón, tungsteno, cerámicas, etc. Al mismo tiempo, con el uso de semiconductores se logró elevar de manera impresionante el número de interconexiones, proceso que resultaba muy complicado de realizar con componentes separados; de hecho, se estaba ya llegando a sus límites físicos.
Cuando se empezó a usar el transistor no hubo gran modificación en la forma de conectar componentes individuales en circuitos electrónicos. Por supuesto que el tamaño de los circuitos decreció debido a la disminución del tamaño del transistor. Sin embargo, en el mismo transistor ya hubo una novedad: fue la primera componente electrónica en la que materiales con diferentes características no se conectaron sino que simplemente se unieron físicamente en una estructura. Por ejemplo, como se vio en el capítulo XXVII, un transistor NPN consiste de tres elementos, dos bloques N y uno P, simplemente unidos uno con el otro.
Como primer paso para simplificar el diseño de sistemas y reducir el número de conexiones se desarrollaron módulos de circuitos estándar, cada uno de los cuales realizaba una función. Estos se construyeron en tablas de plástico, que son aislantes eléctricos, en las cuales estaban armados los circuitos con transistores, resistencias, condensadores, etc. Esas tablas se conectaban en un sistema, el cual podía estar compuesto de muchas tablas. Esto fue posible gracias al tamaño relativamente pequeño del transistor.
Sin embargo, debido a la complejidad cada vez mayor de los sistemas, muy pronto se presentaron de nuevo problemas de conexiones, ahora entre las tablas que contenían los circuitos. Debido al elevado costo del diseño de conexiones, y al propósito de que los alambres que conectan a las diferentes partes de un sistema fueran del mínimo tamaño posible, hubo necesidad de tomar otros caminos. Se llegó muy rápidamente al límite físico al intentar conexiones en un área cada vez más pequeña para un número cada vez más grande de componentes en un circuito. Esto dio lugar a una nueva tecnología: la microelectrónica de los circuitos integrados.
Esta nueva forma de construir circuitos electrónicos se empezó a desarrollar hacia mediados de la década de 1950 en los laboratorios industriales de dos compañías estadunidenses, Texas Instruments y Fairchild Semiconductor. La idea fue producir, como parte de un pequeño bloque semiconductor, en este caso de silicio, no sólo transistores y diodos sino también resistencias, condensadores y otros componentes electrónicos, y unir todo dentro del bloque, o chip, para formar un circuito completo. Como cada componente tiene sus propiedades particulares muy específicas, se logró incorporarlas dentro del chip difundiendo selectivamente, en lugares adecuados, trazas de impurezas en el bloque de silicio. Se usó la técnica de la fotolitografía para exponer ciertas partes seleccionadas del chip de silicio a la difusión de las impurezas mientras que se protegió el resto. Veamos con cierto detalle una forma de realizar este tipo de construcción.
Se empieza, por ejemplo, con un bloque de semiconductor pulido, digamos de silicio, que tiene impurezas P (Figura 56(a)). Al oxidarlo se produce en su superficie una pequeña capa de dióxido de silicio. En seguida se cubre la superficie del bloque con un material especial que se endurece al exponerlo a la luz. Encima se coloca una máscara de alta precisión, producida por óptica muy precisa y se ilumina. En los lugares no expuestos a la luz, el material especial se disuelve y el dióxido de silicio que está abajo se elimina (Figura 56(b)). Así, varias regiones determinadas de antemano quedan expuestas, mientras que el resto de la superficie está cubierto. A continuación se introduce el bloque en una atmósfera controlada, de tal forma que las impurezas N se difundan a través de la superficie expuesta dentro de lo que era silicio P. Así se forma una zona N. El siguiente paso es eliminar la capa de dióxido de silicio de todo el bloque y hacer crecer una capa de material con impurezas N (Figura 56(c)). La superficie nuevamente se oxida (Figura 56(d)), y se vuelve a repetir el proceso descrito para llegar a la figura 56(b), pero ahora se le coloca en un atmósfera de impurezas P que se difunden en otros lugares, determinados de antemano (Figura 56 (e)). Nótese que ya se tienen dos conjuntos NPN que forman sendos transistores. De esta manera se van colocando diferentes porciones, tanto de materiales N como P en diferentes secciones del bloque, para lograr tantos componentes como se deseen. Finalmente, se deposita material conductor, como aluminio, para hacer contacto entre diversas partes como la P y N de un transistor. Así se construye un circuito integrado plano. El siguiente paso es juntar cierto número de ellos, uno encima del otro, y conformar un paquete, el chip. De esta manera se han logrado circuitos integrados a mediana y gran escala de tamaño muy pequeño (denotados, por sus siglas en inglés como MSI y LSI, respectivamente).

Figura 56. Descripción esquemática de la construcción de circuitos integrados .
Como se vio en el capítulo XXVIII, los átomos y moléculas son entes que tienen niveles de energía bien definidos; además, en los átomos pueden ocurrir transiciones justamente entre los niveles de energía permitidos.
Ahora bien, si un átomo está en un nivel excitado, al ocurrir una transición a un nivel más bajo emite energía en forma de radiación electromagnética; más precisamente, se dice que se ha emitido un fotón. Mencionamos que la radiación electromagnética tiene una naturaleza muy especial: si interacciona con la materia, como por ejemplo con átomos, se comporta como si fuera una partícula, un fotón. Si no interacciona con la materia se comporta como si fuera una onda. [2]
La frecuencia de la onda que emite el átomo es proporcional a la energía emitida, es decir, a la separación entre los niveles en cuestión. Si resulta que la frecuencia tiene el valor que cae entre los límites del espectro visible, el átomo estará emitiendo ondas electromagnéticas que el ojo humano registra como luz visible. Dado que la frecuencia de la radiación está asociada al color que le asignamos (si está dentro de la región visible), lo anterior significa que un átomo dado sólo puede emitir ciertos colores perfectamente característicos. Los átomos también emiten radiación con frecuencias que están fuera de la región visible, por ejemplo en el infrarrojo o el ultravioleta; el ojo humano no ve estas radiaciones.
Asimismo, el átomo puede absorber energía electromagnética al pasar de un nivel a otro de mayor energía. Una de las posibilidades es cuando absorbe energía electromagnética, y se dice que el átomo ha absorbido un fotón; cuando pasa de un nivel inferior de energía a otro superior, como cuando experimenta una colisión, también absorbe energía. Veamos lo que sucede en el caso de la absorción de energía electromagnética.
Según lo que se acaba de explicar, el átomo solamente puede absorber energía que tenga valores bien precisos, a saber, iguales a la diferencia de energías entre los niveles en que ocurre la transición. Si el átomo absorbe radiación electromagnética solamente podrá hacerlo para valores de la frecuencia bien determinados. Si sobre el átomo incide radiación electromagnética que tenga frecuencia de un valor distinto a cualquiera de los mencionados, el átomo no absorberá dicha radiación; en este caso el átomo es transparente a la radiación incidente.
Si se tiene un conjunto de átomos, como los que componen un gas, que está en equilibrio a una temperatura dada, entonces la mayoría de ellos se encuentra en su estado base; otro número menor de átomos está en el primer estado excitado, y otro número todavía más pequeño se encuentra en el segundo estado excitado, etc. Si en estas condiciones se iluminan estos átomos con luz de frecuencia que corresponde a la diferencia de energías entre el estado base y el primer excitado, digamos, entonces el gas absorberá energía de la radiación. En estas circunstancias el campo de radiación disminuye su intensidad, porque parte de su energía fue absorbida por los átomos del gas. Si la frecuencia de la onda incidente no es igual a la que corresponde a alguna diferencia entre los niveles de energía del átomo, la sustancia no absorbe nada y el haz la cruza; se trata de una sustancia transparente.
Supóngase que de alguna manera se pudiera lograr que en un gas hubiera más átomos en el primer estado excitado que en el estado base, que corresponde a una situación que no es de equilibrio. En estas condiciones, los átomos pasarán en mayor número del estado excitado al base, es decir, habrá emisión neta de energía del átomo al campo de radiación. Si la cantidad de energía proporcionada por los átomos es mayor que las inevitables pérdidas que ocurren, entonces la intensidad de la radiación aumentará. El proceso por medio del cual se logra la inversión de la población de los niveles de energía se llama bombeo óptico, y para lograrlo se requiere que un agente externo proporcione energía a la sustancia. Por tanto, el bombeo óptico es el mecanismo por medio del cual se entrega esta energía, que se transforma en energía de la radiación que emiten los átomos.
Ahora bien, cuando un átomo está en un estado excitado puede ocurrir la transición a un estado de energía más bajo en forma espontánea, con la consecuente emisión de radiación, o sea de un fotón, tal como lo hemos descrito arriba. Albert Einstein (1879-1955) descubrió en 1917 que si un átomo excitado se encuentra metido dentro de un campo de radiación electromagnética, también puede ocurrir otro proceso de emisión, que es inducido o estimulado por el campo. Si el fotón de la radiación incidente tiene la energía adecuada (que debe corresponder a la diferencia de energías entre los niveles en los que ocurrirá la transición), y si el sistema tiene un buen número de átomos en estados excitados, o sea que se ha invertido apreciablemente esta población, tendrá una buena probabilidad de encontrar un átomo excitado y de inducirlo a emitir otro fotón igual. Por tanto, salen en forma neta dos fotones iguales: el que llegó y el inducido. Mientras mayor sea la intensidad del campo, mayor será la probabilidad de que ocurra la emisión inducida. Los dos fotones que salieron del átomo incidirán sobre sendos átomos excitados y a su vez saldrán nuevos fotones, generándose así una cascada de fotones, todos ellos con la misma frecuencia.
Es claro que si no hay campo electromagnético presente no habrá emisión inducida.
Ahora bien, resulta que las radiaciones emitidas en forma espontánea que ocurren en un gas de átomos tienen características distintas a las de la radiación inducida o estimulada. La radiación espontánea que emite cada átomo de un gas ocurre en forma azarosa, debido a que el momento preciso en que un átomo emite un fotón espontáneamente se da al azar. Por tanto, diferentes átomos excitados emiten fotones en forma independiente de los otros. Esto tiene como consecuencia que, por ejemplo, las fases de la radiación emitida por dos átomos sean, en general, completamente independientes una de la otra. Se dice que esta muestra emite ondas que están desfasadas (Figura 21). Por otro lado, cuando hay emisión inducida las ondas resultantes están en fase (Figura 22) ya que el agente que induce la emisión, el campo electromagnético externo, trabaja simultáneamente sobre varios átomos.
Por tanto, en la emisión espontánea las diferentes ondas están desfasadas al azar, mientras que en la emisión inducida o estimulada las ondas emitidas están todas en fase.
Cuando dos ondas se unen, la amplitud neta que adquieren depende de la diferencia de fases que haya entre ellas. Si las ondas están desfasadas, la intensidad resultante es bastante baja (Figura 21) y puede ser nula, mientras que cuando no hay diferencia de fases la intensidad resultante es bastante grande (Figura 22). Por tanto, la intensidad de la radiación inducida o estimulada es mucho mayor que la de la radiación espontánea.
Un láser es un dispositivo que emite radiación inducida o estimulada. Las fuentes convencionales de luz que nos son familiares, por ejemplo, un foco eléctrico, emiten radiación espontánea. En consecuencia, la intensidad de la luz emitida por un láser es muchísimo mayor que la emitida por fuentes convencionales.
En la figura 57 se muestra un esquema de un láser. El tubo contiene la sustancia que va a producir la emisión estimulada de luz. Esta se escoge de manera que sus niveles de energía proporcionen radiación en la frecuencia de interés. Por ejemplo, se usan gases como la mezcla de helio-neón, de bióxido de carbono, etc. El bombeo, o sea la inversión de la población, se logra por medio de una descarga de radiofrecuencia, proporcionada por el excitador externo.

Figura 57. Esquema de un láser
Para lograr fotones con la misma fase se hace lo siguiente. En cada extremo del tubo se coloca un espejo. Si hay dos fotones que tengan una diferencia de fase no nula, cuando interfieren dan lugar a una radiación de intensidad menor. A medida que se van reflejando, esta radiación va interfiriendo con otra, también desfasada, hasta que después de cierto tiempo su intensidad es prácticamente nula. Así quedan sólo aquellos fotones que están precisamente en fase.
Una vez que los átomos empiezan a emitir por inducción, la intensidad de la radiación aumenta porque únicamente interfieren fotones que tienen la misma fase. Además, los espejos reflejan la luz de regreso a la muestra con el fin de que la intensidad de radiación presente sea grande y así aumente la probabilidad de la emisión estimulada por otros átomos excitados en la sustancia. De hecho, este es un mecanismo de retroalimentación. De esta manera, la luz así generada alcanza intensidades muy altas.
La palabra láser es una sigla, en inglés, de Light amplification by stimulated emission of radiation, que quiere decir amplificación de luz por emisión de radiación estimulada (o inducida).
Otra característica fundamental del láser es que emite luz en forma coherente, lo que tiene como consecuencia que un haz de esta radiación pueda viajar distancias astronómicas formando todo el tiempo el mismo haz, es decir, este tipo de haces no se dispersa. Esta dispersión ocurre con haces producidos por fuentes que emiten radiación no coherente, como por ejemplo la que produce una linterna. Veamos qué significa la coherencia. Cuando se hace pasar una corriente eléctrica a través de una lámpara, como por ejemplo la de una linterna, la corriente excita muchos átomos a diferentes niveles de energía, que al decaer espontáneamente a su nivel base emiten fotones de muchas frecuencias. Pero esta radiación es emitida en todas las direcciones. Se puede intentar formar un haz de luz colimándola, por ejemplo, poniendo un espejo curvo en la parte posterior de la lámpara que refleja la luz que le llega y la manda en una dirección paralela al eje de la linterna. De esta manera, casi toda la luz producida sale en un haz angosto. Sin embargo, este haz no permanece colimado durante mucho tiempo. Esto se debe a que la luz está compuesta de ondas de muchas frecuencias que al propagarse interfieren y como resultado hay interferencias negativas en la dirección de propagación, mientras que ocurre cierta interferencia positiva en otras direcciones. En consecuencia, sin importar qué tan bien colimado esté inicialmente el haz, se dispersa en diferentes direcciones.
Esta dispersión hace que la energía del haz también se disperse en diferentes direcciones y por tanto; el objeto que se está tratando de iluminar recibe menos energía de la que se envió. Una parte de la dispersión que experimenta un haz de una linterna se debe a que la luz tiene que pasar por el aire, cuyas moléculas desvían el haz; sin embargo, este efecto es relativamente pequeño. Aun si se hiciera en el vacío, un haz de una linterna se dispersa. Es por este motivo que no es posible que una linterna, por muy potente que sea, colocada en un satélite artificial alrededor de la Tierra (y por tanto cuando el efecto de la atmósfera es despreciable) ilumine un lugar en la superficie de la Luna.
La intensidad de luz que llega a este lugar es extraordinariamente pequeña. Otra manera de convencerse de este hecho es que si tocamos una lámpara encendida nos quemamos, ya que está emitiendo mucha energía; sin embargo, si separamos la mano unos cuantos centímetros ya no nos quemamos. Lo que ocurre, es que la energía emitida por la lámpara se va dispersando en todas las direcciones y al separar la mano le llega ya muy poca energía. Se dice que la radiación emitida por una lámpara, que es espontánea, es incoherente.
Por otro lado, como en un láser las radiaciones emitidas por los átomos tienen todas la misma frecuencia, no ocurre la interferencia negativa mencionada en la dirección de propagación y tampoco la interferencia positiva en otras direcciones; por lo tanto, con un láser no hay dispersión. Esta radiación es coherente. Si inicialmente este haz de láser se colima permanecerá colimado todo el tiempo y la energía emitida llega toda al lugar de interés. Así, con un láser se ha logrado iluminar desde la Tierra lugares en la Luna.
Por tanto, un láser produce radiación de muy alta intensidad que puede ser colimada sin que ocurra dispersión.
Estas propiedades han permitido utilizar el láser de maneras muy provechosas. Debido a que se puede concentrar la energía ha servido para cortar diamante (la sustancia más dura), soldar metales, etc. Como es posible enfocar la radiación y ajustar la intensidad de un láser en forma precisa, ha sido utilizado como bisturí por cirujanos. Además, su frecuencia se puede seleccionar de tal forma que puede destruir ciertos tipos de tejidos sin dañar otros, lo cual es muy útil para el tratamiento de ciertos tipos de cáncer. La luz del láser puede pasar a través de la pupila del ojo humano sin causar ningún efecto, por lo que puede usarse para operaciones de retina. Como veremos más adelante, una aplicación importante del láser es la transmisión de señales, hecho que ha cambiado drásticamente el campo de las comunicaciones.
La idea del láser fue propuesta por el físico estadounidense Charles H. Townes (1915- ), quien por ello ganó el Premio Nobel de Física en 1964. Se interesó en encontrar la manera de construir una fuente de microondas. De hecho, en 1951 se construyó bajo su dirección un dispositivo idéntico al láser que hemos descrito, pero en lugar de que emitiera luz visible emitía ondas electromagnéticas de mayor longitud de onda. A este dispositivo le llamaron máser, sigla de la expresión en inglés Microwave amplification by stimulated emission of radiation, amplificación de microondas por emisión de radiación estimulada. El máser fue construido con gas de amoniaco; la radiación así emitida tenía una frecuencia extremadamente pura.
No fue sino hasta 1960, con las ideas fundamentales de Arthur Schawlow, que se construyeron láseres en dos laboratorios, es decir, dispositivos que emitían luz visible: uno por Theodore H. Maiman en Hughes Aircraft Laboratories con un rubí, y el otro en Bell Labs por Ali Javan, William Bennett y Donald Herriott, los dos en Estados Unidos.
31. Un atisbo al futuro. La fotónica
En los últimos anos se han estado llevando a cabo, en diferentes direcciones, esfuerzos de investigación tanto básica como tecnológica a fin de mejorar y modificar los diversos sistemas electrónicos que nos son familiares. Ilustraremos esto con algunos aspectos de lo que se está haciendo con las pantallas de televisión y de computadoras. Las que hasta ahora conocemos son pantallas cuya fabricación está basada en los tubos de rayos catódicos como los descritos en el capítulo XXII; recordemos que fueron inventados en el siglo pasado.Desde la década de 1970 se ha empezado a construir pantallas de cristal líquido; estas pantallas, de color gris, son muy frecuentes en calculadoras de mano y en relojes. La base de esta tecnología reside en el hecho de que si se hace pasar corriente eléctrica a través de un cristal líquido, sus propiedades ópticas se modifican y vemos de otro color aquel lugar por donde pasó la corriente, en este caso de color gris más oscuro. Una pantalla de cristal líquido consiste de dos vidrios paralelos con cristal líquido entre ellos. Conectando adecuadamente diferentes partes del cristal dentro de los vidrios, se puede hacer que formen números y letras.
Así se han logrado pantallas planas, en contraste con las curvadas de las televisiones familiares. Las pantallas planas tienen varias ventajas sobre las tradicionales. Una es que no ocupan tanto espacio, ya que no requieren del cañón electrónico; otra es que funcionan con mucho menor gasto energético.
Sin embargo, estos sistemas no forman imágenes a color.
En la actualidad se están investigando diferentes sistemas para producir pantallas planas. Un sistema de éstos, llamado de pantalla de cristal líquido con matriz activa, consiste en dos vidrios planos, paralelos (Figura 58), que se dividen en pixeles. Dentro de los vidrios se coloca una capa de cristal líquido orgánico, que tiene la propiedad de que sus moléculas alteran su orientación al estar sujeto a un voltaje; dependiendo de la orientación que tengan, estas moléculas bloquean parcialmente el paso de la luz polarizada que las ilumine.

Figura 58. Una forma de construir pantallas planas.
En la actualidad, en varios laboratorios industriales que se encuentran principalmente en Japón, se está llevando a cabo un vigoroso programa de investigación y desarrollo a fin de poner a punto esta tecnología de pantallas planas. Se puede afirmar que hacia fines de la década de 1990 ocurrirá un proceso en el que las televisiones y las computadoras sean remplazadas por pantallas planas.
Desde principios de la década de 1980 se ha empezado a utilizar radiación electromagnética, o sea de fotones, para la transmisión de señales. Estas señales se transmiten en cables de vidrio especial que han ido reemplazando a los cables metálicos, de cobre, en los que se envían las señales por medio de corrientes eléctricas. De esta manera se ha iniciado una revolución en las comunicaciones, que se vislumbra culminará en el próximo siglo con un cambio total en los dispositivos que ahora usamos basados en la electrónica.
¿Cómo es posible conducir luz a lo largo de una fibra? Para ello se utiliza el fenómeno de refracción que se discutió en el capítulo XIII. Según vimos, cuando un haz de luz pasa de un medio a otro cambia de dirección, o sea, se refracta (véase la figura 19). La relación entre el ángulo de incidencia i y el de refracción j es un número constante y depende solamente de la naturaleza de los dos medios. Más específicamente, para el lector que sepa trigonometría se le puede decir que la relación entre el seno del ángulo i y el seno del ángulo j es una constante que se llama índice de refracción relativo del medio 1 al 2. Ésta es la expresión cuantitativa de la ley de Snell.
Si el índice de refracción relativo es mayor que 1, lo cual implica que la velocidad de la luz en el medio 1 es menor que en el medio 2, al transmitirse el rayo se acerca a la normal.
Inversamente, si el rayo pasa de un medio a otro con índice de refracción relativo menor que 1, que significa que la velocidad de la luz en el medio 1 es mayor que en el medio 2, entonces cuando se transmite el rayo se separa de la normal.
Por ejemplo, para el caso de aire (medio 1) con agua (medio 2) el índice de refracción relativo es 1.33; para aire con cuarzo es 1.47; para aire con vidrio común, 1.53. Inversamente, para el caso en que la luz pasa de agua (medio 1) al aire (medio 2), el índice de refracción relativo es 0.752; para cuarzo con aire, 0.68; para vidrio con aire, 0.654.
Hay que mencionar que los valores de los índices de refracción dependen de la frecuencia de la onda electromagnética.
Supongamos que una fuente de luz emite rayos hacia la frontera que separa a dos medios, por ejemplo, vidrio y aire (Figura 59). Además, la fuente está metida en el medio en que la velocidad de la luz es menor, en este caso dentro del vidrio. El rayo que se transmite de vidrio a aire, al cruzar la frontera cambia de dirección y se separa de la normal. Ahora hagamos que la fuente de luz se mueva, siempre dentro del vidrio, de tal manera que los rayos incidentes, sobre la frontera formen ángulos de incidencia con la normal cada vez mayores (de A a D en la figura). Mientras mayor sea el ángulo de incidencia, mayor será el ángulo de refracción, pero este ángulo aumenta en una proporción mayor que el de incidencia. Llega un momento (rayo D en la figura 59) en que el ángulo de refracción es igual a 90°. Nos damos cuenta de que en este caso el rayo no se transmite al segundo medio. Esto ocurre cuando el ángulo de incidencia adquiere un valor que se llama ángulo crítico; para el caso vidrio-aire el ángulo crítico es de 40.8°. Si se sigue aumentando el ángulo de incidencia (rayos E, F, G de la figura 59), entonces ya no hay rayos transmitidos; los rayos se reflejan dentro del vidrio formando ángulos de reflexión iguales a los de incidencia (como ocurre en la reflexión común y corriente descrita en el capítulo XIII). Es decir, los rayos incidentes no logran escapar del vidrio. A ese fenómeno se le llama reflexión total.

Figura 59. Para el ángulo crítico de incidencia el rayo transmitido se propaga a lo largo de la superficie de separación; no hay transmisión. Para ángulos de incidencia mayores que el crítico, el rayo no se transmite sino que se refleja de regreso al medio I. Esto es la reflexión total.
Por tanto, se puede transmitir un rayo de luz a través de una fibra usando el fenómeno de reflexión total y alimentando el rayo a un ángulo tal que forme, con la normal a las paredes, un ángulo de incidencia mayor al crítico.
Una fibra óptica consiste en un cilindro de material con un índice de refracción relativo al aire muy alto (Figura 60). En este caso la trayectoria que sigue un rayo de luz no es rectilínea, corno en el caso de las paredes paralelas. Ahora los rayos se propagan en curvas en hélice. Si se ilumina un extremo de la fibra, el haz saldrá por el otro extremo, aun si la fibra tiene forma curvada.

Figura 60. Un rayo se transmite dentro de una fibra óptica debido a la reflexión total.
No fue sino hasta 1950 cuando se empezó a pensar en serio en utilizar fibras ópticas en la iluminación remota, la transmisión de imágenes para aplicaciones médicas, como la endoscopía, en que por medio de una fibra óptica que se introduce en el cuerpo del paciente el médico puede ver con detalle lo que ocurre, por ejemplo, el corte que está haciendo con un bisturí. En algunas tiendas de lámparas venden fibras en forma curva que emiten luz solamente en su extremo.
En 1966 K. C. Kao y G. A. Hockham, de Standard Telecomunications Laboratories, de Inglaterra, fueron los primeros que propusieron la utilización de fibras de vidrio y luz de láser en lugar de conductores metálicos y electricidad en la transmisión de mensajes telefónicos. Propusieron el uso del láser en vista de que un haz de esta radiación no se dispersa.
Sin embargo, para poder usar fibras de vidrio fue necesario un arduo trabajo de investigación de las propiedades de los materiales, tanto para disminuir las pérdidas debidas a las impurezas en el vidrio, como para lograr una gran resistencia de las fibras, a fin de que no fuesen frágiles La empresa Gorning Glass, de Estados Unidos, inició en 1967 un proyecto de investigación sobre la utilización de vidrio para construir fibras ópticas, En 1970 obtuvieron, después de mucho esfuerzo, una fibra de vidrio de grueso igual al de un pelo, que tenía una atenuación razonable. Sin embargo, todavía faltaría una década de intensa investigación para lograr atenuaciones extremadamente pequeñas. No fue sino hasta 1983 que recibieron su primer pedido de la compañía telefónica MCI para el cableado de sus líneas con fibras ópticas. De esta manera se empezó a "hablar con luz".
Hay varias ventajas de las fibras ópticas sobre los cables metálicos que conducen electricidad. En primer lugar, con la luz de láser las pérdidas son notablemente menores.
En segundo lugar, con las fibras ópticas se incrementa notablemente la capacidad de enviar un mayor número de señales simultáneas, así, una fibra del grueso de un cabello puede transmitir 6 000 llamadas telefónicas, lo que se haría con un lío de alambres de cobre de 10 cm de grueso.
En tercer lugar, debido a que con las fibras ópticas la señal va contenida en un rayo de luz no hay posibilidad de que durante su transmisión se vea interferida por agentes ajenos, como ocurre con las señales eléctricas.
En cuarto lugar, son mucho más económicas.
En la actualidad se está llevando a cabo una transformación en muchos lugares del mundo y se están cambiando líneas eléctricas por fibras ópticas, como en los cableados telefónicos en las ciudades. Las fibras ópticas están remplazando a los conductores de cobre debajo de las calles y en las profundidades de los océanos.
La transmisión de comunicaciones por medio de fibras ópticas ha tenido ya un impacto tremendo en el manejo de transmisión de información. Ya se vislumbra que los sistemas con fibras ópticas operen a velocidades extremadamente altas, lo que incrementará en forma extraordinaria sus capacidades; por ejemplo, será posible que un par de fibras tenga capacidad para conducir 50 000 llamadas telefónicas simultáneas.
Se ha complementado el sistema de transmisiones a base de fibras ópticas con el desarrollo de láseres microscópicos, como fuentes de luz. Los primeros láseres pequeños, fabricados a base de materiales semiconductores, que fueron construidos en la década de 1970, eran del tamaño de un grano de sal de mesa y se pudieron adaptar fácilmente a las fibras ópticas.
Hoy en día, los láseres semiconductores son todavía más pequeños. Dos millones de ellos caben en un bloque del tamaño de una uña.
En la actualidad, en los circuitos electrónicos las conexiones tradicionales hechas con cables metálicos se están reemplazando por fibras ópticas y láseres semiconductores como fuentes de radiación. Sin embargo, una vez que la luz sale de la fibra, se necesita reconvertirla en señal eléctrica para alimentarla a los dispositivos electrónicos que usan electricidad. Por ejemplo, las conexiones entre chips de computadoras se pueden hacer por medio de fibras ópticas.
Hasta el momento las líneas telefónicas con fibras ópticas que se han colocado en muchas ciudades solamente conectan un poste con el siguiente, y del poste al hogar o la oficina todavía hay cableado con alambres que conducen electricidad. Una vez que éstos se cambien por fibras ópticas, hecho que a la larga ocurrirá, aumentará mil veces la capacidad de información y se podrán hacer cosas tales como comprar por medio de la televisión, instalar videófonos, que no solamente transmiten la voz sino que también envían imágenes, etcétera.
A la mezcla de fotónica con electrónica se le llama optoelectrónica.
De la misma forma en que las fibras ópticas han iniciado la transformación radical de las comunicaciones también han empezado una revolución en algunos aspectos de la medicina. Por medio de estas fibras se ha abierto una ventana hacia los tejidos del cuerpo humano. Insertando fibras ópticas a través de aberturas naturales o pequeñas incisiones, y ensartándolas a lo largo de arterias u otras trayectorias, los médicos pueden observar los pliegues del intestino, las cámaras del corazón y muchas otras regiones antes inaccesibles.
La primera aplicación médica de las fibras ópticas fue en sistemas de imágenes, llamados fibrascopios, y se llevó a cabo en 1957 por Basil L. Hirschowitz y Lawrence Curtis, de la Universidad de Michigan. Ellos construyeron el primer fibrascopio para observar el estómago y el esófago.
A partir de esa fecha los dispositivos se han refinado de tal forma que pueden inspeccionar prácticamente cualquier órgano o sistema del cuerpo humano.
Las fibras ópticas usadas en medicina han sido incorporadas en el fibrascopio, compuesto por dos manojos de fibras ópticas (Figura 61). Uno de ellos conduce luz visible y sirve para iluminar el tejido bajo escrutinio, y el otro se utiliza para transmitir la imagen.

Figura 61. Esquema de un fibrascopio que usa fibras ópticas.
El manojo que ilumina recibe la luz de una fuente de alta intensidad y a la salida ilumina el tejido. La luz reflejada se recoge en el otro manojo, que la transmite a algún medio que la transforma en una imagen de televisión o en una fotografía.
Se ha añadido al fibrascopio otro manojo de fibras ópticas que transmite radiación de láser con el fin de realizar alguna operación, como la eliminación de bloqueos de una arteria. En la figura 62 se muestra cómo se introduce en la arteria del brazo un fibrascopio que se dirige, a través de la aorta, hasta una arteria coronaria que está bloqueada. Si este bloqueo no es tratado produce un ataque mortal al corazón. Por medio del manojo de iluminación el médico puede ver la placa que bloquea la arteria. Entonces se acciona un globo elástico con el fin de impedir el flujo de sangre mientras dura la intervención. En seguida se envía un haz de radiación de láser por el tercer manojo de fibras ópticas, que por ser energético vaporiza la placa y destruye el bloqueo. Posteriormente se desinfla el globo y se restablece la circulación. De esta manera se puede remover el bloqueo sin necesidad de operaciones peligrosas y costosas.
Figura 62. Forma en que un fibrascopio elimina un bloqueo de una arteria coronaria.
Se están diseñando técnicas y procedimientos, con ayuda de fibras ópticas, para diagnósticos y tratamientos que no requieran anestesia y que se pueden llevar a cabo con toda seguridad en el consultorio del médico, reduciendo notablemente los riesgos propios de las operaciones, con el consiguiente ahorro económico. Estos procedimientos se podrán aplicar en los casos en que la cirugía es peligrosa o imposible, como a veces ocurre en niños o en personas de edad.
En varios laboratorios del mundo, por ejemplo en ATT Bell Laboratories de los Estados Unidos, se está llevando a cabo un notable esfuerzo de investigación para construir dispositivos que realicen con fotones, o sea con luz, funciones que hasta ahora se han logrado con medios electrónicos, como en los amplificadores, rectificadores, transistores, etc. En enero de 1991 se terminó de construir un prototipo de computadora en la que el procesador funciona por medios ópticos y las conexiones se realizan por fibras ópticas. Este procesador no utiliza electricidad sino luz para procesar la información. Aunque todavía en fase muy primitiva, el procesamiento fotónico ofrece la promesa de computadoras con tiempos de procesamiento de entre 1 000 y 10 000 veces menores a los que ofrecen las electrónicas.
Esto es un avance de lo que seguramente vendrá en el futuro, un cambio progresivo de la electrónica a la fotónica. Es posible que la fotónica no logre reemplazar completamente a la electrónica, pero realizará funciones que hasta ahora han estado fuera de la capacidad de la electrónica y la empezará a suplantar en muchos campos. Una notable ventaja posible será la conexión, por medios fotónicos, de componentes que realizan diferentes funciones y que se encuentran en distintos lugares, es decir, conexiones sin necesidad de cables, lo cual nos liberará de las restricciones físicas del cableado.
En la década de 1990 y posiblemente más allá, veremos la transición de la computación hacia la fotónica. Las conexiones inalámbricas de la fotónica proveerán computación prácticamente instantánea, ya que las señales electromagnéticas se propagan a la velocidad de la luz. Además debido a que los rayos de luz no interaccionan entre sí, las arquitecturas de computación paralelas en forma masiva serán factibles. Esto es muy importante, ya que con las conexiones tradicionales se está llegando al límite de lo que físicamente es posible en la miniaturización.
Otra posibilidad importante será el uso de la fotónica en interruptores y conmutadores, que junto con la transmisión y computación fotónicas tendrán un extraordinario efecto en la revolución de las telecomunicaciones que se está dando en la década presente.
Se puede afirmar que en el siglo XX fue el de la electrónica, mientras que el XXI será el de la fotónica. Hemos hecho una travesía a lo largo del desarrollo del electromagnetismo, desde sus inicios, en la época que existía una absoluta curiosidad científica por los fenómenos naturales, hasta llegar a la actualidad, en donde es parte sustancial de una poderosa industria tecnológica internacional. La industria electromagnética fue la primera que se desarrolló a partir de bases completamente científicas.
Se ha descrito con detalle la relación que se ha dado entre el trabajo científico, que consiste en el descubrimiento y estudio de los fenómenos naturales, y la tecnología, que da lugar a la aplicación práctica de los conocimientos obtenidos por la ciencia. Esta relación no es ni directa ni lineal, ya que una vez que se intenta hacer alguna aplicación, en la mayoría de los casos resulta que se presentan problemas de diversa índole que requieren más investigación, lo que a su vez mejora la tecnología. Por tanto, esta retroalimentación ha inducido mejores productos, y ha motivado investigaciones científicas que han abierto nuevas ventanas sobre el misterio de la naturaleza. En muchos casos no es clara la separación entre ciencia y tecnología.
Una característica importante que ha ayudado al progreso de la rama electromagnética es la existencia de laboratorios industriales, que también existen en otras ramas cíentífico-tecnológicas. En estas instituciones se lleva a cabo investigación científica desde la más pura hasta la aplicada. Además, se trabaja en el desarrollo de productos y procesos que a la larga culminan en algún artículo que se comercializa. En general, estos laboratorios están en estrecha relación con la comunidad que labora en las universidades y que se dedica a la investigación científica. Podemos afirmar que una característica de los países más avanzados es que poseen laboratorios industriales.
El trabajo que ha resultado de la estrecha colaboración entre ciencia y tecnología en la rama electromagnética ha cambiado completamente la forma de vida de la humanidad. En la actualidad no podríamos imaginarnos vivir sin electricidad. La reseña que hemos presentado ilustra el hecho de que, por muy esotérica que pueda parecer la curiosidad sobre determinados fenómenos naturales, como ocurrió en el siglo XVIII y principios del XIX, con los fenómenos eléctricos y magnéticos, nunca se puede saber en qué culminarán ni qué consecuencias tendrán sus aplicaciones. Nadie en sus más ambiciosos sueños pudo pensar en el tipo de vida que ha proporcionado la electricidad. Esta historia constituye una lección de grandes proporciones sobre el desarrollo de la humanidad.
Notas: